Literature Review on Single and Twin-Screw Extruders Design for Polymerization Using CFD Simulation
Abstract
1. Introduction
1.1. Single-Screw Extruder
1.2. TwinScrew Extruder
1.3. Single-Screw Versus Twin-Screw Extruder
2. Analytical Models for Extruders
2.1. Single-Screw Extruders
2.2. Twin-Screw Extruders
2.2.1. Self-Wiping Corotating Twin-Screw Extruders (SWCORs)
2.2.2. Closely Intermeshing Counter-Rotating Extruders (CICTR)
3. CFD Simulation of Extruders
3.1. Single-Screw Extruders
3.1.1. Geometry
3.1.2. Quantification of Mixing
3.1.3. Modelling of Pressure and Temperature Gradients
3.1.4. Validation of Extruder Throughput
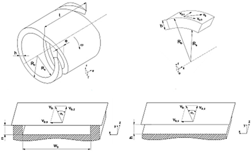
3.2. Twin-Screw Extruders
3.2.1. Geometry
3.2.2. Quantification of Mixing
3.2.3. Modelling of Pressure and Temperature Gradients
4. Challenges of CFD Models of Reactive Extrusion
5. Conclusions
Author Contributions
Funding
Conflicts of Interest
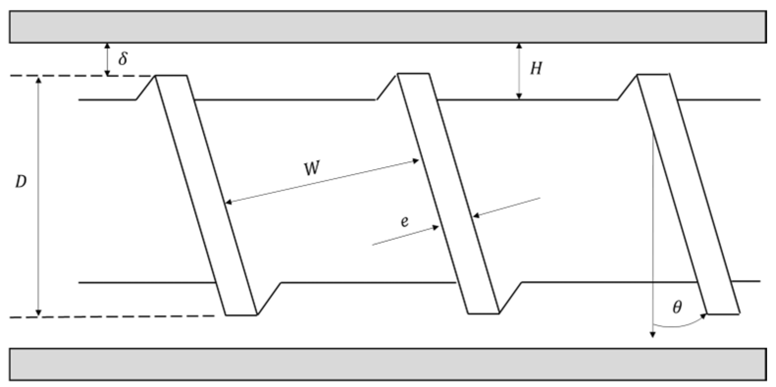
List of Variables
| channel’s cross-sectional area [m2] | |
| barrel’s area [m2] | |
| filled channel’s cross-sectional area [m2] | |
| area between the barrel and the screw [m2] | |
| screw’s area [m2] | |
| centerline distance [m] | |
| diameter of the extruder [m] | |
| flight’s width [m] | |
| force’s work [N] | |
| degree of fill | |
| channel’s height [m] | |
| screw velocity [rpm] | |
| number of tips | |
| pressure [Pa] | |
| flowrate [m3 s−1] | |
| maximum flowrate [m3 s−1] | |
| calendaring flowrate [m3 s−1] | |
| flight flowrate [m3 s−1] | |
| side flowrate [m3 s−1] | |
| tetrahedron flowrate [m3 s−1] | |
| distance between the rotation axis and the flight’s clearance surface [m] | |
| distance between the rotation axis and the screw surface [m] | |
| screw’s radius [m] | |
| time [s] | |
| velocity [m s−1] | |
| velocity profile [m s−1] | |
| u | velocity vector field [m s−1] |
| velocity in the component [m s−1] | |
| velocity profile in the component [m s−1] | |
| velocity in the component [m s−1] | |
| velocity profile in the component [m s−1] | |
| channel’s width [m] | |
| power consumption [m] | |
| space coordinate [m] | |
| space coordinate [m] | |
| helical length [m] | |
| space coordinate [m] | |
| Greek letters | |
| volume fraction of species | |
| intermesh angle [°] | |
| tip angle [°] | |
| flight’s clearance [m] | |
| helix’s angle [°] | |
| dynamic viscosity [Pa s] | |
| density [kg m−3] | |
| circumferential angle [°] | |
| angular velocity [rad s−1] | |
| pressure-to-drag flow ratio | |
| VIC | variable intermeshing clearance |
References
- Scott, H.G.; Humphries, J.F. Modern Pelastic. Patent WO2004009356A1, March 1973. [Google Scholar]
- Hopmann, C.; Adamy, M.; Cohnen, A. Introduction to Reactive Extrusion: Principles and Applications; Wiley-VCH Verlag GmbH & Co. KGaA: Hoboken, NJ, USA, 2017; pp. 1–10. [Google Scholar]
- Biermann, L.; Brepohl, E.; Eichert, C.; Paschetag, M.; Watts, M.; Scholl, S. Development of a continuous PET depolymerization process as a basis for a back-to-monomer recycling method. Green Process. Synth. 2021, 10, 361–373. [Google Scholar] [CrossRef]
- Misiura, D.; Majka, T.M. An overview on obtaining foamed PET by reactive extrusion. Tech. Trans. 2018, 115, 97–102. [Google Scholar]
- Wilczyński, K.; Nastaj, A.; Lewandowski, A.; Wilczyński, K.J.; Buziak, K. Fundamentals of Global Modeling for Polymer Extrusion. Polymers 2019, 11, 2106. [Google Scholar] [CrossRef]
- Lewandowski, A.; Wilczyński, K. Modeling of Twin Screw Extrusion of Polymeric Materials. Polymers 2022, 14, 274. [Google Scholar] [CrossRef] [PubMed]
- Cassagnau, P.; Bounor-Legaré, V.; Fenouillot, F. Reactive Processing of Thermoplastic Polymers: A Review of the Fundamental Aspects. Int. Polym. Process. 2007, 22, 218–258. [Google Scholar] [CrossRef]
- Martin, C. Twin Screw Extruders as Continuous Mixers for Thermal Processing: A Technical and Historical Perspective. AAPS Pharmscitech 2016, 17, 3–19. [Google Scholar] [CrossRef]
- Tsao, T.F.; Harper, J.M.; Repholz, K.M. The effects of screw geometry on extruder operational characteristics. AlChE Symp 1978, 74, 142–147. [Google Scholar]
- Kousemaker, T.M.; Druetta, P.; Picchioni, F.; Vakis, A.I. Modelling supercritical CO2 flow in a co-rotating twin screw extruder using the level-set method. Chem. Eng. Res. Des. 2024, 205, 569–577. [Google Scholar] [CrossRef]
- Rowell, H.; Finlayson, D. Screw viscosity pumps. Engineering 1928, 126, 639. [Google Scholar]
- Maillefer, C. Etude théorique et expérimentale sur le fonctionnement des boudineuses. Doctoral thesis, Available online, 1952. Available online: https://infoscience.epfl.ch/entities/publication/50539f50-40fd-4810-b473-37fceb10d636 (accessed on 1 November 2024).
- Carley, J.F.; Mallouk, R.S.; McKelvey, J.M. Simplified Flow Theory for Screw Extruders. Ind. Eng. Chem. 1953, 45, 974–978. [Google Scholar] [CrossRef]
- Mohr, W.D.; Saxton, R.L.; Jepson, C.H. Theory of Mixing in the Single-Screw Extruder. Ind. Eng. Chem. 1957, 49, 1857–1862. [Google Scholar] [CrossRef]
- Li, Y.; Hsieh, F. Modeling of flow in a single screw extruder. J. Food Eng. 1996, 27, 353–375. [Google Scholar] [CrossRef]
- Carley, J.F.; Strub, R.A. Basic Concepts of Extrusion. Ind. Eng. Chem. 1953, 45, 970–973. [Google Scholar] [CrossRef]
- Middleman, S. Extrusion. In Fundamentals of Polymer Processing; McGraw-Hill College: New York, NY, USA, 1997; pp. 123–169. [Google Scholar]
- Erdmenger, R. Mehrwellen-Schnecken in der Verfahrenstechnik. Chem. Ing. Tech. 1964, 36, 175–185. [Google Scholar] [CrossRef]
- Booy, M.L. Geometry of fully wiped twin-screw equipment. Polym. Eng. Sci. 1978, 18, 973–984. [Google Scholar] [CrossRef]
- Denson, C.D.; Hwang, B.K. The influence of the axial pressure gradient on flow rate for Newtonian liquids in a self wiping, co-rotating twin screw extruder. Polym. Eng. Sci. 1980, 20, 965–971. [Google Scholar] [CrossRef]
- Booy, M.L. Isothermal flow of viscous liquids in corotating twin screw devices. Polym. Eng. Sci. 1980, 20, 1220–1228. [Google Scholar] [CrossRef]
- Szydlowski, W.; White, J.L. An improved theory of metering in an intermeshing corotating twin-screw extruder. Adv. Polym. Technol. 1987, 7, 177–183. [Google Scholar] [CrossRef]
- White, J.L.; Szydlowski, W. Composite models of modular intermeshing corotating and tangential counter-rotating twin screw extruders. Adv. Polym. Technol. 1987, 7, 419–426. [Google Scholar] [CrossRef]
- Tayeb, J.; Vergnes, B.; Valle, G.D. A Basic Model for a Twin-Screw Extruder. J. Food Sci. 1989, 54, 1047–1056. [Google Scholar] [CrossRef]
- Baird, D.G.; Collias, D.I. Extruders. In Polymer Processing; Brenner, H., Ed.; Butterworth-Heinemann: Oxford, UK, 1995; pp. 235–240. [Google Scholar]
- Kiesskalt, S. Untersuchungen an einer Kapsel Pumpe. VDI Zeitschr 1927, 71, 453. [Google Scholar]
- Schenkel, G. Kunststoff-Extrudertechnik: Konstruktionsgrundlagen und Betriebstechnik der Kunststoff-Schneckenpressen; Carl Hanser Verlag: Munich, Germany, 1963. [Google Scholar]
- Kaplan, A.; Tadmor, Z. Theoretical model for non-intermeshing twin screw extruders. Polym. Eng. Sci. 1974, 14, 58–66. [Google Scholar] [CrossRef]
- Kim, M.H.; Szydlowski, W.; White, J.L.; Min, K. A new model of flow in a tangential counter-rotating twin screw extruder. Adv. Polym. Technol. 1989, 9, 87–95. [Google Scholar] [CrossRef]
- Doboczky, Z.E. Doppelschnecke. Plastverarbeiter 1965, 16, 57–67. [Google Scholar]
- Doboczky, Z. Theoretische and wirkliche Ausstoßleistung der Doppelschnecken Extruder. Plastverarbeiter 1965, 16, 395–400. [Google Scholar]
- Janssen, L. Twin Screw Extrusion; Elseviers Sci. Publ. Company: Amsterdam, The Netherlands, 1978. [Google Scholar]
- Janssen, L.P.B.; Lphrm, M.; Jm, S. A Model for the Output from the Pump Zone of the Double-screw Processor or Extruder. Plast. Polym. 1975, 43, 93–98. [Google Scholar]
- Nastaj, A.; Wilczyński, K. Scaling-Up for the Counter-Rotating Twin Screw Extrusion of Polymers. Polymers 2024, 16, 2720. [Google Scholar] [CrossRef]
- Klein, I.; Tadmor, Z. The simulation of the plasticating screw extrusion process with a computer programmed theoretical model. Polym. Eng. Sci. 1969, 9, 11–21. [Google Scholar] [CrossRef]
- Acur, E.E.; Vlachopoulos, J. Numerical simulation of a single-screw plasticating extruder. Polym. Eng. Sci. 1982, 22, 1084–1094. [Google Scholar] [CrossRef]
- Amellal, K.; Lafleur, P.G.; Arpin, B. A Computer Model for the Simulation of Conventional and Barrier Screws. Polym.-Plast. Technol. Eng. 1991, 30, 655–664. [Google Scholar] [CrossRef]
- Macgregor, A.; Vlachopoulos, J.; Vlcek, J. Computer Simulation of Conventional and Barrier Screw Extruders. J. Reinf. Plast. Compos. 1997, 16, 1270–1280. [Google Scholar] [CrossRef]
- Aigner, M.; Köpplmayr, T.; Kneidinger, C.; Miethlinger, J. A network-analysis-based comparative study of the throughput behavior of polymer melts in barrier screw geometries. AIP Conf. Proc. 2014, 1593, 606–610. [Google Scholar]
- Stueker, D.; Schoeppner, V. Simplified numerical calculation of the isothermal, three-dimensional, Non-Newtonian flow characteristics of single-screw melt-extruder. AIP Conf. Proc. 2023, 2607, 060008. [Google Scholar]
- Hube, S.; Behr, M.; Elgeti, S.; Schön, M.; Sasse, J.; Hopmann, C. Numerical design of distributive mixing elements. Finite Elem. Anal. Des. 2022, 204, 103733. [Google Scholar] [CrossRef]
- Marschik, C.; Roland, W. Predicting the pumping capability of single-screw extruders: A comparison of two- and three-dimensional modeling approaches. AIP Conf. Proc. 2023, 2607, 020002. [Google Scholar]
- Ershov, S.V.; Trufanova, N.M. Numerical studies of the polymer melt flow in the extruder screw channel and the forming tool. IOP Conf. Ser. Mater. Sci. Eng. 2017, 208, 012018. [Google Scholar] [CrossRef]
- Kadyirov, A.; Gataullin, R.; Karaeva, J. Numerical Simulation of Polymer Solutions in a Single-Screw Extruder. Appl. Sci. 2019, 9, 5423. [Google Scholar] [CrossRef]
- Lim, K.H.; Hwang, W.R.; Kim, S.J. A finite-element technique for flows in the single screw extruder using a partial periodic unit. Korea-Aust. Rheol. J. 2019, 31, 59–67. [Google Scholar] [CrossRef]
- Vachagina, E.K.; Kadyirov, A.I.; Karaeva, J.V. Simulation of Giesekus fluid flow in extruder using helical coordinate system. IOP Conf. Ser. Mater. Sci. Eng. 2020, 733, 012033. [Google Scholar] [CrossRef]
- Herzog, D.; Roland, W.; Marschik, C.; Berger-Weber, G.R. Generalized predictions of the pumping characteristics and viscous dissipation of single-screw extruders including three-dimensional curvature effects. Polym. Eng. Sci. 2024, 64, 5566–5587. [Google Scholar] [CrossRef]
- Janßen, M.; Schiffers, R. Predicting the rotation speed of mixing sleeves in single-screw extrusion by means of CFD-simulation. AIP Conf. Proc. 2023, 2607, 020003. [Google Scholar]
- Schöppner, V.; Schadomsky, M.; Hopmann, C.; Lemke, F. Investigations of the mixing behaviour of pin-type rubber extruders. AIP Conf. Proc. 2016, 1713, 130003. [Google Scholar]
- Kimura, K.; Nakayama, Y.; Kajiwara, T. Distributive mixing characteristics of a Dulmage-type screw for a single-screw extruder: Experimental and numerical evaluation. Chem. Eng. J. Adv. 2021, 7, 100137. [Google Scholar] [CrossRef]
- Erb, T.; Celik, O.; Bonten, C. Three-dimensional characterization of dispersive mixing in single screw extruders. AIP Conf. Proc. 2016, 1779, 050001. [Google Scholar]
- Frank, M.; Hollenhorst, V.; Schöppner, V. Investigation of the pressure-throughput behaviour of different faceted mixer geometries on an analytical and simulative basis. AIP Conf. Proc. 2023, 2607, 060010. [Google Scholar]
- Wang, Z.; Pan, Y.; Liu, Y.; Huang, J.; Wang, N.; Hu, X. Investigations of the Elongational Deformation Induced by Pins in Pin-Barrel Cold-Feed Extruders. Adv. Polym. Technol. 2022, 2022, 3513804. [Google Scholar] [CrossRef]
- Marschik, C.; Osswald, T.A.; Roland, W.; Albrecht, H.; Skrabala, O.; Miethlinger, J. Numerical analysis of mixing in block-head mixing screws. Polym. Eng. Sci. 2019, 59, E88–E104. [Google Scholar] [CrossRef]
- Motzigemba, M.; Broecker, H.C.; Prüss, J.; Bothe, D.; Warnecke, H.J. Chapter 37—A contribution to simulation of mixing in screw extruders employing commercial CFD-software. In 10th European Conference on Mixing; van den Akker, H.E.A., Derksen, J.J., Eds.; Elsevier Science: Amsterdam, The Netherlands, 2000; pp. 297–304. [Google Scholar]
- Straka, K.; Praher, B.; Steinbichler, G. Analyzing melt homogeneity in a single screw plasticizing unit of an injection molding machine. AIP Conf. Proc. 2013, 1558, 94–97. [Google Scholar]
- Alemaskin, K.; Manas-Zloczower, I.; Kaufman, M. Color mixing in the metering zone of a single screw extruder: Numerical simulations and experimental validation. Polym. Eng. Sci. 2005, 45, 1011–1020. [Google Scholar] [CrossRef][Green Version]
- Domingues, N.; Gaspar-Cunha, A.; Covas, J.A. Computational and Experimental Study of Mixing in a Single Screw Extruder. AIP Conf. Proc. 2007, 907, 867–872. [Google Scholar]
- Frank, M.; Schöppner, V. Investigation of the homogenization performance of various faceted mixers and optimization with regard to mixing as well as pressure throughput behavior. AIP Conf. Proc. 2023, 2884, 090003. [Google Scholar]
- Liu, L.; Meng, Z.; Zhang, Y.; Sun, Y. Simulation of High-Viscosity Generalized Newtonian Fluid Flows in the Mixing Section of a Screw Extruder Using the Lattice Boltzmann Model. ACS Omega 2023, 8, 47991–48018. [Google Scholar] [CrossRef]
- Pandey, V.; Maia, J.M. Extension-dominated improved dispersive mixing in single-screw extrusion. Part 1: Computational and experimental validation. J. Appl. Polym. Sci. 2021, 138, 49716. [Google Scholar] [CrossRef]
- Pandey, V.; Maia, J.M. Comparative computational analysis of dispersive mixing in extension-dominated mixers for single-screw extruders. Polym. Eng. Sci. 2020, 60, 2390–2402. [Google Scholar] [CrossRef]
- Wang, W.; Manas-Zloczower, I. Temporal distributions: The basis for the development of mixing indexes for scale-up of polymer processing equipment. Polym. Eng. Sci. 2001, 41, 1068–1077. [Google Scholar] [CrossRef]
- Schulz, L.; Vorjohann, F.; Janßen, M.; Schiffers, R. Evaluating distributive mixing potential by mean distance of streamlines and a passive scalar. AIP Conf. Proc. 2023, 2884, 110004. [Google Scholar]
- Kubik, P.; Zatloukal, M.; Vlcek, J.; Womer, T. Three-dimensional finite element method simulation study of fusion screw geometry. Plast. Rubber Compos. 2015, 44, 11–18. [Google Scholar] [CrossRef]
- Moritzer, E.; Wittke, M.; Heiderich, G. Numerical simulation of residence time, shear rates and throughput in single screw extruders considering wall shear rates. AIP Conf. Proc. 2019, 2065, 030034. [Google Scholar]
- Kim, S.J. Dimensionless analysis of three-dimensional residence time distribution in single-screw extrusion processes. Korea-Aust. Rheol. J. 2018, 30, 179–188. [Google Scholar] [CrossRef]
- Olofsson, E.H.; Roland, M.; Spangenberg, J.; Jokil, N.H.; Hattel, J.H. A CFD model with free surface tracking: Predicting fill level and residence time in a starve-fed single-screw extruder. Int. J. Adv. Manuf. Technol. 2023, 126, 3579–3591. [Google Scholar] [CrossRef]
- Mateboer, T.J.; Hummel, C.; van Dijk, D.J.; Buist, J. To quantify mixing quality in a single screw extruder simulation. In Proceedings of the 14th International Conference on CFD in 6 Oil & Gas, Metallurgical and Process Industries SINTEF, Trondheim, Norway, 12–14 October 2020. [Google Scholar]
- Hopmann, C.; Schön, M.; Reul, M.M.; Facklam, M. A Method for the Validation of Simulated Mixing Characteristics of Two Dynamic Mixers in Single-Screw Extrusion. Polymers 2020, 12, 2234. [Google Scholar] [CrossRef]
- Strutt, D.; Tzoganakis, C.; Duever, T.A. Mixing analysis of reactive polymer flow in a single-screw extruder channel. Polym. Eng. Sci. 2000, 40, 992–1003. [Google Scholar] [CrossRef]
- Roy, S.; Lawal, A. Isothermal Pseudo-2D Analysis of Reactive Extrusion in Single-Screw Extruders. J. Reinf. Plast. Compos. 2004, 23, 685–706. [Google Scholar] [CrossRef]
- Habla, F.; Obermeier, S.; Dietsche, L.; Kintzel, O.; Hinrichsen, O. CFD Analysis of the Frame Invariance of the Melt Temperature Rise in a Single-screw Extruder. Int. Polym. Process. 2013, 28, 463–469. [Google Scholar] [CrossRef]
- Manohar, B.; Periasamy, C. Computational fluid dynamics simulation of single screw extruders in cable industries. IJRET Int. J. Res. Eng. Technol. 2016, 5, 5. [Google Scholar]
- Casari, N.; Fadiga, E.; Pinelli, M.; Suman, A.; Ziviani, D. CFD Simulations of Single- and Twin-Screw Machines with OpenFOAM. Designs 2020, 4, 2. [Google Scholar] [CrossRef]
- Roland, W.; Marschik, C.; Kommenda, M.; Haghofer, A.; Dorl, S.; Winkler, S. Predicting the Non-Linear Conveying Behavior in Single-Screw Extrusion: A Comparison of Various Data-Based Modeling Approaches used with CFD Simulations. Int. Polym. Process. 2021, 36, 529–544. [Google Scholar] [CrossRef]
- Abdel-Ghany, W.E.; Ebeid, S.J.; Fikry, I. Mechanical design aspects of single screw extruders using finite element analysis. Int. J. Eng. Tech. Res. (IJETR) 2015, 3, 2454–4698. [Google Scholar]
- Marschik, C.; Roland, W.; Miethlinger, J. A Network-Theory-Based Comparative Study of Melt-Conveying Models in Single-Screw Extrusion: A. Isothermal Flow. Polymers 2018, 10, 929. [Google Scholar] [CrossRef]
- Stritzinger, U.; Roland, W.; Berger-Weber, G.; Steinbichler, G. Modeling melt conveying and power consumption of co-rotating twin-screw extruder kneading blocks: Part A. Data generation. Polym. Eng. Sci. 2022, 62, 3721–3745. [Google Scholar] [CrossRef]
- Van Der Wal, D.; Goffart, D.; Klomp, E.; Hoogstraten, H.; Janssen, L. Three-dimensional flow modeling of a self-wiping corotating twin-screw extruder. Part II: The kneading section. Polym. Eng. Sci. 1996, 36, 912–924. [Google Scholar] [CrossRef]
- Eitzlmayr, A.; Khinast, J. Co-rotating twin-screw extruders: Detailed analysis of conveying elements based on smoothed particle hydrodynamics. Part 2: Mixing. Chem. Eng. Sci. 2015, 134, 880–886. [Google Scholar] [CrossRef]
- Eitzlmayr, A.; Matić, J.; Khinast, J. Analysis of Flow and Mixing in Screw Elements of Co-Rotating Twin-Screw Extruders via SPH. AIChE J. 2016, 63, 2451–2463. [Google Scholar] [CrossRef]
- Rios, A.C.; Gramann, P.J.; Osswald, T.A. Comparative study of mixing in corotating twin screw extruders using computer simulation. Adv. Polym. Technol. 1998, 17, 107–113. [Google Scholar] [CrossRef]
- Goffart, D.; Van Der Wal, D.; Klomp, E.; Hoogstraten, H.; Janssen, L.; Breysse, L.; Trolez, Y. Three-dimensional flow modeling of a self-wiping corotating twin-screw extruder. Part I: The transporting section. Polym. Eng. Sci. 1996, 36, 901–911. [Google Scholar] [CrossRef]
- Hinz, J.; Helmig, J.; Möller, M.; Elgeti, S. Boundary-conforming finite element methods for twin-screw extruders using spline-based parameterization techniques. Comput. Methods Appl. Mech. Eng. 2020, 361, 112740. [Google Scholar] [CrossRef]
- Helmig, J.; Behr, M.; Elgeti, S. Boundary-conforming finite element methods for twin-screw extruders: Unsteady-temperature-dependent-non-Newtonian simulations. Comput. Fluids 2019, 190, 322–336. [Google Scholar] [CrossRef]
- Helmig, J.; Key, F.; Behr, M.; Elgeti, S. Combining boundary-conforming finite element meshes on moving domains using a sliding mesh approach. Int. J. Numer. Methods Fluids 2021, 93, 1053–1073. [Google Scholar] [CrossRef]
- Ishikawa, T.; Kihara, S.I.; Funatsu, K. 3-D numerical simulations of nonisothermal flow in co-rotating twin screw extruders. Polym. Eng. Sci. 2000, 40, 357–364. [Google Scholar] [CrossRef]
- Dong, T.; Wu, J. Simulation of non-Newtonian flows in a partially filled twin-screw extruder by smoothed particle hydrodynamics. Polym. Eng. Sci. 2022, 62, 802–814. [Google Scholar] [CrossRef]
- Bauer, H.; Matić, J.; Khinast, J. Characteristic parameters and process maps for fully-filled twin-screw extruder elements. Chem. Eng. Sci. 2021, 230, 116202. [Google Scholar] [CrossRef]
- Lewandowski, A.; Wilczyński, K.J.; Nastaj, A.; Wilczyński, K. A composite model for an intermeshing counter-rotating twin-screw extruder and its experimental verification. Polym. Eng. Sci. 2015, 55, 2838–2848. [Google Scholar] [CrossRef]
- Prashanth, S.R.; Arumugam, S.K.; Gangradey, R.; Mukherjee, S.; Kasthurirengan, S.; Behera, U.; Pabbineedi, G.; Mugilan, M. CFD modelling and performance analysis of a twin screw hydrogen extruder. Fusion Eng. Des. 2019, 138, 151–158. [Google Scholar]
- Zhang, Y.; Jiang, X.; Fan, H.; Li, X. Optimization and Numerical Simulation of Outlet of Twin Screw Extruder. MATEC Web Conf. 2018, 153, 05004. [Google Scholar] [CrossRef]
- Ilinca, F.; Hétu, J.-F. Three-dimensional finite element solution of the flow in single and twin-screw extruders. Int. Polym. Process. 2010, 25, 275–286. [Google Scholar] [CrossRef]
- Hétu, J.-F.; Ilinca, F. Immersed boundary finite elements for 3D flow simulations in twin-screw extruders. Comput. Fluids 2013, 87, 2–11. [Google Scholar] [CrossRef]
- Malik, M.; Kalyon, D.; Golba, J. Simulation of co-rotating twin screw extrusion process subject to pressure-dependent wall slip at barrel and screw surfaces: 3D FEM analysis for combinations of forward-and reverse-conveying screw elements. Int. Polym. Process. 2014, 29, 51–62. [Google Scholar] [CrossRef]
- Valette, R.; Vergnes, B.; Coupez, T. Multiscale simulation of mixing processes using 3D-parallel, fluid-structure interaction techniques. Int. J. Mater. Form. 2008, 1, 1131–1134. [Google Scholar] [CrossRef]
- Avalosse, T.; Rubin, Y.; Fondin, L. Non-isothermal modeling of co-rotating and contra-rotating twin screw extruders. J. Reinf. Plast. Compos. 2002, 21, 419–429. [Google Scholar] [CrossRef]
- Alsteens, B.; Legat, V.; Avalosse, T. Parametric study of the mixing efficiency in a kneading block section of a twin-screw extruder. Int. Polym. Process. 2004, 19, 207–217. [Google Scholar] [CrossRef]
- Xu, B.; Liu, Y.; He, L.; Chen, J.; Turng, L.S. Numerical study of mixing dynamics inside the novel elements of a corotating nontwin screw extruder. Adv. Polym. Technol. 2018, 37, 2478–2496. [Google Scholar] [CrossRef]
- Bauer, H.; Matić, J.; Evans, R.C.; Gryczke, A.; Ketterhagen, W.; Sinha, K.; Khinast, J. Determining local residence time distributions in twin-screw extruder elements via smoothed particle hydrodynamics. Chem. Eng. Sci. 2022, 247, 117029. [Google Scholar] [CrossRef]
- Valette, R.; Coupez, T.; David, C.; Vergnes, B. A Direct 3D Numerical Simulation Code for Extrusion and Mixing Processes. Int. Polym. Process. 2009, 24, 141–147. [Google Scholar] [CrossRef]
- Robinson, M.; Cleary, P.W. Effect of geometry and fill level on the transport and mixing behaviour of a co-rotating twin screw extruder. Comput. Part. Mech. 2019, 6, 227–247. [Google Scholar] [CrossRef]
- Oldemeier, J.P.; Schöppner, V. Analysis of the Dispersive and Distributive Mixing Effect of Screw Elements on the Co-Rotating Twin-Screw Extruder with Particle Tracking. Polymers 2024, 16, 2952. [Google Scholar] [CrossRef] [PubMed]
- Kwag, D.S.; Lyu, M.Y.; Kim, W.S. A 3D Numerical Study of Fluid Flow and Heat Transfer in a Single Screw Extruder. Int. Polym. Process. 2002, 17, 95–101. [Google Scholar] [CrossRef]
- Sarhangi Fard, A.; Anderson, P.D. Simulation of distributive mixing inside mixing elements of co-rotating twin-screw extruders. Comput. Fluids 2013, 87, 79–91. [Google Scholar] [CrossRef]
- Ahmed, I.; Poudyal, H.; Chandy, A.J. Fill Factor Effects in Highly-Viscous Non-Isothermal Rubber Mixing Simulations. Int. Polym. Process. 2019, 34, 182–194. [Google Scholar] [CrossRef]
- Sun, D.; Zhu, X.; Gao, M. 3D Numerical Simulation of Reactive Extrusion Processes for Preparing PP/TiO2 Nanocomposites in a Corotating Twin Screw Extruder. Materials 2019, 12, 671. [Google Scholar] [CrossRef] [PubMed]
- Bertrand, F.; Thibault, F.; Delamare, L.; Tanguy, P.A. Adaptive finite element simulations of fluid flow in twin-screw extruders. Comput. Chem. Eng. 2003, 27, 491–500. [Google Scholar] [CrossRef]
- Eitzlmayr, A.; Khinast, J. Co-rotating twin-screw extruders: Detailed analysis of conveying elements based on smoothed particle hydrodynamics. Part 1: Hydrodynamics. Chem. Eng. Sci. 2015, 134, 861–879. [Google Scholar] [CrossRef]
- Martelli, F.G. Twin Screw Extruders: A Basic Understanding; Springer: Berlin/Heidelberg, Germany, 1983. [Google Scholar]
- Nakayama, Y.; Takemitsu, H.; Kajiwara, T.; Kimura, K.; Takeuchi, T.; Tomiyama, H. Improving mixing characteristics with a pitched tip in kneading elements in twin-screw extrusion. AIChE J. 2018, 64, 1424–1434. [Google Scholar] [CrossRef]













| Model | CFD Method | Geometry of CFD Model | Boundary Conditions | Research Focus |
|---|---|---|---|---|
| Flat plate model | FEM * | ![]() Reprinted with permission from Aigner, Köpplmayr [39]—Permission reference 5899410796913. |
| Development of an approach to describe the flow behavior in barrier screws through CFD simulations in order to calculate the mass and pressure flow of different screw geometries. |
| FDM ** | ![]() Reprinted with permission from Stueker and Schoeppner [40]—Permission reference 5899400520239. |
| Analysis of the flow behavior of non-Newtonian polymer melts through the incorporation of real cross-sectional geometries of the screw channel. | |
| FEM | ![]() Reprinted with permission from Hube, Behr [41]—Permission references 5912470139350 and 5914101501361. |
| Introduction of a novel approach of shape optimization for the design of individual mixing elements with the help of the unwound mixing section to reduce computational complexity. | |
| Helical geometry and flat plate model | FVM *** | ![]() Reprinted with permission from Marschik and Roland [42]—Permission reference 5912460254971. |
| Comparison between flat plate model and curved screw channel through the prediction of the pumping capability of the extruder for a power-law fluid. |
| FEM | ![]() Reprinted from Ershov and Trufanova [43] (CC BY license). |
| Investigation of the effect of the shape of the channel and its effect on the flow mechanisms. | |
| Helical geometry | FEM | ![]() Reprinted from Kadyirov, Gataullin [44]. (CC BY license). |
| Investigation of non-Newtonian solutions, specifically their effect on the flow structure and pressure drop. |
| FEM | ![]() Reprinted with permission from Lim, Hwang [45]—Permission reference 5912441001952. |
| Introduction of a novel modeling technique to reduce simulation time and extruder’s length by using a partial periodic unit of the geometry in the metering section. | |
| FEM | ![]() Reprinted from Vachagina, Kadyirov [46] (CC BY license). |
| Modeling of a helical coordinate system to reduce the 3D problem to 2D for the study of melt flows through the helical geometry. | |
| FVM | ![]() Reprinted from Herzog, Roland [47] (CC BY license). |
| Introduction of a modeling method by including the 3D curved shape and the rotational motion of the screw channel boundaries. | |
| FVM | ![]() Reprinted from Janßen and Schiffers [48] (CC BY license). |
| Investigation of the influence of different materials on the performance of mixing sleeves and provide a new technique to predict the rotation speed of free-rotating mixers. | |
| Pin-type extruder | FEM | ![]() Reprinted with permission from Schöppner, Schadomsky [49]—Permission reference 5912460610087. |
| Simulation of mixing behavior of rubber extruders through the investigation of new pin designs and geometries for process optimization. |
| Dulmage-type screw | FVM | ![]() Reprinted with permission from Kimura, Nakayama [50]—Permission reference 5912460924947. |
| Investigation of mixing in a Dulmage-type screw to determine how it influences the operation conditions. |
| Saxton mixer | FVM | ![]() Reprinted with permission from Erb, Celik [51]—Permission reference 5912461232889. |
| Description of dispersive mixing through the calculation of the length stretch using an Eulerian frame and a Lagragian approach to apply in a 3D Saxton mixer. |
| Faceted mixer | Not specified | ![]() Reprinted with permission from Frank, Hollenhorst [52]—Permission reference 5912461412482. |
| Design and optimization of the mixing geometry of a faceted mixer through CFD simulation for an examination of pressure throughput behavior for several designs. |
| Pin barrel extruder | FEM | ![]() Reprinted from Wang, Pan [53] (CC BY license). |
| Proposal of a simple approximate mathematical model through the validation with simulation results for the quantitative assessment of elongational flow within extruders. |
| Block-head mixer | FEM | ![]() Reprinted with permission from Marschik, Osswald [54]—Permission reference 5912470463105. |
| Investigation of the pumping and mixing ability of a block-head mixer through the analysis of several geometrical parameters. |
| Equation (5)/m3 s−1 | CFD Simulation/m3 s−1 | |
|---|---|---|
| Rotation Screw Direction | CFD Method | Geometry of CFD Model | Boundary Conditions | Research Focus |
|---|---|---|---|---|
| Corotating screws | FEM | ![]() Reprinted with permission from Stritzinger, Roland [79] (Permission reference 5912480209160). |
| Optimizing the extrusion process using a 3D model of a corotating intermeshing extruder with a kneading block for melt conveying to improve efficiency and power reduction. |
| FEM | ![]() Reprinted with permission from Van Der Wal, Goffart [80] (Permission reference 5912490345777). |
| A 3D CFD model for a corotating extruder considers a simplification of the kneading block and studies the effect of parameters on mixing, such as shear rate and flow profile, by geometric simplification. | |
| SPH **** | ![]() Reprinted with permission from [81,82] (Permission references 5912580169753 and 5912580479271). |
| A SPH method considers a mechanistic model that takes into account the mass transfer along the screws and the heat transfer mechanisms. | |
| BEM ***** | ![]() Reprinted from Rios, Gramann [83] (License CC BY). |
| Self-wiping intermeshing corotating model is considered using BEM to study qualitative and quantitative mixing by various screw geometries, includingsingle, double, and triple flighted screws, by computing flow field, pressures, and stress. These simulations consider a flight clearance, a fully filled screw channel, and a Newtonian fluid. | |
| FEM | ![]() Reprinted with permission from Goffart, Van Der Wal [84] (Permission reference 5913010005059). |
| A 2D CFD model of intermeshing corotating screws is used to analyze the flow profile, pressure build-up, and operational conditions. The fight clearance is neglected. The objective is to determine the throughput of the extruder by studying the effect of the rotation speed and the helix angle of the screw. | |
| FEM | ![]() Reprinted with permission from Hinz, Helmig [85] (Permission reference 5913010808006). |
| Meshing techniques derived from the Snapping Reference Mesh Update Method (SRMUM) and Elliptic Grid Generation were used to simulate the flow in intermeshing corotating extruders using boundary-conforming meshes. The authors generated 2D spline-based geometries for selected screw orientations, which highlights the method’s practicality for real-world applications. The density of the working flow is from 1 to 710 kg/m3. | |
| FEM | ![]() Reprinted with permission from Helmig, Behr [86] (Permission reference 5913030367101). |
| Authors used the boundary-conforming method to evaluate pressure and temperature distribution in two different screw configurations. The mesh update technique helps to compute the flow in the twin-screw extruder. | |
| FEM | ![]() Reprinted with permission from Helmig, Key [87] (License CC BY). |
| 2D and 3D CFD simulation of Newtonian fluid requires the use of finely optimized boundary-conforming meshes within each subdomain, with coupling occurring only at the overlapping boundary interfaces. | |
| FEM | ![]() Reprinted with permission from Ishikawa, Kihara [88] (Permission reference 5913051404860). |
| A 3D CFD model investigates a simulation by using the FEM method for non-isothermal flow in the kneading disc area. Pressure gradient and temperature distributions at different rotational speeds were performed. | |
| SPH | ![]() Reprinted with permission from Dong and Wu [89] (Permission reference 5913051404860). |
| 3D CFD model of a conveying region using the SPH method for non-Newtonian fluid in fully and partially filled models. Two flight clearances were studied: 0 and 1 mm. | |
| SPH | ![]() Reprinted with permission from Bauer, Matić [90] (Permission reference 5913100103435). |
| The CFD model evaluates the pressure build-up, power consumption, and mixing behavior of fully filled elements in different operational conditions. This model considers flight clearance. | |
| Counter-rotating Screws | FEM | ![]() Reprinted with permission from Lewandowski, Wilczyński [91] (Permission reference 5912500224136). |
| The 3D model for a counter-rotating intermeshing region considers the screws simplification of the kneading block configuration. |
| FEM | ![]() Reprinted with permission from S R, Arumugam [92] (Permission reference 5912970385230). |
| A 3D CFD model using a 3D fully intermeshing counter-rotating extruder optimizes the production process with a minimum dissipation rate of viscosity and specific dimension of the final product. In this model, the Mesh Superposition Technique was used. | |
| FEM | ![]() Reprinted from Yuan Zhang [93] (License CC BY). |
| A 3D model of non-intermeshing counter-rotating predicts a theoretical basis for the design and optimization of the die zone. |
Disclaimer/Publisher’s Note: The statements, opinions and data contained in all publications are solely those of the individual author(s) and contributor(s) and not of MDPI and/or the editor(s). MDPI and/or the editor(s) disclaim responsibility for any injury to people or property resulting from any ideas, methods, instructions or products referred to in the content. |
© 2025 by the authors. Licensee MDPI, Basel, Switzerland. This article is an open access article distributed under the terms and conditions of the Creative Commons Attribution (CC BY) license (https://creativecommons.org/licenses/by/4.0/).
Share and Cite
Delvar, E.; Oliveira, I.; Brito, M.S.C.A.; Silva, C.G.; Santamaria-Echart, A.; Barreiro, M.-F.; Santos, R.J. Literature Review on Single and Twin-Screw Extruders Design for Polymerization Using CFD Simulation. Fluids 2025, 10, 9. https://doi.org/10.3390/fluids10010009
Delvar E, Oliveira I, Brito MSCA, Silva CG, Santamaria-Echart A, Barreiro M-F, Santos RJ. Literature Review on Single and Twin-Screw Extruders Design for Polymerization Using CFD Simulation. Fluids. 2025; 10(1):9. https://doi.org/10.3390/fluids10010009
Chicago/Turabian StyleDelvar, Elham, Inês Oliveira, Margarida S. C. A. Brito, Cláudia G. Silva, Arantzazu Santamaria-Echart, Maria-Filomena Barreiro, and Ricardo J. Santos. 2025. "Literature Review on Single and Twin-Screw Extruders Design for Polymerization Using CFD Simulation" Fluids 10, no. 1: 9. https://doi.org/10.3390/fluids10010009
APA StyleDelvar, E., Oliveira, I., Brito, M. S. C. A., Silva, C. G., Santamaria-Echart, A., Barreiro, M.-F., & Santos, R. J. (2025). Literature Review on Single and Twin-Screw Extruders Design for Polymerization Using CFD Simulation. Fluids, 10(1), 9. https://doi.org/10.3390/fluids10010009































