Abstract
This study proposes a virgin structure of Fuzzy Logic Control (FLC) for Load Frequency Control (LFC) in a dual-area interconnected electrical power system. This configuration benefits from the advantages of fuzzy control and the merits of Fractional Order theory in traditional PID control. The proposed design is based on Fuzzy Cascade Fractional Order Proportional-Integral and Fractional Order Proportional-Derivative (FC FOPI-FOPD). It includes two controllers, namely FOPI and FOPD connected in cascade in addition to the fuzzy controller and its input scaling factor gains. To boost the performance of this controller, a simple and powerful optimization method called the Particle Swarm Optimization (PSO) algorithm is employed to attain the best possible values of the suggested controller’s parameters. This task is accomplished by reducing the Integral Time Absolute Error (ITAE) of the deviation in frequency and tie line power. Furthermore, to authenticate the excellence of the proposed FC FOPI-FOPD, a comparative study is carried out based on the obtained results and those from previously published works based on classical PID tuned by the Losi Map-Based Chaotic Optimization Algorithm (LCOA), Fuzzy PID Optimized by Teaching Learning-Based Optimization (TLBO) algorithm and Fuzzy PID with a filtered derivative mode tuned by PSO, which is employed in the same interconnected power system. The robustness of the suggested fuzzy structure is investigated against the parametric uncertainties of the testbed system. The simulation results revealed that the proposed FC FOPI-FOPD is robust, and it outperformed the other investigated controllers. For example, the drops in the frequency in area one and area two were improved by 89.785% and 97.590%, respectively, based on employing the proposed fuzzy configuration compared with the results obtained from the traditional PID.
1. Introduction
Stability in power systems is an essential issue which requires different actions to address the challenges of this problem, such as Load Frequency Control (LFC) to control the real power and the Automatic Voltage Regulator (AVR) to control the reactive power [1]. This paper focuses only on the problem of frequency deviation in power systems, which occurs as a result of the inequality between the load demand and produced power. Therefore, any sudden disturbance such as a loss of generator units or load demand leads to frequency variation and tie line power deviation within the system, which may lead to degrading the system’s performance [2]. In most power systems, in order to control the frequency, different loops are considered, namely primary, secondary and tertiary loops, in addition to the emergency loop in certain cases [3]. The secondary control loop, which is also known as the Load Frequency Control (LFC), offers a key service in power systems; it provides the required real power output from generation units to meet the variation in load which, as a consequence of the control the frequency, also maintains the interchanged power among the control areas at the rated ranges [4].
A literature survey revealed that numerous frequency control strategies based on several concepts have been introduced to cope with the problem of frequency deviation in power systems [5]. In industrial applications, classical control based on different forms of PID ranks as the most used controller [6]. Similarly, in power systems, traditional controllers are commonly used to address the problem of frequency variation. The classical PI is proposed for the LFC in a single-area electrical power system having a communication delay. The analytico-graphical criteria based on the stability boundary locus are used for obtaining the PI parameters [7]. A PID controller is utilized in a dual-area power system for LFC purposes, where a Losi Map-Based Chaotic Optimization Algorithm (LCOA) is suggested to optimally tune the values of the PID parameters [8]. The authors in [9] proposed the new design of a (1 + PD)-PID cascade controller tuned by the Dragonfly Search Algorithm (DSA) control for the LFC in diverse power systems considering some aspects of nonlinearities [9]. Fractional Order PID (FOPID) is an extended version of the classical PID which provides a better control performance and offers more flexibility and less sensitivity to controlled plants’ parametric uncertainties [10]. A robust design of FOPID optimized by the Slap Swarm Algorithm (SSA) has been proposed as a solution for the problem of frequency oscillation in a power system [11]. The authors in [12] considered a virgin LFC design by employing a Fractional Order PI (FOPI) in cascade with a Fractional Order PD (FOPD). Model Predictive Control (MPC) ranks second as the most widely implemented controller in industrial applications [13]. MPC is implemented in two different power systems to damp the frequency fluctuation and tie line power variation. MPC has outperformed traditional PID controllers tuned by a Genetic Algorithm (GA) and Particle Swarm Optimization employed in the same systems [14]. Sliding Mode Control (SMC) has also been considered an excellent scheme to effectively deal with the issue of LFC in power systems. The authors in [15] suggested a novel, simple design of SMC tuned by the Bees Algorithm (BA) for LFC in a two-area power system. SMC tuned by PSO and BA has been equipped as LFC in a simplified Great Britain power set-up [16].
However, Fuzzy Logic Control (FLC) has attracted many scholars to employ this controller in the field of LFC based on different configurations. LFC based on Fuzzy Logic Control was proposed in [17] in a power system including a superconducting magnetic energy storage system. The authors in [18] proposed a fuzzy control design for LFC in a power system considering a wide range of nonlinearities within the controlled system. FLC optimized by Teaching Learning-Based Optimisation (TLBO) was studied in [19] to prevail over the problem of frequency variation in a dual-area interconnected electrical system. Fuzzy PID with filtered derivative action tuned by BA has been successfully implemented as LFC in two different power systems [20]. A comprehensive state of the art review for LFC is presented well in [21].
Based on an extensive review of the methods recommended in the literature, this study proposes a novel structure design of Fuzzy Logic Control for LFC in a dual unequal area interconnected thermal power system where the contributions and the objectives are as follows:
- Introduce a novel Fuzzy Logic Control configuration for LFC and study its performance in the testbed power system. This design is based on a two-input-one-output fuzzy controller. Cascade FOPI-FOPD is connected to the output terminal of the fuzzy controller, and this forms the proposed Fuzzy Cascade FOPI-FOPD (Fuzzy C FOPI-FOPD).
- Validate the predominance of the introduced design through comparing the acquired results with those of published works based on traditional PID tuned by LCOA presented in [8], Fuzzy PID tuned by TLBO [19], and Fuzzy PID with a filtered derivative mode tuned by PSO presented in [20].
- Examine the robustness of the proposed design when the controlled power system experiences parametric uncertainties.
2. System under Study: Dual-Area Power System
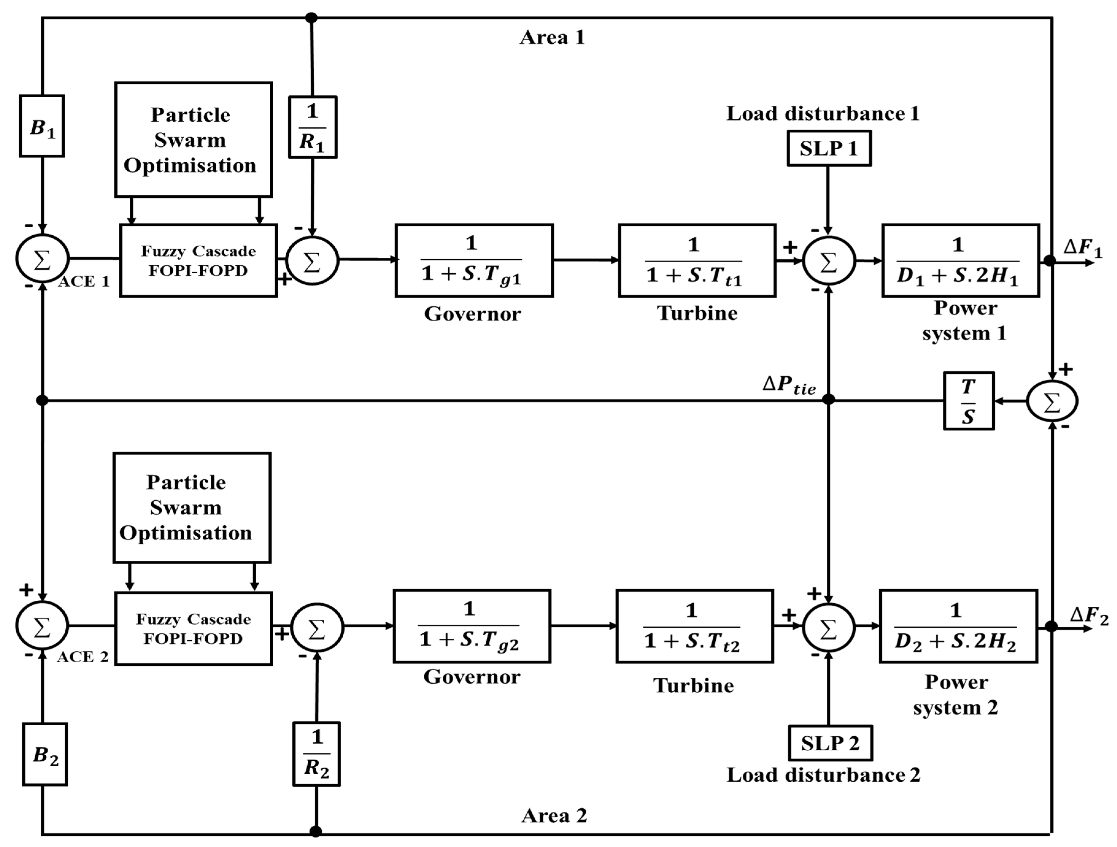
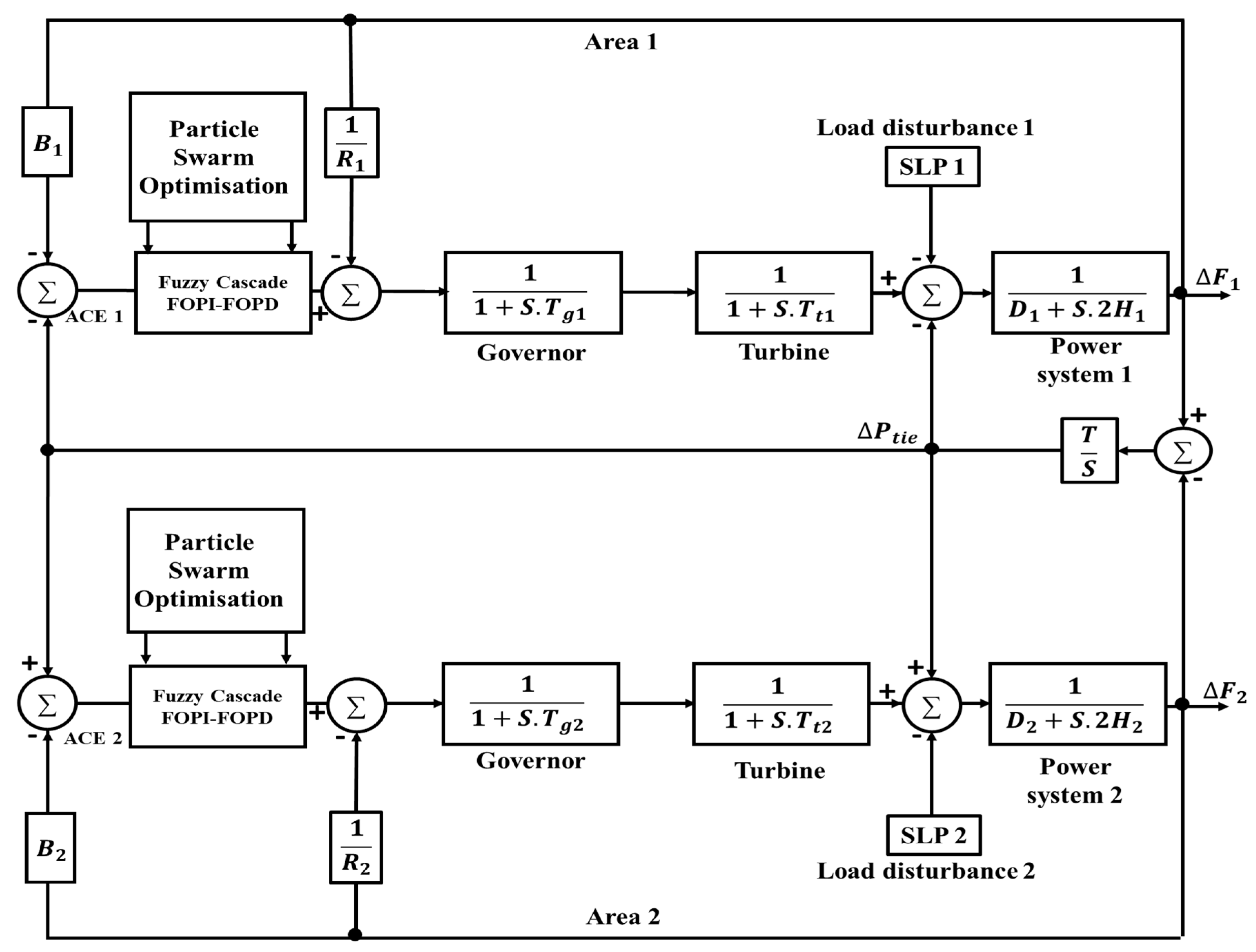
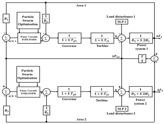
The power system model considered in this study is widely investigated in the literature. It consists of two areas with unequal parameters. The system comprises different components such as a governor, turbine, load, and machine. The block diagram of the two-area power testbed is illustrated in Figure 1. The parameter values of this interconnected electrical system are provided in Appendix A.
Figure 1.
The block diagram of the two-area power system.
The main term that is taken into consideration when designing a controller for frequency regulation in power systems is the Area Control Error (ACE). This term includes the frequency and tie line power error, which represent the inputs of the LFC system.
The ACEs for area one and area two are given in Equations (1) and (2), respectively:
where Δ and Δ are the frequency deviation in both areas, Δ and Δ are the tie line power deviation, and and are the frequency biases.
3. The Proposed Controller: Fuzzy Cascade FOPI-FOPD
In control system design, controllers are required to provide (1) zero steady state error, (2) the lowest possible settling time and rise time, and (3) the smallest possible overshoot or undershoot. In this work, the Fuzzy Logic Control (FLC) scheme is suggested to meet these requirements for the two area power system under study. Accordingly, for the aim of reducing the frequency and tie line power deviation, a novel Fuzzy Cascade Fractional Order PI-Fractional Order PD (FC FOPI-FOPD) shown in Figure 2 is proposed as an LFC system in the two-area power model.
Figure 2.
The structural design of the proposed FC FOPI-FOPD controller.
This design includes eight scaling factor gains, namely the input gains and the output gains, which are , , and λ are the FOPI gains, while , , and µ are the FOPD gains. An identical controller with different scaling factor values is equipped in area two.
The design of FLC generally includes three stages: (1) fuzzification, (2) rule bases, and (3) defuzzification. The proposed FC FOPI-FOPD is designed to have two inputs, namely the ACE and the change in ACE () with one output. The fuzzy inputs and output are illustrated via different membership functions. In this design, five membership functions are suggested for the inputs and output, namely Negative Big (NB), Negative Small (NS), Zero (Z), Positive Small (PS), and Positive Big (PB). Two trapezoidal and three triangular membership functions are utilized (see Figure 3), as they are simple and require less computation time.
Figure 3.
The membership functions of the proposed fuzzy design.
The design is set to have two inputs and one output with five membership functions. This requires 25 rule bases (illustrated in Table 1) to generate the fuzzy output signal. The Mamdani interface method and the very known and powerful “centroid” tool are utilized in the fuzzification and defuzzification stages, respectively.
Table 1.
Fuzzy role bases.
The output signal of the fuzzy is considered the input signal of the Cascade FOPD-FOPD controller. This controller is formed from cascading two controllers, namely the FOPI () and the FOPD (). The transfer function of the FOPI-FOPD is demonstrated in Equation (3), where U(s) is the control signal and E(s) is the input signal, which is designed as the output signal of the fuzzy controller. are the proportional, integral, and derivative gains, respectively. λ and µ are the integration order and differentiation order, respectively:
Hence, as mentioned above, the total scaling factor gains for the proposed FC FOPI-FOPD are eight parameters which are to be tuned by the PSO algorithm by reducing the selected ITAE objective function, namely , , for the controller equipped in area one and , , for the controller equipped in area two.
4. Optimization Tool: Particle Swarm Optimization
Particle Swarm Optimization, or PSO as it is widely known, is one of the most commonly used optimization tools in engineering applications. This is due to its simplicity, superiority, and wide applicability. This powerful optimization tool is one of the most known stochastic algorithms, and it was introduced by Eberhart and Kennedy in 1995 [22]. It mimics the social behavior of a flock of birds and fish schooling. The concept, its variants, and its wide applications in power systems are investigated well in [23].
In this work, PSO is proposed to find the best possible gains of the suggested fuzzy controller by minimizing the Integral Time Absolute Error (ITAE) of the frequency and the tie line power deviation expressed in Equation (4):
In order to find the optimum values of the proposed Fuzzy C FOPI-FOPD by PSO, the following steps were taken:
- Setting the parameters of PSO as presented in Table 2, where CR is the crossover rate, Wmax and Wmin are the initial and final weights, respectively, and and are the acceleration constants;
Table 2. The PSO set parameters. - Creating an initial swarm of particles and a random position and random velocity for each particle;
- Calculating the objective function for the parameters to be tuned;
- Evaluating the best position of each particle and the best position in the entire population and then upgrading the position and speed of each particle;
- These steps are repeated until meeting a stopping criterion or reaching the maximum number of iterations.
5. Results and Discussion
This study was carried out in Matlab 2019b, where the investigated dual area power system was built in Simulink MATLAB and the PSO code was programmed in .m file. The number of iterations was set to 50, and the boundaries of the tuned scaling factors were restrained from 0 to 2. A load disturbance with a magnitude of 0.2 pu was implemented in area one to study the functioning of the suggested fuzzy controller for LFC purposes. The optimal gains of the FC FOPI-FOPD obtained using PSO are depicted in Table 3.
Table 3.
Optimal gains of FC FOPI-FOPD obtained by PSO.
For supremacy verification, the simulation results attained from applying the proposed technique were compared with those of recently published studies based on traditional PID tuned by LCOA [8], Fuzzy PID optimized by TLBO investigated in [19], and Fuzzy PID with filtered derivative action (Fuzzy PIDF) tuned by PSO presented in [20]. The optimum gains of the controllers proposed in [8,19,20] are given in Table 4.
Table 4.
Optimal gains of FC FOPI-FOPD obtained by PSO.
The simulation results proved that the proposed FC FOPI-FOPD outperformed the other controller in most aspects. Frequency deviation in areas one and two as well as tie line power deviation following the 0.2 pu disturbance are shown in Figure 4, Figure 5 and Figure 6, respectively. Table 5 illustrates the dynamic response of the system in terms of peak overshoot, peak undershoot, and settling time.
Figure 4.
Frequency drop in area one.
Figure 5.
Frequency drop in area two.
Figure 6.
Tie line power variation.
Table 5.
The dynamic response of the investigated power system based on different control methods.
Figure 4, Figure 5 and Figure 6 and Table 5 prove the superiority of the proposed FC FOPI-FOPD over the other controllers in all aspects. In addition to providing a fast response, the suggested design offered the least overshoot and undershoot among the implemented controllers. Further, the smallest ITAE objective function value was obtained based on the proposed FC FOPI-FOPD controller.
The percentage of betterment in the dynamic performance of the testbed system represented by the peak undershoot and settling time in the frequency and tie line power deviation, in addition to the value of the objective function for different controllers, including the proposed FC FOPI-FOPD compared with the traditional PID [8], are given in Table 6 and shown in Figure 7.
Table 6.
Percentage of improvement in dynamic characteristics based on different strategies.
Figure 7.
Percentage of betterment with different controllers.
From Table 6, it is obvious that with the proposed fuzzy configuration tuned by the PSO, the frequency variation and settling time were improved by 89.785% and 68.94%, respectively, while the same parameters in area two were improved by 97.59% and 13.64%, respectively.
6. Robustness Analysis
To observe the robustness of the novel introduced FC FOPI-FOPD, the parameters of the investigated system were varied by plus or minus 40% from their nominal values as follows: Tt, Tg, and H in both areas were changed by +40%, while R and B were changed by −40%. The optimal gains of the scaling factors were not re-tuned. Figure 8 demonstrates the frequency deviation in area one and area two under parametric uncertainty conditions of the testbed system following a 0.2-pu load disturbance applied in area one when the proposed FC FOPI-FOPD was equipped as an LFC system. Figure 9 shows the tie line power variation under the same condition.
Figure 8.
Frequency variation in area one and area two under parametric uncertainty conditions with the proposed FC FOPI-FOPD controller.
Figure 9.
Tie line power deviation under the parametric uncertainty condition with the proposed FC FOPI-FOPD controller.
From the robustness examination, it was observed that a small increase in the drop of the frequency in both areas resulted from the parametric uncertainties assumed within the system. For instance, the peak undershoot in increased from −0.0438 Hz and −0.0016 Hz to −0.088 Hz and −0.008935 Hz, respectively. Accordingly, notwithstanding the wide range of parametric variation of the testbed system, and based on the results obtained from the robustness analysis, it was evidenced that the proposed FC FOPI-FOPD was a robust controller.
7. Conclusions
In this study, a novel Fuzzy Cascade Proportional Integral-Proportional Derivative (FC FOPI-FOPD) configuration was proposed for LFC in a two-area interconnected power system. The well-known PSO tool was employed to optimally tune the parameters of the proposed fuzzy control structure by reducing the selected ITAE objective function. The simulation results proved the validity of the suggested FC FOPI-FOPD as an LFC system to damp out the frequency and tie line power variation. The results obtained also revealed the superiority of the proposed fuzzy controller over other LFC systems presented in recently published works. Moreover, the FC FOPI-FOPD demonstrated a robust performance toward parametric uncertainty of the power system under study.
This study may be extended in future work by considering the impact of renewable energy resources as well as taking into consideration the nonlinear aspects. In addition, it may provide higher reliability if the cascaded controllers are connected in parallel. Furthermore, it may further improve the performance of the controller if another more recently introduced optimization tool is utilized in tunning the gains of the suggested fuzzy controller.
Author Contributions
Conceptualisation, M.S. and A.A.; methodology, M.S.; software, M.S. and A.A.; validation, M.S. and A.A.; formal analysis, M.S. and A.A.; investigation, M.S. and A.A.; resources M.S. and A.A.; data curation, M.S.; writing—original draft preparation, M.S.; writing—review and editing, M.S. and A.A.; visualisation, M.S.; supervision, A.A. and M.S.; project administration, M.S. and A.A.; funding acquisition, M.S. All authors have read and agreed to the published version of the manuscript.
Funding
This research received no external funding.
Acknowledgments
The authors thank Cardiff University for paying the APC toward publishing this manuscript.
Conflicts of Interest
There is no known conflict of interest.
Abbreviations
The following abbreviations are used in this manuscript:
| FLC | Fuzzy Logic Control |
| LFC | Load Frequency Control |
| FC FOPI-FOPD | Fuzzy Cascade Fractional Order Proportional-Integral and Fractional Order Proportional-Derivative |
| PSO | Particle Swarm Optimization |
| Fuzzy PIDF | Fuzzy PID with filtered derivative mode |
| FOPI | Fractional Order Proportional-Integral |
| FOPD | Fractional Order Proportional-Derivative |
| LCOA | Losi Map-Based Chaotic Optimization Algorithm |
| TLBO | Teaching Learning-Based Optimization |
| ITAE | Integral Time Absolute Error |
| AVR | Automatic Voltage Regulator |
| DSA | Dragonfly Search Algorithm |
| FOPID | Fractional Order PID |
| SSA | Slap Swarm Algorithm |
| MPC | Model Predictive Control |
| GA | Genetic Algorithm |
| SMC | Sliding Mode Control |
| BA | Bees Algorithm |
| NB | Negative Big |
| NS | Negative Small |
| Z | Zero |
| PS | Positive Small |
| PB | Positive Big |
| ACE | Area Control Error |
Appendix A. The Parameters of the Investigated System
Area one parameters: Tg = 0.2 s, Tt = 0.5 s, B = 20.6 Hz/MW, D = 0.6, R = 0.05 MW/Hz, H = 5.
Area two parameters: Tg = 0.3 s, Tt = 0.6 s, B = 16.9 Hz/MW, D = 0.9, R = 0.0625 MW/Hz, H = 4.
T = 2, F = 60 Hz, SLD = 0.2 pu.
References
- Grigsby, L.L. (Ed.) Power System Stability and Control; CRC Press: Boca Raton, FL, USA, 2007. [Google Scholar]
- Shouran, M.; Anayi, F.; Packianather, M. A State-of-the-Art Review on LFC Strategies in Conventional and Modern Power Systems. In Proceedings of the 2021 International Conference on Advance Computing and Innovative Technologies in Engineering (ICACITE), Greater Noida, India, 4–5 March 2021; pp. 268–277. [Google Scholar] [CrossRef]
- Obaid, Z.A.; Cipcigan, L.M.; Muhssin, M.T. Fuzzy hierarchal approach-based optimal frequency control in the Great Britain power system. Electr. Power Syst. Res. 2016, 141, 529–537. [Google Scholar] [CrossRef]
- Sahu, B.K.; Pati, T.K.; Nayak, J.R.; Panda, S.; Kar, S.K. A novel hybrid LUS-TLBO optimized fuzzy-PID controller for load frequency control of multi-source power system. Int. J. Electr. Power Energy Syst. 2016, 74, 58–69. [Google Scholar] [CrossRef]
- Alhelou, H.; Hamedani-Golshan, M.-E.; Zamani, R.; Heydarian-Forushani, E.; Siano, P. Challenges and Opportunities of Load Frequency Control in Conventional, Modern and Future Smart Power Systems: A Comprehensive Review. Energies 2018, 11, 2497. [Google Scholar] [CrossRef] [Green Version]
- Kozák, Š. State-of-the-art in control engineering. J. Electr. Syst. Inf. Technol. 2014, 1, 1–9. [Google Scholar] [CrossRef] [Green Version]
- Saxena, S.; Hote, Y.V. PI Controller Based Load Frequency Control Approach for Single-Area Power System Having Communication Delay. IFAC-PapersOnLine 2018, 51, 622–626. [Google Scholar] [CrossRef]
- Farahani, M.; Ganjefar, S.; Alizadeh, M. PID controller adjustment using chaotic optimisation algorithm for multi-area load frequency control. IET Control Theory Appl. 2012, 6, 1984–1992. [Google Scholar] [CrossRef]
- Çelik, E.; Öztürk, N.; Arya, Y.; Ocak, C. (1 + PD)-PID cascade controller design for performance betterment of load frequency control in diverse electric power systems. Neural Comput. Appl. 2021, 33, 15433–15456. [Google Scholar] [CrossRef]
- Shah, P.; Agashe, S. Review of fractional PID controller. Mechatronics 2016, 38, 29–41. [Google Scholar] [CrossRef]
- Mishra, A.K.; Mishra, P.; Mathur, H.D. Fractional-Order Load Frequency Control of a Two-Area Interconnected Power System with Uncertain Actuator Nonlinearities; Springer International Publishing: Berlin/Heidelberg, Germany, 2021; pp. 211–222. [Google Scholar]
- Shouran, M.; Alsseid, A.M. Cascade of Fractional Order PID based PSO Algorithm for LFC in Two-Area Power System. In Proceedings of the 2021 3rd International Conference on Electronics Representation and Algorithm (ICERA), Yogyakarta, Indonesia, 29–30 July 2021; pp. 1–6. [Google Scholar] [CrossRef]
- Forbes, M.G.; Patwardhan, R.S.; Hamadah, H.; Gopaluni, R.B. Model Predictive Control in Industry: Challenges and Opportunities. IFAC-PapersOnLine 2015, 48, 531–538. [Google Scholar] [CrossRef]
- Charles, K.; Urasaki, N.; Senjyu, T.; Lotfy, M.; Liu, L. Robust Load Frequency Control Schemes in Power System Using Optimized PID and Model Predictive Controllers. Energies 2018, 11, 3070. [Google Scholar] [CrossRef] [Green Version]
- Shouran, M.; Anayi, F.; Packianather, M. The Bees Algorithm Tuned Sliding Mode Control for Load Frequency Control in Two-Area Power System. Energies 2021, 14, 5701. [Google Scholar] [CrossRef]
- Shouran, M.; Anayi, F.; Packianather, M. Design of sliding mode control optimised by the Bees algorithm for LFC in the Great Britain power system. Mater. Today Proc. 2021; in press. [Google Scholar] [CrossRef]
- Demiroren, A.; Yesil, E. Automatic generation control with fuzzy logic controllers in the power system including SMES units. Int. J. Electr. Power Energy Syst. 2004, 26, 291–305. [Google Scholar] [CrossRef]
- Moniya, P.; Anand, B. Automatic generation control with fuzzy logic controller incorporating tandem and cross compound turbine. J. Ambient Intell. Humaniz. Comput. 2021, 12, 7071–7083. [Google Scholar] [CrossRef]
- Sahu, B.K.; Pati, S.; Mohanty, P.K.; Panda, S. Teaching–learning based optimization algorithm based fuzzy-PID controller for automatic generation control of multi-area power system. Appl. Soft Comput. 2015, 27, 240–249. [Google Scholar] [CrossRef]
- Shouran, M.; Anayi, F.; Packianather, M.; Habil, M. Load Frequency Control Based on the Bees Algorithm for the Great Britain Power System. Designs 2021, 5, 50. [Google Scholar] [CrossRef]
- Ranjan, M.; Shankar, R. A literature survey on load frequency control considering renewable energy integration in power system: Recent trends and future prospects. J. Energy Storage 2022, 45, 103717. [Google Scholar] [CrossRef]
- Kennedy, J.; Eberhart, R. Particle swarm optimization. In Proceedings of the ICNN’95—International Conference on Neural Networks, Perth, Australia, 27 November–1 December 1995; Volume 4, pp. 1942–1948. [Google Scholar] [CrossRef]
- del Valle, Y.; Venayagamoorthy, G.K.; Mohagheghi, S.; Hernandez, J.-C.; Harley, R.G. Particle Swarm Optimization: Basic Concepts, Variants and Applications in Power Systems. IEEE Trans. Evol. Comput. 2008, 12, 171–195. [Google Scholar] [CrossRef]
Publisher’s Note: MDPI stays neutral with regard to jurisdictional claims in published maps and institutional affiliations. |
© 2022 by the authors. Licensee MDPI, Basel, Switzerland. This article is an open access article distributed under the terms and conditions of the Creative Commons Attribution (CC BY) license (https://creativecommons.org/licenses/by/4.0/).








