Abstract
In order to resolve Borodin’s Conjecture, DP-coloring was introduced in 2017 to extend the concept of list coloring. In previous works, it is proved that every planar graph without 7-cycles and butterflies is DP-4-colorable. And any planar graph that does not have 5-cycle adjacent to 6-cycle is DP-4-colorable. The existing research mainly focus on the forbidden adjacent cycles that guarantee the DP-4-colorability for planar graph. In this paper, we demonstrate that any planar graph G that excludes 7-cycles adjacent to k-cycles (for each ), and does not feature a Near-bow-tie as an induced subgraph, is DP-4-colorable. This result extends the findings of the previous works mentioned above.
MSC:
05C15; 05C10
1. Introduction
The graphs discussed are simple, planar graphs. Vertex coloring stands out as a significant area of study within graph theory. A graph G with list assignment allocates a color set to each . Considering to be a proper coloring of G, which ensures that differs from across every edge in G. If in respect to every vertex v, then is defined as a list coloring of G, which proposed by was Vizing et al. [1,2] independently. Considering each list assignment with a size more than k, if G has a list coloring, then we could define G as k-choosable. The least amount k is the choosable number, represented by . Thomassen [3] demonstrated the 5-choosability of planar graph, while not all planar graphs are 4-choosable, as proven by Voigt [4]. Thus, many experts focus on identifying sufficient conditions under which planar graphs have the property of 4-choosability.
In list coloring, vertex identification cannot be used due to the different lists on vertices. To address this limitation, Dvořák et al. [5] proposed DP-coloring, which enabled them to resolve a long-standing conjecture by Borodin [6], namely that every planar graph G without cycles of lengths 4 to 8 is 3-choosable. Let be two disjoint vertex sets of G, and denote the collection of edges with one end-vertex in X and the other end-vertex in Y. The following definition of DP-coloring was subsequently provided by Bernshteyn et al. [7].
Definition 1.
Consider that a graph denoted as G along with its respective list assignment L. qualifies as a cover for when it meets these criteria:
- , where and ;
- for each vertex w in G, the collection makes up a clique;
- for every edge , is a matching set (which may be empty), denoted by ;
- when , is an empty set.
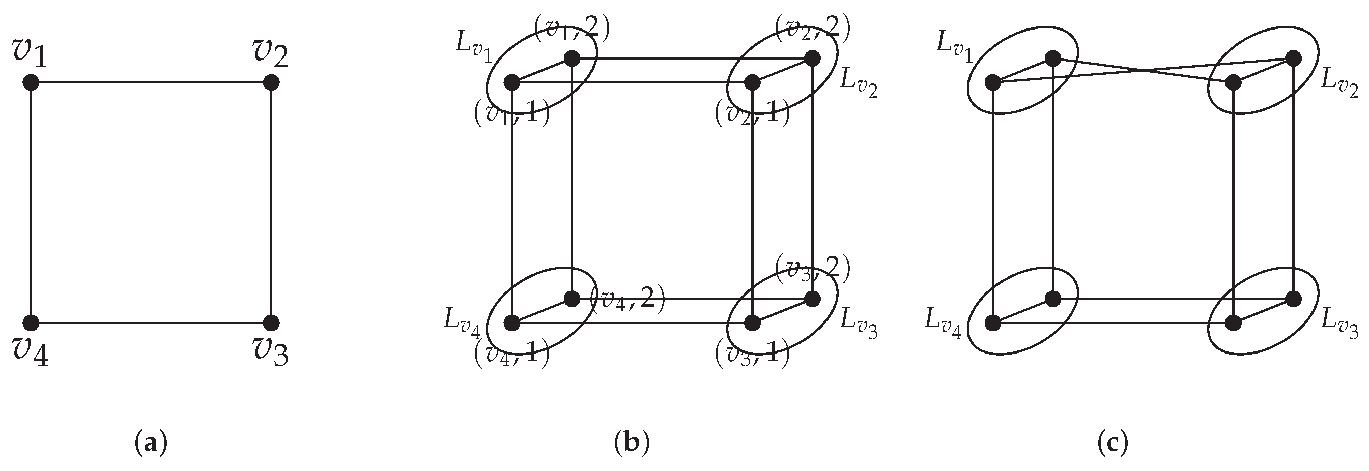
For simplicity, we denote . Figure 1b,c are two distinct covers of with for each vertex of .
Figure 1.
and are two distinct covers of with for each . (a) 4-cycle . (b) . (c) .
Definition 2.
Considering denoted as a cover of . Then, the following two conditions are equivalent:
- (i)
- includes an independent subset I with size ;
- (ii)
- G has a coloring ψ on satisfying across each vertex v. This coloring is said to -coloring.
A graph is called DP-k-colorable when it has an -coloring for every L with and every cover . The minimum such k is the DP-chromatic number, represented as .
For every , distinct matchings between and correspond to different covers of G. If the matching between and is , an -coloring of G becomes equivalent to a list coloring of G. It indicates that DP-coloring serves as a generalization of list coloring, leading to the conclusion that . From Figure 1, has an independent set ; hence, has an -coloring with vertices colored 1 and vertices colored 2, and this corresponding coloring is also a 2-list coloring of . However, does not have an -coloring for and has no 4-independent set. So, . The fact that and marks an important difference between DP-coloring and list coloring.
Recently, DP-coloring has gained significant attention. Dvořák et al. [5] showed that does not exceed 5, and it can be reduced to 3 for planar graphs with a girth of at least 5. Li et al. [8] proved that any planar graphs without intersecting 5-cycles is DP-4-colorable. Li et al. [9] discussed the DP-4-colorability of planar graphs with some restrictions on cycles. For more results about DP-colorability, the readers can see in [10,11,12,13,14,15,16,17,18]. Kim and Ozeki [12] improved results about 4-choosability, any planar graph that avoids a k-cycle (where k is in the set ) is DP-4-colorable. Moreover, Farzad [19] confirmed the 4-choosability for every planar graph lacking 7-cycles. One naturally asks whether every planar graph lacking 7-cycles has the property of DP-4-colorability. For this purpose, Kim et al. [20] demonstrated the subsequent finding.
Theorem 1.
Any planar graph that lacks both butterflies (see Figure 2b) and 7-cycles is DP-4-colorable.
Figure 2.
Near-bow-tie and butterfly. (a) Near-bow-tie, where v is a 7-vertex. (b) butterfly.
On the other hand, there is another way to study the sufficient conditions for DP-4-colorability, that is, forbidden adjacent cycles. For more details, the reader can refer to [11,12,13,16,17,18,21].
Theorem 2.
Any planar graph that does not have -cycles adjacent to -cycles is DP-4-colorable, where .
In a planar graph G, a cluster refers to a subgraph formed by a maximal collection of 3-faces, ensuring that no other 3-face shares an edge with any face within this collection. When such a cluster contains k 3-faces, it is designated as k-cluster (see Figure 3). Adjacent cycles (faces) means that they share no less than one edge. A face f is said to be adjacent to one cluster H if there exists a face within H that shares adjacency with f. A Near-bow-tie is a graph isomorphic to the configuration depicted in Figure 2a where v is a 7-vertex. Inspired by Theorems 1 and 2, the subsequent result is formulated.
Figure 3.
All non-isomorphic k-clusters for each .
Theorem 3.
Consider a planar graph G without a Near-bow-tie as an induced subgraph. If G lacks 7-cycles that are adjacent to 4- or 5-cycles, then it is DP-4-colorable.
If a graph G is free of 7-cycles that are adjacent to either 4-cycles or 5-cycles, then G may contain 7-cycles and a butterfly. Additionally, if the graph G lacks the Near-bow-tie as an induced subgraph, then it may still contain a butterfly. Therefore, Theorem 3 generalizes Theorem 1.
A 3-cycle C is considered bad provided that it is isomorphic to the bordering of the outer face of in Figure 3; all other 3-cycles are good. Let denote a portion of graph G. Therefore, G is DP-k-colorable, provided that every DP-k-coloring restricted on K could be expanded to cover the whole G. To demonstrate Theorem 3, a stronger result is established as outlined below.
Theorem 4.
Consider a planar graph G without a Near-bow-tie as an induced subgraph. If G lacks 7-cycles that are adjacent to 4- or 5-cycles, then each DP-4-coloring restricted on one good 3-cycle within G can be extended to the entire graph.
At the conclusion of this section, we will present some definitions and notations. The notation is defined as , where m is a positive integer. A k-vertex represents a node whose degree is k, while a (or )-vertex represents a node whose degree is no less (or no more) than k. A face labeled as -face corresponds to one k-face where is -vertex for . If , then u is incident with f. The notation denotes the number of edges associated with cycle (or face) C of G.
2. Preliminaries
This section focuses on the corresponding coloring on some small subgraph, which is crucial to the proof of Theorem 4.
Lemma 1.
Consider L as a list assignment on . If for each , the size of the list is equal to 2, then has an -coloring except when the subgraph of induced by is a union of two 3-cycles.
Moreover, if for each and for some , then has an -coloring for any cover of .
Proof.
Assume for every index . If the subgraph of generated by is a union of two 3-cycles, see Figure 4a, say for each , then we cannot find a 3-independent set in this cover; hence, does not have an -coloring for this cover. Thus, we assume that the subgraph of induced by is not a union of two 3-cycles. Without loss of generality, suppose forms a 2-path in this cover, but . Then, is a 3-independent set of ; see Figure 4b. Hence, we obtain an -coloring of for this cover.
Figure 4.
Different cover of , where is a clique for each . (a) is a union of two 3-cycles. (b) is not a union of two 3-cycles.
If there is one , for some , then we can identify a 3-independent set of for any cover of . Consequently, an -coloring of can be achieved for any cover of . □
Lemma 2.
Consider L as a list assignment on , where comprises two 3-faces for . If for each and , then we can assign colors to each using at most one color from , so that has an -coloring for any given cover of .
Proof.
Assuming and is valid for our analysis. We assume that there is a color, say , which cannot be chosen. This means if we choose in , then by Lemma 1, has two available colors and the corresponding vertices of in induce two triangles, say for every . In this case, is a 3-cycle of . Then, for each and for certain values i and j where , the set is an independent set in . Thus, each color in other than 1 can be chosen so that has an -coloring. For vertex , we can discuss a similar method. □
Lemma 3.
Consider be a 2-path with a list assignment L on P, such that for every . If , then we can assign colors to , such that has at least available colors.
Proof.
If there is a vertex in such that is not adjacent to any vertices in , then we have completed this section. Thus, assume each vertex in is adjacent to a vertex of , and the same holds for . Given that , it follows that there exists a vertex in that is adjacent to at least one vertex from both and . Without loss of generality, assume , where , . Consequently, can be colored with color a and with c, so that has at least available colors. □
Lemma 4.
Let be the graph depicted in Figure 3 with a list assignment L on . If for every 3-vertex of , for some and for other three vertices in , then we can color u with all colors but at most two of , ensuring that has an -coloring for any given cover of .
Proof.
Due to symmetry, we can assume that . Thus, for each and for each .
For 2-path , if , then by Lemma 3, we can color such that has available colors, denoted by . After such coloring, has at least two available colors and has at least three available colors for each . For , by Lemma 2, we can color with at least colors such that can be colored. This means we can color with all colors in , except for at most two, ensuring that has an -coloring for any given cover of , which completes this section.
Thus, . Without loss of generality, we assume , . From the above discussion, we only need to prove the case that after coloring and , has exactly two available colors. Without loss of generality, we assume for each . For , by Lemma 2, we can color with 2 or 4 such that can be colored. For the same reason, for , by Lemma 2, we can color with 1 or 3 such that can be colored. This means we can color with all colors in , except for at most two, ensuring that has an -coloring for any given cover of , which completes this section. □
Lemma 5.
Consider as the 7-cluster shown in Figure 3, along with a list assignment L. Let . If there is at most one v in S for which , while for remaining vertices in S, and for every vertex v in except S, then admits an -coloring for any given cover of .
Proof.
By symmetry, for each , assume that and . Furthermore, for each . Consequently, set , , . Suppose otherwise that does not have an -coloring for some cover of .
Suppose the subgraph induced by on vertices and contains two triangles in since ; otherwise, by Lemma 1, we can color and such that has two available colors. Then, by Lemma 2, we can color . Therefore, this results in an -coloring of , leading to a contradiction. Let be the two triangles for and .
Since does not have an -coloring, we have the following proposition, Proposition 1, constructed easily using Lemma 1. □
Proposition 1.
If are colored, then the subgraph of induced by edge between is two triangles, where denotes the available colors in after coloring .
By Proposition 1 and Lemma 1, there are four triangles between () in . Let be the four triangles in for each . We assume that . Assume for some . By symmetry, we only need to discuss two cases: or .
If , then by Proposition 1, for 3-independent set and for 3-independent set ; contrary to this, is a matching set.
If , then by Proposition 1, for some , say . In this case, for 3-independent set , , for some . The independent set , , contrary to , is a matching set.
Lemma 6.
Consider as the 7-cluster shown in Figure 3, along with a list assignment L. If for and for the other vertices of , then we can color with all colors but at most one in , ensuring that maintains an -coloring for any given cover of .
Proof.
Without loss of generality, we assume that for each , and for each . For any given cover of , by contradiction, we assume that there are two colors that cannot be chosen in , say . Since , by Lemma 5, there is an -coloring for any given cover of , a contradiction. This means we can color with all colors, but only use at most one in , ensuring that maintains an -coloring for any cover of . □
The following definition is due to Sittitrai and Nakprasit [22].
Definition 3.
Let represent a cover of , with as an induced subgraph within G. The following definitions apply:
- (i)
- A list assignment is considered a restriction of L on if for every vertex of .
- (ii)
- A graph is termed a restriction of on if . According to the cover definition, .
Assuming that has an -coloring with an independent set , the residual list assignment for is defined as follows:
and
for every . The residual cover is established by .
Lemma 7.
([22]). Let represent a cover of with as an induced subgraph of G. If maintains an - coloring, then the residual cover serves as a cover for , where represents the residual list assignment. Additionally, if is colorable with respect to , then G is also -colorable.
For the remainder of this paper, is regarded as an induced subgraph of , where for every vertex v of G. By Lemma 7, to establish that G is -colorable, it suffices to demonstrate that maintains an -coloring and maintains an -coloring.
3. Reducible Configurations
Consider as a counterexample to Theorem 4, where the number of vertices is minimized, and within that constraint, the number of edges is also minimized, with representing a good 3-cycle. The proof presented in [12] establishes that any planar graph devoid of 3-cycles is DP-4-colorable. Therefore, it is reasonable to assume that G includes a 3-cycle. Indeed, we can always identify a good 3-cycle within G by Lemma 5. Let L represent a 4-list assignment on the vertex set , and as the outer cycle of G. Let be any cover of and the -coloring restricted on . The following lemma holds true when G lacks any 7-cycle that is adjacent to 4- or 5-cycles.
Lemma 8.
G contains no k-cluster for ; moreover, the graphs of Figure 3 are all k-clusters of G, where .
Consider C representing a cycle within G. The notation (or ) is employed to indicate the collections of vertices lying inside (or outside) the cycle C. A cycle C is referred to as separating if it divides the vertex set such that both and include vertices. A vertex u in G is classified as internal if . Additionally, a face f is classified as internal if all vertex of f is internal.
Lemma 9.
The statements below are all valid:
- (i)
- ;
- (ii)
- G does not have any good 3-cycle that is separating;
- (iii)
- the degree of every internal vertex in G is at least 4.
Proof.
(i) Assume, for the purpose of contradiction, that . Since is a good 3-cycle, the -coloring restricted on would also serve as an -coloring for G, which contradicts the initial assumption.
(ii) Suppose C is a separating good 3-cycle. Given the property of minimality in G, we can extend to ext(C), say . This extension can then be restricted to C and further extended to create an -coloring for . Consequently, by merging and , we obtain an -coloring for G, contrary to the assumption.
(iii) Let v represent an internal -vertex. Given that G is minimal, the -coloring restricted on can be applied to . Since , v has at least one available color for any cover of . This means that G has an -coloring, a contradiction. □
Lemma 10.
No two internal -faces in G can share a common edge.
Proof.
Assume, for the sake of contradiction, that () are two internal (4, 4, 4)-faces. Denote . By the minimality of G, the graph maintains an -coloring extended by on , and , are the residual list assignment and the residual cover of . Since each vertex of is a 4-vertex, for every and . By Lemmas 2 and 7, we can obtain an -coloring for G, which contradicts the original assumption. □
A cluster is special if it is one of in Figure 3 with an internal (4, 4, 4)-face (or by symmetry if the cluster is ); otherwise non-special. An internal -vertex v located inside a cluster H is classified as i-type with respect to H if it is connected to precisely i edges of H. Moreover, if H is a special cluster, then this -vertex v is referred to as i-type good; otherwise, it is considered i-type bad. The following result is obvious from the fact that G contains no 7-cycle adjacent to a 4- or 5-cycle.
Lemma 11.
- (i)
- A 1-cluster is adjacent to no more than a 4-face.
- (ii)
- The face of G adjacent to i-cluster should be -face for each .
- (iii)
- The face of G adjacent to 2- or 3-cluster should be 4-face or -face; moreover, s 2-cluster is adjacent to no more than two non-adjacent 4-faces, where these two 4-faces are adjacent to different 3-face of this 2-cluster. Similarly, a 3-cluster is adjacent to no more than one 4-face, which is incident to one 4-type 4-vertex to this 3-cluster.
Lemma 12.
No internal 5-vertex of G can belong to two clusters which are special.
Proof.
Let v represent an internal 5-vertex, and let its neighborhood be . Assume, for the purpose of contradiction, that v is a vertex of two special clusters . Without loss of generality, assume the internal (4, 4, 4)-faces of and are and , respectively. Define and as the graphs induced by vertex set and , respectively. Clearly, is isomorphic to . Let and , denote the residual list assignment and the residual cover of . Due to the minimality property of , maintains an -coloring extended from . Notably, and are both at least 3 for each , while . Applying Lemma 2 to , we can color v with at least two colors in , ensuring that maintains an -coloring for every cover of . Applying Lemma 2 to subsequently yields an -coloring for . By Lemma 7, this implies that G maintains an -coloring, contrary to the assumption. □
Internal 6-vertex v is classified as special if it qualifies as a 4-type good vertex to an internal -cluster and as a 2-type good vertex in association with a -cluster , where (see Figure 5a). Internal 6-vertex v is poor if it is a 3-type good vertex to an internal 6-cluster and a 3-type good vertex to a -cluster , where (see Figure 5b).
Figure 5.
Special or poor vertex: all is special and internal and is special. (a) Special 6-vertex v. (b) Poor 6-vertex v. (c) Poor 7-vertex v when . (d) Special 7-vertex v when and .
Lemma 13.
Consider v as either a special or poor 6-vertex contained in and (see Figure 5a,b). Let , with , representing the residual list assignment and residual cover of . Then, if v is a special 6-vertex, and if v is a poor 6-vertex.
Proof.
Since v is either a special or poor 6-vertex, is a special cluster. Denote to represent the (4, 4, 4)-face of . Denote , with , as the residual list assignment and residual cover for . This implies that and for each .
If v is a special 6-vertex, then . If v is a poor 6-vertex, then . In either case, by Lemma 2, we can precolor v using all colors in except for at most one, allowing the vertices to be colored as well. This means when the vertex v is classified as a special 6-vertex and when v is a poor 6-vertex. □
We use a recursive method to define the poor 7-vertex, the special 7-vertex, and the special 8-vertex.
Definition 4.
Consider v as a 7-vertex of G, which is 4-type good to one internal 6-cluster and 3-type good to one internal 6-cluster .
- (i)
- v is a poor -vertex if contains two 3-type vertices, each of which is in {3-type good 5-vertex, 3-type poor 6-vertex};
- (ii)
- v is a poor -vertex if contains one 3-type poor -vertex and one 3-type vertices which is in {3-type good 5-vertex, 3-type poor 6-vertex, 3-type poor -vertex }.
Then, v is called a
3-type poor 7-vertex
if v is a 3-type poor -vertex, where .
Let 3-type good 5-vertex, 3-type poor 6-vertex, 3-type poor 7-vertex}.
Definition 5.
Consider v as a 7-vertex of G which is 4-type good to one internal -cluster and 3-type good to one internal 6-cluster .
- (i)
- v is a special -vertex if contains one vertex of and one vertex of {4-type good 5-vertex, 4-type special 6-vertex};
- (ii)
- v is a special -vertex if contains one vertex of and one special -vertex.
Then, v is called a
4-type special 7-vertex
if v is a 4-type special -vertex, where .
Let 4-type good 5-vertex, 4-type special 6-vertex, 4-type special 7-vertex}.
Definition 6.
Consider v as an 8-vertex of G which is 4-type good to one internal 7-cluster and 4-type good to one internal -cluster .
- (i)
- v is a special -vertex if contains two vertices which are in ;
- (ii)
- v is a special -vertex if contains one special -vertex and one vertex of 4-type special -vertex .
Then, v is called a
special 8-vertex
if v is a special -vertex, where .
By Definition 6, in order to distinguish the above clusters and , is called type I and is called type II.
Lemma 14.
Consider v as a 3-type vertex to an internal cluster K. Let , with and as the residual list assignment and residual cover on , respectively. If , then .
Proof.
If v is a 5-vertex, then the cardinality of is at least 2. If v is a 3-type poor 6-vertex, then by Lemma 13. Then, v is a poor 7-vertex. By Definition 4, assuming v is a poor -vertex, . We use the symbol shown in Figure 5c, where and are 6-clusters. Let and be (4, 4, 4)-faces in and , respectively. Since v is poor, is also internal, and . Let , and let and denote the residual list assignment and residual cover of . We use the induction hypothesis on m. If , then is a 3-type 5- or poor 6-vertex, by the above discussion, , . Clearly, for each . Lemma 4 provides a minimum of two colors available in to color . This means . By the induction hypothesis, it is assumed that the lemma is valid for .
Next, we prove that the lemma is valid if .
By Definition 4, each of is a 5-, poor 6-, or -vertex , using Lemma 13 and the induction hypothesis, and . Then, using Lemma 4, we have completed this section. □
Lemma 15.
Consider v as a 4-type vertex to an internal cluster K. Let with and representing the residual list assignment and residual cover of .
- (i)
- If , then the cardinality of is at least 3;
- (ii)
- If v is a special 8-vertex and K is type II, then .
Proof.
(i) Clearly, if v is a 5-vertex. If v is a 4-type special 6-vertex, then by Lemma 13. Then, v is a special 7-vertex. By Definition 5, assuming v is a special -vertex, . We use the labeling shown in Figure 5d, where and is an internal 6-cluster. Then, the (4, 4, 4)-face corresponding to the cluster is denoted by and . Let , with and representing the residual list assignment and residual cover of . Then, for each vertex , . Since , by Lemma 14, .
Next, we use the induction hypothesis on m.
If , then is a good 5- or special 6-vertex. According to Lemma 13, we have . Without loss of generality, we can take for each . By Lemma 4, for , there is an -coloring, say , with . Similarly, for , there is an -coloring, say , with ; for , there is an -coloring, say , with . Hence, .
By the induction hypothesis, it is assumed that the lemma is valid for .
Next we prove that the lemma is valid if . By Definition 5, is a special -vertex. By the induction hypothesis, . By Lemma 4 and the similar reasoning for the case , we have .
(ii) Since v is a special 8-vertex, v is a special -vertex, . We use the induction hypothesis on m. If , then v is a special -vertex, K is an internal -cluster and v is also a vertex of internal 7-cluster , and contains two vertices in , say . Let , with and representing the residual list assignment and residual cover of . Let be the (4, 4, 4)-face in . Then, for each vertex , . Since , by Lemma 15(i), , . By Lemma 6, we can assign colors to v using all but at most one color, ensuring that maintains an -coloring for any given cover of . This means .
By the induction hypothesis, it is assumed that the lemma is valid for .
Next, we prove that the lemma is valid if . By Definition 6, assuming that u is a special -vertex and w is a vertex from the 4-type special -vertex . By the induction hypothesis, the cardinality of both and is at least 3. By Lemma 6, we have . □
Lemma 16.
If v is a poor 7-vertex in G, then it cannot be a special 7-vertex of G.
Proof.
Since v is a poor 7-vertex, we will consider v as a good 4-type vertex in relation to the internal 6-cluster and as a good 3-type vertex to internal 6-cluster . Clearly, . Suppose, on the contrary, that v is also a special 7-vertex. This means . Let , with and representing the residual list assignment and residual cover for . Given the minimal property of G, has an -coloring that extends . Since , there are three available colors in to choose, so that can be colored by Lemma 15. Since , there are two available colors in to choose, so that can be colored by Lemma 14. Since , we can precolor v so that can be colored. By Lemma 7, G is -coloring for any given cover of , leading to a contradiction. □
Lemma 17.
Consider v as a 7-vertex of G, where it is 4-type to a 7-cluster and 3-type to a -cluster . Denote represent a (4, 4, 4)-face within and . If the special 8-vertex and is type II}, then cannot be special.
Proof.
Assume, to the contrary, that is special. In this case, let represent the internal (4, 4, 4)-face within with . Since the special 8-vertex and is type II}, is internal. Define , and let and be the residual list assignment and the residual cover of . In this setup, and . By Lemma 15, . Clearly, and . According to Lemma 2, v has a minimum of two colors that can be used from , allowing for the coloring of the set . Then, by Lemma 5, has an -coloring for any cover of . Therefore, maintains an -coloring. By the minimality of G, also maintains an -coloring. By Lemma 7, G maintains an -coloring, a contradiction. □
Lemma 18.
Consider as an internal special 6-cluster with a (4, 4, 4)-face , shown in Figure 3. If for each , then and the special 8-vertex, and is type II}.
Proof.
By Lemma 10, . Denote with and as the residual list assignment and residual cover of . By the minimal property of G, maintains an -coloring that extends . Suppose otherwise that or is a special 8-vertex with type II. Then, by Lemma 15, . Since for each , by Lemma 14, . Note that for each . By Lemma 4, has an -coloring. According to Lemma 7, G admits an -coloring, which is a contradiction. □
Lemma 19.
Consider as an internal 7-cluster (see Figure 3) and .
- (i)
- If X contains two vertices in the special 8-vertex, and is type II}, then the third vertex of X is a -vertex;
- (ii)
- X does not contain three vertices in the special 8-vertex, and is type II}.
Proof.
(i) By symmetry, assume the special 8-vertex, and is type II}. Suppose, to the contrary, that .
Define with and as the residual list assignment and the residual cover of . By the minimal property of G, maintains an -coloring that extends , with . Note that for each . Since the special 8-vertex, and is type I}, by Lemma 15, , for each . By Lemma 5, an -coloring of can be achieved. Then, by Lemma 7, G admits an -coloring, a contradiction.
(ii) follows easily by Lemmas 5 and 15. □
4. Proof of Theorem 4
Consider V as the family of vertices of G and F as the family of faces. An initial charge is defined as for every , while , where is designated as the outer face of G. According to Euler’s Formula, the sum . Let represent the charge of after the discharging procedure. To reach a contradiction, the purpose of this is to demonstrate that for all and that .
The discharging rules are as follows:
- (R1)
- Every 5- or -face distributes to every neighboring 3-face, while a k-face () distributes to every neighboring 3-face;Consider v as a vertex of k-face f and let t represent the number of edges of f that are incident to v, such that these edges are not in any 3-faces. In cases where , f distributes to v; f distributes to v when ;
- (R2)
- Every 2-cluster obtains from its 3-type -vertex and from its 2-type -vertex, which is on a 4-face adjacent to this cluster;
- (R3)
- Every 3-cluster which is adjacent to 4-face obtains from its 3-type -vertex and from its 2-type -vertex; otherwise, 3-cluster obtains from its 3-type -vertex;
- (R4)
- Every 4-cluster obtains the charge from its incident vertex v, defined by
- (R5)
- Every 5-cluster obtains the charge from its incident vertex v defined by
- (R6)
- Every 6-cluster K obtains the charge from its incident vertex v defined by
- (R7)
- Every 7-cluster K obtains the charge from its incident internal vertex v defined by
- (R8)
- receives from every incident vertex, and distributes 1 to every non-internal 3-face;
- (R9)
- At last, each face excepting transfers its present charge to .
The following lemma can be easily obtained by discharging rules.
Lemma 20.
Assuming u is a k-type vertex within a cluster, if , then u gives at most
We begin by examining the final charge assigned to each vertex of G. Consider v as a vertex of G. If , then according to rule (R8), we have . Now, consider the situation in which v is not in . By applying Lemma 9 (iii), the minimal degree of G is 4.
- . Suppose v is a k-type vertex of cluster K for some . If , then v does not participate in the discharge process, hence . If , then K is a -cluster and v must be contained in at least one -face. By (R2)–(R6), v gives or to K. By (R1), v obtains at least either if v is incident with a 4-face or otherwise. Therefore, if v is not incident with 4-face, then is not negative. Assuming v is incident to a single 4-face. It can be inferred from Lemma 11 that K is a 2-cluster. By (R2) and (R1), . If , then K is a -cluster. By (R2)–(R5), v gives a charge to K when K is a 2- or 3-cluster. If K is a 2- or 3-cluster, then v gives to K when v is incident with a 4-face adjacent to K according to (R2)–(R3). Given that G lacks 7-cycles that are adjacent to 4- or 5-cycles, and according to Lemma 11, the three other faces incident with v in clockwise direction are 4-, -, and -faces, respectively. By applying (R1), we have .
- . Assume that v represents a k-type vertex of cluster K for some . By applying Lemma 20, it can be inferred that is at least , which yields when . If , then K is a -cluster and v is contained in two -faces. By (R3)–(R7), v gives at most to K. By (R1), v receives from each incident -face, yielding a total of . Therefore, we find that . If , then K is a -cluster. By rules (R2)–(R6), v contributes no more than 1 to K for . If v is part of only a single cluster, then it follows that . Thus, let us consider the scenario where v is a 2-type vertex of other cluster, referred to as L. By Lemma 11, v is contained in two -faces. According to rules (R2)–(R5), v contributes to L when L is a special 4-, 5-cluster. By Lemma 12, K is not a special cluster. According to rules (R2)–(R6), v contributes no more than to K. Then, . The case of can be proved similarly as .
- . Assume v is contained in no more than three clusters. By (R2)–(R7), v contributes no more than 2 to its incident cluster. Then, when v is contained in only one cluster. If v is contained in three clusters, then it is a 2-type vertex for each cluster. According to Lemma 20, . Therefore, we consider the case where v belongs to exactly two clusters, say . Suppose firstly that v is a 2-type vertex for . According to Lemma 20, assume v is a 4-type vertex to and v gives more than to . By (R6)–(R7), v gives 2 to , where is an internal 6- or 7-cluster. By (R6) and (R7), either v is a good but not special 6-vertex, or is a special 6-cluster containing two vertices in . In the latter situation, by Lemma 18, v is also good but not a special 6-vertex. In either case, v is a non-special 6-vertex, while is internal and special. By the definition of the special 6-vertex, is not a special 4-, 5-cluster. By (R2)–(R5), v gives no charge to . In this case, . Now, let us consider the scenario where v acts as a 3-type vertex for . Due to the symmetric properties, v is necessarily classified as a 3-type vertex in relation to . According to rules (R2)–(R6), we can assume that is -cluster for each . By (R5)–(R6), assume v gives to . Then, is an internal 6-cluster and v is a 3-type good 6-vertex which is not poor. By the definition of a poor 6-vertex, is not a special 5- or 6-cluster. Hence, v is a 3-type bad 6-vertex to . By (R5)–(R6), v contributes at most to . Thus, we have .
- . Then, v is contained in no more than three clusters and . By Lemma 20, we only need to discuss the case that v is contained in two clusters, say and , and v is classified as a 4-type vertex to and a 3-type vertex to . Since v gives at most to , we need only show the case that v gives at least 2 to cannot occurs by (R2)–(R7). Further, by rules (R2)–(R6), v contributes at most to . If v contributes to , then is an internal 7-cluster and contains two vertices in the special 8-vertex and is type II} by (R7). By Lemma 17, is not special. According to (R2)–(R6), v contributes at most to . Hence, we find that , and we complete this section. If v gives 2 to , then one of the following applies: (i) v is a non-special 7-vertex, while is classified as an internal 7-cluster, lacking two vertices of the special 8-vertex and is type II} by (R7); (ii) is an internal special 6-cluster that includes two vertices from by (R6). When (i) occurs, is not a 6-cluster for G and contains no Near-bow-tie flaw. Following rules (R2)–(R5), v contributes no more than 1 to . Therefore, we have , concluding our argument. When (ii) occurs, v is poor if is an internal and special 6-cluster. By the same rules (R2)–(R6), v contributes no more than 1 to , again leading to , which completes the proof.
- . Hence, . By applying Lemma 20, suppose v belongs to at least two clusters. If v is present in four clusters, then according to Lemma 20. For the case where v belongs to three clusters, we have or by Lemma 20. Thus, suppose v is contained in just two clusters, say and . By Lemma 20, suppose v gives to and v is a 4-type vertex of . According to (R3)–(R7), is an internal 7-cluster and contains two vertices in the special 8-vertex and is type II}. We only need to prove cases that v gives 2 or to cannot occur. Suppose otherwise, by (R2)–(R7), one of the following applies: (i) is an internal and special 6-cluster and contains two vertices in ; (ii) is an internal 7-cluster and v is a non-special 8-vertex. By Definition 6, v would indeed be a special 8-vertex if is an internal 7-cluster, contradicting the assumption that v is a non-special 8-vertex. This makes the second case (ii) impossible. Therefore, is an internal special 6-cluster containing two vertices from . Let , where be the residual list assignment and the residual cover of . By the minimal property of G, admits -coloring extending with . By Lemmas 4 and 14, v has at least two available colors to color . Thus, by Lemmas 5 and 15, has an -coloring. By applying Lemma 7, an -coloring of G can be achieved, leading to a contradiction.
- . Then we have . According to Lemma 20, , or .
Consider a face in G. By (R9), . Now, we examine in G. Consider that represents the number of 3-faces that have vertices in common with and let b denote the charge transferred to from other faces by (R9). Define s as the size of . By Lemma 9 (i), . If , then . If , then , and so we also find . Using rules (R8) and (R9), we can express as follows:
Since , for . If , then , which completes this section.
Next, we prove that . Define as the charge assigned to face f following the application of rules (R1)–(R8). Clearly, . To begin with, let us examine the scenario where . In this instance, f is not impacted by the discharging procedure. Thus, . If , then f is adjacent to no more than a 3-face for G contains no 7-cycle adjacent to 4- or 5-cycles. By (R1), . Now, assume f is a -face. Denote f to be adjacent to m 3-faces, meaning f has m edges shared with 3-faces. If f is a 6- or 7-face, then by (R1), . In the case of , we find by (R1). Finally, . If f is a 3-face, then according to Lemma 8, f could be a subgraph of an i-cluster where .
Let K be an l-cluster. Note that is not a face of K. This means . We define the initial and the middle charges of K after applying (R1)–(R8), denoted by and , as the sum of the initial and middle charges of l 3-faces in it. Note that the final charge of every 3-face is 0 by (R9). We check in the following.
- . If K is not internal, then by (R8). Thus, assume that K is internal. Assume that is the face adjacent to K for with . If , then and for each . By (R1), each () gives at least to K and . Thus, . By (R1), .
- . Assume that K is not internal. If , then by rule (R8), . So, suppose . According to Lemma 11(iii), K is adjacent to at least two -faces. Utilizing (R1) and (R8), .Thus, K is internal. By Lemma 11 (iii), the face adjacent to K is a 4-face or an -face and there are no more than two 4-faces. If all faces adjacent to K are -faces, then by (R1), . Thus suppose one adjacent face is a 4-face. Utilizing (R2) and Lemma 9 (iii), each 3-type vertex of K gives to K. Then, according to (R1) and (R2), we find or .
- . If , then K must be adjacent to at least two -faces. Utilizing (R1) and (R8), . If , then K is adjacent to a minimum of three -faces. By applying (R1), (R3) and (R8), it can be concluded that or . Thus . If the faces adjacent to K are all -faces, then by (R1) and (R3). Thus, according to Lemma 11(iii), there exists one adjacent 4-face which contains 4-type vertex of K. By applying (R1) and (R3), .
- . By Lemma 8, K is a graph of shown in Figure 3. By Lemma 11 (ii), faces adjacent to K are -faces. If , where , then gives at least t to K when , to K when by (R8). If , then there are at least edges of K adjacent to -faces. By (R1) and (R8), . If , by (R1) and (R8).Now, suppose K is internal. Since has four 3-type -vertices and each of has two 3-type -vertices, or by (R1) and (R4). Suppose . If K is special, then by (R1), (R4) and Lemma 10, . Otherwise, .
- . By Lemma 8, K is a graph of shown in Figure 3. By Lemma 11(ii), faces adjacent to K are -faces. If , then gives 3 to K by (R8). In this case, there are four edges of K adjacent to -faces. By (R1) and (R8), . If , then there are five edges of K adjacent to -faces. If K is , then K has a 5-type 5-vertex and . Assume K is . If , then when is special; otherwise, . If , then by (R1), (R5) and (R8).Thus, assume K is internal. If , then K contains five 3-type bad -vertices and one 5-type 5-vertex. By (R1) and (R5), . Assume K is . If K is special, then K contains two 3-type good -vertices and one 2-type good -vertex. By (R1) and (R5), . Otherwise, .
- . By Lemma 8, K is the graph shown in Figure 3. By Lemma 11(ii), the faces adjacent to K are -faces. If , then gives 4 to K by (R8). In this case, there are three edges of K adjacent to -faces. Due to symmetry, suppose that . Then is a 3-type -vertex. By (R6), gives at least to K. By (R1) and (R8), . If , then contributes at least 2 to K by (R8) and there are four edges of K adjacent to -faces. Suppose firstly, K is special. Then, K has at least two internal -vertices. Applying (R1), (R6), and (R8), we find that . Suppose secondly, that K is not special. Then, K contains one 4-type -vertex and one 3-type bad -vertex. Utilizing (R1), (R6), and (R8), .Thus, assume K is internal. If K is special, then K contains two 3-type good -vertices and one 4-type good -vertex by Lemma 10. If , then by Lemma 18. This means is a 4-type good -vertex and K contains two vertices of . In this case, by (R1) and (R6). Then, assume . By (R6), gives at least to K. By (R1) and (R6), . Suppose K is not special. In this situation, is classified as a 4-type -vertex for each . By (R1) and (R6), .
- . By Lemma 8, K is the graph shown in Figure 3. By Lemma 11(ii), faces adjacent to K are -faces. If , then gives 5 to K by (R8) and according to Lemma 10, K contains one 4-type -vertex. If , then contributes 3 to K and K contains two 4-type -vertices similarly. By (R1), (R7) and (R8), or . Thus assume K is internal. By Lemma 10, for each . By Lemma 19(ii), there are at most two vertices of in the special 8-vertex and K is type II}. If any vertex of is not in the special 8-vertex and K is type II}, then . If there is only one vertex in the special 8-vertex and K is type II}, then . Thus assume there are two vertices in the special 8-vertex and K is type II}, say . By Lemma 19(i), . By (R1) and (R7), .
5. Conclusions
DP-k-coloring has gained significant attention as a generalization of k-choosability. We demonstrate that any planar graph G, which does not have a Near-bow-tie as an induced subgraph and lacks 7-cycles adjacent to 4-cycles or 5-cycles, is DP-4-colorable. If the planar graph G does not have 7-cycles and a butterfly, then it still satisfies our condition. Thus, our results generalize the findings of Kim et al. [20] and promote research in the area of DP-4-colorability for planar graphs. Future research can focus on determining the DP-4-colorability on planar graphs such as for any planar graph G without 7-cycles adjacent to 4-cycles.
Author Contributions
F.Y., X.L. and Z.H. were involved in the conception and design of the study, and they all reviewed and approved the final version of the manuscript. The authors attest that all data supporting the findings of this research are included within the article. All authors have read and agreed to the published version of the manuscript.
Funding
This research received funding from the NSF of China under grant number 12031018 and the NSF of China under grant number 12261094.
Data Availability Statement
No new data were created or analyzed in this study. Data sharing is not applicable to this article.
Acknowledgments
The author would like to thank the anonymous reviewers and the editor for their careful reviews and constructive suggestions to help us improve the quality of this paper.
Conflicts of Interest
The authors declare no conflicts of interest.
References
- Erdos, P.; Rubin, A.L.; Taylor, H. Choosability in graphs. Congr. Numer. 1979, 26, 125–157. [Google Scholar]
- Vizing, V.G. Vertex colorings with given colors. Metod. Diskret. Anal. Novosib. 1976, 29, 3–10. (In Russian) [Google Scholar]
- Thomassen, C. Every planar graph is 5-choosable. J. Comb. Theory 1994, 62, 180–181. [Google Scholar] [CrossRef]
- Voigt, M. A not 3-choosable planar graph without 3-cycles. Discret. Math. 1995, 146, 325–328. [Google Scholar] [CrossRef]
- Dvořák, Z.; Postle, L. Correspondence coloring and its application to list-coloring planar graphs without cycles of length 4 to 8. J. Combin. Theory Ser. B 2018, 129, 38–54. [Google Scholar] [CrossRef]
- Borodin, O. Coloring of plane graphs: A survey. Discret. Math. 2013, 313, 517–539. [Google Scholar] [CrossRef]
- Bernshteyn, A.; Kostochka, A.; Pron, S. On DP-coloring of graphs and multigraphs. Sib. Math. J. 2017, 58, 28–36. [Google Scholar] [CrossRef]
- Li, X.; Lv, J.B.; Zhang, M. DP-4-colorability of planar graphs without intersecting 5-cycles. Discret. Math. 2022, 345, 112790. [Google Scholar] [CrossRef]
- Li, R.; Wang, T. DP-4-coloring of planar graphs with some restrictions on cycles. Discret. Math. 2021, 344, 112568. [Google Scholar] [CrossRef]
- Bernshteyn, A.; Kostochka, A.; Zhu, X. DP-colorings of graphs with high chromatic number. Eur. J. Comb. 2017, 65, 122–129. [Google Scholar] [CrossRef]
- Chen, L.; Liu, R.; Yu, G.; Zhao, R.; Zhou, X. DP-4-colorability of two classes of planar graphs. Discret. Math. 2019, 342, 2984–2993. [Google Scholar] [CrossRef]
- Kim, S.-J.; Ozeki, K. A sufficient condition for DP-4-colorability. Discret. Math. 2018, 341, 1983–1985. [Google Scholar] [CrossRef]
- Kim, S.J.; Yu, X. Planar graphs without 4-cycles adjacent to triangles are DP-4-colorable. Discret. Math. 2019, 342, 178–189. [Google Scholar] [CrossRef]
- Liu, R.; Loeb, S.; Yin, Y.; Yu, G. DP-3-coloring of some planar graphs. Discret. Math. 2019, 342, 178–189. [Google Scholar] [CrossRef]
- Liu, R.; Loeb, S.; Rolek, M.; Yin, Y.; Yu, G. DP-3-coloring of planar graphs without 4, 9-cycles and cycle of two length from {6, 7, 8}. GraPhs Comb. 2019, 35, 695–705. [Google Scholar] [CrossRef]
- Liu, R.; Li, X. Every planar graph without 4-cycles adjacent to two triangles is DP-4-colorable. Discret. Math. 2019, 342, 623–627. [Google Scholar] [CrossRef]
- Liu, R.; Li, X.; Nakprasit, K.; Sittitrai, P.; Yu, G. DP-4-colorabitily of planar graphs without adjacent cycles of given length. Discret. Appl. Math. 2020, 236, 111–119. [Google Scholar]
- Yin, X.; Yu, G. Planar graphs without cycles of length 4 and 5 and close triangles are DP-3-colorable. Discret. Math. 2019, 342, 2333–2341. [Google Scholar] [CrossRef]
- Farzad, B. Planar graphs without 7-cycles are 4-choosable. SIAM J. Discret. Math. 2009, 23, 1179–1199. [Google Scholar] [CrossRef]
- Kim, S.-J.; Liu, R.; Yu, G. Planar graphs without 7-cycles and butterflies are DP-4-colorable. Discret. Math. 2020, 343, 111714. [Google Scholar] [CrossRef]
- Li, X.; Zhang, M. Every planar graph without 5-cycles adjacent to 6-cycles is DP-4-colorable. Australas. J. Comb. 2023, 87, 86–97. [Google Scholar]
- Sittitrai, P.; Nakprasit, K. Sufficient conditions on planar graphs to have a relaxed DP-3-coloring. Graphs Comb. 2019, 35, 837–845. [Google Scholar] [CrossRef]
Disclaimer/Publisher’s Note: The statements, opinions and data contained in all publications are solely those of the individual author(s) and contributor(s) and not of MDPI and/or the editor(s). MDPI and/or the editor(s) disclaim responsibility for any injury to people or property resulting from any ideas, methods, instructions or products referred to in the content. |
© 2025 by the authors. Licensee MDPI, Basel, Switzerland. This article is an open access article distributed under the terms and conditions of the Creative Commons Attribution (CC BY) license (https://creativecommons.org/licenses/by/4.0/).




