Abstract
Based on the Ψ-functions series method, a new numerical integration method for perturbed and damped second-order systems of differential equations is presented. This multistep method is defined for variable step and variable order (VSVO) and maintains the good properties of the Ψ-functions series method. In addition, it incorporates a recurring algebraic procedure to calculate the algorithm’s coefficients, which facilitates its implementation on the computer. The construction of Ψ-functions and the Ψ-functions series method are presented to address the construction of both explicit and implicit multistep methods and a predictor–corrector method. Three problems analogous to those solved by the Ψ-functions series method are analyzed, contrasting the results obtained with the exact solution of the problem or with its first integral. The first example is the integration of a quasi-periodic orbit. The second example is a Structural Dynamics problem associated with an earthquake, and the third example studies an equatorial satellite with perturbation J2. This allows us to compare the good behavior of the new code with other prestige codes.
Keywords:
explicit and implicit multistep methods; predictor–corrector method; harmonic oscillator; quasi-periodic orbit; earthquake; equatorial satellite MSC:
65L04; 65L05; 65L06
1. Introduction
The study of damped and forced harmonic oscillators is essential in many scientific fields as it mathematically models various problems in physics, engineering, chemistry, biology, etc. This is conducted by formulating and solving perturbed and damped second-order linear differential equation systems, i.e.,
These systems can be observed in classic problems such as the two-body problem and the satellite problem. Methods for calculating orbits involve replacing Newtonian equations of motion with equations better suited for numerical integration or performing transformations to regularize the equations. Transformations that allow these equations to be written as linear differential equations are known as linearization, which simplifies the movement equation to a harmonic oscillator [1,2,3].
Understanding how a structure responds to earthquake effects is crucial for research in designing computer algorithms. A resistant structure at rest and subjected to an external force undergoes oscillations. The oscillations can be modeled by matrices through a system of equations known in Structural Dynamics as a Two-degree-of-freedom System (2DOF) [4,5,6,7,8,9,10].
Various authors have developed special methods for integrating oscillatory problems. Among the algorithms explicitly designed for the numerical resolution of second-order systems are Falkner’s or Adams’ extrapolation formulas, Störner–Cowell methods [11,12], and Gauss–Jackson methods [13,14]. Furthermore, Scheifele [15], Stiefel and Scheifele [16], Stiefel and Bettis [17], Bettis [18,19], Martín and Ferrándiz [20,21,22], Martín and Farto [23], You et al. [24], Vigo Aguiar and Ferrándiz [25,26], Reyes et al. [27], García-Alonso et al. [28,29], Khalsaragi and Shokri [30], Ramos [31,32,33], Abdulganiy et al. [34], and Vigo-Aguiar and Ramos [35], among others, developed numerical methods for integrating systems of perturbed linear differential equations. While Runge–Kutta-type methods can solve these second-order systems, they require multiple evaluations of the perturbation function [36,37,38,39,40,41,42,43], making them less efficient for computer implementation. This is an inconvenience for their implementation on a computer. The Ψ-functions series method [44] has the advantage of precisely integrating the homogeneous problem, providing greater accuracy in calculations. However, it requires some preliminary transformations that are not necessary in multistep methods.
This new multistep method is defined for variable step and variable order (VSVO). It is based on the Ψ-functions series method, described in [44], and maintains the good properties of the series method.
An algorithm will be constructed for both the explicit and implicit multistep methods and, from them, a predictor–corrector.
Furthermore, the multistep method has the advantage of calculating the algorithm’s coefficients through a recurring algebraic procedure based on the existence of relationships between the perturbation function’s divided differences and the elementary and complete symmetrical functions. This procedure establishes a relationship between the derivatives and the divided differences of the perturbation function.
Three problems analogous to those solved by the Ψ-functions series method [44] are analyzed, contrasting the results obtained with the exact solution of the problem or with its first integral. The first example is the integration of a quasi-periodic orbit [26,45,46,47]. The second example is a Structural Dynamics problem associated with an earthquake [9,10], and the third example studies an equatorial satellite with perturbation [3,20,44,48,49].
The good behavior of the multistep method is evident when comparing the results obtained against other well-known integrators such as LSODE, ROSENBROCK, GEAR, and DVERK78.
2. Definition and Properties of the Ψ-Functions and the Ψ-Functions Series Method
Let us consider the following IVP:
where , and . The components of the vector perturbation field are with , and the field is continuous, with continuous derivatives, until a certain order satisfies the conditions for the existence and uniqueness of the solution. This is called a perturbed and damped linear system of second order.
Assuming that is analytical in I with regard to , it is sufficient that is analytical in its arguments. In terms of the linear operator derivation concerning the variable , (1) can be written as follows:
It is supposed that will be the only solution that can be developed in a power series.
Applying the operator to (2), where and noting , the new PVI is obtained:
in which the exact solution is the same as in (1) and (2).
The idea that leads us to consider this “enlarged” IVP is canceling the perturbation with the operator .
Given that is analytical in its arguments, we can write the following:
obtaining
The IVP (5) solution is obtained by adding a specific unperturbed IVP solution with null initial conditions to the general solution of the perturbed IVP with given initial conditions. The former can be obtained by resolving the following specific IVPs:
where is a real function with values in the ring of the squared matrices of order m, with and being the unit and neutral elements of said ring, respectively.
The solutions of (6) are the so-called Ψ-functions [44].
Definition 1.
Proposition 1.
(Law of derivation). The Ψ-functions verify the following:
Proposition 2.
(Law of recurrence). The Ψ-functions verify the following recurrence law:
To complete the construction of the Ψ-functions, given in (7), , and are defined below.
Definition 2.
, and are, respectively, the solutions of the following IVP:
with the following initial conditions:
respectively.
The proposition below completes the law of derivation presented in Proposition 2 [44]:
Proposition 3.
Theorem 1.
The solution of the IVP, , , is as follows:
Theorem 2.
The solution of IVP (5), in terms of Ψ-functions, is given by
Proposition 4.
(Truncation error). Carrying out a truncation of Ψ-functions with , , thetruncation error corresponding to , should be given by [44]
As a result, the truncation error is small with . If , that is, the perturbation disappears in an arbitrary instant of the independent variable t, the Ψ-functions integrate without discretization error.
The above results and their proofs are detailed in [44].
3. Ψ-Multistep Methods
The series method described in [44] is very precise; however, adapting it to each specific problem is complicated. To solve this problem, we will explain the conversion of the series method to a multistep method VSVO, which has the advantage of precisely integrating the perturbed problem under certain conditions.
Denoting by , with an approach to the solution , at the point , i.e., is given by
Supposing that we have calculated an approximation to the solution and its derivative at the point , then we should call these approximations and , respectively.
This is written as follows:
To calculate an approximation to the solution at the point , the change was made to the independent variable , becoming (17) in the system:
We calculate the expansion coefficients as follows:
where
The approximation to the solution at point is given by
3.1. Explicit Ψ-Multistep Method of p Steps for Perturbed and Damped Systems
The derivatives of the perturbation function are substituted for divided differences to obtain an explicit method.
To make a variable-step explicit multistep method of p step, the series is truncated, such that the higher order derivative is (p − 1), i.e., , so that
By properly rearranging (22), we obtain the following:
Therefore, it is necessary to use divided differences (p-1)-th order of each of the component fields of the function with the values , that is, the function with .
The divided differences of an arbitrary function satisfy the following identity:
with and [25,27].
This is noted by
the following matrix, with order and , verifies the following identity:
where is a matrix of order , in which the i-th row is , and is the non-singular matrix of order p:
Using a more compact notation:
Truncating the expansion obtained and solving results in the following:
By replacing in (23) the derivatives of the component’s fields of the perturbed function, we can write the following:
where with is the j-th column of the matrix .
If is the matrix , then
which substituted in allows us to write
By defining
we obtain the following:
By replacing (34) in (30), we obtain the following formula for an explicit multistep method:
and by defining
we obtain the following:
By introducing the following notation, the explicit Ψ-multistep method is defined:
Definition 3.
is the approximation of the value of the solution in .
is the approximation of the value of the derivative in .
.
where .
.
The starting values for are .
The starting values for are .
The explicit Ψ-multistep method, with a variable step size of p step for perturbed and damped systems, is formulated through the following equations:
with .
.
3.2. Implicit Ψ-Multistep Method of p Steps for Perturbed and Damped Systems
To obtain an implicit method of p steps, we will use the same idea as in the previous section. The series is truncated, such that the higher order derivative is p, i.e., , to correspond with the latest divided difference, so that
By rearranging (38), we obtain
It is necessary to use the divided differences of p-th order of each of the fields of components of the function of with the values .
Given that , it is defined as follows:
It is denoted by
The following matrix, with order and , verifies the following identity:
where is a matrix of order in which the i-th row is , and is the non-singular matrix of order p + 1:
Using a more compact notation:
Truncating the expansion obtained and solving results in the following:
By replacing in (39) the derivatives of the component’s fields of the perturbed function, we can write the following:
where with is the j-th column of the matrix .
If is the matrix , then
which substituted in allows us to write
By defining
we obtain the following:
By replacing (50) in (46), we obtain the following formula for an implicit multistep method:
Analogously, we obtain the following:
By introducing the following notation, the implicit Ψ-multistep method is defined:
Definition 4.
is the approximation of the value of the solution in .
is the approximation of the value of the derivative in .
.
where .
.
The starting values for are .
The starting values for are .
The implicit Ψ-multistep method, with a variable step size of p step for perturbed and damped systems, is formulated through the following equations:
with .
.
3.3. Predictor–Corrector Ψ-Multistep Method for Perturbed and Damped Systems
We define the predictor–corrector method, with a variable step size of p steps for perturbed and damped systems, which has as a predictor the explicit Ψ-multistep method and as a corrector the implicit Ψ-multistep method.
The predictor–corrector method used is like with .
4. Recurrent Calculus of the Matrices and and a New Definition of the Multistep Methods
The following methods, described in Definitions 3 and 4, present a difficulty in that the matrix coefficients and are not expressed in a recurrent way, which leads to difficulties in codifying them to automatize their calculation.
Once this problem is solved, the methods are codified and enable us to choose the step size and number of steps that each execution requires.
The problem is then reduced to finding a recurrent formula that allows us to calculate the elements of matrices and .
4.1. Recurrent Calculus and a New Definition of the Explicit Ψ-Multistep Method
To obtain the recurrent calculus of the matrix elements , allowing us to construct a variable-step, variable-order method (VSVO), we use elementary symmetric functions and complete symmetric functions [27,50,51], defined as follows:
and with .
Particularly, and . In this case, is defined as .
Between the divided differences of , that we denote with , and the complete symmetrical polynomial, the following relation holds: .
Considering the point , it is defined as the complete symmetric function [27,51]:
with the values with and .
The square matrices of order ,
are inverse to each other.
As and , we can write with . If , then we obtain with .
The divided differences of one function satisfy the following property:
If , as have an order in , due to the last result, we can write the following:
Considering , and expressing those equalities in matrix form, we obtain the following:
And as in the arguments , we can write the following:
As for [51], if we consider , then
The recurrent form of the matrix is obtained through
in other words,
where is a diagonal matrix, such that , with .
Expressions (63) and (64) allow us to compute the matrix by recurrence from the matrix.
Substituting (64) in Definition 3, we obtain the explicit Ψ-multistep method for perturbed and damped modified systems
Definition 5.
is the approximation of the value of the solution in .
is the approximation of the value of the derivative in .
.
with .
.
The starting values for are .
The starting values for are .
The explicit method , with a variable step size of p step for perturbed linear systems, is formulated through the following equations:
with .
.
4.2. Recurrent Calculus and New Definition of the Implicit Ψ-Multistep Method
As in the case above, we use elementary symmetric functions and complete symmetric functions to obtain the recurrent calculus of the matrix elements , allowing us to construct a variable-step, variable-order method (VSVO).
Taking , the divided differences of one function satisfy the following property:
If , as have an order in , due to the last result, we can write the following:
Considering , and expressing those equalities in a matrix form, we obtain the following:
and as in the arguments , we can write the following:
As for , [51], if we consider , then
The recurrent form of the matrix is obtained through
in other words,
In this case, is a diagonal matrix, such that , with .
Expressions (70) and (71) allow us to compute the matrix by recurrence from the matrix.
Substituting (71) in Definition 4, we obtain the implicit Ψ-multistep method for perturbed and damped modified systems
Definition 6.
is the approximation of the value of the solution in .
is the approximation of the value of the derivative in .
.
with .
The starting values for are .
The starting values for are .
The modified implicit Ψ-multistep method, , with a variable step size of p step for perturbed and damped systems, is formulated through the following equations:
with .
.
4.3. New Predictor–Corrector Ψ-Multistep Method
We define the predictor–corrector method, with a variable step size of p step for perturbed and damped systems, which has as a predictor and as a corrector , with the previous definition.
5. Numerical Experiments
In this section, we use the method to solve three problems that were proposed by various authors and modeled by second-order systems of differential equations.
The solutions obtained using the method are compared with those calculated using other best-known codes:
- LSODE methods cause a numerical solution to be found using the Livermore Stiff ODE solver.
- GEAR finds a numerical solution using a Gear single-step extrapolation method.
- ROSENBROCK finds a numerical solution using an Implicit Rosenbrock third–fourth-order Runge–Kutta method with third-degree interpolant.
- DVERK78 finds a numerical solution using a seventh–eighth-order continuous Runge–Kutta method.
5.1. Problem 1
The following differential equation,
models the motion of a perturbed quasi-periodic circular orbit in the complex plane. This problem is similar to that studied in [15,16,26,44,45,46,47].
The analytical solution is as follows:
The problem is solved as a pair of uncoupled equations denoting , and by substituting in (72), we obtain the following second-order system:
The matrix which annihilates the disturbance function is
The expanded IVP, which is obtained by applying the differential operator (D + B) to (74), is expressed as follows:
which is integrated using the .
The results are compared with those obtained by integrators, such as LSODE, DVERK78, ROSENBROCK, and GEAR, implemented in MAPLE17 and the method.
Figure 1 contrasts the decimal logarithm of the module of the relative error of the solution , calculated using , step size , 50 digits, , , and , with the numerical integration codes LSODE[backfunc] with a tolerance of , DVERK78 with a tolerance of , ROSENBROCK with abserr = Float(1,−30), and GEAR with errorper = Float(1,−17).
Figure 1.
The decimal logarithm of the module of the relative error of the position , , .
Figure 2 shows an efficiency plot in which Ψ-functions multistep methods are compared with integrations using well-known general-purpose codes. The computation time is represented on the horizontal axis, in logarithmic scale, and the decimal logarithm of the integration error at the last point is shown on the vertical axis.
Figure 2.
Problem 1, efficiency plot for the integration of at the last point.
As the number of digits increases, the DVERK78 (type RK) increases in precision and computing time until it reaches the multistep. The multistep calculation time remains stable regardless of the number of digits.
When forced to 50 digits and with tolerance , the multistep is executed, but in the DVERK78, the program issues a note indicating that the solution cannot be evaluated, the problem may be unique, or the error tolerance may be too small.
5.2. Problem 2
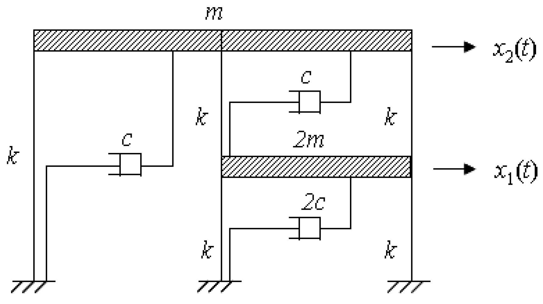
When considering the two-story frame, as shown in Figure 3, subjected to an earthquake ground motion (2DOF) [9,10], only the horizontal translation of the earthquake ground motion is considered:
Figure 3.
Two-story frame.
If and are the absolute displacements of the masses, and and are the absolute ground displacement and the absolute ground velocity, respectively, the expressions and are the relative displacements between the masses and the ground.
Applying Newton’s second law and given that the external force is zero, the equations of motion in this case are as follows:
If is a harmonic matrix forcing function, i.e.,
by normalizing Equation (76), the following is obtained:
At the moment the earthquake occurs, it is logical to assume that the structure is at rest, i.e.,
Applying what Steffensen suggested [52,53], a new function solution of the IVP , , is defined as follows:
which eliminates the perturbation function of (78), obtaining the following formula:
The matrix that annihilates the disturbance function is ; applying the operator (D + B) to system (81) result in the following:
The method is applied to (82), using the following values for the structural variables: , , , , , and .
Figure 4 shows the graph of the decimal logarithm of the module of the relative error of the solution , calculated using the method, step size , 50 digits, and , with the numerical integration codes LSODE[backfunc] with a tolerance of , DVERK78 with a tolerance of , ROSENBROCK with abserr = Float(1,−30), and GEAR with errorper = Float(1,−17).
Figure 4.
The decimal logarithm of the module of the relative error of the position , , .
Figure 5 contrasts the decimal logarithm of the module of the relative error of the solution , calculated using the method, step size , 50 digits, and with the numerical integration codes LSODE[backfunc] with a tolerance of , DVERK78 with a tolerance of , ROSENBROCK with abserr = Float(1,−30), and GEAR with errorper = Float(1,−30).
Figure 5.
The decimal logarithm of the module of the relative error of the position , , .
5.3. Problem 3
We present the numerical resolution using the method for the classical problem in orbital dynamics of an Earth artificial satellite with periodic equatorial orbit, where its position is affected by the perturbation of the zonal harmonic [21,44,48]. This is the main problem for Earth satellites orbiting at low or medium height since other perturbations are smaller.
The problem, expressed by the Burdet–Ferrándiz variables (B-F) [3,49], can be formulated by perturbed and decoupled oscillators with unit frequency.
The B-F coordinates are the direction cosines and the inverse of the satellite radius using the “true anomaly” as an independent variable . The angular momentum, , can be considered as a constant, the reduced mass is and the orbit eccentricity is .
with the following initial conditions:
Making the change of variable , we can rewrite (83) as follows:
The operator (D + B) is applied to the system (84), where B is the null matrix integrated with the method.
Two types of orbits are considered: with zero eccentricity and with high eccentricity, .
For :
For :
The error is calculated using the following first integrals:
Figure 6 and Figure 7 show the graph of the logarithm of the relative error module of the solution in the cases of eccentricity 0 and 0.99, respectively. The method is used with step size , 50 digits, and . This result is compared to the numerical integration algorithms: DEVERK78 with a tolerance of , GEAR with errorper = Float(1,−15), LSODE[backfunc] with a tolerance of , and ROSENBROCK with abserr = Float(1,−30).
Figure 6.
Trajectory error of a circular equatorial -perturbed satellite orbit, integrated with , .
Figure 7.
Trajectory error of a circular equatorial -perturbed satellite orbit, integrated with , .
Figure 8 and Figure 9 show the graph of the logarithm of the relative error module of the solution in the cases of eccentricity 0 and 0.99, respectively, calculated using the method, with step size , 50 digits, and . This result is compared to the numerical integration algorithms: DEVERK78 with a tolerance of , GEAR with errorper = Float(1,−30), LSODE[backfunc] with a tolerance of , and ROSENBROCK with abserr = Float(1,−30).
Figure 8.
Trajectory error of a circular equatorial -perturbed satellite orbit, integrated with , , and .
Figure 9.
Trajectory error of a circular equatorial -perturbed satellite orbit, integrated with , , and .
6. Conclusions
This new multistep method , based on the Ψ-functions series method, is defined for variable step and variable order (VSVO) and maintains the good properties of the Ψ-functions series method.
It was constructed to solve perturbed and damped second-order systems of differential equations. Both explicit and implicit schemes are presented, allowing us to implement a predictor–corrector scheme.
The Ψ-functions series method is very precise. However, it has the disadvantage that it needs to be adapted to each specific case. This difficulty is resolved by the Ψ-functions multistep method since it incorporates an algebraic procedure for the computation of the coefficients. We first approximate the derivatives of the perturbation function by divided differences. In the second step, we establish a recurrent formula calculating the relationship between the divided differences and the elementary and complete symmetrical functions. This facilitates its implementation on a computer.
The multistep method’s good behavior is evident when comparing the results obtained against other well-known integrators, such as LSODE, ROSENBROCK, GEAR, and DVERK78.
These methods, both series and multistep, will serve as a basis for constructing future methods for solving partial differential equations.
Author Contributions
Conceptualization, F.G.-A. and J.A.R.; methodology, F.G.-A., M.C.-M. and J.A.R.; software, F.G.-A., J.A.R. and M.C.-M.; validation, F.G.-A. and M.C.-M.; formal analysis, F.G.-A., J.A.R. and M.C.-M.; investigation, F.G.-A., J.A.R. and M.C.-M.; data curation, F.G.-A. and M.C.-M.; writing—original draft preparation, F.G.-A. and M.C.-M.; writing—review and editing, F.G.-A. and M.C.-M.; supervision, F.G.-A. and M.C.-M.; project administration, F.G.-A.; funding acquisition, F.G.-A. All authors have read and agreed to the published version of the manuscript.
Funding
This research received no external funding.
Data Availability Statement
The original contributions presented in the study are included in the article, further inquiries can be directed to the corresponding authors.
Acknowledgments
This article is dedicated to the memory of José Antonio Reyes Perales (J.A.R.), a friend and colleague who recently passed away and actively contributed to the conceptualization, methodology, software, formal analysis, investigation and development of these multistep methods.
Conflicts of Interest
The authors declare that there are no conflicts of interest.
References
- Kunstaanheimo, P.; Stiefel, E. Perturbation theory of Kepler motion based on spinor Regularization. J. Reine Angew. Math. 1965, 218, 204–219. [Google Scholar] [CrossRef]
- Burdet, C.A. Le mouvement Keplerian et les oscillateurs harmoniques. J. Reine Angew. Math. 1969, 238, 71–78. [Google Scholar] [CrossRef]
- Ferrándiz, J.M. A general canonical transformation increasing the number of variables with application to the two-body problem. Celes. Mech. 1988, 41, 343–357. [Google Scholar] [CrossRef]
- Newmark, N.M. A method of computation for structural dynamics. ASCE J. Eng. Mech. Div. 1959, 85, 67–94. [Google Scholar] [CrossRef]
- Chung, J.; Hulbert, G.M. A family of single-step Houbolt time integration algorithms for structural dynamics. Comput. Methods Appl. Mech. Eng. 1994, 118, 1–11. [Google Scholar] [CrossRef][Green Version]
- Craig, R.R., Jr.; Kurdila, A.J. Fundamentals of Structural Dynamics; John Wiley and Sons Inc.: Hoboken, NJ, USA, 2006. [Google Scholar]
- Chopra, A.K. Dynamics of Structures: Theory and Applications to Earthquake Engineering, 3rd ed.; Prentice-Hall: Upper Saddle River, NJ, USA, 2007. [Google Scholar]
- Gholampour, A.; Ghassemieh, M. New implicit method for analysis of problems in nonlinear structural dynamics. Appl. Comput. Mech. 2011, 5, 15–20. [Google Scholar]
- Hart, G.C.; Wong, K. Structural Dynamics for Structural Engineers; John Wiley & Sons, Inc.: Hoboken, NJ, USA, 1999. [Google Scholar]
- Bangash, M.Y.H. Analyses, Numerical Computations, Codified Methods; Springer: Berlin/Heidelberg, Germany, 2011. [Google Scholar]
- Dormand, J.R. Numerical Methods for Differential Equations. A Computational Approach; CRC Press: Boca Ratón, FL, USA, 1996. [Google Scholar]
- Henrici, P. Discrete Variable Methods in Ordinary Differential Equations; John Wiley & Sons: New York, NY, USA, 1962. [Google Scholar]
- Herrick, S. Astrodynamics. Vol. 2: Orbit Correction, Perturbation Theory Integration; Van Nostrand Reinhold: London, UK, 1972. [Google Scholar]
- González, A.B.; Martín, P. A note concerning Gauss-Jackson method. Extr. Math. 1996, 11, 255–260. [Google Scholar]
- Scheifele, G. On Numerical Integration of Perturbed Linear Oscillating Systems. Z. Für Angew. Math. Phys. 1971, 22, 186–210. [Google Scholar] [CrossRef]
- Stiefel, E.L.; Scheifele, G. Linear and Regular Celestial Mechanics; Springer: New York, NY, USA, 1971. [Google Scholar]
- Stiefel, E.; Bettis, D.G. Stabilization of Cowell’s Method. Numer. Math. 1969, 13, 154–175. [Google Scholar] [CrossRef]
- Bettis, D.G. Stabilization of finite difference methods of numerical integration. Celest. Mech. 1970, 2, 282–295. [Google Scholar] [CrossRef]
- Bettis, D.G. Numerical integration of products of Fourier and ordinary polinomials. Numer. Math. 1970, 14, 421–434. [Google Scholar] [CrossRef]
- Martín, P.; Ferrándiz, J.M. Behaviour of the SMF method for the numerical integration of satellite orbits. Celest. Mech. Dyn. Astron. 1995, 63, 29–40. [Google Scholar] [CrossRef]
- Martín, P.; Ferrándiz, J.M. Multistep numerical methods based on Scheifele G-functions with application to satellite dynamics. SIAM J. Numer. Anal. 1997, 34, 359–375. [Google Scholar] [CrossRef]
- Martín, P.; Ferrándiz, J.M. Numerical integration of perturbed linear systems. Appl. Math. 1999, 31, 183–189. [Google Scholar] [CrossRef]
- Martín, P.; Farto, J.M. Increasing the order of the SMF method for a special type of problem. SIAM J. Numer. Anal. 1998, 35, 773–777. [Google Scholar] [CrossRef]
- You, X.; Zhang, Y.; Zhao, J. Trigonometrically-Fitted Scheifele Two-Step. Methods for Perturbed Oscillators. Comput. Phys. 2011, 182, 1481–1490. [Google Scholar] [CrossRef]
- Vigo-Aguiar, J.; Ferrándiz, J.M. Higher-order variable-step algorithms adapted to the accurate numerical integration of perturbed oscillators. Comput. Phys. 1998, 12, 467–470. [Google Scholar] [CrossRef]
- Vigo-Aguiar, J.; Ferrándiz, J.M. A general procedure for the adaptation of multistep algorithms to the integration of oscillatory problems. SIAM J. Numer. Anal. 1998, 35, 1684–1708. [Google Scholar] [CrossRef]
- Reyes, J.A.; García-Alonso, F.; Ferrándiz, J.M.; Vigo-Aguiar, J. Numeric multistep variable methods for perturbed linear system integration. Appl. Math. Comput. 2007, 190, 63–79. [Google Scholar] [CrossRef]
- García-Alonso, F.; Reyes, J.A. A new approach for exact integration of some perturbed stiff linear systems of oscillatory type. Appl. Math. Comput. 2009, 215, 2649–2662. [Google Scholar] [CrossRef]
- García-Alonso, F.; Reyes, J.A.; Villacampa, Y. A new approach for multistep numerical methods in several frequencies for perturbed oscillators. Adv. Eng. Softw. 2012, 45, 252–260. [Google Scholar] [CrossRef]
- Khalsaraei, M.M.; Shokri, A. An explicit six-step singularly P-stable Obrechkoff method for the numerical solution of second-order oscillatory value problems. Numer. Algorithms 2020, 84, 871–886. [Google Scholar] [CrossRef]
- Ramos, H.; Kalogiratou, Z.; Monovasilis, T.; Simos, T.E. An optimized two-step hybrid block method for solving general second order initial-value problems. Numer. Algorithms 2016, 72, 1089–1102. [Google Scholar] [CrossRef]
- Ramos, H.; Rufai, M.A. A new one-step method with three intermediate points in a variable step-size mode for stiff differential systems. J. Math. Chem. 2023, 61, 673–688. [Google Scholar] [CrossRef]
- Ramos, H.; Metha, S.; Vigo-Aguiar, J. A unified approach for the development of k-step block Falkner-type methods for saving general second-order initial-value problems in ODES. J. Comput. Appl. Math. 2017, 318, 550–564. [Google Scholar] [CrossRef]
- Abdulganiy, R.I.; Ramos, H.O.; Akinfenwa, A.; Okunuga, S.A. A functionally-fitted block Numerov method for solving second-order initial-value problems with oscillatory solutions. Mediterr. J. Math. 2021, 18, 259. [Google Scholar] [CrossRef]
- Vigo-Aguiar, J.; Ramos, H. Variable stepsize implementation of multistep methods for y″ = f(x, y, y′). J. Comput. Appl. Math. 2006, 192, 114–131. [Google Scholar] [CrossRef]
- Papadopoulos, D.F.; Anastassi, Z.A.; Simos, T.E. A phase-fitted Runge-Kutta-Nyström methods for the numerical solution of initial value problems with oscillating solutions. Comput. Phys. Commun. 2009, 180, 1839–1846. [Google Scholar] [CrossRef]
- Yang, H.; Wu, X.; You, X.; Fang, Y. Extended RKN-type methods for numerical integration of perturbed oscillators. Comput. Phys. Commun. 2009, 180, 1777–1794. [Google Scholar] [CrossRef]
- Yang, H.; Zeng, X.; Wu, X.; Ru, Z. A Simplified Nystrom-Tree Theory for Extended Runge-Kutta-Nystrom Integrators Solving. Comput. Phys. Commun. 2014, 185, 2841–2850. [Google Scholar] [CrossRef]
- González, A.B.; Farto, J.M.; López, D.J. Reformulation of the RKGM Methods using Scheifele Expansions. Appl. Math. Lett. 2000, 13, 63–66. [Google Scholar] [CrossRef][Green Version]
- Fang, Y.; Wu, X. A New Pair of Explicit ARKN Methods for the Numerical Integration of General Perturbed Oscillators. Appl. Numer. Math. 2007, 57, 166–175. [Google Scholar] [CrossRef]
- You, X.; Zhao, J.; Yang, H.; Fang, Y.; Wu, X. Order Conditions for RKN Methods Solving General Second-Order Oscillatory Systems. Numer. Algor. 2014, 66, 147–176. [Google Scholar] [CrossRef]
- Martín, P.; López, D.J.; García, A. Implementation of Falkner method for problems of the form y” = f(x,y). Appl. Math. Comput. 2000, 109, 183–187. [Google Scholar] [CrossRef]
- Franco, J.M. New Methods for Oscillatory Systems Based on ARKN Methods. Appl. Numer. Math. 2006, 56, 1040–1053. [Google Scholar] [CrossRef]
- García-Alonso, F.; Reyes, J.A.; Cortés-Molina, M. An algorithm for the numerical integration of perturbed and damped second-order ODE systems. Mathematics 2020, 8, 2028. [Google Scholar] [CrossRef]
- Simos, T.E.; Vigo-Aguiar, J. Exponentially fitted symplectic integrator. Phys. Rev. E 2003, 67, 016701. [Google Scholar] [CrossRef] [PubMed]
- Ramos, J.I. Piecewise-linearized methods for initial-value problems with oscillating solutions. Appl. Math. Comput. 2006, 181, 123–146. [Google Scholar] [CrossRef]
- Van de Vyver, H. Two-step hybrid methods adapted to the numerical integration of perturbed oscillators. arXiv 2007, arXiv:math/0612637v1. [Google Scholar]
- Janin, G. Accurate computation of highly eccentric satellite orbits. Celest. Mech. 1974, 10, 451–456. [Google Scholar] [CrossRef]
- Ferrándiz, J.M.; Sansaturio, M.E.; Pojman, J.R. Increased accuracy of computations in the main satellite problem through linearization methods. Celest. Mech. 1992, 53, 347–364. [Google Scholar] [CrossRef]
- MacDonald, I.G. Symmetric Functions and Hall Polynomials; Oxford University Press Inc.: New York, NY, USA, 1998. [Google Scholar]
- Vigo-Aguiar, J. An approach to variable coefficients methods for special differential equations. Int. J. Appl. Math. 1999, 8, 911–921. [Google Scholar]
- Steffensen, J.F. On the Differential Equations of Hill in the Theory of the Motion of the Moon. Acta Math. 1955, 93, 169–177. [Google Scholar] [CrossRef]
- Steffensen, J.F. On the Differential Equations of Hill in the Theory of the Motion of the Moon (II). Acta Math. 1956, 95, 25–37. [Google Scholar] [CrossRef]
Disclaimer/Publisher’s Note: The statements, opinions and data contained in all publications are solely those of the individual author(s) and contributor(s) and not of MDPI and/or the editor(s). MDPI and/or the editor(s) disclaim responsibility for any injury to people or property resulting from any ideas, methods, instructions or products referred to in the content. |
© 2024 by the authors. Licensee MDPI, Basel, Switzerland. This article is an open access article distributed under the terms and conditions of the Creative Commons Attribution (CC BY) license (https://creativecommons.org/licenses/by/4.0/).








