Next Article in Journal
Exploring the Impacts of Lifestyle Changes in the Global Energy Transition: Insights from a Model-Based Analysis Using PROMETHEUS
Next Article in Special Issue
Assessment of the Long-Term Impact of Climate Variability on Food Production Systems in South Africa (1976–2020)
Previous Article in Journal
Factors Influencing Rural Women’s Adoption of Climate Change Adaptation Strategies: Evidence from the Chivi District of Zimbabwe
Previous Article in Special Issue
Climate Changes in Southeastern Poland and Food Security
 
 
Font Type:
Arial Georgia Verdana
Font Size:
Aa Aa Aa
Line Spacing:
Column Width:
Background:
Article

Global Meta-Analysis of Innovation Attributes Influencing Climate-Smart Agriculture Adoption for Sustainable Development

Department of Agricultural Leadership, Education, and Communication, University of Georgia, Athens, GA 30602, USA
*
Author to whom correspondence should be addressed.
Climate 2024, 12(11), 192; https://doi.org/10.3390/cli12110192
Submission received: 24 October 2024 / Revised: 12 November 2024 / Accepted: 16 November 2024 / Published: 20 November 2024
(This article belongs to the Special Issue Climate Change and Food Insecurity: What Future and New Actions?)

Abstract

Climate-smart agricultural technologies offer transformative potential for achieving Sustainable Development Goals, especially in mitigating extreme weather impacts and enhancing food security. Despite this potential, adoption rates remain limited due to various factors, with perceived complexity playing a significant role. This study conducted a systematic review and meta-analysis to assess the influence of perceived innovation complexity on adopting climate-smart technologies. Using frameworks of the Technology Acceptance Model and the Unified Theory of Acceptance and Use of Technology, we systematically reviewed 28 studies and conducted a meta-analysis of 15 studies across diverse geographic contexts. Our findings from the systematic review indicate inconsistent results on the impact of complexity on adoption due to the different items and scales used to measure the concepts of complexity across contexts, suggesting that there is a need for the development of a standardized scale to measure complexity. Results from the meta-analysis generated a summary effect size (r = 0.51, 95% CI = [0.05, 0.72], z = 6.78, p ≤ 0.0001), revealing a significant relationship between perceived complexity and adoption intent. The effect size of 0.51 indicates that higher complexity levels significantly decrease the likelihood of adoption intent for climate-smart technologies. Differences in CSA research trends across geographic regions highlight the need for tailored approaches to technology adoption that take into account the specific capabilities and constraints of each region. These findings provide valuable insights for policymakers, Extension professionals, and technology developers to design interventions to promote ease of use and enhance technology diffusion in sustainable farming practices and food security. These findings contribute to ongoing efforts to foster sustainable agricultural innovations, offering guidance to accelerate the global transition to more resilient farming systems.

1. Introduction

Climate change poses significant threats to global agriculture, affecting food security, livelihoods, and ecosystems. As extreme weather events become more frequent and severe, there is an urgent need for sustainable agriculture practices that can enhance resilience and productivity [1]. Climate-smart agriculture (CSA) is an innovative agricultural management practice incorporating various technologies and skills into farm production according to farmers’ needs to mitigate impacts and promote sustainable development [2]. In the past decades, especially during the pandemic of COVID-19, evidence has shown that climate-smart agriculture technologies were receiving more attention for their application in agriculture due to the food supply and demand change, as well as benefits related to food security, the environment, and farm production saving [3,4,5]. For example, farmers adopted flying drones over the farms to save water on irrigation [6]. Using sensors to collect data on the farm is also becoming popular among farmers, because their use provides precise farm data to increase the quality and quantity of production with more efficient resource distribution, such as water and chemical outputs [6,7,8].
Many CSA products, practices, or systems are proposed and encouraged for farmers to adopt, highlighting that it is a fast-growing market in agriculture [9,10]. A variety of marketing or promoting channels have emerged for farmers to adopt climate-smart agriculture technologies, including internet sources [11], social media, peer-to-peer interactions [12], information from vendors or private farm consultants, exhibitions and trade shows, and Extension services [13]. However, many studies across contexts have shown that the adoption rate of smart farming is low or growing slowly [14,15,16]. In response, other studies have been devoted to investigating the factors that influence the decision-making process of stakeholders in adopting climate-smart agriculture [17].
As stakeholders become more aware of the extreme climate impacts on agriculture, they are increasingly seeking sustainable solutions to cope with the challenges related to the climate, leading to the various climate-smart technologies developed and promoted. The nature and complexity of climate-smart agriculture technologies vary depending on their functionality. The adoption of different types of climate-smart agriculture also varies according to the context of the producer/decision maker, such as farm scale, culture, experience with the technology, and education level [18]. Factors affecting the adoption of climate-smart agriculture also include socio-economic status (e.g., age, education, experience, etc.), farm operation scale (e.g., farm size and yield) [18], knowledge accessibility (e.g., consultants or Extension services) [19], technological literacy, technical support (e.g., ease of use, infrastructure, etc.) [20], social networks [21,22], and perceived profitability [23]. Among these studies, perceived attributes of innovation were one of the common factors applied, especially the attribute of ease of use with technology, which was considered a factor that can predict an individual’s attitude toward adopting climate-smart agriculture [24,25,26]. The adoption rate of innovative agricultural technology may increase when all perceived attributes of the innovation are adequately communicated to stakeholders [27].
Lee et al. [28] reviewed the previous precision agriculture adoption studies and suggested that complexity, one of the five perceived attributes of innovation proposed by Rogers [27], was not addressed as frequently as the other four attributes, including relative advantage, compatibility, trialability, and observability. Researchers have used various theories to identify factors that can improve the adoption rate of climate-smart agriculture, such as the technology acceptance model (TAM; [24,29]), social cognitive theory [30], theory of planned behavior (TPB; [31,32]), diffusion of innovation (DOI) theory ([27,33]), and unified theory of acceptance and use of technology (UTAUT; [26,34]). Among these studies, findings on individuals’ perception of easy-to-use climate-smart agriculture technology as a predictor of the adoption of such technologies varied. A common expectation is that the adoption rates increase when innovative technology adoption requires less effort from decision-makers (i.e., when technology is less complex and easier to use) [24,26,35]. However, some studies have found no significant results for ease of use as a determinant of adoption [22]. Therefore, the role of perceived innovation complexity of climate-smart agricultural technology technologies has received limited attention in the literature. Understanding how complexity influences adoption decisions is crucial for designing effective interventions to enhance agricultural production and food security.

1.1. Theoretical Framework

To comprehensively assess the relationship between complexity and the adoption of climate-smart agricultural technology, we performed a systematic review and meta-analysis as a quantitative review of the existing literature using either original or adapted UTAUT or TAM models as theoretical frameworks in the studies. These models are widely used to understand technology adoption and provide a robust framework for examining the role of perceived complexity.

1.2. Technology Acceptance Model (TAM)

The TAM [24] is one of the most commonly used theories in the context of the adoption of novel technologies [36], including the adoption of agricultural technologies (Thomas et al., 2023). The TAM was developed as an extension of Fishbein and Ajzen’s [37] Theory of Reasoned Action (TRA) to more fully explain the nuanced motivations of technology adoption. TAM posits that the technology’s perceived usefulness and perceived ease of use influence an individual’s attitude toward the technology, which has been shown to positively influence the intent to perform the behavior. Applications of the TAM include the acceptance of artificial intelligence on farms [32], utilizing wireless sensor networks [25], adopting precision agriculture (PA) technology [33], and adopting variable rate irrigation [38]. Figure 1 illustrates the TAM model with the complexity construct highlighted.

1.3. Unified Theory of Acceptance and Use of Technology (UTAUT)

The UTAUT model was developed by Venkatesh et al. [26] to outline the influence of performance expectancy, effort expectancy, social influence, and facilitating conditions on the technology’s adoption. The UTAUT combines constructs from multiple theories, including TRA [37], TAM [24], DOI [27], and social cognitive theory [30]. The theory has been used to understand the adoption of smartphone apps in crop protection [39], autonomous field robots [40], and other innovative sustainable farm behaviors [41]. Figure 2 illustrates the UTAUT model with the complexity construct highlighted.

1.4. Complexity

Complexity was originally posed as one of Rogers’ original constructs in the DOI Theory [27], defined as how difficult the innovation is to understand and implement. Both the TAM and the UTAUT pose similar constructs, named perceived ease of use and effort expectancy, respectively. This study explores complexity’s role in the decision-making process when considering climate-smart agricultural technology due to the various findings related to its influence.
Some studies have determined the complexity of the technology as a major determiner of end-use. Perceived ease of use has been shown to positively influence adoption attitudes while being positively influenced by individual factors such as education level and financial status [42]. Complexity perceptions also relate to where a decision-maker is in the adoption process, with non-adopters being more impacted by complexity perceptions than planners and adopters, as well as age and farm size [43]. There is evidence that more complex technologies may be more readily rejected [44], and the complexity of the innovation has been regularly considered as a core barrier to adopting sustainable innovations [43,45,46]. Social media dialogue has also highlighted complexity as a barrier to integrating agriculture technology [47].
However, other studies revealed divergent results. Naspetti et al. [22] removed ease of use (i.e., complexity) from their final model predicting the adoption of sustainable practices due to insignificance. Effort expectancy also did not significantly predict behavioral intention in Schukat and Heise’s [48] model of smart product integration among German farmers or in Molina-Maturano et al.’s [49] model of Mexican farmers’ intention to adopt agricultural apps. Notably, Tey and Brindal’s [23] meta-analysis of factors driving the adoption of precision agriculture did not include complexity or other constructs related to the nature of the technology but instead included farmer, farm, institutional, informational, and technological (computer use and perceived profitability) factors, further underlining the importance of the study at hand. Multiple systematic reviews have highlighted that complexity has been underrepresented in the precision agriculture adoption literature [28,50].
Due to complexity’s varying inclusion and influence, our study aimed to assess the influence of perceived innovation complexity on the adoption of CSA technologies. By conducting a systematic review and meta-analysis, we seek to provide a comprehensive understanding of how complexity affects adoption decisions across different geographic and socio-economic contexts. To achieve this purpose, three research questions guided this study: (1) How do contextual factors and study characteristics (e.g., methodology, theoretical frameworks, research locations, population, sample size, and types of technology) modulate the relationship between perceived innovation complexity and adoption of CSA technologies? (2) How does the conceptualization and measurement of innovation complexity vary across the CSA adoption literature? (3) What is the magnitude and direction of the effect of perceived complexity on CSA technology adoption intentions across diverse geographic regions and socioeconomic contexts?

2. Materials and Methods

2.1. Study Design

A systematic review and a meta-analysis approach were chosen to deliver comprehensive findings across multiple related studies, each including technological complexity as a determining factor for adoption. A systematic review is a rigorous assessment of all research on a specific topic [51], in this case, research related to the human dimensions of adopting climate-smart agricultural technology. A systematic review is also an initial phase of the larger meta-analysis, which reveals the relevant articles to be included in the quantitative analysis. Meta-analysis is designed to synthesize findings from different studies by various researchers addressing the same or similar research questions [52]. Although the answers to these questions can be determined from a single study based on a small sample, they are nevertheless more likely to be biased when it comes to generalizing about a sample population than when a study with a large or more representative sample is used. Meta-analysis is a useful method to answer the same question by taking data from multiple sources. The advantage of meta-analysis is that it allows for a comprehensive evaluation of the relationship between complexity and the adoption of climate-smart agriculture technologies by synthesizing findings from multiple studies, thus revealing less context-specific and more generalizable results [53]. Studies related to the factors influencing the adoption of climate-smart agricultural technologies, in particular, have diverse contexts across countries, commodities, and populations [28]. Despite these differences, many of the studies utilize the TAM and UTAUT models, which provide impetus to understand universal similarities and differences in how complexity influences adoption across these landscapes. This, too, can be accomplished through meta-analysis. The Preferred Reporting Items for Systematic Reviews and Meta-Analyses (PRISMA) standards, a framework commonly used to standardize and rigorize reporting of systematic reviews, guided the systematic review to ensure transparency and accuracy [54].

2.2. Database and Search Strategy

Three databases highly relevant to our research discipline were selected for a systematic review: CAB abstracts, Agricola, and Environment Complete. In addition, to broaden the scope of the literature search and provide a more comprehensive literature search, we also included a major scientific literature database, Web of Science. We selected several relevant terms related to the adoption of climate-smart agricultural technology (e.g., smart farming, precision agriculture, technology, use, adoption, etc.). Two search strings were used in this study, with one for describing climate-related agricultural technology based on the literature [55,56,57] and the other one for describing concepts related to human behavior for adoption. Therefore, the search in the database used a combination of two search strings and the term “technolog*”, including (“climate-smart agriculture” OR “climate smart agriculture” OR “precision agriculture” OR “smart farming” OR “precision farming”) AND “technolog*” AND (“adoption” OR “use” OR “usage” OR “implementation” OR “application”) to search the literature published between March 2004 and March 2024. The search was limited to the literature published in “English” and peer-reviewed journals. There were 5601 publications from the combination of terms searched needing further eligibility screening. The search terms and combinations are specified in Table 1.

2.3. Data Extraction

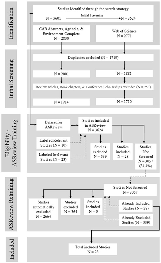
The ASReview tool was employed to assist authors in making inclusion and exclusion decisions regarding the studies included in this review. ASReview, developed by the ASReview Innovation Lab at Utrecht University, is a free, open-source machine learning tool designed to systematically screen and label a large collection of literature. This innovative tool employs a Human-in-the-Loop approach [58], combining human judgment with machine learning to inform the tool’s algorithm and the instructions the tool uses to guide its function, as well as to provide decision guidance. Studies have demonstrated the positive application of conducting a systematic review using the ASReview tool [59,60,61]. After removing the duplicates (n = 1719) and studies that were review articles, book chapters, or conference scholarships (n = 258) from 5601 publications obtained from the initial database search, the initial database search yielded 3624 publications for further eligibility assessment to include in this study. At this point, a set of data containing bibliographic data, including author(s), publication year, titles of the article and journal, the digital object identifier (DOI) of the publication, and abstracts were prepared for screening and labeling using ASReview.
The screening process with ASReview involved four critical steps aimed at identifying the 28 studies relevant to our research question regarding the impact of complexity on behavioral intention. In the first step, we prepared the dataset, allowing ASReview to scan all included studies from the initial search. Next, we provided ASReview with a set of labeled studies for this machine-learning algorithm to learn how to identify patterns and relationships in the data; 10 studies using either the TAM or UTAUT models were manually selected and labeled as relevant. Additionally, 23 studies were identified as irrelevant and were also used to train the ASReview model, resulting in a total of 33 labeled studies for initial algorithm training.
To further refine the model, one of the authors manually reviewed and labeled 15.6% of the total included studies (n = 567, N = 3624), which helped improve the algorithm of the model to classify studies that were most relevant. This initial screening identified 28 relevant records and 538 irrelevant ones, forming a dataset used to train a second ASReview model. In the final step, the reviewer manually labeled an additional 10% (n = 364) of all included studies to enhance the model’s performance. The second model confirmed the irrelevance of the additional 10% screened studies, making it unnecessary to identify the rest of the unlabeled records. As a result, we finalized the selection with 28 included studies, 931 self-excluded studies, and 2664 automatically excluded studies.
To perform the systematic review, one author reviewed each of the 28 articles and recorded the study characteristics (i.e., citation, data analysis methodology, theoretical framework, location, type of climate-smart technology, sample members, sample size, items, scale, source of scale, and complexity recommendations) in an Excel document. For inclusion in the meta-analysis, the final 28 articles were reviewed by the first two authors for relevant and appropriate methodologies and data inclusion. Three articles were excluded due to their methodologies being incongruent with the others. One was removed due to irrelevance. Ten of the remaining articles did not include the necessary data, and only one of these ten responded to requests for data. Therefore, fifteen (N = 15) articles were included in the final meta-analysis. Correlation coefficients were extracted from each of the articles that included their correlation matrices, and one author shared the raw data to calculate the correlation of the variables of interest in R. Scholarship has suggested that in under-studied areas, two articles are enough to constitute a meta-analysis [62]. Other meta-analyses in novel research areas have included between eight and 23 articles [23,46,52,62,63,64]. Figure 3 depicts the systematic review process.

2.4. Data Analysis

The 28 studies in the systematic review were first reviewed by one author, and relevant data (i.e., sample size, context, type of technology, correlation coefficient, etc.) were recorded in an Excel spreadsheet. Excel was used to calculate frequencies of major study characteristics. We used the R metafor package to conduct the analysis, using correlation coefficients that were extracted from the articles or calculated [65]. We performed a random-effects meta-analysis to combine the study results into a summarized estimate of the pooled correlation. This approach considers the heterogeneity between studies, which was relevant for the sample due to the studies’ diverse contexts. We used a funnel plot to represent the symmetry of the effect sizes and their standard errors, indicated by the I2 index, and a forest plot to visualize the studies’ correlations, sample size, and confidence intervals.

3. Results

3.1. Characteristics of the Included Studies in the Systematic Review

Research question one described the similarities and differences between the studies included in the systematic review. Most of the studies were published in or after the year 2020 (n = 23, 82%) and used a structural equation modeling approach (n = 25, 89%). Germany was the most common study location (n = 6, 21%), followed by Iran and India, which were represented five times each. Most of the studies approached the included technology broadly, with six studies (21%) investigating precision agricultural technology and another six (21%) studying smart farming. Most of the studies (n = 22, 79%) included farmers in their sample, with the remaining including stakeholders like Extension professionals and agricultural consultants. The samples ranged from 16 to 597 participants. Of the 28 included studies, the authors of a total of 15 studies explicitly stated whether complexity was a predictor or not, including six studies that indicated that complexity was a predictor of the adoption intention and the remaining nine studies, which found that complexity was not significant. Table 2 represents this data and further describes the studies in the systematic review.
The majority of all 28 included studies were conducted in Germany (n = 6, 21.43%), followed by Italy (n = 5, 17.85%) and Iran (n = 5, 17.85%) with five studies each. Italy came third with four studies (n = 4, 14.29%). China and the United States had two studies each, while the remaining five regions, including Bangladesh (n = 1, 3.57%), Canada (n = 1, 3.57%), Mexico (n = 1, 3.57%), Uganda (n = 1, 3.57%), and the United Kingdom (n = 1, 3.57%), had one study each.
In all 28 articles included, the most applied theory was the TAM, with 15 studies using this theory (n = 15, 54%), followed by UTAUT with 11 studies (n = 11, 39%) (see Figure 4).

3.2. Findings of Meta-Analysis

3.2.1. Characteristics of Conceptualization and Measurement of Innovation Complexity Across Studies

Fifteen studies (N = 15) were included in the meta-analysis. Seven studies (n = 7, 46%) utilized perceived ease of use as their complexity construct; seven also used effort expectancy (n = 7, 46%), and one article used complexity (n = 1, 7%). The definitions of the constructs vary slightly and align with the theoretical framework used. Perceived ease of use is commonly defined as the belief that using a particular technology will require minimal effort, while effort expectancy refers to the anticipated ease of using a system. All the items were adapted for the study’s contexts, with each study using a slightly different set of items, and all used three of four items to measure the construct. Four of the articles (27%) did not report the items used. The measurement items vary across studies, ranging from questions like “Learning to use precision agriculture tools will be easy” to more complex assessments of how users perceive the difficulty of using innovations like drones or mobile apps. Regarding the items of these measurements, both constructs revolve around the idea that users should find a given technology easy to learn and use. Most items across both constructs emphasize minimal effort and simplicity in adopting the technology. For example, items such as “Learning to use [technology] will be easy” or “I find [technology] easy to use” indicated a shared focus on the technology requiring little effort. Another common theme is that many items assess how easy it is for users to become skillful at using the technology. Examples include statements like “It would be easy for me to become skillful at using [technology]” and “I believe that learning to use [technology] would be easy for me”, showing a consistent concern with users’ ability to operate the technology. Regarding the Likert-scale range, eight studies (53%) used a scale ranging from 1 to 5, four studies (27%) used a scale ranging from 1 to 7, and three (20%) did not report on the scale. An equal number of studies based their measurement of Davis’s [24] TAM model and Venkatesh et al.’s [26] UTAUT model. Table 3 summarizes the included studies regarding measuring the complexity.

3.2.2. The Effect of Perceived Complexity on CSA Technology Adoption Intentions

Research question three sought to determine how complexity relates to an individual’s intention to adopt a climate-smart technology. The 15 studies included in the meta-analysis (Table 3) represented sample sizes from 85 to 500, and 4263 total participants were included (N = 4263). The forest plot represents the effect sizes across the studies and the pooled correlation (see Figure 5).
The results reveal a large effect size (r = 0.51, 95% CI = [0.05, 0.72], z = 6.78, p ≤ 0.0001), according to classifications by Cohen [81] and Gignac and Szodorai [82]. The effect size indicates the strength and direction of the relationship between two variables generated from the included studies. This effect size indicates that perceived complexity has a considerable impact on adoption intent, suggesting that as the complexity of climate-smart technologies increases, the likelihood of adoption decreases. Therefore, the effect size of 0.51 provides evidence that reducing complexity could improve adoption rates, as higher complexity levels positively influence farmers’ intentions to integrate these technologies into their practices. The Cochran’s Q Test of effect size homogeneity showed a high level of heterogeneity between studies, with 96.40% of the variation across studies due to heterogeneity (Q = 402.76, df = 14, p ≤ 0.0001). The asymmetrical funnel plot data further support the heterogeneity between studies and the potential for publication bias (see Figure 6). Publication bias refers to the tendency for studies with significant findings to be published more frequently than those with non-significant results, which can potentially inflate the pooled effect size in meta-analyses. Although it is a well-recognized issue in meta-analytic research, publication bias remains a significant challenge. Preventive strategies, such as maintaining trial registries and adopting fair editorial practices, can help reduce its impact [83].

4. Discussion

This study answered scholarly calls [23,34,50] to further investigate complexity’s role in the climate-smart agricultural technology adoption process. In this section, we discuss the limitations of the study and how our findings compare to the literature.

4.1. Limitations

As all studies have limitations, systematic reviews and meta-analyses not only pose their own but inherit the limitations of the included studies. First, the studies took place in diverse contexts (e.g., locations, samples, commodities, measurements, technologies, etc.) and represented a high qualitative and statistical level of heterogeneity, which might represent publication bias but was to be expected in systematic reviews [84,85]. Notably, the studies used varying measurements to capture complexity (Table 3), which also may explain some of the heterogeneity. This should be maintained when interpreting the results, discussion, and conclusions. While removing some articles or performing sub-group analysis may have reduced or explained the heterogeneity, all articles were included to represent their effects, and sub-group analysis was beyond the scope of the study and sample size. Finally, the limited sample size in the meta-analysis (n = 15) may pose threats to generalizability. We maintain the benefits outweigh the limitations due to the novelty of research related to climate-smart technology adoption and the need to work toward a generalized understanding of complexity’s role in this process, which our meta-analysis begins to provide. In addition, although ASReview is a tool that can help researchers screen literature, it has two main limitations. First, the quality of the data must be guaranteed, especially the importance of providing abstracts, which are needed for screening and labeling the articles. Secondly, as it relies on the Human-in-the-Loop approach, it still relies on the expertise of the researchers to perform the screening and labeling. Inconsistency in the interpretation of the literature by the researchers will affect the results of the model training in ASReview and lead to a less accurate prediction of the literature.

4.2. Trends in Climate-Smart Agriculture Research

Research question one sought to describe the similarities and differences between the 28 studies included in the systematic review. The increased academic investigation of CSA technology adoption during and after the year 2020 supports the idea that this topic is increasing in salience [9,10], perhaps in relation to the COVID-19 pandemic [3]. While the COVID-19 pandemic likely contributed to this increased interest due to disruptions in food supply chains and heightened awareness of food security issues, other factors related to climate change itself may also be considered. For instance, the increased frequency and intensity of extreme weather events (i.e., more frequent prolonged droughts, severe flooding, and temperature variability) have amplified the necessity for sustainable agricultural solutions [1]. These climate-driven challenges highlight the need for resilient farming practices and technologies that can adapt to and mitigate the impacts of climate change, which may further explain the heightened academic attention to climate-smart agriculture.
The similarities among these studies can be observed in the theoretical frameworks, the types of climate-smart technologies, and the participants. First, most of the studies used either the TAM or UTAUT, especially the TAM has been previously supported as the most widely applied and appropriate theory for investigating the adoption of agricultural technologies [46], and it did experience the highest use in our review. Both theoretical frameworks aim to understand user acceptance and the factors influencing the adoption of new technologies in agriculture. A couple of studies, however, used alternative frameworks such as DOI or a combination of TPB and DOI, which also align with the goals of the TAM and UTAUT by focusing on the diffusion and adoption patterns of new technologies.
In addition, the studies commonly investigated precision agriculture technologies, smart farming technologies, or automation. These innovations are crucial for improving resource management and sustainability within the agricultural sector. However, no major differences were found in the types of technology that emerged based on geographic area. This could be due in part to the general reporting of the technology, as most of the studies investigated technology broadly (e.g., smart farming technology, precision farming techniques) rather than specific technologies (e.g., drones, VRI, autonomous field robots). Finally, most of the studies involved participants who were farmers or individuals directly connected to agriculture, such as farm operators, agricultural professionals, and consultants. This similarity emphasizes the importance of understanding how climate-smart technologies are adopted by the primary users of these innovations.
Despite these similarities, there are some differences in the geographical locations where the studies were conducted and the specific types of technologies examined. The concentration of studies in Germany, Italy, and Iran suggests that these countries may have more established research infrastructures and greater access to resources for studying CSA technologies. In contrast, countries with fewer studies, such as Bangladesh, Uganda, and Mexico, may face different challenges related to technological adoption, including limited access to resources, infrastructure, and training, and stakeholders in these areas may prefer to apply simpler CSA methods with low labor intensity [56]. These disparities highlight the need for tailored approaches to technology adoption that consider the specific capabilities and constraints of each region [86,87]. Furthermore, while precision agriculture and smart farming technologies are the most common focus, several studies examined more specific technologies. For example, studies conducted in India and Iran represent the only investigations of Internet of Things technology, which depicts this technology’s salience in developing countries. This could be because the Internet of Things is a central component of other technologies, including drones, autonomous robots, and smart irrigation systems [88,89], and these studies may have been conducted for a more general review of emerging climate-smart technology adoption in areas where widespread adoption of more advanced technologies in rural areas has not yet occurred. Notably, only one study focused on climate-smart livestock technology, which underlines the article’s point that smart livestock technologies are underrepresented in the literature and should be further investigated [48].
The sample members also vary across the studies; while most focus on farmers, others include agricultural specialists and consultants, university students and experts, agricultural food supply chain experts, and extension professionals. These differences offer a broad understanding of the diverse contexts in which climate-smart technologies are being adopted in agriculture.
Further, the findings of this study highlighted the importance of actionable insights for increasing the adoption of CSA technologies. Specifically, the significant relationship between perceived complexity and adoption intent emphasizes the importance of technology design and implementation of strategies. The insights drawn from our analysis indicated that stakeholders, such as policymakers, technology developers, and extension professionals, should put efforts on reducing perceived complexity to encourage adoption. Design interventions, such as simplifying user interfaces, providing training targeted to various farmer educational backgrounds, and creating user-friendly instructional materials, could potentially address these complexities. These approaches could increase the likelihood that farmers will adopt and integrate climate-smart technologies into their practices.

4.3. The Role of Complexity in Research on Climate-Smart Agriculture Adoption

The meta-analysis results reveal significant variability in the conceptualization and measurement of innovation complexity across the CSA adoption literature. This variability is evident in the different items and scales of constructs used, such as perceived ease of use, expected effort, and complexity, as well as the variety of items used to measure these constructs. The use of different constructs and definitions, although aligned with various theoretical frameworks, complicates the comparison and synthesis of findings across studies. For instance, perceived ease of use and effort expectancy, while similar, are not identical and may capture slightly different aspects of user perceptions. The inconsistency in measurement items and scales highlights a critical issue of the lack of a unified instrument to measure the complexity construct uniformly across studies.
In addition, the findings of this study suggest a strong correlation between complexity and the dependent variables related to adoption. These findings support work positioning complexity of the technology as a major determiner of end use (Davis [24,32]; Rogers [27]; Taheri et al. [25]; Thomas et al. [46]; Venkatesh et al. [26]). Based upon visual analysis of the funnel plot, no major differences exist between studies using the TAM and UTAUT frameworks. However, the findings reject scholarship that has found complexity to be non-influential in the decision-making process [22,48,49]. The findings may relate to how different groups perceive and are impacted by complexity [43], as multiple factors impact complexity as a construct. For example, Molina-Maturano et al. [49] suggested the insignificance of complexity in their study may be explained by the idea that farmers were already familiar with cell phones. The same may be true for other innovations farmers are more familiar with, particularly for innovations with similar applications. Adopters usually tend to adopt them in phases because they might have an understanding of the complexity of the innovation [90].

5. Conclusions and Recommendations

The geographical diversity of these studies highlights a global interest in climate-smart technologies, which are increasingly recognized as crucial for enhancing agricultural productivity to meet the food demand while mitigating environmental impacts. The involvement of multiple regions—including developed countries like the United States, Germany, and Italy, as well as developing nations such as Bangladesh, Iran, and India—shows that the need for sustainable agricultural practices adopted broadly. However, the differences in economic, cultural, and regulatory environments mean that the adoption of these technologies is not uniform, requiring region-specific strategies for implementation. Policymakers and agricultural professionals should consider local conditions when promoting technology adoption to ensure that solutions meet the needs of farmers in each region. This includes providing targeted support and resources to overcome barriers related to CAS adoption, contributing to more resilient and sustainable agricultural systems and food security.
In addition, most studies involve farmers and agricultural professionals as participants, highlighting their central role in the adoption of climate-smart technologies. Farmers who received more technological information and guidance through the knowledge transfer process have been shown to be less impacted by complexity in the adoption process [43,91], which presents the opportunity for practitioners like Extension professionals to facilitate the climate-smart agriculture technology knowledge transfer process [20]. This study adopted by the various climate-smart agriculture studies focuses on groups with different backgrounds and highlights the need for a holistic approach where stakeholders are involved in the development and dissemination of the technology. For example, other sources of information on how to navigate technological complexity may include other farmers (i.e., early adopters), who have been a traditionally trusted and preferred source for farmers when discussing smart agricultural technologies [12,92]. This may take place through individual connections in a mentorship program or by inviting early adopters to host a workshop. Extension agents may need training on how to navigate and communicate the complexities of climate-smart agriculture technology [93], which could be accomplished through partnerships with the companies who produce these products. Extension agents may be better situated to transfer this information to farmers, as some research suggests farmers trust other sources more than technology vendors [12]. As technology continues to develop, continued research should investigate trust in information sources and social networks to identify the most trusted sources.
The literature has indicated that many of the adoption decisions of innovations come from the influence of individuals’ perceived innovation characteristics on the decision [27,28,50], and complexity is one of those innovation characteristics. The meta-analysis results of this study also confirm the relationship between complexity and adoption, which is a major influence on the adoption construct of how farmers perceive the usefulness or ease of use of new technologies. The insights gained from these models can inform the design of interventions that target specific barriers to adoption, such as lack of knowledge or perceived complexity. This theoretical understanding is essential for developing policies and programs that support the diffusion of climate-smart technologies. In addition, the findings of this study support the need for practitioner efforts intended to lower complexity barriers to meet farm-level and larger scale goals [1,4,7,8]. Efforts could focus on both navigating the innate complexity of technologies (i.e., lowering complexity’s impact on adoption) or lowering the complexity of the technology itself (i.e., using design thinking to add value by eliminating unnecessary complexity in the design of technologies). The extent to which people perceive complexity varies according to their background, with non-adopters usually perceiving complexity to a higher extent than other adopters, and different roles, such as policy decision makers and promotors, also varying in the extent to which they perceive complexity [43]. The 28 studies included in this systematic review have inconsistent results on whether complexity predicts adoption, which may be related to the different backgrounds of their study samples or the technology under consideration. In addition, the inconsistent results on the influence of complexity on adoption due to the different items and scales used to measure the concepts of complexity across contexts suggest that there is a need for the development of a standardized scale to measure complexity. Moreover, the variation of items in complexity construct measurement, ranging from simple statements about ease of use to more complex assessments of skill acquisition, can lead to fragmented insights and hinder the development of a consistent understanding of the innovative complexities of adopting CSA. Future research should focus on creating a standardized instrument for measuring innovation complexity. This instrument should incorporate the most relevant and widely accepted constructs, such as perceived ease of use and effort expectancy, and be adaptable to various technological contexts within CSA adoption.
Furthermore, we also recommend CSA technologies be designed with the end-user in mind to lower inherent complexity as much as possible. This may be accomplished by increased relationships between technology companies, farmers, and climate-smart technology experts (e.g., Extension agents and scholars). These knowledge transfers can occur in multiple formats, including hands-on workshops, farm demonstrations, and user-friendly resources and documents. Complexity issues for CSA technology may arise outside of traditional work hours, which presents the opportunity for resources such as help desks, hotlines, or AI chatbots to provide immediate troubleshooting advice. Research should investigate the efficacy of these initiatives to inform best practices for knowledge transfer specific to agricultural technologies.

Author Contributions

Conceptualization, C.-L.L.; methodology, C.-L.L. and G.O.; formal analysis, C.-L.L. and G.O.; investigation, C.-L.L.; data curation, C.-L.L. and G.O.; writing—original draft preparation, C.-L.L. and G.O.; writing—review and editing, C.-L.L., G.O. and P.L.; visualization, C.-L.L. and G.O.; supervision, C.-L.L.; validation, P.L. All authors have read and agreed to the published version of the manuscript.

Funding

This research received no external funding.

Data Availability Statement

Conflicts of Interest

The authors declare no conflicts of interest.

References

  1. Musa, S.F.P.D.; Basir, K.H.; Luah, E. The role of smart farming in sustainable development. Int. J. Asian Bus. Inf. Manag. 2022, 13, 1–12. [Google Scholar] [CrossRef]
  2. Hanley, A.; Brychkova, G.; Barbon, W.J.; Noe, S.M.; Myae, C.; Thant, P.S.; McKeown, P.C.; Gonsalves, J.; Spillane, C. Community-level impacts of climate-smart agriculture interventions on food security and dietary diversity in climate-smart villages in Myanmar. Climate 2021, 9, 166. [Google Scholar] [CrossRef]
  3. Lioutas, E.D.; Charatsari, C. Smart farming and short food supply chains: Are they compatible. Land Use Policy 2020, 94, 104541. [Google Scholar] [CrossRef]
  4. Anser, M.K.; Yousaf, S.U.; Usman, B.; Azam, K.; Bandar, N.F.A.; Jambari, H.; Sriyanto, S.; Zaman, K. Beyond climate change: Examining the role of environmental justice, agricultural mechanization, and social expenditures in alleviating rural poverty. Sustain. Futures 2023, 6, 100130. [Google Scholar] [CrossRef]
  5. Sekabira, H.; Tepa-Yotto, G.T.; Ahouandjinou, A.R.M.; Thunes, K.H.; Pittendrigh, B.; Kaweesa, Y.; Tamo, M. Are digital services the right solution for empowering smallholder farmers? A perspective enlightened by COVID-19 experiences to inform smart IPM. Front. Sustain. Food Syst. 2023, 7, 983063. [Google Scholar] [CrossRef]
  6. Zuo, A.; Wheeler, S.A.; Sun, H. Flying over the farm: Understanding drone adoption by Australian irrigators. Precis. Agric. 2021, 22, 1973–1991. [Google Scholar] [CrossRef]
  7. Bonfiglio, A. Unveiling innovation imperatives in agriculture: A data-driven framework for identifying latent needs and regional priorities. Sustain. Futures 2024, 8, 100273. [Google Scholar] [CrossRef]
  8. Prakash, C.; Singh, L.P.; Gupta, A.; Lohan, S.K. Advancements in smart farming: A comprehensive review of IoT, wireless communication, sensors, and hardware for agricultural automation. Sens. Actuators A Phys. 2023, 362, 114605. [Google Scholar] [CrossRef]
  9. Balafoutis, A.T.; Van Evert, F.K.; Fountas, S. Smart farming technology trends: Economic and environmental effects, labor impact, and adoption readiness. Agronomy 2020, 10, 743. [Google Scholar] [CrossRef]
  10. Teklu, A.; Simane, B.; Bezabih, M. Multiple adoption of climate-smart agriculture innovation for agricultural sustainability: Empirical evidence from the Upper Blue Nile Highlands of Ethiopia. Clim. Risk Manag. 2023, 39, 100477. [Google Scholar] [CrossRef]
  11. Keskin, M.; Sekerli, Y.E. Awareness and adoption of precision agriculture in the Cukurova region of Turkey. Agron. Res. 2016, 14, 1307–1320. Available online: https://www.researchgate.net/publication/303383131_Awareness_and_adoption_of_precision_agriculture_in_the_Cukurova_region_of_Turkey_Full_Text_Cukurova_Bolgesinde_Hassas_Tarim_Teknolojilerinin_Bilinirlik_ve_Kullanim_Durumu (accessed on 19 September 2024).
  12. Dilleen, G.; Claffey, E.; Foley, A.; Doolin, K. Investigating knowledge dissemination and social media use in the farming network to build trust in smart farming technology adoption. J. Bus. Ind. Mark. 2023, 38, 1754–1765. [Google Scholar] [CrossRef]
  13. Velandia, M.; Lambert, D.M.; Jenkins, A.; Roberts, R.K.; Larson, J.A.; English, B.C.; Martin, S.W. Precision farming information sources used by cotton farmers and implications for Extension. J. Ext. 2010, 48, 20. [Google Scholar] [CrossRef]
  14. Daheim, C.; Krijn, P.; Schrijver, R. Precision Agriculture and the Future of Farming in Europe—Scientific Foresight Study; European Parliament: Strasbourg, France, 2017. [Google Scholar]
  15. Ingram, J.; Maye, D.; Bailye, C.; Barnes, A.; Bear, C.; Bell, M.; Cutress, D.; Davies, L.; Boon, A.; Dinnie, L.; et al. What are the priority research questions for digital agriculture? Land Use Policy 2022, 114, 105962. [Google Scholar] [CrossRef]
  16. McFadden, J.; Njuki, E.; Griffin, T. Precision Agriculture in the Digital Era: Recent Adoption on U.S. Farms; Economic Information Bulletin Number 248; United States Department of Agriculture Economic Research Service: Washington, DC, USA, 2023. Available online: https://www.ers.usda.gov/webdocs/publications/105894/eib-248.pdf (accessed on 6 September 2024).
  17. Gemtou, M.; Kakkavou, K.; Anastasiou, E.; Fountas, S.; Pedersen, S.M.; Isakhanyan, G.; Erekalo, K.T.; Pazos-Vidal, S. Farmers’ transition to climate-smart agriculture: A systematic review of the decision-making factors affecting adoption. Sustainability 2024, 16, 2828. [Google Scholar] [CrossRef]
  18. Giua, C.; Materia, V.C.; Camanzi, L. Smart farming technologies adoption: Which factors play a role in the digital transition? Technol. Soc. 2020, 68, 101869. [Google Scholar] [CrossRef]
  19. Sood, A.; Bhardwaj, A.K.; Sharma, R.K. Perceptions of facilitators towards adoption of AI-based solutions for sustainable agriculture. J. Decis. Syst. 2023, 1–35. [Google Scholar] [CrossRef]
  20. Dixit, K.; Aashish, K.; Dwivedi, A.K. Antecedents of smart farming adoption to mitigate the digital divide–extended innovation diffusion model. Technol. Soc. 2023, 75, 102348. [Google Scholar] [CrossRef]
  21. Izadi, N.; Saadi, H.; Kooshki, L. Analysis of smallholder farmers’ dynamics of knowledge sharing, skill transfer, and participation in using biogas (application of social network analysis). Sustain. Futures 2024, 8, 100271. [Google Scholar] [CrossRef]
  22. Naspetti, S.; Mandolesi, S.; Buysse, J.; Latvala, T.; Nicholas, P.; Padel, S.; Van Loo, E.J.; Zanoli, R. Determinants of the acceptance of sustainable production strategies among dairy farmers: Development and testing of a modified technology acceptance model. Sustainability 2017, 9, 1805. [Google Scholar] [CrossRef]
  23. Tey, Y.S.; Brindal, M. A meta-analteyysis of factors driving the adoption of precision agriculture. Precis. Agric. 2021, 23, 353–372. [Google Scholar] [CrossRef]
  24. Davis, F.D.; Bagozzi, R.P.; Warshaw, P.R. Technology Acceptance Model. Manag. Sci. 1989, 35, 982–1003. Available online: https://dspace.mit.edu/bitstream/handle/1721.1/15192/14927137MIT.pdf?sequence=2 (accessed on 4 September 2024). [CrossRef]
  25. Taheri, F.; D’Haese, M.; Fiems, D.; Azadi, H. The intentions of agricultural professionals towards diffusing wireless sensor networks: Application of technology acceptance model in Southwest Iran. Technol. Forecast. Soc. Chang. 2022, 185, 122075. [Google Scholar] [CrossRef]
  26. Venkatesh, V.; Morris, M.G.; Davis, G.B.; Davis, F.D. User acceptance of information technology: Toward a unified view. MIS Q. 2003, 27, 425–478. [Google Scholar] [CrossRef]
  27. Rogers, E.M. Diffusion of Innovations, 5th ed.; Free Press: New York, NY, USA, 2003. [Google Scholar]
  28. Lee, C.-L.; Strong, R.; Dooley, K.E. Analyzing precision agriculture adoption across the globe: A systematic review of scholarship from 1999–2020. Sustainability 2021, 13, 10295. [Google Scholar] [CrossRef]
  29. Rezaei-Moghaddam, K.; Salehi, S. Agricultural specialists’ intention toward precision agriculture technologies: Integrating innovation characteristics to technology acceptance model. Afr. J. Agric. Res. 2010, 5, 1191–1199. [Google Scholar]
  30. Bandura, A. Social cognitive theory: An agentic perspective. Annu. Rev. Psychol. 2001, 52, 1–26. [Google Scholar] [CrossRef]
  31. Ajzen, I. The Theory of planned behavior. Organ. Behav. Hum. Decis. Process. 1991, 50, 179–211. Available online: https://ojs.unbc.ca/index.php/design/article/download/1887/1414 (accessed on 4 September 2024). [CrossRef]
  32. Mohr, S.; Kühl, R. Acceptance of artificial intelligence in German agriculture: An application of the Technology Acceptance Model and the Theory of Planned Behavior. Precis. Agric. 2021, 22, 1816–1844. [Google Scholar] [CrossRef]
  33. Aubert, B.A.; Schroeder, A.; Grimaudo, J. IT as enabler of sustainable farming: An empirical analysis of farmers’ adoption decision of precision agriculture technology. Decis. Support Syst. 2012, 54, 510–520. [Google Scholar] [CrossRef]
  34. Lee, C.-L.; Strong, R.; Briers, G.; Murphrey, T.; Rajan, N.; Rampold, S. A correlational study of two US state Extension professionals’ behavioral intentions to improve sustainable food chains through precision farming practices. Foods 2023, 12, 2208. [Google Scholar] [CrossRef] [PubMed]
  35. Kirungi, D.; Senyange, B.; Wesana, J.; Sseguya, H.; Gellynck, X.; Steur, H.D. Entrepreneurial and attitudinal determinants for adoption of climate-smart agriculture technologies in Uganda. Cogent Food Agric. 2023, 9, 2282236. [Google Scholar] [CrossRef]
  36. Venkatesh, V.; Davis, F.D. A theoretical extension of the technology acceptance model: Four longitudinal field studies. Manag. Sci. 2000, 46, 186–204. [Google Scholar] [CrossRef]
  37. Fishbein, M.; Ajzen, I. Belief, Attitude, Intention, and Behavior: An Introduction to Theory and Research; Addison-Wesley: Reading, MA, USA, 1975. [Google Scholar]
  38. Canavari, M.; Medici, M.; Wongprawmas, R.; Xhakollari, V.; Russo, S. A path model of the intention to adopt variable rate irrigation in Northeast Italy. Sustainability 2021, 13, 1879. [Google Scholar] [CrossRef]
  39. Michels, M.; Bonke, V.; Musshoff, O. Understanding the adoption of smartphone apps in crop protection. Precis. Agric. 2020, 21, 1209–1226. [Google Scholar] [CrossRef]
  40. von Veltheim, F.; Theuvsen, L.; Heise, H. German farmers’ intention to use autonomous field robots: A PLS-analysis. Precis. Agric. 2022, 23, 670–697. [Google Scholar] [CrossRef]
  41. Otter, V.; Deutsch, M. Did policy lose sight of the wood for the trees? An UTAUT-based partial least squares estimation of farmers acceptance of innovative sustainable land use systems. Land Use Policy 2023, 126, 106467. [Google Scholar] [CrossRef]
  42. Salimi, M.; Pourdarbani, R.; Nouri, B.A. Factors affecting the adoption of agricultural automation using Davis’s acceptance model (Case study: Ardabil). Acta Technol. Agric. 2020, 23, 30–39. [Google Scholar] [CrossRef]
  43. Vecchio, Y.; De Rosa, M.; Pauselli, G.; Masi, M.; Adinolfi, F. The leading role of perception: The FACOPA model to comprehend innovation adoption. Agric. Food Econ. 2022, 10, 5. [Google Scholar] [CrossRef]
  44. Nowak, B. Precision agriculture: Where do we stand? A review of the adoption of precision agriculture technologies on field crops farms in developed countries. Agric. Res. 2021, 10, 515–522. [Google Scholar] [CrossRef]
  45. Rizzo, G.; Migliore, G.; Schifani, G.; Vecchio, R. Key factors influencing farmers’ adoption of sustainable innovations: A systematic literature review and research agenda. Org. Agric. 2024, 14, 57–84. [Google Scholar] [CrossRef]
  46. Thomas, R.J.; O’Hare, G.; Coyle, D. Understanding technology acceptance in smart agriculture: A systematic review of empirical research in crop production. Technol. For. Soc. Chang. 2023, 189, 122374. [Google Scholar] [CrossRef]
  47. Ofori, M.; El-Gayar, O. Drivers and challenges of precision agriculture: A social media perspective. Precis. Agric. 2021, 22, 1019–1044. [Google Scholar] [CrossRef]
  48. Schukat, S.; Heise, H. Towards an understanding of the behavioral intentions and actual use of smart products among German farmers. Sustainability 2021, 13, 6666. [Google Scholar] [CrossRef]
  49. Molina-Maturano, J.; Verhulst, N.; Tur-Cardona, J.; Güereña, D.T.; Gardeazábal-Monsalve, A.; Govaerts, B.; Speelman, S. Understanding smallholder farmers’ intention to adopt agricultural apps: The role of mastery approach and innovation hubs in Mexico. Agronomy 2021, 11, 194. [Google Scholar] [CrossRef]
  50. Pathak, H.S.; Brown, P.; Best, T. A systematic literature review of the factors affecting the precision agriculture adoption process. Precis. Agric. 2019, 20, 1292–1316. [Google Scholar] [CrossRef]
  51. Gough, D.; Oliver, S.; Thomas, J. An Introduction to Systematic Reviews; SAGE Publications: Thousand Oaks, CA, USA, 2017. [Google Scholar]
  52. Field, A.P.; Gillett, R. How to do a meta-analysis. Br. J. Math. Stat. Psychol. 2010, 63, 665–694. [Google Scholar] [CrossRef]
  53. Card, N.A. Applied Meta-Analysis for Social Science Research; Guilford Press: New York, NY, USA, 2012. [Google Scholar]
  54. Page, M.J.; McKenzie, J.E.; Bossuyt, P.M.; Boutron, I.; Hoffmann, T.C.; Mulrow, C.D.; Shamseer, L.; Tetzlaff, J.M.; Akl, E.A.; Brennan, S.E.; et al. The PRISMA 2020 statement: An updated guideline for reporting systematic reviews. BMJ 2021, 372, n71. [Google Scholar] [CrossRef] [PubMed]
  55. Kombat, R.; Sarfatti, P.; Fatunbi, O.A. A review of climate-smart agriculture technology adoption by farming households in Sub-Saharan Africa. Sustainability 2021, 13, 12130. [Google Scholar] [CrossRef]
  56. Mizik, T. Climate-smart agriculture on small-scale farms: A systematic literature review. Agronomy 2021, 11, 1096. [Google Scholar] [CrossRef]
  57. Taylor, M. Climate-smart agriculture: What is it good for? J. Peasant Stud. 2017, 45, 89–107. [Google Scholar] [CrossRef]
  58. van de Schoot, R.; de Bruin, J.; Schram, R.; de Boer, J.; Weijdema, F.; Kramer, B.; Huijts, M.; Hoogerwerf, M.; Ferdinands, G.; Harkema, A.; et al. An open source machine learning framework for efficient and transparent systematic reviews. Nat. Mach. Intell. 2021, 3, 125–133. [Google Scholar] [CrossRef]
  59. Adamse, I.; Eichelsheim, V.; Blokland, A.; Schoonmade, L. The risk and protective factors for entering organized crime groups and their association with different entering mechanisms: A systematic review using ASReview. Eur. J. Criminol. 2024, 21. [Google Scholar] [CrossRef]
  60. Quan, Y.; Tytko, T.; Hui, B. Utilizing ASReview in screening primary studies for meta-research in SLA: A step-by-step tutorial. Res. Methods Appl. Linguist. 2024, 3, 100101. [Google Scholar] [CrossRef]
  61. Romanov, S.; Siqueira, A.S.; de Bruin, J.; Teijema, J.; Hofstee, L.; van de Schoot, R. Optimizing ASReview simulations: A generic multiprocessing solution for ‘light-data’and ‘heavy-data’ users. Data Intell. 2024, 6, 320–343. [Google Scholar] [CrossRef]
  62. Valentine, J.C.; Pigott, T.D.; Rothstein, H.R. How many studies do you need? A primer on statistical power for meta-analysis. J. Educ. Behav. Stat. 2010, 35, 215–247. [Google Scholar] [CrossRef]
  63. Bohlmeijer, E.; Prenger, R.; Taal, E.; Cuijpers, P. The effects of mindfulness-based stress reduction therapy on mental health of adults with a chronic medical disease: A meta-analysis. J. Psychosom. Res. 2010, 68, 539–544. [Google Scholar] [CrossRef]
  64. Baker, M.T.; Lu, P.; Parrella, J.A.; Leggette, H.R. Investigating the effect of consumers’ knowledge on their acceptance of functional foods: A systematic review and meta-analysis. Foods 2022, 11, 1135. [Google Scholar] [CrossRef]
  65. Viechtbauer, W. Conducting meta-analyses in R with the metafor package. J. Stat. Softw. 2010, 36, 1–48. [Google Scholar] [CrossRef]
  66. Adrian, A.M.; Norwood, S.H.; Mask, P.L. Producers’ perceptions and attitudes toward precision agriculture technologies. Comput. Electron. Agric. 2005, 48, 256–271. [Google Scholar] [CrossRef]
  67. Caffaro, F.; Cavallo, E. Perceived barriers to the adoption of smart farming technologies in Piedmont region, Northwestern Italy: The role of user and farm variables. In Innovative Biosystems Engineering for Sustainable Agriculture, Forestry and Food Production: International Mid-Term Conference 2019 of the Italian Association of Agricultural Engineering (AIIA); Springer International Publishing: Berlin/Heidelberg, Germany, 2020; pp. 681–689. [Google Scholar] [CrossRef]
  68. Far, S.T.; Rezaei-Moghaddam, K. Determinants of Iranian agricultural consultants’ intentions toward precision agriculture: Integrating innovativeness to the technology acceptance model. J. Saudi Soc. Agric. Sci. 2017, 16, 280–286. [Google Scholar] [CrossRef]
  69. Michels, M.; von Hobe, C.F.; Weller von Ahlefeld, P.J.; Musshoff, O. The adoption of drones in German agriculture: A structural equation model. Precis. Agric. 2021, 22, 1728–1748. [Google Scholar] [CrossRef]
  70. Narwane, V.S.; Gunasekaran, A.; Gardas, B.B. Unlocking adoption challenges of IoT in Indian agricultural and food supply chain. Smart Agric. Technol. 2022, 2, 100035. [Google Scholar] [CrossRef]
  71. Tama, R.A.Z.; Hoque, M.M.; Liu, Y.; Alam, M.J.; Yu, M. An application of partial least squares structural equation modeling (PLS-SEM) to examining farmers’ behavioral attitude and intention towards conservation Agriculture in Bangladesh. Agriculture 2023, 13, 503. [Google Scholar] [CrossRef]
  72. Vasan, M.; Yoganandan, G. Does the belief of farmers on land as God influence the adoption of smart farming technologies? Benchmarking Int. J. 2023, 31, 2338–2359. [Google Scholar] [CrossRef]
  73. Wang, Y.J.; Wang, N.; Li, M.; Li, H.; Huang, G.Q. End-users’ acceptance of intelligent decision-making: A case study in digital agriculture. Adv. Eng. Inform. 2024, 60, 102387. [Google Scholar] [CrossRef]
  74. Anubhav, K.; Agarwal, M.; Aashish, K. Smart farming for future: A structural relation analysis of attitude, facilitating condition, economic benefit and government support. Technol. Anal. Strateg. Manag. 2023, 1–15. [Google Scholar] [CrossRef]
  75. Li, W.; Clark, B.; Taylor, J.A.; Kendall, H.; Jones, G.; Li, Z.; Jin, S.; Zhao, C.; Yang, G.; Shuai, C.; et al. A hybrid modelling approach to understanding adoption of precision agriculture technologies in Chinese cropping systems. Comput. Electron. Agric. 2020, 172, 105305. [Google Scholar] [CrossRef]
  76. Ronaghi, M.H.; Forouharfar, A. A contextualized study of the usage of the Internet of things (IoTs) in smart farming in a typical Middle Eastern country within the context of Unified Theory of Acceptance and Use of Technology model (UTAUT). Technol. Soc. 2020, 63, 101415. [Google Scholar] [CrossRef]
  77. Schukat, S.; Heise, H. Smart products in livestock farming—An empirical study on the attitudes of German farmers. Animals 2021, 11, 1055. [Google Scholar] [CrossRef]
  78. Oh, S.; Ahn, J.; Kim, B. Adoption of broadband Internet in Korea: The role of experience in building attitudes. J. Inform. Technol. 2023, 18, 267–280. [Google Scholar] [CrossRef]
  79. Irby, T.L.; Strong, R. Agricultural education students’ acceptance and self-efficacy of mobile technology in classrooms. NACTA J. 2013, 57, 82–87. [Google Scholar]
  80. Beza, E.; Reidsma, P.; Poortvliet, P.M.; Belay, M.M.; Bijen, B.S.; Kooistra, L. Exploring farmers’ intentions to adopt mobile Short Message Service (SMS) for citizen science in agriculture. Comput. Electron. Agric. 2018, 151, 295–310. [Google Scholar] [CrossRef]
  81. Cohen, J. Statistical Power Analysis for the Behavioral Sciences; Routledge: London, UK, 1988. [Google Scholar]
  82. Gignac, G.E.; Szodorai, E.T. Effect size guidelines for individual differences researchers. Pers. Individ. Differ. 2016, 102, 74–78. [Google Scholar] [CrossRef]
  83. Thornton, A.; Lee, P. Publication bias in meta-analysis: Its causes and consequences. J. Clin. Epidemiol. 2000, 53, 207–216. [Google Scholar] [CrossRef]
  84. Higgins, J.P.; Thompson, S.G.; Deeks, J.J.; Altman, D.G. Measuring inconsistency in meta-analyses. BMJ 2003, 327, 557–560. [Google Scholar] [CrossRef]
  85. Ioannidis, J.P.; Patsopoulos, N.A.; Evangelou, E. Uncertainty in heterogeneity estimates in meta-analyses. BMJ 2007, 335, 914–916. [Google Scholar] [CrossRef]
  86. Chandra, A.; McNamara, K.E.; Dargusch, P. Climate-smart agriculture: Perspectives and framings. Clim. Policy 2017, 18, 526–541. [Google Scholar] [CrossRef]
  87. Mwongera, C.; Shikuku, K.M.; Twyman, J.; Läderach, P.; Ampaire, E.; Van Asten, P.; Twomlow, S.; Winowiecki, L.A. Climate smart agriculture rapid appraisal (CSA-RA): A tool for prioritizing context-specific climate smart agriculture technologies. Agric. Syst. 2017, 151, 92–203. [Google Scholar] [CrossRef]
  88. Tzounis, A.; Katsoulas, N.; Bartzanas, T.; Kittas, C. Internet of Things in agriculture, recent advances and future challenges. Biosyst. Eng. 2017, 164, 31–48. [Google Scholar] [CrossRef]
  89. Chen, Q.; Wachenheim, C.; Zheng, S. Land scale, cooperative membership and benefits information: Unmanned aerial vehicle adoption in China. Sustain. Futures 2020, 2, 100025. [Google Scholar] [CrossRef]
  90. Miller, N.J.; Griffin, T.W.; Ciampitti, I.A.; Sharda, A. Farm adoption of embodied knowledge and information intensive precision agriculture technology bundles. Precis. Agric. 2019, 20, 348–361. [Google Scholar] [CrossRef]
  91. Machete, K.C.; Senyolo, M.P.; Gidi, L.S. Adaptation through climate-smart agriculture: Examining the socioeconomic factors influencing the willingness to adopt climate-smart agriculture among smallholder maize farmers in the Limpopo Province, South Africa. Climate 2024, 12, 74. [Google Scholar] [CrossRef]
  92. Kernecker, M.; Knierim, A.; Wurbs, A.; Kraus, T.; Borges, F. Experience versus expectation: Farmers’ perceptions of smart farming technologies for cropping systems across Europe. Precis. Agric. 2020, 21, 34–50. [Google Scholar] [CrossRef]
  93. Lee, C.L.; Strong, R.; Briers, G.; Murphrey, T.; Rajan, N.; Rampold, S. Factors predicting innovation-decisions: The effects of performance expectancy, social influence, and facilitating conditions on U.S. Extension’s promotion of precision agriculture technologies. NJAS-Impact Agric. Life Sci. 2024, 96, 2420111. [Google Scholar] [CrossRef]
Figure 1. Davis et al.’s [24] technology acceptance model with the complexity construct highlighted.
Figure 1. Davis et al.’s [24] technology acceptance model with the complexity construct highlighted.
Climate 12 00192 g001
Figure 2. Venkatesh et al.’s [26] unified theory of acceptance and use of technology with the complexity construct highlighted.
Figure 2. Venkatesh et al.’s [26] unified theory of acceptance and use of technology with the complexity construct highlighted.
Climate 12 00192 g002
Figure 3. Data selection procedure.
Figure 3. Data selection procedure.
Climate 12 00192 g003
Figure 4. Geographical distribution of the 28 articles included in the study and their use of theoretical frameworks.
Figure 4. Geographical distribution of the 28 articles included in the study and their use of theoretical frameworks.
Climate 12 00192 g004
Figure 5. Forest plot of the 15 effect sizes (correlation coefficients (r = 0.51)) with corresponding 95% confidence intervals (CI = [0.05, 0.72]).
Figure 5. Forest plot of the 15 effect sizes (correlation coefficients (r = 0.51)) with corresponding 95% confidence intervals (CI = [0.05, 0.72]).
Climate 12 00192 g005
Figure 6. Funnel plot of the 15 effect sizes in which standard error is plotted against the effect size measures.
Figure 6. Funnel plot of the 15 effect sizes in which standard error is plotted against the effect size measures.
Climate 12 00192 g006
Table 1. Description of search terms and combinations used in the systematic review’s data collection process.
Table 1. Description of search terms and combinations used in the systematic review’s data collection process.
Terms (T)T1: Climate-smart agricultureT5: Precision farmingT9: Usage
T2: Climate-smart agricultureT6: Technolog*T10: Implementation
T3: Precision agricultureT7: AdoptionT11: Application
T4: Smart farmingT8: Use
Combination (C)C: (T1 or T2 or T3 or T4 or T5) AND (T6) AND (T7 or T8 or T9 or T10 or T11)
Table 2. Characteristics of 28 studies included in the systematic review.
Table 2. Characteristics of 28 studies included in the systematic review.
Author(s) (Year) [reference]Data Analysis MethodologyTheoretical FrameworkLocationType of Climate-Smart TechnologySample MembersSample SizeComplexity Significant Indicator (Y/N)
Adrian et al. [66]SEMTAMAlabama (United States)Precision agriculture technologiesRow crop farmers85N
Aubert et al. [33]SEMTAMQuebec (Canada)Precision agricultural technologiesFarm operators438Y
Caffaro et al. [67]SEMTAMItalySmart farming technologiesMale farmers314-
Canavari et al. [38]SEMTAMNortheast ItalyVariable rate irrigationFruit and grapevine producers138N
Far and Rezaei-Moghaddam [68]SEMTAMIranPrecision agriculture technologiesAgricultural consultants183N
Michels et al. [69]SEMTAMGermanyDronesFarmers167N
Mohr et al. [32]SEMTAMGermanyArtificial intelligenceCrop farmers84-
Narwane et al. [70]DEMATELTAMIndiaInternet of Things technologyAgricultural food supply chain experts16-
Naspetti et al. [22]SEMTAMUnited KingdomSustainable production strategiesOrganic and low-input dairy farmers190-
Rezaei-Moghaddam and Salehi [29]SEMTAMKhuzestan and Fars (Iran)Precision agricultural technologiesAgricultural specialists249N
Salimi et al. [42]SEMTAMIranAgricultural automationUniversity students, farmers, experts in agriculture378-
Taheri et al. [25]SEMTAMSouthwest IranWireless sensor networksAgricultural professionals109-
Tama et al. [71]SEMTAMBangladeshConservation agriculture practicesFarmers201-
Vasan and Yoganandan [72]SEMTAMIndiaSmart farming technologiesFarmers500-
Wang et al. [73]SEMTAMNortheast ChinaIntelligent decision-makingFarmers and agricultural practitioners450Y
Anubhav et al. [74]SEMUTAUTIndiaSmart farming technologiesFull-time farmers597-
Giua et al. [18]SEMUTAUTItalySmart farming technologiesFarmers474-
Lee et al. [34]CorrelationUTAUTTennessee and California (United States)Precision farming practicesExtension professionals: precision farming102N
Li et al. [75]SEMUTAUTChinaPrecision agriculture technologiesFarmers449-
Michels et al. [39]SEMUTAUTGermanySmartphone appsFarmers207Y
Molina-Maturano et al. [49]SEMUTAUTGuanajuato (Mexico)Agricultural appsFarmers394N
Ronaghi and Forouharfar [76]SEMUTAUTIranInternet of Things technologyAdult farmers392Y
Schukat and Heise [48]SEMUTAUTGermanySmart productsFarmers523N
Schukat and Heise [77]Factor and cluster analysisUTAUTGermanyLivestock smart productsLivestock farmers422-
Sood et al. [19]SEMUTAUTNorthern IndiaAI-based solutionsAgricultural facilitators: University members, Extension agents, Co-operatives205N
von Veltheim et al. [40]SEMUTAUTGermanyAutonomous field robotsFarmers500Y
Dixit et al. [20]SEMDOIIndiaSmart farming technologiesFull-time farmers597-
Kirungi et al. [35]SEMTPB, DOIUgandaClimate-smart agriculture technologiesAdult coffee farmers230Y
Note. SEM = structural equation modeling; TPB = Theory of Planned Behavior; DOI = Theory of Diffusion of Innovation; MCDM = Multi-criteria decision-making; WEDBA = Weighted Euclidean Distance-Based Approach; DEMATEL = decision-making trial and evaluation laboratory; “-” = not included in the systematic review.
Table 3. Description of measurement approaches used in the meta-analysis.
Table 3. Description of measurement approaches used in the meta-analysis.
Author(s) (Year)ConstructConstruct DefinitionItemsScaleSource of the Instrument
Adrian et al. [66]Perceived Ease of UseAs the belief that using a particular technology will be free of physical and mental effort.(1) Learning to use precision agriculture tools will be easy.
(2) It will be easy for me to remember how to perform tasks using precision agriculture tools.
(3) Precision agriculture tools will be easy to use.
(4) The uses for precision agriculture tools are clear and understandable.
N/ADavis [24]
Aubert et al. [33]Perceived Ease of UseMeasures the perception of the ease with which precision agriculture technology can be made usable (or integrated) in daily tasks.N/A1–5Oh et al. [78]
Canavari et al. [38]Perceived Ease of UseThe degree to which the user expects the technology to be free of effort.(1) VRI could be used easily.
(2) Using VRI will not require a lot of effort.
(3) It would be easy for me to become skillful at using VRI on the farm.
1–7Davis [24]
Far and Rezaei-Moghaddam [68]Perceived Ease of UseThe degree to which the prospective user expects the target system to be free of effort.N/A1–5Davis [24]
Kirungi et al. [35]ComplexityThe degree to which the adopter believes that the innovation will not be difficult to understand and its use will be effortless.(1) I believe that it is easy to practice CSA for a particular purpose.
(2) Overall, I believe that practicing CSA is easy.
(3) Guidelines for practicing CSA are easy for me.
1–7Rogers [27]
Lee et al. [34]Effort ExpectancyThe perception of ease of use. If individuals feel they do not need to make a huge effort to use technology, their willingness to use it will increase.(1) It is easy for me to improve my skills in promoting PATs.
(2) Learning to promote PATs is easy for me.
(3) I find it easy to promote PATs.
(4) I find it easy to promote PATs to do what I want to do.
1–5Irby and Strong [79]
Michels et al. [39]Effort ExpectancyThe degree of ease an individual associates with using a system, with a positive effect on BI assumed.(1) The handling of a crop protection smartphone app would be simple and understandable for me.
(2) All in all, I would find crop protection smartphone apps to be easy to use tools.
(3) I believe that the use of crop protection smartphone apps would be easy for me to learn.
N/AVenkatesh et al. [26]
Michels et al. [69]Perceived Ease of UseIndividuals’ belief that using a technology is free of effort.(1) I think learning to use drones would be easy for me.
(2) Overall, I think drones are easy to use instruments.
(3) Usage of drones seems understandable for me.
(4) To learn how to use drones is no problem for me.
1–5N/A
Molina-Maturano et al. [49]Effort ExpectancyThe degree of ease associated with farmers’ use of a technology.(1) Learning how to use a mobile phone (cellphone)’ app is easy for me.
(2) Interaction with a mobile phone (cellphone)’ app is clear and comprehensive.
(3) I find the mobile phone (cellphone)’ apps easy to use.
(4) It is easy for me to become skillful at using mobile phone (cellphone)’ apps.
1–7Beza et al. [80] and Venkatesh et al. [26]
Rezaei-Moghaddam and Salehi [29] Perceived Ease of Use The belief that using a particular technology will be free of physical and mental effort. N/A 1–5Davis [24]
Ronaghi and Forouharfar [76]Effort ExpectancyIndividuals’ perception of the ease of technology usage.(1) Learning how to use the IoT technologies is easy for me.
(2) My first impression of the IoT technologies could be described as clear, favorable, and comprehensible.
(3) I found the IoT technologies easy to use.
1–5Venkatesh et al. [26]
Schukat and Heise [48]Effort ExpectancyThe expected effort when using a system or technology, whereby the expected effort is often perceived as higher for a new system in the initial phase.(1) I imagine the handling of smart products to be difficult.
(2) Learning how to use smart products is difficult for me.
(3) Safe handling of smart products is not easy for me.
(4) Using smart products presents a stress factor for me.
1–5N/A
Sood et al. [19]Effort ExpectancyThe degree of ease associated with the use of the system.(1) I think interaction of farmers with intelligent solutions would be clear and understandable.
(2) It would be easy for farmers to become skillful at using the intelligent solution.
(3) I think farmers would find the intelligent solutions easy to use.
(4) I think learning to operate the intelligent solutions is easy for farmers.
N/AGiua et al. (2022) and Venkatesh et al. [26]
von Veltheim et al. [40]Effort ExpectancyThe degree to which a user believes that a system will be free of effort or difficult to operate.(1) I imagine the operation of AFR to be difficult.
(2) Learning how to handle AFR would be difficult for me.
(3) A safe handling of AFR would be difficult for me.
1–5Venkatesh et al. [26]
Wang et al. [73]Perceived Ease of UseDescribes individuals’ subjective perception of how easy or difficult it is to learn and operate a technology.(1) It is easy to use intelligent decision-making to do what I want.
(2) I find intelligent decision-making to be easy to use.
(3) It is not easy for me to become skillful at using intelligent decision-making.
1–7Davis [24]
Disclaimer/Publisher’s Note: The statements, opinions and data contained in all publications are solely those of the individual author(s) and contributor(s) and not of MDPI and/or the editor(s). MDPI and/or the editor(s) disclaim responsibility for any injury to people or property resulting from any ideas, methods, instructions or products referred to in the content.

Share and Cite

MDPI and ACS Style

Lee, C.-L.; Orton, G.; Lu, P. Global Meta-Analysis of Innovation Attributes Influencing Climate-Smart Agriculture Adoption for Sustainable Development. Climate 2024, 12, 192. https://doi.org/10.3390/cli12110192

AMA Style

Lee C-L, Orton G, Lu P. Global Meta-Analysis of Innovation Attributes Influencing Climate-Smart Agriculture Adoption for Sustainable Development. Climate. 2024; 12(11):192. https://doi.org/10.3390/cli12110192

Chicago/Turabian Style

Lee, Chin-Ling, Ginger Orton, and Peng Lu. 2024. "Global Meta-Analysis of Innovation Attributes Influencing Climate-Smart Agriculture Adoption for Sustainable Development" Climate 12, no. 11: 192. https://doi.org/10.3390/cli12110192

APA Style

Lee, C.-L., Orton, G., & Lu, P. (2024). Global Meta-Analysis of Innovation Attributes Influencing Climate-Smart Agriculture Adoption for Sustainable Development. Climate, 12(11), 192. https://doi.org/10.3390/cli12110192

Note that from the first issue of 2016, this journal uses article numbers instead of page numbers. See further details here.

Article Metrics

Back to TopTop