Abstract
Shared energy storage (SES) systems, operating alongside microgrid clusters, can effectively mitigate power fluctuations and reduce the operational costs of independently constructed energy storage systems. Consequently, capacity allocation planning for SES in microgrid clusters has emerged as a crucial technology for achieving the system’s economical and efficient operation. This paper presents a two-layer optimal allocation model utilizing the Alternating Direction Method of Multipliers (ADMMs) to characterize system operation precisely. By establishing a refined mathematical model of a microgrid cluster with SES and analyzing the energy flow interaction mechanisms inside the cluster, along with the configuration scheme for SES capacity. The upper layer optimization of the model minimizes operational and maintenance investment costs associated with designing the capacity of SES, while the lower layer model optimizes the operation scheduling with the goal of the lowest operation cost. To illustrate the efficacy and benefits of the proposed method, case studies are conducted in different scenarios comparing the proposed method with the conventional method to analyze the power distribution features of the microgrid and the allocation planning of shared energy storage capacity.
1. Introduction
With the rapid development of the industrial economy, as well as the increasing scale of the power system, energy shortages and environmental pressures are becoming more and more serious, with the traditional fossil energy-based energy system and production and utilization model facing the challenge of transformation. To this end, accelerating the transformation and optimization of the energy structure and upgrading, advancing the energy revolution in-depth, and promoting the development of clean energy on a large scale have become the core tasks of change and development in the energy sector. As an important unit in the construction of the energy Internet, microgrids can effectively improve the regulation and management of renewable energy [] and have a significant role in promoting the large-scale utilization of clean energy, reducing the pollution emissions of traditional energy sources, and improving the efficiency of renewable energy consumption []. However, as the structure of a high percentage of renewable power systems evolves, it poses a challenge to the secure and stable operation of microgrid systems []. In order to solve this problem, it is necessary to further enhance the anti-interference ability of microgrids and improve the level of renewable energy consumption to guarantee the reliability of microgrid operation.
At present, the penetration rate of renewable energy is increasing, and interconnecting multiple microgrids to form a microgrid cluster system is an inevitable path to realize system energy complementarity, enhance the ability of local consumption of renewable energy, and strengthen the system’s anti-disturbance performance []. Many scholars have studied this technology. Chen et al. [] proposed a coordinated energy scheduling and flexibility management method for microgrid swarms based on Stackelberg’s game theory, which improves the market competitiveness of microgrid swarms’ flexible services, reduces the cost of grid flexibility scheduling, and enhances the flexibility and economy of the system by constructing a real-time flexible scheduling model. Bui et al. [] proposed a distributed optimization algorithm based on a multi-intelligent body system for the limitation of microgrid cluster information interaction, constructed a mixed integer linear programming model with excellent computational efficiency, and improved the reliability of the system power supply and reduced the system operation cost. Liu et al. [] addressed the problems of insufficient local consumption of renewable energy and high operation cost in microgrid cluster systems, based on the flexible grouping characteristics of network-microgrid clusters, proposed a hierarchical scheduling method considering the flexible grouping of multiple microgrids, constructed a hierarchical scheduling model of microgrids, and reduced the total operation cost of the network-microgrid clusters system’s total operation cost. Cunha et al. [] developed a cooperative operational model for a microgrid cluster and demonstrated that such cooperation markedly enhances the system’s power supply reliability and resilience against interference by comparing the economic and robustness advantages of independently operated microgrids with those of a cooperatively operated microgrid cluster. Gbadega et al. [] proposed a framework for optimal energy management in microgrids based on a K-means clustering algorithm and an artificial neural network model for renewable energy regulation and management dilemma in microgrids, which provides theoretical support to enhance the stability of the system. Rajaei et al. [] constructed an ADMM-based distributed power management framework for distribution systems containing multiple microgrids with renewable energy sources and analyzed its resource scheduling efficiency in microgrid clusters.
In addition, the energy storage system is another effective way to solve the intermittency and power volatility of renewable energy generation in microgrids and to enhance the flexibility and stability of system operation [], which realizes the temporal and spatial transfer of energy through energy storage and release mechanisms. SES represents an innovative energy storage technology rooted in the principles of the sharing economy. Its synergistic integration with microgrids has emerged as a crucial strategy for mitigating power fluctuations, enhancing energy storage efficiency, and lowering storage costs [,]. To thoroughly examine the operational mechanisms of SES within microgrid clusters, Siqin et al. [] investigate a microgrid cluster incorporating SES and propose a robust optimal scheduling method that facilitates the efficient utilization of renewable energy and enhances the economic operational efficiency of the microgrid cluster. Xie et al. [] proposed an optimal scheduling model for multiregional energy systems considering joint demand response and SES in order to enhance the demand-side response capability of multiregional energy systems and give full play to the regulating function of the energy storage power plant to realize complementary energy interactions of multiregional energy systems. Li et al. [] proposed a multi-timescale game scheduling strategy for microgrid clusters containing SES under demand response uncertainty in order to effectively reduce the operating cost of microgrid clusters, smooth power fluctuation, and realize the coordinated operation of microgrid and SES. Cao et al. [] proposed a hybrid energy storage and energy sharing model for the dilemma of the high investment cost of multi-energy microgrid high-capacity energy storage, which is based on the ADMM algorithm distributed solving and coordinates the interests of the microgrid and energy storage system through Nash equilibrium theory to improve the utilization rate of renewable energy sources and the system’s economic returns. Chen et al. [] proposed a dynamic collaborative scheduling and revenue-sharing framework for SES in response to the economic limitations of independently configured energy storage for microgrids, which improves the system’s collaborative scheduling efficiency and economic benefits and reduces the dependence of microgrids on the external power grid. Yang et al. [] constructed a two-layer optimization framework with multi-microgrid and SES collaborative planning, optimized the SES pricing strategy based on a genetic algorithm combined with the Wasserstein metric distributed robust optimization method, and solved the supply-demand two-layer uncertainty problem. Wen et al. [] proposed an optimal operation strategy based on hybrid game theory for the coordination of interests in renewable energy power fluctuation in SES smoothing microgrids to enhance the system resource utilization efficiency and the benefits of multi-party subjects. Li et al. [] took the microgrid cluster SES system as the research object, analyzed the economic characteristics of the hybrid energy storage mode, constructed an optimal configuration model of the SES system, and improved the economy of energy storage investment. Li et al. [] addressed issues such as low renewable energy utilization rates and unclear shared energy storage pricing mechanisms by constructing a multi-energy system that includes shared energy storage. Based on master-slave game theory pricing strategies, they established a game model for shared energy storage operators and renewable energy power plants to optimize shared energy storage capacity allocation and increase profits for both parties. Li et al. [] addressed the challenge of integrating renewable energy into isolated microgrid clusters by constructing a detailed spatio-temporal model of mobile energy storage and developing a model for the coordinated allocation of renewable energy generation capacity. This approach reduced system power costs and increased the penetration rate of renewable energy generation. He et al. [] constructed a two-layer optimization model for microgrids with shared energy storage, used the Karush–Kuhn–Tucker conditions, and used the Big-M method to linearize the nonlinear optimization problem, effectively improving the efficiency of renewable energy consumption.
The above studies have laid a solid theoretical and modeling foundation for the research in this paper; however, there are still some unresolved issues.
- (1)
- Current research on capacity planning for microgrid clusters with SES predominantly focuses on the overall operational status of the system and the minimization of total power costs; however, there is a lack of comprehensive investigation into the coordinated operational mechanisms across microgrids. They have not considered the energy interaction and flow between the various entities in a microgrid cluster, making it difficult to balance the operating costs of each microgrid.
- (2)
- Many scholars examining SES capacity allocation focus solely on the revenue and costs of shared energy storage operators and microgrid clusters collectively, neglecting the operational costs of individual entities within the microgrid cluster. This oversight leads to conclusions that diverge from the actual operational conditions of microgrid clusters.
Aiming at the above problems, this paper establishes a refined mathematical model for microgrid clusters and proposes a two-tier distributed collaborative configuration planning method based on ADMM for microgrid cluster SES system capacity. By comparing and analyzing the results of shared energy storage capacity allocation obtained using the proposed two-layer planning method with those of the traditional single-layer capacity allocation method, this study elucidates the energy flow distribution characteristics of microgrid clusters, investigates the load optimization effects of microgrid systems, and explores the power interconnection mechanisms between microgrids. The study aims to achieve optimal capacity allocation planning for shared energy storage systems while balancing the operational costs of all entities within the microgrid cluster.
The subsequent portions of this work are organized as follows: initially, the operational mode of the microgrid cluster is presented, and a sophisticated mathematical model of the microgrid is developed in Section 2. Section 3 introduces a dual-level distributed collaborative allocation planning approach for the capacity of microgrid cluster SES, utilizing the ADMM algorithm. Section 4 evaluates the model’s efficacy and examines the configuration planning outcomes by conducting case studies of the proposed method alongside established methods in different scenarios.
2. Model of Microgrid Cluster
2.1. Typical Physical Architecture of Microgrid Cluster
With the rapid development of new energy microgrid technology, the complexity of system coupling and the level of heterogeneity of energy forms continue to increase.
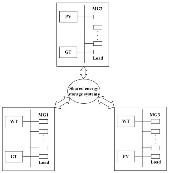
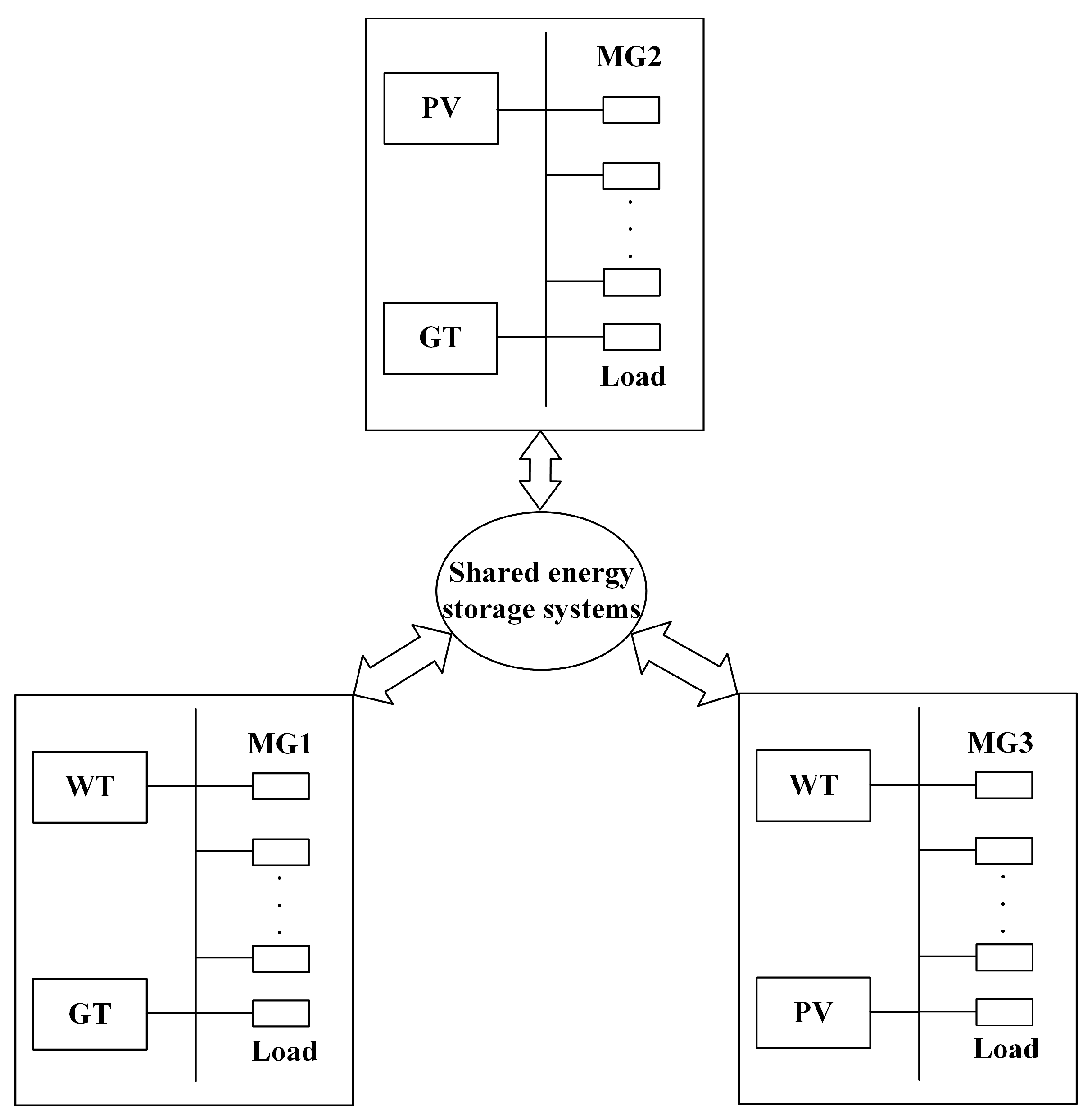
Distributed energy within a single microgrid is characterized by intermittent power generation, random power output, and geographic dispersion, which makes it difficult to realize efficient conversion and utilization of energy and fails to meet the differentiated energy demand of users. Therefore, this paper constructs a microgrid cluster system containing SES to reduce the cost burden of independently configuring energy storage devices for microgrids and to improve the system power supply reliability and comprehensive economy. As shown in Figure 1.

Figure 1.
Framework diagram of microgrid cluster system with SES.
All microgrids in this system are fitted with renewable energy generation units, such as wind turbine (WT) or photovoltaic (PV) systems, to satisfy the energy requirement of the load. To address the limitations of wind power generation, including intermittency and volatility, and to enhance local renewable energy consumption, the system incorporates SES technology, which facilitates multi-energy complementary operations through a systematic energy coordination and mutual assistance mechanism.
2.2. Mathematical Model of Microgrid Cluster
The microgrid contains WT, PV, and gas turbine (GT) devices, and their mathematical models are described in turn below.
- (1)
- Mathematical Model of WT
A WT utilizes aerodynamic principles, employing blades to harness wind energy and transform it into mechanical kinetic energy, which is transmitted to drive a generator for electromechanical energy conversion. The wind velocity and turbine power production are presented below:
where Pwind presents the power of the WT, vin, vout, and vg represent the cut-in wind speed, cut-out wind speed, and rated wind speed, respectively, and and indicate the number of WTs and the rated power of an individual wind turbine, respectively.
The WT output constraints are as follows:
where Pwind,max is the maximum output power of the WT.
- (2)
- Mathematical Model of PV
PV power generation utilizes the photoelectric conversion effect of semiconductor materials to realize power generation by converting solar energy into electrical energy, and its output power is shown below:
where Ppv(t) is the PV power at moment t; T(t) and I(t) are the temperature and light intensity of the photovoltaic panel at time t, respectively; TSTC and ISTC are the ambient temperature and light intensity under standard test conditions, respectively. The specific values are 25 °C and 1 kW/m2, respectively; αpv is the temperature coefficient. ηpv is the power generation efficiency under standard test conditions; is the PV power rating.
The PV output constraints are as follows:
where Ppv,max(t) is the maximum output power of the PV.
- (3)
- Mathematical model of GT
GT, as a crucial distributed power source in microgrids, offers substantial benefits such as adaptable power regulation, ease of capacity augmentation, and low fuel consumption rates, hence providing essential support for mitigating fluctuations in distributed power output. The correlation between output power and operational expenditure can be articulated as follows:
where PGT is the output power of GT, and αGT, βGT, and γGT are generation cost factors.
The GT output constraints are as follows:
where and present the minimum and maximum output power of the GT, respectively, and uGT indicates the on/off status of the GT. Specifically, 0 signifies cessation and 1 signifies initiation.
3. SES Bi-Layer Optimal Configuration Model
As a key component of a microgrid, the energy storage system is the core carrier to realize stable operation and energy management of the microgrid. As a new type of energy storage technology, SES has a key role in the future development of the energy Internet with the scientific and rational planning of its storage capacity.
The microgrid cluster model with SES constructed in this paper is shown in Figure 1, where each microgrid realizes power interaction through shared energy storage and its bus interconnection. On this basis, a two-layer optimization and configuration model of shared energy storage for microgrid clusters based on ADMM is proposed, in which the upper layer optimization takes the minimization of the investment cost of shared energy storage construction as the goal to plan the capacity configuration of the shared energy storage system; the lower layer optimization optimizes and manages the output of distributed power sources in each microgrid in order to minimize the operating cost of the microgrid, and the two layers of optimization update the system operating state through parameter transfer and The two-layer optimization updates the system operation state through parameter transfer and solves alternately. The logic diagram of two-layer optimization is shown in Figure 2.

Figure 2.
The expansion planning scheme of SES.
3.1. SES Capacity Configuration Model of Upper Layer
3.1.1. Objective Function
The upper layer model takes the minimization of the investment cost of SES as the objective function referred to in (7) and optimally solves the capacity allocation of SES from the economic point of view.
where Pses is rated for SES configurations, Pex is the power of each microgrid interaction, f is the SES operation and maintenance cost function with reference to (8), and g is the interactive power cost function with reference to (9).
where r is the annual interest rate on funds, γ is the life cycle of the energy storage equipment, and λE and λP are the SES unit capacity investment in operation and maintenance cost and the unit power investment in operation and maintenance cost, respectively. Eses and Pses are the rated capacity and rated power of the SES configuration, respectively, Pex is the microgrid interaction power, and λX is the microgrid unit interaction power cost.
3.1.2. Constraint Function
- (1)
- SES rated capacity, rated power constraints
- (2)
- Energy storage device constraints
- (3)
- Energy storage charging and discharging power constraints
- (4)
- SES bus interaction power constraints
3.2. Optimization Operation Model of Lower Layer
3.2.1. Objective Function
The lower-level model has the minimization of the daily operating cost of each microgrid in the microgrid cluster containing SES as the optimization objective.
where Fs,i is the ith microgrid source side generation cost, Fe,i is the cost of charging and discharging the ith microgrid to SES, and Fl,i is the cost of energy use on the load-side of the ith microgrid.
minF2,i = Fs,i + Fe,i + Fl,i
- (1)
- Microgrid source-side generation costs
- (2)
- SES charge and discharge costs
- (3)
- Microgrid load-side energy costs
3.2.2. Constraint Function
- (1)
- Microgrid power balance constraints
- (2)
- Microgrid constraints on selling and purchasing electricity from external grids
3.3. Model Solving Algorithms
3.3.1. ADMM Fundamentals
ADMM was proposed by Gabay et al. in the 1970s. The algorithm integrates the decomposable characteristic of the pairwise ascent method with the effective convergence attribute of the augmented Lagrange multiplier method, and it has been extensively utilized in distributed computing and intelligent learning due to its high solving efficiency, rapid convergence, and robust performance.
The standard form of ADMM is as follows:
where f and g are convex functions; the decision variable is divided into x and z components, which are , , , , .
Constructing the augmented Lagrangian function of the original problem with reference to (21).
where ρ is the penalization factor and y is the dyadic variable.
The optimal solution is gradually approximated by the following iterative steps:
In ref. [], it is demonstrated that when the objective functions f and g are inherently closed convex functions on sets and , respectively, and a saddle point occurs in the augmented Lagrangian function of the original issue, the ADMM can converge efficiently to the optimal solution.
3.3.2. Model and Algorithm
Rewrite the decision variables of the original problem as:
Then the original objective function can be expressed as minF1(x) = αT·x, which
For convenience, the constraints involving the decision variables in the upper-level optimization problem of the microgrid cluster containing SES are rewritten in set form by defining the following convex set:
where i denotes the ith microgrid and indicates that the ith microgrid is adjacent to the jth microgrid.
Boundary consistency conditions are added to ensure convergence of the algorithm.
This study utilizes the synchronized ADMM approach to mitigate disorder during problem resolution. Before implementing the planned iteration, the boundary variables from the adjacent regions of the preceding iteration are established as the reference value for the following iteration. The sub-constraints of Equation (27) were reformulated in the specified format, refer to (28).
where Pij,ex_ref is the SES bus interaction power reference value.
The analysis of the upper-level objective function shows that there is no coupling between the variables and that the microgrid has naturally distributed properties within it. Since the constraints are all based on each microgrid as a basic unit and involve only internal variables, each microgrid can be solved independently during the iterative solution process. For the microgrid cluster capacity planning problem containing SES, this paper uses ADMM to construct a distributed model. Introducing the auxiliary variable z such that z = x rewrites the original problem into the standard form of the ADMM solution referred to in (29).
where dormF1 is the domain of the definition of function F1, and λ is the indicator function on dormF1.
Introduce dyadic variables u and v to construct the augmented Lagrangian function with reference to (31).
Then the ADMM iteration step is derived as:
where xi, zi, ui, vi, Pi,ex, and Pi,ex_ref are all variables in the ith microgrid. Fi, λi, and Lρ,i are functions in the ith microgrid, respectively; The superscript z denotes the variable in z.
The aforementioned iterative processes demonstrate that synchronized parallel processing can be accomplished with several microgrid entities. Prior to each iteration, adjacent microgrids must compute the SES bus power interaction reference value Pi,ex_ref by engaging with boundary variables Pij,ex. Subsequently, the multi-microgrid entities independently perform iterative solutions based on local operational data to achieve fully distributed optimization scheduling.
3.3.3. Convergence Criterion
In this paper, we use a fully distributed optimization approach, where multiple microgrid subjects make separate and independent convergence judgments. According to the ADMM principle, the original residuals with reference to (36) and pairwise residuals with referene to (37) are used as convergence criteria.
According to the ref. [], the convergence criterion condition is set as:
where εabs and εrel are the absolute and relative convergence, respectively.
3.4. SES Capacity Allocation Planning Solution Process
The solution approach involves alternating iterations between the upper-level SES system capacity allocation planning and the lower-level microgrid local optimal scheduling problem, as illustrated in Figure 3.

Figure 3.
Flowchart for solving two-tier planning.
The upper-level capacity allocation problem is solved using the ADMM algorithm, and the optimal solution is obtained by joint distributed solving of multiple microgrid subjects, followed by passing the most known parameters of the SES capacity and bus interaction power to the lower-level microgrid optimization operation model. The lower-level optimization problem is calculated by the multi-microgrid main control center using a centralized solution method, and after the solution is completed, based on the output and cost data of each unit, the updated SES capacity and bus interaction power are returned to the upper level and iterated through the cycle until the optimal solution is found.
The methodology for addressing a particular two-tier planning issue is outlined as follows:
- (1)
- Step 1: Load the data of microgrid typical scene output and load, and initialize the settings of parameters such as εabs, εrel, K, and so on.
- (2)
- Step 2: Make the number of iterations k = 1 and calculate the interaction power Pi,ex of neighboring microgrids through the SES bus and the reference value of the interaction power Pi,ex_ref of the SES bus.
- (3)
- Step 3: Construct the augmented Lagrangian function, solve for the variables x, z, u, v by iteration, and update the decision variables Pses and Pex.
- (4)
- Step 4: Judge whether the original residuals and pairwise residuals satisfy the condition or the number of iterations k = Kmax, then stop the iteration and output the optimization results; otherwise, make k = k + 1 and return to step 2 to continue the iteration.
4. Case Study
4.1. Case System Overview
In this paper, the microgrid cluster consisting of three microgrids and one SES system in an industrial park is taken as the object of study, and its system topology is shown in Figure 4.

Figure 4.
Topology of microgrid cluster system.
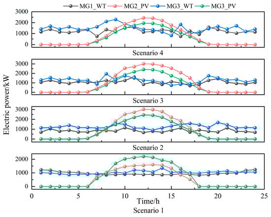
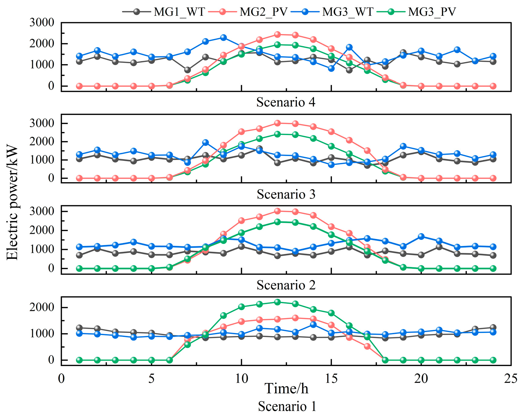
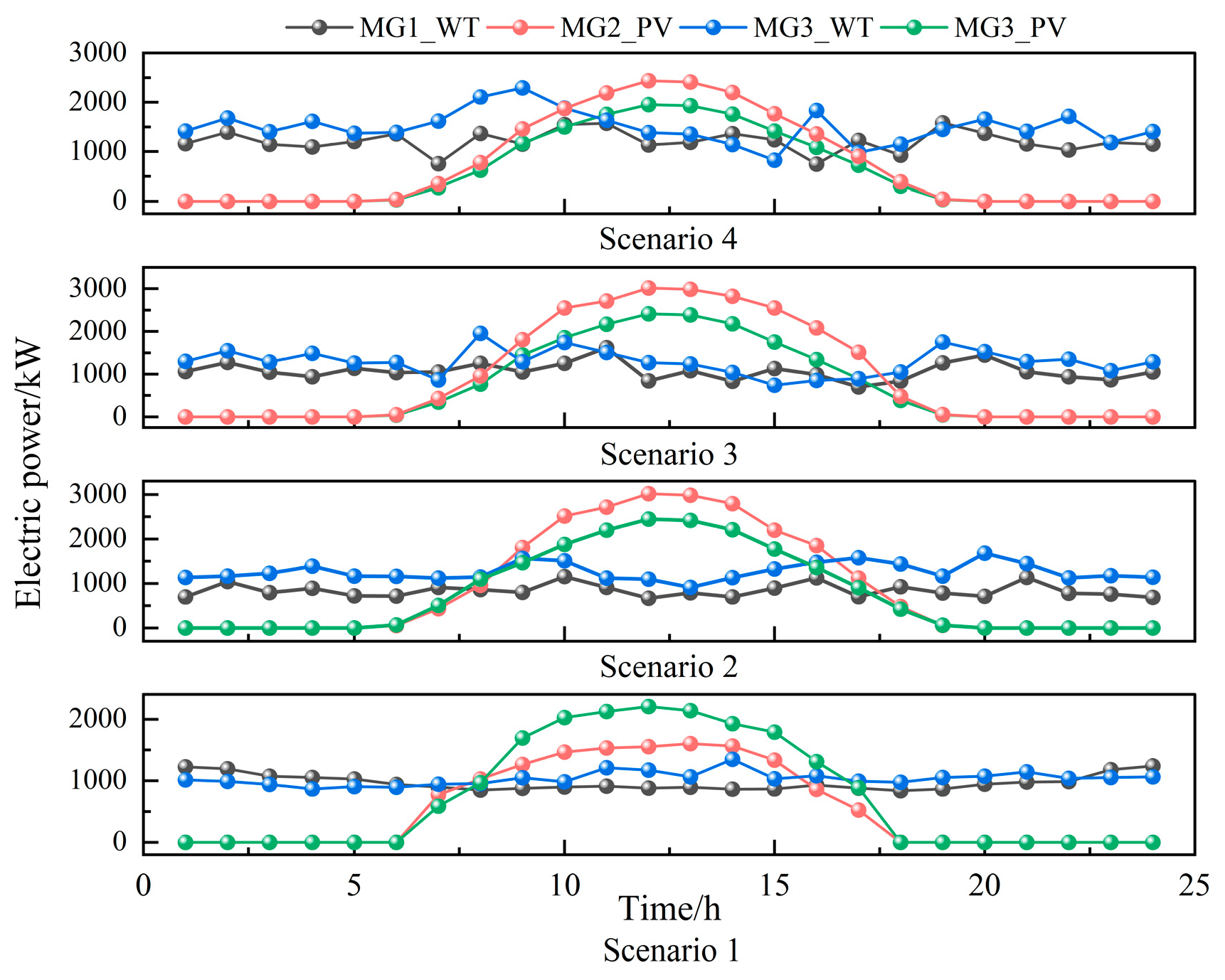
There are multiple input and output parameters with uncertainties in microgrids. Therefore, shared energy storage capacity allocation planning should be conducted within an uncertainty analysis framework to ensure the reliability of the final planning scheme. To mitigate the impact of randomness and uncertainty caused by fluctuations in renewable energy output and load on the capacity planning of shared energy storage systems in microgrid clusters, this paper employs scenario analysis to obtain typical daily renewable energy output and load data curves under four different scenarios [], as shown in Figure 5 and Figure 6. The process of scenario analysis is as follows:

Figure 5.
Renewable energy curves with typical output.

Figure 6.
Load curve with typical output.
- (1)
- Step 1: Input typical daily wind and solar radiation, load, and other data.
- (2)
- Step 2: Fit and calculate data such as wind power output and load demand based on probability density functions to generate raw data curves.
- (3)
- Step 3: Based on the Monte Carlo method, random sampling simulations are performed to generate multiple discrete scenario curves.
- (4)
- Step 4: Calculate the probability distance between scenarios and reduce the number of scenarios to ultimately determine the typical daily power curves for four different scenarios.
Due to the geographic proximity of the microgrids inside the cluster, each microgrid is established to interact with the external grid simultaneously at the same tariff. To guarantee the profitability of the SES system, it is essential that the power sales price of the energy storage system exceeds the electricity purchase price, together with a judicious selection of the price range for buying and selling electricity. In this paper, the difference between the fixed purchase and sale price range is set to be 0.2 CNY/(kW·h), as shown in Table 1.

Table 1.
Grid tariff and SES power plant purchase and sale tariff parameters.
The electricity price curves for the external grid and the SES system, as depicted in Figure 7, are derived from the tariff data presented in Table 1. The ADMM method discussed in the preceding section is employed to execute a two-tier optimal allocation of the capacity within the microgrid cluster system that includes the SES. The algorithm sets the solution period T to be 24 h with a time interval of 1 h, the maximum interaction power of each microgrid through the SES bus to be 2000 kW, the penalty factor ρ = 1 × 10−4, the convergence parameters εabs and εrel to be 1 × 10−3 and 1 × 10−5, respectively, and the maximum number of iterations Kmax = 1000. The iterative convergence process is shown in Figure 8, which converges to a steady state at the 20th iteration, and at the 30th iteration, the residual convergence, though slightly fluctuating, subsequently converges to a steady state.

Figure 7.
Grid and SES electricity price curves.

Figure 8.
ADMM residual convergence process.
4.2. SES Capacity Allocation Planning
To improve the computational efficiency of the research presented in this paper, the previously described basic data were employed to create the ADMM algorithm and conventional calculation programs using Matlab (R2020b), and the SES capacity of the specified models was configured and planned across four scenarios, as shown in Figure 9 and Figure 10.

Figure 9.
SES O and M costs and capacity.

Figure 10.
Microgrid cluster operating costs.
As shown in Figure 9 and Figure 10, the ADMM-based two-tier optimization configuration algorithm proposed in this paper has a significant effect in reducing the operating costs of microgrid clusters and optimizing shared energy storage capacity compared to traditional capacity planning methods. Due to the uncertainty of renewable energy output and load demand in microgrids, the two methods show significant data differences in different scenarios. In Scenario 1, the ADMM two-layer optimization configuration algorithm reduced shared energy storage maintenance costs by 0.26% and microgrid cluster operating costs by 18.72% compared to traditional shared energy storage capacity configuration planning methods. In Scenario 3, shared energy storage maintenance costs were reduced by 5.89%, and microgrid operating costs were reduced by 22.61%.
4.2.1. Microgrid Energy Flow Analysis
Taking Scenario 1 as an example, we analyze the results of the two-tier distributed optimization of a microgrid cluster with shared energy storage. Output of the first microgrid energy supply equipment, as depicted in Figure 11. As can be seen from the figure, 72.02% of the power output in the first microgrid originates from WT, and GT mainly undertakes the task of power regulation, and its actual power generation share is only 2.34%. Since the objective function takes the minimization of system operating cost as the optimization objective, the cost of power interaction through the SES bus is lower for the microgrid compared to GT generation, so 18.71% of the power output in microgrid1 comes from power interaction, which reflects the important role of SES in reducing the system operating cost. For example, during the peak period from 8:00 to 19:00, when the turbine output cannot meet the load demand, the first microgrid interacts with other microgrids through the SES bus to meet the load energy demand, thus effectively reducing the overall operating cost of the microgrid system. During the low energy consumption period, microgrid1 transmits the surplus power to other microgrids through the SES bus, taking into account the environmental protection and economy of the system. SES strictly follows the dynamic equilibrium relationship between renewable energy power generation and energy-using loads. For example, at 9:00 in the figure, when the renewable energy power generation is abundant, the SES system carries out the charging state, and at 18:00, when the renewable energy output cannot meet the load energy-using demand or the GT power generation cost is higher, the SES system turns to the discharging state so as to maintain the stable operation of the system.

Figure 11.
The first microgrid power distribution.
Figure 12 illustrates the power output of the second microgrid’s energy supply apparatus, wherein PV generation predominates among its renewable energy sources; yet, only 53.0% of the power output is attributable to PV, owing to the intermittency and unpredictability of the PV unit’s output. Compared to the microgrid1, the second microgrid has a significantly higher percentage of GT output, with 45.33% of the power output being taken by the GT. As can be seen from the figure, during the 9:00–14:00 time period, when the revenue from selling electricity to the SES system is higher than the cost of GT generation, the second microgrid maximizes the microgrid revenue by boosting the system’s power generation and selling the excess power to the SES system. During the peak hours of 18:00–24:00, the second microgrid system meets the load energy demand in the region mainly through SES system discharges and GT generation. During the 24 h operation cycle, in order to promote the synergistic and optimized operation of the microgrid cluster, 43.88% of the power in the second microgrid achieves power interaction by charging to the SES system to complete the temporal and spatial transfer of energy, which highlights the key regulating role of the SES system. This mode of operation is of great significance in promoting the local consumption of renewable energy, enhancing the economic efficiency of the microgrid cluster system, reducing the comprehensive energy costs of users, and contributing to the construction of a more efficient, economical, and environmentally friendly microgrid cluster energy system.

Figure 12.
The second microgrid power distribution.
Figure 13 shows the output of the energy supply equipment of the third microgrid, from which it can be seen that the third microgrid is configured with wind turbines and PV units. During the period of 9:00–14:00, WT and PV output is larger, and in addition to meeting the system load energy demand, 29.88% of the surplus power is charged and discharged through the SES system or transmitted to other microgrids through the bus so as to realize the optimization and regulation of the operating cost of the microgrid cluster system. During the period from 0:00 to 8:00 h, as illustrated in Figure 13, the microgrid is supported by the SES system when renewable energy output is inadequate. Figure 14 illustrates the load power curve of the optimized microgrid cluster system. A comparative analysis with Figure 6 indicates that this optimization technique decreases the total microgrid load by 15%, hence reducing the operational costs of the system. Based on the WT and PV output prediction data shown in Figure 5, the comparison study with the actual output parameters of each device in the microgrid shows that the actual level of renewable energy consumption is highly consistent with the prediction results of the past few days, and the rate of wind and solar energy consumption reaches 98.4%, which has a significant effect on enhancing the balance of the system and promoting the high level of new energy consumption.

Figure 13.
The third microgrid power distribution.

Figure 14.
Optimized load power.
4.2.2. Energy Flow Analysis of the SES System
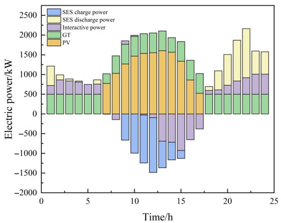
The SES system collects microgrid energy use information and performs charging and discharging operations after summarizing and analyzing it to meet the cooperative operation requirements of microgrids. Figure 15 shows the operation status of the SES system. Figure 16 shows the power interaction between microgrids via the SES busbar. To examine the scheduling strategy of the SES system in integrating the charging and discharging data of each microgrid, the following three common situations will be investigated comprehensively.

Figure 15.
SES operation status.

Figure 16.
Microgrid subject interaction power.
When the sum of the purchased power of the microgrids with power purchase demand is greater than the sum of the sold power of the microgrids with power sale demand, power is first transmitted from the microgrids with surplus renewable energy generation to the microgrids with insufficient power through the SES system bus. As shown in Figure 15, the second microgrid is equipped with only a GT and PV power generation system, which generates high power during the daytime when there is sufficient light, and the power output is significantly reduced at night, so it is difficult to meet the load energy demand during the hours of 0:00–6:00 and 20:00–24:00, and at this time, both the first microgrid and the third microgrid transmit power to it through the SES bus. During the 10:00–17:00 time period, owing to the ample solar energy resources, the photovoltaic power generation in the second microgrid is plentiful and delivers electricity to microgrid1 via the bus. Given that the power purchase tariff of the SES system is inferior to that of the external grid, in instances of energy supply deficiency within a microgrid, priority is given to purchasing power from the SES system, while procurement from the external grid is regarded as secondary.
When the sum of power purchased by microgrids with power purchase demand is less than the sum of power sold by microgrids with power sale demand, even after the bus power interaction of the SES system, the microgrid cluster system still presents a power surplus state, and in order to avoid the waste of renewable energy power generation, enhance the level of local consumption of renewable energy and the efficiency of comprehensive utilization of energy, each microgrid sells the surplus power to the energy storage system. This strategy not only avoids the phenomenon of wind and light abandonment but also increases the revenue of each microgrid through the sale of electricity and reduces operating costs. As shown in Figure 15, from 9:00 to 15:00, the second microgrid and the third microgrid sell electricity to the energy storage system, which realizes the economic benefits.
The microgrid cluster system reaches a power equilibrium state when the sum of the purchased power of the microgrids with power purchase demand is equal to the sum of the sold power of the microgrids with power sale demand, at which time the SES does not need to perform charging and discharging operations. As shown in Figure 15, during the hours of 7:00–8:00 and 16:00–17:00, the SES system is in power quiescence, and power interactions between microgrids are realized only through the buses to meet the power demand. In this power interaction process, 53.26% of the interacting power is successfully transferred through the SES system bus. This operation state can optimize the charging/discharging cycle curve of the SES system and reduce the life loss of the energy storage battery due to frequent charging and discharging.
While balancing the operating costs of each microgrid, the energy interaction requirements of each microgrid with the SES system and the investment in operation and maintenance costs parameters for the SES can be obtained from the two-tier configuration planning model, wherein 54.33% of the system’s power interaction is conducted via the SES system and its buses, as outlined in Table 2.

Table 2.
Capacity configuration for scenario 1 cases.
To improve the efficiency of local renewable energy consumption, this paper establishes a higher marginal cost for microgrid purchases from the public grid. Consequently, when microgrid supply is insufficient, power is prioritized for purchase from the SES system to meet the energy demand of the load.
5. Conclusions and Future Work
In this paper, the novel energy storage technology of SES is introduced into the microgrid cluster system to guarantee the reliability of the microgrid power supply by enhancing the flexibility of system operation. Based on this, a two-layer optimization configuration model for microgrid clusters incorporating shared energy storage was constructed. The effectiveness of the model was verified by comparing the results of the proposed method with those of traditional shared energy storage capacity configuration methods under different scenarios. Taking the operating costs of each entity within the microgrid cluster as the objective function, while systematically analyzing the energy flow distribution characteristics of each microgrid, the charging and discharging scheduling strategies for shared energy storage, and the capacity configuration schemes. According to the simulation results, the following conclusions are obtained:
- (1)
- Constructing a cooperative operation model of a microgrid cluster containing SES and proposing a microgrid energy dispatch strategy based on the ADMM algorithm by considering the operating costs of each entity within the microgrid cluster, the total operating cost of the system was significantly reduced.
- (2)
- The introduction of the new SES energy storage technology improves the system operation flexibility through the time-space transfer mechanism of energy, optimizes the load power and energy flow distribution characteristics of the microgrid cluster, and thus reduces the system operation cost in the whole life cycle.
- (3)
- Based on the two-layer optimal configurational model solution analysis, we obtain the SES configuration scheme, the minimized operational and maintenance investment costs parameter, and the energy interaction mechanism of the microgrid cluster, etc. The effectiveness of the method proposed in this paper compared to traditional shared energy storage configuration methods was verified in different scenarios, significantly enhancing the reliability of the power supply in a microgrid cluster.
This paper carries out a capacity allocation planning study for the microgrid cluster system containing SES, taking into account the operating costs of each entity within the microgrid cluster, analyzes the energy flow distribution characteristics of each microgrid, optimizes the load power of the microgrid cluster, and completes the planning of the SES capacity allocation scheme. The present work remains in the exploratory phase of optimal system capacity scheduling and has yet to account for the node power distribution characteristics inside the microgrid. Future work will involve the incorporation of microgrid topology characteristics to thoroughly examine the mechanism of SES capacity allocation on the energy flow of each node. It will also fully consider the strong coupling of heterogeneous energy sources such as heat, electricity, and gas, as well as the complexity of energy interaction within energy storage systems. Subsequently, research will be conducted on the optimization and allocation of SES capacity scheduling.
Author Contributions
Conceptualization: X.Z. and W.Z.; methodology: X.Z.; software: J.F. and S.W.; formal analysis: X.Z. and J.F.; investigation: W.Z.; writing—original draft preparation: J.F.; writing—review and editing: X.Z.; supervision: S.W.; funding acquisition: X.Z.; All authors have read and agreed to the published version of the manuscript.
Funding
This work is supported by Metallurgical Engineering First-Class Discipline Scientific Research Special Project of the Department of Education of Inner Mongolia Autonomous Region No. YLXKZX-NKD-021 and Basic research funds for universities directly under the Inner Mongolia Autonomous Region under Grant No. 2023QNJS199.
Data Availability Statement
The data presented in this study are available on request from the corresponding author.
Conflicts of Interest
Authors Jiao Feng, Shuhan Wang and Wei Zhao was employed by the State Grid Jibei Electric Power Co., Ltd. EHV Power Transmission Company. The remaining authors declare that the research was conducted in the absence of any commercial or financial relationships that could be construed as a potential conflict of interest.
References
- Solanki, B.; Raghurajan, A.; Bhattacharya, K.; Cañizares, C. Including smart loads for optimal demand response in integrated energy management systems for isolated microgrids. IEEE Trans. Smart Grid 2015, 8, 1739–1748. [Google Scholar] [CrossRef]
- Roy, K.; Mandal, K.; Mandal, A. Modeling and managing of micro grid connected system using improved artificial bee colony algorithm. Int. J. Electr. Power Energy Syst. 2016, 75, 50–58. [Google Scholar] [CrossRef]
- Huang, S.; Abedinia, O. Investigation in economic analysis of microgrids based on renewable energy uncertainty and demand response in the electricity market. Energy 2021, 225, 120247. [Google Scholar] [CrossRef]
- Wu, Q.; Xie, Z.; Ren, H.; Li, Q.; Yang, Y. Optimal trading strategies for multi-energy microgrid cluster considering demand response under different trading modes: A comparison study. Energy 2022, 254, 124448. [Google Scholar] [CrossRef]
- Chen, Z.; Fan, F.; Tai, N.; Hu, Y.; Li, R. Coordinated energy dispatch and flexibility support for microgrid cluster using rule-based Stackelberg gaming approach. IEEE Trans. Ind. Appl. 2023, 60, 1564–1575. [Google Scholar] [CrossRef]
- Bui, V.; Hussain, A.; Kim, H. A multiagent-based hierarchical energy management strategy for multi-microgrids considering adjustable power and demand response. IEEE Trans. Smart Grid 2016, 9, 1323–1333. [Google Scholar] [CrossRef]
- Liu, Y.; Yao, L.; Liao, S.; Xu, J.; Cheng, F. Hierarchical scheduling method for distribution network-microgrid clusters considering flexible grouping. Int. J. Electr. Power Energy Syst. 2025, 169, 110797. [Google Scholar] [CrossRef]
- Cunha, P.; Saavedra, O.; Ribeiro, L.; Oliveira, D. Cluster operation of microgrids: Assessing economic and resilience gains. Electr. Power Syst. Res. 2025, 239, 111220. [Google Scholar] [CrossRef]
- Gbadega, P.; Sun, Y.; Balogun, O. Optimized energy management in Grid-Connected microgrids leveraging K-means clustering algorithm and Artificial Neural network models. Energy Convers. Manag. 2025, 336, 119868. [Google Scholar] [CrossRef]
- Rajaei, A.; Fattaheian-Dehkordi, S.; Fotuhi-Firuzabad, M.; Moeini-Aghtaie, M. Decentralized transactive energy management of multi-microgrid distribution systems based on ADMM. Int. J. Electr. Power Energy Syst. 2021, 132, 107126. [Google Scholar] [CrossRef]
- Guo, J.; Zhang, P.; Wu, D.; Liu, Z.; Ge, H.; Zhang, S.; Yang, X. A new collaborative optimization method for a distributed energy system combining hybrid energy storage. Sustain. Cities Soc. 2021, 75, 103330. [Google Scholar] [CrossRef]
- Yong, X.; Wu, Y.; Zhou, J.; Tao, Y.; Chen, W. Prospects and barriers analysis framework for the development of energy storage sharing. Sustain. Cities Soc. 2023, 89, 104368. [Google Scholar] [CrossRef]
- Wang, C.; Zhang, X.; Wang, Y.; Xiong, H.; Ding, X.; Guo, C. Pricing method of electric-thermal heterogeneous shared energy storage service. Energy 2023, 281, 128275. [Google Scholar] [CrossRef]
- Siqin, T.; He, S.; Hu, B.; Fan, X. Shared energy storage-multi-microgrid operation strategy based on multi-stage robust optimization. J. Energy Storage 2024, 97, 112785. [Google Scholar] [CrossRef]
- Xie, T.; Ma, K.; Zhang, G.; Zhang, K.; Li, H. Optimal scheduling of multi-regional energy system considering demand response union and shared energy storage. Energy Strategy Rev. 2024, 53, 101413. [Google Scholar] [CrossRef]
- Li, P.; Li, Y.; Li, Z.; Jia, Q. Multi-time scale game dispatching strategy for microgrid cluster with shared energy storage considering demand response uncertainty. Energy 2025, 328, 136568. [Google Scholar] [CrossRef]
- Cao, W.; Xiao, J.; Cui, S.; Liu, X. An efficient and economical storage and energy sharing model for multiple multi-energy microgrids. Energy 2022, 244, 123124. [Google Scholar] [CrossRef]
- Chen, B.; Li, Z.; Liu, B.; Fan, H.; Zhong, Q. Dynamic cooperative scheduling and adaptive benefit allocation for multi-microgrid systems with shared energy storage under source-load uncertainty. J. Energy Storage 2025, 128, 117213. [Google Scholar] [CrossRef]
- Yang, X.; Yi, X.; Wang, H.; Li, L. Shared energy storage with multi-microgrids: Coordinated development and economic-social-environmental comprehensive assessment under supply–demand uncertainties. Renew. Energy 2025, 249, 123101. [Google Scholar] [CrossRef]
- Wen, Y.; Ding, R.; Liang, Y.; Chen, J. Multi-microgrid shared energy storage operation optimization strategy based on a mixed game theory. Electr. Power Syst. Res. 2025, 246, 111643. [Google Scholar] [CrossRef]
- Li, J.; Liu, D.; Jiang, S.; Wu, L. Optimal configuration of shared energy storage system in microgrid cluster: Economic analysis and planning for hybrid self-built and leased modes. J. Energy Storage 2024, 104, 114624. [Google Scholar] [CrossRef]
- Li, J.; Zhao, Z.; Wang, X.; Zhu, X.; Liu, H.; Zhao, Z.; Zhou, H.; Li, Z.; Li, C. Optimized configuration of shared energy storage in renewable energy power plants considering multiple master-slave game pricing modes. J. Energy Storage 2025, 115, 116012. [Google Scholar] [CrossRef]
- Li, J.; Liu, D.; Wang, J.; Bao, G.; Shi, M. Collaborative configuration optimization of renewable energy generation capacity for islanded microgrid clusters: A decision-making framework based on multi-criteria flexible interaction and shared mobile energy storage. Energy 2025, 333, 137448. [Google Scholar] [CrossRef]
- He, Y.; Zhang, Y. Optimal configuration of shared energy storage for multi-microgrid systems: Integrating battery decommissioning value and renewable energy economic consumption. Energy Convers. Manag. 2025, 343, 120156. [Google Scholar] [CrossRef]
- Boyd, S.; Parikh, N.; Chu, E.; Peleato, B.; Eckstein, J. Distributed optimization and statistical learning via the alter-nating direction method of multipliers. Found. Trends® Mach. Learn. 2021, 3, 1–122. [Google Scholar]
- Goh, H.; Shi, S.; Liang, X.; Zhang, D.; Dai, W.; Liu, H.; Wong, S.; Kurniawan, T.; Goh, K.; Cham, C. Optimal energy scheduling of grid-connected microgrids with demand side response considering uncertainty. Appl. Energy 2022, 327, 120094. [Google Scholar] [CrossRef]
Disclaimer/Publisher’s Note: The statements, opinions and data contained in all publications are solely those of the individual author(s) and contributor(s) and not of MDPI and/or the editor(s). MDPI and/or the editor(s) disclaim responsibility for any injury to people or property resulting from any ideas, methods, instructions or products referred to in the content. |
© 2025 by the authors. Licensee MDPI, Basel, Switzerland. This article is an open access article distributed under the terms and conditions of the Creative Commons Attribution (CC BY) license (https://creativecommons.org/licenses/by/4.0/).