Property Preservation of Object-Oriented Petri Reduction Net Based Representation for Embedded Systems
Abstract
1. Introduction
2. Related Works
3. Basic Concepts
- (i)
 - For transition, if , then is said to be enabled under if and only if
 - (ii)
 - For , if , then is said to be enabled under , if and only if it satisfies formula (2).
 - (iii)
 - The system marking changes after the firing of transition : , where
 
- (i)
 - A transition is said to be live if for every , there exists , such that .
 - (ii)
 - An OOPRES+ net system is said to be live if, for system , , is live.
 
- (i)
 - A place is said to be bounded if there exists a positive integer such that . A message place is said to be bounded if there exists a positive integer such that .
 - (ii)
 - An OOPRES+ net system is said to be bounded if, for a system , and , and are bounded.
 
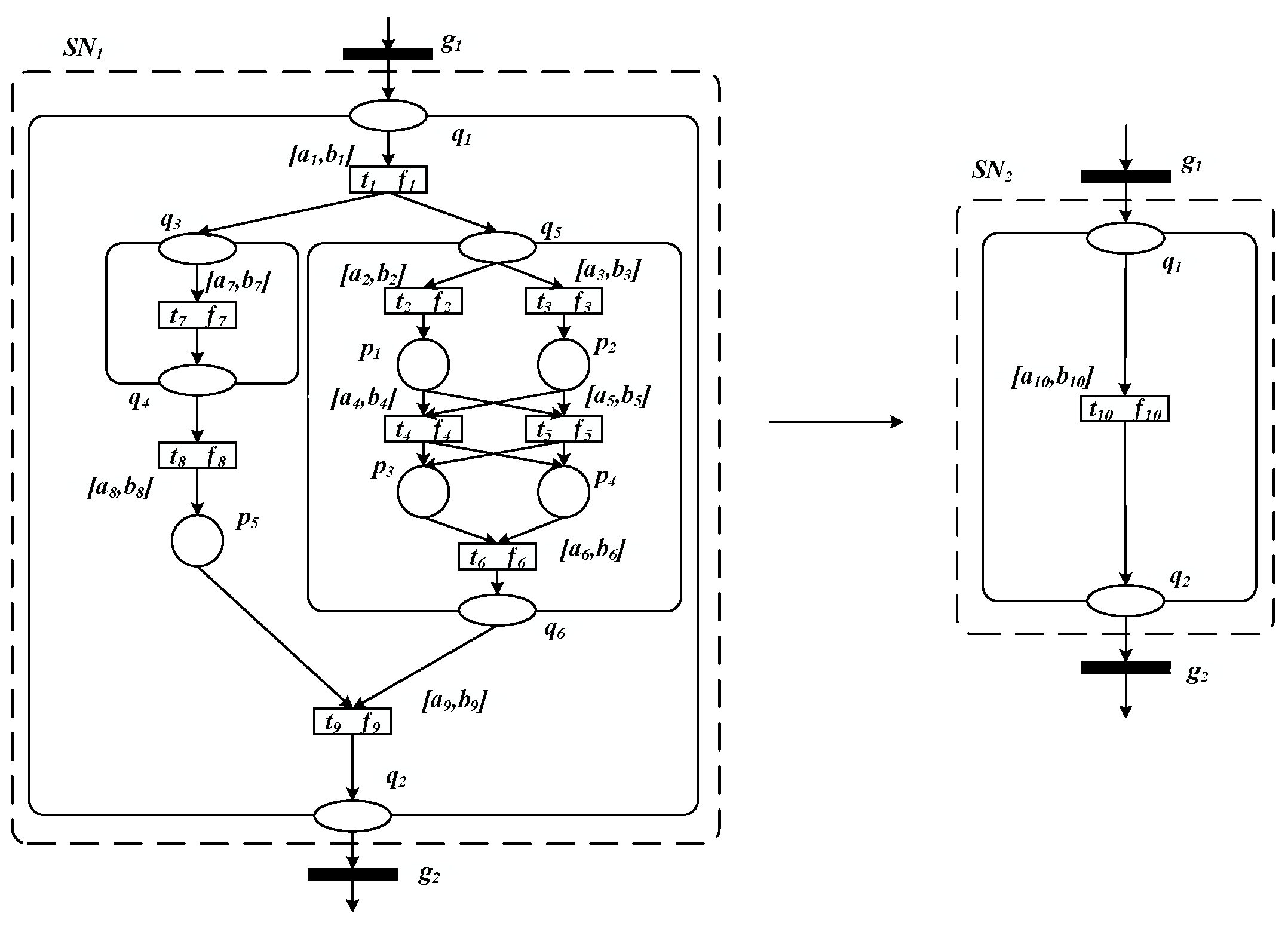
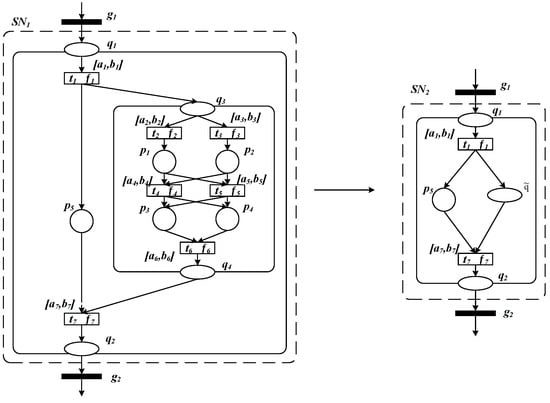
4. Subnet Reduction Rules and Property Analysis of OOPRES+
4.1. Q-Type Internal Subnet Reduction
- (i)
 - ;
 - (ii)
 - ;
 - (iii)
 - ;
 - (iv)
 - {} , where is the only input message place of and is the only output message place of .
 
- (i)
 - ;
 - (ii)
 - ;
 - (iii)
 - ;
 - (iv)
 - ;
 - (v)
 - ;
 - (vi)
 - The token information in is the same as the token information in .
 
4.2. TQ-Type Internal Subnet Reduction
- ;
 - ;
 - ;
 - ;
 - { } , where is the only input transition and is the only output transition.
 
- (i)
 - ;
 - (ii)
 - ;
 - (iii)
 - ;
 - (iv)
 - ();
 - (v)
 - () }) ;
 - (vi)
 - ;
 - (vii)
 - , .
 
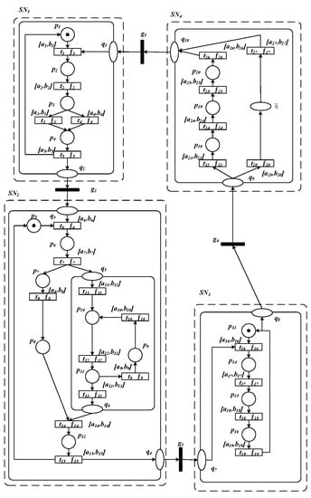
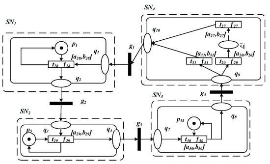
5. Application
6. Conclusions
Author Contributions
Funding
Data Availability Statement
Conflicts of Interest
References
- Marwedel, P. Embedded System Design—Embedded Systems Foundations of Cyber-Physical Systems, and the Internet of Things, 4th ed.; Springer: Cham, Switzerland, 2021. [Google Scholar]
 - Tausan, N.; Markkula, J.; Kuvaja, P.; Oivo, M. Choreography in the embedded systems domain: A systematic literature review. Inf. Softw. Technol. 2017, 91, 82–101. [Google Scholar] [CrossRef]
 - Stoutchini, A.; Benini, L. StreamDrive: A dynamic dataflow framework for clustered embedded architectures. J. Signal Process Syst. 2019, 91, 630–640. [Google Scholar]
 - Ding, Z.; Yang, R.; Cui, P.; Zhou, M.C.; Jiang, C. Variable Petri nets for mobility. IEEE Trans. Syst. Man Cybern. Syst. 2022, 52, 4784–4797. [Google Scholar] [CrossRef]
 - Weisberg, P.; Wiseman, Y. Efficient memory control for avionics and embedded systems. Int. J. Embed. Syst. 2013, 5, 225–238. [Google Scholar] [CrossRef]
 - Lenhardt, J.; Schiffmann, W.; Eitschberger, P.; Keller, J. Power-efficient load distribution in heterogeneous computing environments. In Proceedings of the International Conference on Parallel and Distributed Computing and Networks, Innsbruck, Austria, 17–19 February 2014; pp. 239–248. [Google Scholar]
 - Coronado, E.; Valero, V.; Orozco-Barbosa, L.; Pelayo, F.L. Modeling and simulation of the IEEE 802. 11e wireless protocol with hidden nodes using colored Petri nets. Softw. Syst. Model. Softw. Syst. Model. 2021, 20, 505–538. [Google Scholar]
 - Bozhenkova, E.N.; Virbitskaite, I.B. Testing equivalences of time Petri nets. Program. Comput. Softw. 2020, 46, 251–260. [Google Scholar] [CrossRef]
 - Kiaei, I.; Lotfifard, S. Fault section identification in smart distribution systems using multi-source data based on fuzzy Petri nets. IEEE Trans. Smart Grid 2020, 11, 74–83. [Google Scholar] [CrossRef]
 - Cortés, L.A.; Eles, P.; Peng, Z. Modeling and Formal Verification of Embedded Systems Based on A Petri Net Based Representation. J. Syst. Archit. 2003, 49, 571–598. [Google Scholar] [CrossRef]
 - Ahmed, A.; Koutny, M. Pietkiewicz-Koutny. Synthesising elementary net systems with localities. Theor. Comput. Sci. 2022, 908, 123–140. [Google Scholar]
 - Rostock, U.; Informatik, I.F.; Informatik, T. Synthesis of Petri Nets with Restricted Place-Environments: Classical and Parameterized. In Application and Theory of Petri Nets and Concurrency. PETRI NETS 2021; Buchs, D., Carmona, J., Eds.; LNCS 12734; Springer: Cham, Switzerland, 2021; pp. 292–311. [Google Scholar]
 - Liu, G.; Li, P.; Li, Z.; Wu, N. Robust deadlock control for automated manufacturing systems with unreliable resources based on Petri net reachability graphs. IEEE Trans. Syst. Man Cybern. Syst. 2018, 49, 1371–1385. [Google Scholar] [CrossRef]
 - Hu, H.; Su, R.; Zhou, M.C.; Liu, Y. Polynomially complex synthesis of distributed supervisors for large-scale AMSs using Petri nets. IEEE Trans. Control Syst. Technol. 2016, 24, 1610–1622. [Google Scholar] [CrossRef]
 - Xia, C.; Li, C. Property preservation of Petri synthesis net based representation for embedded systems. IEEE/CAA J. Autom. Sin. 2021, 8, 905–915. [Google Scholar] [CrossRef]
 - Berthomieu, B.; Botlan, D.L.; Zilio, S.D. Counting Petri net markings from reduction equations. Int. J. Softw. Tools Technol. Transf. 2020, 22, 163–181. [Google Scholar] [CrossRef]
 - Berthomieu, B.; Botlan, D.L.; Zilio, S.D. Petri net reductions for counting markings. In SPIN 2018; Gallardo, M.M., Merino, P., Eds.; Springer: Cham, Switzerland, 2018; LNCS 10869; pp. 65–84. [Google Scholar]
 - Ceška, M.; Haša, L.; Vojnar, T. Partial-order reduction in model checking object-oriented Petri nets. In Computer Aided Systems Theory—EUROCAST 2003; Moreno-Díaz, R., Pichler, F., Eds.; Springer: Berlin/Heidelberg, Germany, 2003; pp. 265–278. [Google Scholar]
 - Shah, S.A.; Bohez, E.L.; Shah, K.; ul Haq, I.; Azam, K.; Anwar, S. Colored Petri net model for significant reduction of invariants in flexible manufacturing systems. Int. J. Adv. Manuf. Technol. 2017, 88, 1775–1787. [Google Scholar]
 - MChiachío; Saleh, A.; Naybour, S.; Chiachío, J.; Andrews, J. Reduction of Petri net maintenance modeling complexity via Approximate Bayesian Computation. Reliab. Eng. Syst. Saf. 2022, 222, 108365. [Google Scholar]
 - Bønneland, F.M.; Dyhr, J.; Jensen, P.G.; Johannsen, M.; Srba, J. Stubborn versus structural reductions for Petri nets. J. Log. Algebraic Methods Program. 2019, 102, 46–63. [Google Scholar] [CrossRef]
 - Xia, C. Reduction rules for Petri Net based representation for embedded systems. J. Front. Comput. Sci. Technol. 2008, 2, 614–626. [Google Scholar]
 - Xia, C.; Zhang, W.; Wang, Z. Reduction rules for Petri net with inhibitor arcs based representation for embedded systems. In Proceedings of the 2019 International Conference on Computer Science, Communications and Big Data (CSCBD 2019), Beijing, China, 24–25 March 2019; pp. 408–413. [Google Scholar]
 - Li, B.; Khlif-Bouassida, M.; Toguyéni, A. Reduction rules for diagnosability analysis of complex systems modeled by labeled Petri nets. IEEE Trans. Autom. Sci. Eng. 2020, 17, 1061–1069. [Google Scholar] [CrossRef]
 - Bernardinello, L.; Lomazova, I.; Nesterov, R.; Pomello, L. Property-preserving transformations of elementary net systems based on morphisms. In Transactions on Petri Nets and Other Models of Concurrency XVI; Koutny, M., Kordon, F., Moldt, D., Eds.; Springer: Berlin/Heidelberg, Germany, 2022; LNCS 13220; pp. 1–23. [Google Scholar]
 - Xia, C.; Wang, Z.; Wang, Z. The refinement of Petri net with inhibitor arcs based representation for embedded systems. Electronics 2022, 11, 1389. [Google Scholar] [CrossRef]
 - Kaid, H.; Al-Ahmari, A.; Li, Z. Ameen. An improved synthesis method based on ILPP and colored Petri net for liveness enforcing controller of flexible manufacturing systems. IEEE Access 2022, 10, 68570–68581. [Google Scholar]
 - Xia, C. Property preservation of refinement for Petri net based representation for embedded systems. Clust. Comput. 2016, 19, 1373–1384. [Google Scholar] [CrossRef]
 - Wang, S.; You, D.; Zhou, M.; Seatsu, C. Characterization of admissible marking sets in Petri nets with uncontrollable transitions. IEEE Trans. Autom. Control. 2016, 61, 1953–1958. [Google Scholar] [CrossRef]
 











Disclaimer/Publisher’s Note: The statements, opinions and data contained in all publications are solely those of the individual author(s) and contributor(s) and not of MDPI and/or the editor(s). MDPI and/or the editor(s) disclaim responsibility for any injury to people or property resulting from any ideas, methods, instructions or products referred to in the content.  | 
© 2023 by the authors. Licensee MDPI, Basel, Switzerland. This article is an open access article distributed under the terms and conditions of the Creative Commons Attribution (CC BY) license (https://creativecommons.org/licenses/by/4.0/).
Share and Cite
Xia, C.; Sun, Y.; Shen, B.; Guo, M. Property Preservation of Object-Oriented Petri Reduction Net Based Representation for Embedded Systems. Electronics 2023, 12, 1955. https://doi.org/10.3390/electronics12081955
Xia C, Sun Y, Shen B, Guo M. Property Preservation of Object-Oriented Petri Reduction Net Based Representation for Embedded Systems. Electronics. 2023; 12(8):1955. https://doi.org/10.3390/electronics12081955
Chicago/Turabian StyleXia, Chuanliang, Yan Sun, Bin Shen, and Maibo Guo. 2023. "Property Preservation of Object-Oriented Petri Reduction Net Based Representation for Embedded Systems" Electronics 12, no. 8: 1955. https://doi.org/10.3390/electronics12081955
APA StyleXia, C., Sun, Y., Shen, B., & Guo, M. (2023). Property Preservation of Object-Oriented Petri Reduction Net Based Representation for Embedded Systems. Electronics, 12(8), 1955. https://doi.org/10.3390/electronics12081955
        