Next Article in Journal
Effect of Rotary Speed on Soil and Straw Throwing Process by Stubble-Crushing Blade for Strip Tillage Using DEM-CFD
Next Article in Special Issue
Design and Test of an Automatic Navigation Fruit-Picking Platform
Previous Article in Journal
Assessment of Resistance of Different Varieties of Winter Wheat to Leaf Fungal Diseases in Organic Farming
Previous Article in Special Issue
Design and Test of Soil–Fertilizer Collision Mixing and Mulching Device for Manure Deep Application Machine
 
 
Font Type:
Arial Georgia Verdana
Font Size:
Aa Aa Aa
Line Spacing:
Column Width:
Background:
Article

Design and Experimentation of a Longitudinal Axial Flow Sunflower Oil Threshing Device

1
College of Engineering, Huazhong Agricultural University, Wuhan 430070, China
2
Key Laboratory of Agricultural Equipment in Mid-Lower Yangtze River, Ministry of Agriculture and Rural Affairs, Wuhan 430070, China
3
Mechanical and Electrical Engineering College, Hainan University, Haikou 570228, China
*
Author to whom correspondence should be addressed.
Agriculture 2023, 13(4), 876; https://doi.org/10.3390/agriculture13040876
Submission received: 21 February 2023 / Revised: 8 April 2023 / Accepted: 11 April 2023 / Published: 15 April 2023
(This article belongs to the Special Issue Agricultural Machinery Design and Agricultural Engineering)

Abstract

:
To address the problems of threshing loss and high impurity rate during sunflower oil harvesting, a vertical axial flow sunflower oil threshing device was designed. To reduce severe breakage of the sunflower plate and high entrainment loss rate when threshing by the traditional grating gravure sieve, a circular tube-type gravure screen was designed, and a contact model describing the grain rod, sunflower pan, and gravure screen was analyzed. The results show that reducing the diameter of the gravure screen round tubes can effectively reduce breakage of the sunflower pan. The range of the threshing gap, drum speed, and feed amount were determined by a single-factor test. Design-Expert software was used to design a response surface experiment: threshing gap, drum rotation speed, and feed amount were used as test factors, and the threshing loss rate of grains and the grain mass ratio of undersize grains were used as evaluation indicators. A regression model between test factors and evaluation indexes was established by variance analysis of the test results. A software-based numerical optimization function was used to reduce the loss rate of grains and increase the grain mass ratio of undersize grains. The optimal parameters of the threshing device were obtained by multi-objective optimization of all factors: the separation gap was 24.90 mm, drum speed was 244.14 r/min, feed amount was 2.95 kg/s, the threshing loss rate grains was 2.35%, and the grain mass ratio of undersized grains was 81.34%. This study can provide a reference for the design of a combined sunflower oil harvester threshing device.

1. Introduction

Sunflower oil (i.e., sunflower grown for oil) is the second largest oil crop in the world, and the planting area in China is increasing yearly [1,2,3,4]. At present, planting methods of sunflower mainly include segmental harvesting and combined harvesting. Due to the late development of sunflower oil combined harvesting in China, large-scale sunflower oil combined harvesters can be purchased from foreign mature models. Most small-sized and medium-sized sunflower oil combined harvesters are refitted from rice, wheat, and jade noodle combined harvesters; the adaptability to sunflower oil harvesting is poor, and there are problems such as high harvest loss rate and high impurity content of seeds during the harvesting process [5,6]. During the wax ripening period of sunflower oil, the sunflower seeds undergo strong adhesion on the sunflower tray and do not easily fall off; in addition, the sunflower tray has a high moisture content. During the threshing process, the sunflower tray is easily broken and mixed with the seeds, which increases the difficulty of subsequent cleaning, resulting in higher threshing loss rate and higher impurity rate.
Scholars worldwide have conducted much research on combined harvester threshing devices [7,8,9]. For example: Azharuddin [10] used nail-toothed drums with different structures to investigate the effect of threshing elements on the detachment performance of sunflowers; Morsy et al. [11] used a “screw-toothed rod” combined drum to investigate the effects of factors, such as the threshing speed, moisture content, and threshing gap, on sunflower threshing performance; Abdollahpour et al. [12,13] used the principle of stirring to explore the influence of threshing speed, moisture content, and feed amount on the threshing effect; Sudajan et al. [14] explored the influence of different drum types, drum rotation speed, and the feed amount on threshing performance; Hao Jianjun [15] designed a cross-flow sunflower oil threshing and screening machine to address the problem of high loss rate and high impurity content of a threshing and screening machine in segmented harvesting; Zhang Xuejun et al. [16] designed a multi-rod variable-gap sunflower oil threshing device to address the problems of a low cleaning rate and high crushing rate of existing threshing devices; Han Changjie et al. [17], aimed at the problem of a high breakage rate of sunflower threshing seeds and based on the principle of manual beating threshing, designed a bionic sunflower threshing device that simulated manual beating, turntable, and turning; Li Qian [18] analyzed the impact of drum form and the working parameters of a sunflower oil threshing device on the threshing effect; Lian Guodang et al. [19] designed an axial flow spiral drum-type sunflower threshing device and analyzed the movement trajectory and force of the materials in the threshing gap; and Li Xinping [20], Wang Zhanbin [21], and other related studies, have shown that a vertical axial flow threshing device is suitable for threshing of crops such as grain and corn. In summary, recent research on sunflower oil threshing devices mainly adopts a combination of nail-toothed and bow-toothed drums, with insufficient research on the threshing effect of the threaded rod threshing drum.
At present, few studies conduct an in-depth analysis on the performance of the sunflower combine harvester threshing device. In our work, the rod-shaped longitudinal axial flow threshing test bench was designed, and the structural parameters and operating parameters of the detachment drum, deflector, and gravure screen, were optimized by theoretical analysis. According to the sunflower oil threshing requirements, the corrugated rod was selected as the threshing element, and the circular tube gravure screen was designed by the analysis of the sunflower oil threshing process. Through a single-factor test and Box-Behnken test, the factors affecting the grain loss rate and the grain mass ratio of undersized grains were analyzed, and the working parameters of the threshing device were optimized experimentally, providing a basis for the structural design and parameter optimization of a sunflower oil longitudinal axial flow combined harvester threshing device.

2. Machine and Methods

2.1. Overall Structure

The overall structure of the sunflower oil threshing device is shown in Figure 1. It is mainly composed of: a feeding port, feeding head, upper cover, threshing drum, three-phase motor, rack, and gravure screen.

2.2. Working Principle

The power of the test bench is provided by a three-phase asynchronous motor. When working, the material is threshed by axial feeding and axial removal—the sunflower disc and stalk are fed continuously from the feeding port along the direction parallel to the threshing drum. The material is forcibly grabbed by the feed head in the breakaway gap between the grain bar breakaway drum and the gravure screen. Under the extrusion and kneading action of the threshing drum and the gravure sieve, the sunflower seeds are threshed in the sunflower plate, and the threshed sunflower oil seeds and some fine debris enter the cleaning device through the gap of the gravure sieve. The sunflower plate, stalks, and larger debris are sent to the discharge port in sequence under the action of the deflector and are finally discharged from the threshing device through the discharge port. The design parameters of the test bench are shown in Table 1.

2.3. Structural Design of the Threshing Device

2.3.1. Parameter Design of the Threshing Drum

The diameter and length of the threshing drum are the key parameters affecting the threshing effect and affect the threshing ability of the drum and material passing capacity. There are many sunflower varieties planted in China, the height of different sunflower varieties varies greatly with some having heights up to 2 m; during the process of combined sunflower harvesting, longer stems enter the threshing drum. Due to the length of the sunflower stalk, the small diameter of the threshing drum causes the stalk to become entangled during the threshing process, which causes clogging of the detachment drum. Therefore, the selection of the diameter of the detachment drum is of great significance to threshing efficiency. According to the Chinese grain rod roller standard (NJ105-75), drum diameter series sizes are: 400 mm, 450 mm, 550 mm, and 600 mm. Combined with the structural size of the whole machine, the diameter of the sunflower pattern rod-type detachment drum is determined to be 600 mm. The length L of the threshing drum is mainly determined by the production efficiency. The length of the drum on the vertical axial flow threshing device is calculated according to the following equation:
L q / q 0 ( m )
where q is the feed amount of the threshing unit, kg/s, and q0 is the allowable feed amount per drum unit length, kg/s·m.
For the existing general longitudinal axial flow thresher, q = 1.5~2.0, for T-type and P-type combined harvesters, q = 3~4, and for DC-type harvesters, the length of the drum depends on the cutting width [22].
It can be seen from the above equation that the feed amount of the sunflower oil combined harvester is 2.5–3.6 kg/s, the value range of q0 is 1.5–2.0, and the length of the drum can be 1.25–2.4 m, combined with the size of the existing threshing device, and does not affect the structural layout of the whole machine. The length L of the threshing drum is taken as 2.01 m, and the length of the grain bar is 1.69 m, as shown in Figure 2:

2.3.2. Threshing Element Selection and Placement

At present, the threshing elements mainly include the nail-tooth type, rasp bar type, and bow-tooth type. Most existing sunflower oil combined harvesters are modified from grain harvesters and the original nail-toothed threshing elements are still used for threshing. The nail-toothed threshing drum mainly relies on impact threshing with the nail teeth having a strong impact on the material. When threshing sunflower oil, it is easy to break the sunflower plate, resulting in a high grain separation loss rate of the threshing device, thus increasing the load of the subsequent cleaning device. To reduce the breakage rate of the sunflower plate as much as possible while ensuring the removal rate of the sunflower oil, this study analyzes the stripped-bar-type detachment drum. As shown in Figure 3, the working surface of the threshing rod is a curved surface and consists of multiple sets of oblique embossing, which can reduce the impact on the material while enhancing the threshing grasping force.
The number Z of rasp bars can be calculated according to the following equation:
Z π D 1 / S
where D1 is the threshing drum diameter, mm, and S is the stem spacing, mm. Generally, the spacing is 18~250 mm (in terms of the circular arc length), the diameter of the horizontal feeding drum is small, and the minimum value of S can be taken as 150 mm.
To facilitate the balance of the drum, the number of grain rods is generally an even number. According to the NJ105-75 standard, when D = 600 mm, z is selected to be 8. Since sunflower is easier to thresh than corn and other grains, to prevent the sunflower plate from being severely damaged, the number of grained stems is selected to be 6.

2.3.3. Design of the Circular Tube Concave Screen

The gravure sieve is an important part of the threshing device. It works in conjunction with the threshing drum to knead and extrude material from the sunflower oil plate [23]. As shown in Figure 4a, when the traditional grid-type gravure sieve is threshing sunflower oil, the top corner of the diaphragm collides with the sunflower plate, which causes the sunflower plate to break and increase the entrainment loss rate. Therefore, a circular tube gravure screen is designed based on the grid gravure screen. The grid is formed by welding a 4 mm thick semicircular steel plate and straight round tube; the grid plate spacing is 30 mm, the round tube spacing is 50 mm, and the wrap angle is 180°. The structure is shown in Figure 4b.
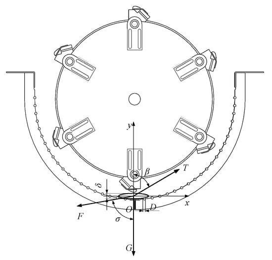
The circular tube gravure sieve mainly consists of a gravure mounting plate, a grid plate, a circular tube, and a side arc plate. During the threshing process, the sunflower oil plate collides with the gravure sieve circular tube under the drive of the detached drum. The impact on the sunflower oil plate is shown in Figure 5.
At this time, the sunflower oil is subjected to the impact force F of the grain rod, the weight G of the sunflower plate itself, and the reaction force T of the circular tube on the sunflower plate. The force model of the collision between the sunflower oil plate and the circular tube in the vertical direction is:
T cos σ = F cos β + G cos β σ D σ
where F is the impact force of the grain rod on the sunflower oil plate, N; T is the reaction of the round tube to the sunflower oil pan, N; G is the weight of the sunflower pan, N; D is the tube diameter, mm; δ is the thickness of sunflower plate, mm; σ is the included angle between the striking force F of the rasp bar and the vertical direction, °; and β is the angle between the reaction force T of the circular tube to the sunflower plate and the vertical direction, °.
It can be seen from Equation (3) that
T = ( F cos σ + G ) δ δ D
It can be seen from Equation (4) that when the diameter of the circular tube increases, the interaction force between the sunflower oil plate and the circular tube increases, the sunflower plate more easily undergoes breakage during threshing, and the loss rate of seeds increases. When the diameter of the circular tube is reduced, the interaction force between the circular tube and the sunflower oil pan is reduced, the breakage rate of the sunflower pan is reduced, and the loss rate of seeds is reduced. Therefore, to improve the threshing effect, the diameter of the round tube should be reduced. To ensure the sunflower plate and the round tube can apply kneading and threshing, the diameter of the round tube is determined to be 4 mm.
The solid circular tubes and grid plates of the gravure for threshing separation are arranged vertically to cross the region, which not only avoids the problem of the horizontal grid plate being higher than the screen bar, but also reduces the collision and shearing effect of the threshing grain rod on the sunflower plate during the threshing process, reducing the breakage rate of the sunflower plate and thus the breakage rate of the stalks. The round-tube-type gravure increases the distance between two adjacent thin round tubes, reduces the number of thin round tubes and the number of collisions on the sunflower oil plate, and increases the grid size of the separation gravure, which helps ease the seeds’ rapid separation, reducing the flow time of the shed grains on the gravure plate, and reducing the rate of grain breakage. The surface of the thin round tube is a smooth cylindrical surface without edges and corners, which reduces the impact strength and impact on the sunflower oil plate. The round tubular gravure screen not only ensures the smooth discharge of sunflower pans and stalks from the miscellaneous discharge port, but also solves the problems of severely broken sunflower pans, blockage of stalks, vibration drying, etc. This results in effective separation and reduction in entrainment loss.

2.3.4. Guide Screw Design

The guide screw is installed in the upper cover of the drum. After the sunflower oil pan collides and rubs between the detachment drum and the gravure screen, the seeds enter the cleaning device through the gravure screen grid under the influence of gravity and the empty sunflower pan and stalks move in a circular motion driven by the threaded rod. At this time, the guide screw guides the material to move axially so the threshed sunflower pan enters the miscellaneous discharge section and is discharged from the threshing device. To enable the guiding screw to guide the material, the inclination angle of the deflector is obtained through force analysis of the material. The force analysis is shown in Figure 6.
The material can move along the guiding spiral with the following dynamic model:
F m F p
where Fm is the component force of the inertial force in the direction of the deflector, N; Fp is the material friction, N; and
F 0 sin α F 0 cos α × f
where F0 is the inertial force, N, and f is the coefficient of friction.
It can be known from Equation (5) that the guide helix angle should be smaller than the friction angle between the sunflower oil plate and the steel plate, that is, the helix angle should be less than 62°. If the guide helix angle is too small, the material will stay in the threshing drum for too long and the material will undergo breakage. The entrainment loss is strongly increased, so this work selects the guide helix angle as 30°, and the pitch of the helical blades as 150 mm.

2.4. Field Experiment

2.4.1. Experimental Arrangement

The experimental samples were collected from the short-headed 567DW sunflower oil variety planted in the sunflower oil experimental demonstration based in Fukang County, Changji City, Xinjiang Uygur Autonomous Region. The diameter of the sunflower plate was 150–260 mm, the thickness of the sunflower plate was 13.5–29.6 mm, the moisture content was 20–30%, and the moisture content of the seeds was 9–16%. The tests were carried out at the Engineering Training Base of Huazhong Agricultural University in Wuhan from 15 to 20 September 2022.
The vertical axial flow sunflower oil threshing device designed in this paper (Figure 7) was used to carry out the sunflower oil threshing experiment. To better simulate the threshing effect of the whole sunflower, the materials were used in the production of the test bench and the threshing device of the machine. Before the test, 4 kg material was evenly laid on the conveying device, with the feed amount of the threshing device controlled by adjusting the operating speed of the conveying device. The experiment adopted the method of continuous feeding, taking the threshing gap, drum speed, and feed amount as experimental factors, and the motor speed being controlled by a frequency converter to adjust the separation drum speed. The grain loss rate and grain mass ratio were the main evaluation indexes of the experiment.

2.4.2. Data Collection and Processing

Before the test, the variable-frequency drive parameters were adjusted to ensure that the threshing drum reached the corresponding speed. According to the feed amount of the combined harvester in the field operation, the feed amount was controlled to be 2–4 kg/s. The material was fed into the threshing device to complete the threshing and separation, and the extruded material was discharged through the discharge port. Each group of tests was repeated three times. After the experiment, the extrudates were screened manually, and the materials with insufficient screening were divided into particles and impurities, which were weighed separately to calculate the mass ratio of particles with insufficient particle size. We recorded the total mass M1, including the particle mass m1 and residual mass m2. The extruded materials were manually divided into entrained particles, unpeeled particles, sunflower heads, and straws. Their weights were measured. The total mass of extruded material was denoted by M2, including the mass m3 of entrained particles and the mass m4 of impurity particles. Finally, the material-to-mass ratios were calculated. The calculation equation of the grain loss rate y1 of the threshing device and the grain mass ratio of undersize grain y2 is as follows:
y 1 = m 3 m 1 + m 3 × 100 %
y 2 = m 1 M 1 × 100 %

3. Results and Discussion

3.1. Single Factor Test Analysis

According to the previous theoretical analysis and the adjustable range of the key parameters of the test bench, the factor values of the single factor test are as follows: the threshing gap is 10–30 mm, drum speed is 100–300 r/min, and feed amount is 2–3.5 kg/s.

3.1.1. Influence of Threshing Gap on Threshing Effect

The effect of the threshing gap on the threshing effect is shown in Figure 8. It can be seen from the figure that with the increase in the separation gap, the loss rate of threshed grains and the grain mass ratio of undersize grains both show an increasing trend. When the threshing gap is less than 15 mm, the sunflower oil plate is easily broken, and the entrainment loss increases accordingly, resulting in an increase in the loss rate of threshing seeds. When the threshing gap is greater than 25 mm, the rubbing effect of the gravure rod and the gravure sieve on the sunflower oil pan is reduced, resulting in some sunflower pan seeds not being removed, and the grain mass ratio of the undersized sieve decreases accordingly. Therefore, the range of the disengagement gap is selected as 15–25 mm.

3.1.2. Influence of Drum Speed on Threshing Effect

The effect of drum speed on the threshing effect is shown in Figure 9. It can be seen from this figure that with the increase in the rotating speed of the threshing drum, the loss rate of grains shows an upward trend, and the grain mass ratio of undersize to grain shows a trend of first increasing, and then decreasing. In this speed range, the higher the drum speed is, the greater the impact force on the sunflower oil pan is, and the higher the seed removal rate of the sunflower pan is. When the rotating speed of the drum is 100–200 r/min, with the increase in the rotating speed of the drum, the residence time of the sunflower plate in the threshing gap is reduced, which reduces the crushing of the sunflower plate caused by the extrusion and kneading of the grain rod. The quality ratio is on the rise. When the rotating speed increases to 200–300 r/min, due to the excessively fast rotating speed, the impact force of the sunflower oil plate by the grain rod increases, the sunflower plate breaks more severely, and the grain mass ratio of undersize decreases accordingly. Therefore, the drum speed range is selected to be 150–250 r/min.

3.1.3. Influence of the Feed Amount on the Threshing Effect

The effect of the feed amount on the detachment effect is shown in Figure 10. It can be seen from the figure that with the increase in the feed amount, the loss rate of grains shows an upward trend, and the grain mass ratio of undersize decreases first, then increases. Under the condition that other conditions remain unchanged, the feed amount increases continuously, the density of the sunflower oil disk in the threshing gap increases, the collision effect decreases, the kneading effect increases, the material breaking rate decreases, and the grain removal rate increases. When the feed amount is greater than 3.2 kg/s, the material is blocked in the separation gap, material crushing is reduced, and the quality of the grains under the screen is partially increased. When the feed amount is less than 2.6 kg/s, the threshing efficiency is low. To ensure suitable threshing efficiency, the feed amount range is 2.6–3.2 kg/s.

3.2. Response Surface Experiment Analysis

3.2.1. Test Design

To find the optimal parameter combination, Design-Expert software was used to carry out a Box-Behnken test design for a total of 17 groups of experiments, each group of experiments was repeated three times to obtain the average value. The influence of the separation gap, drum speed, and feed amount on the threshing loss rate y1 of the grain mass ratio of undersize y2 of the sieve was explored. See Table 2 for factor level coding, and Table 3 for the test plan and results, where x1, x2, and x3, are factor coding values.

3.2.2. Test Results

Design-Expert data processing software was used to carry out variance analysis on the data in Table 3, and the variance analysis results of the grain loss rate and the grain mass ratio of undersize were obtained, as shown in Table 4 and Table 5. We performed quadratic multi-distance regression fitting on the data in the table and established the regression model of the threshing device’s grain loss rate y1, grain mass ratio of the undersize material y2, and the threshing gap x1, drum speed x2, and feed amount x3.
y1 = 2.48 + 0.035 x1 + 0.49 x2 + 0.075 x3 + 0.0075 x1x2 − 0.097 x1x3 − 0.088 x2x3 + 0.27 x12 − 0.040 x22 + 0.18 x32
y2 = 80.29 + 4.90 x1 − 0.83 x2 + 0.19 x3 − 0.52 x1x2 − 0.33 x1x3 + 0.24 x2x3 − 0.059 x12 − 2.02 x22 − 0.72 x32
It can be seen from Table 4 that the significant difference test of the y1 regression model components is p = 0.00004, the lack of fit p = 0.2486, and the coefficient of determination R2 = 0.98. The regression model is significant, but the lack of fit is not significant, and the coefficient of determination is close to 1, which shows that the y1 regression model fits well. The smaller the coefficient of variation is, the stronger the reliability of the test data. The coefficient of variation of the y1 regression model is 3.15%, indicating that the test data are reliable. When using Design-Expert for the Box-Behnken experimental design, the model can better predict the test results when the accuracy is greater than 4 [24,25]. The accuracy of the Y1 regression model is 19.22, indicating that the Y1 regression model can better predict the grain loss rate of the threshing device. It can be seen from Table 4 that x2, x12, and x32 are extremely significant for the impact of various factors on the loss rate of threshed grains; x1x3 is significant, and the significance of the impact is ordered as: x2, x12, x32, x1x3, from large to small. There is a quadratic nonlinear relationship between the experimental factors x1 and x3 and the grain loss rate, and the interaction has a significant impact on the threshing grain loss rate. The relationship between the loss rate of threshing grains and various factors is shown in Figure 11.
It can be seen from Figure 11a that in the value range of the experimental factors, the impact of the drum speed is significantly greater than that of the threshing gap, the interaction between the drum speed and the separation gap has little effect on the loss rate of threshing grains, and the interaction is not significant. It can be seen from Figure 11b that within the value range of the experimental factors, with the increase in the feed amount, the loss rate of threshing grains decreases first and then increases. Following an upward trend, the interaction of the threshing gap and feed amount has a significant effect on the threshing loss rate. It can be seen from Figure 11c that within the value range of the test factor range, the threshing loss rate decreases with increasing drum speed, and the impact of the threshing gap on the threshing grain loss rate is significantly greater than that of the feed amount. The interaction of drum speed and feed amount has no significant effect on the loss rate of the threshing grains.
It can be seen from Table 5 that the significant difference test of the y2 regression model components yields p = 0.0015, the lack of fit p = 0.5676, and the coefficient of determination R2 = 0.9419. The regression model is significant, but the lack of fit is not significant, and the coefficient of determination is close to 1, which shows that the regression model fits well. The coefficient of variation of the y2 regression model is 1.76%, indicating that the test data are reliable, and the accuracy of the y2 regression model is 10.817, indicating that the y2 regression model can suitably predict the grain mass ratio of undersize material. Table 5 shows the impact of various factors on the grain mass ratio of undersize material, among which x1 and x22 are extremely significant, x2x3 is significant, and the significance of the influence from large to small is ordered as: x1, x22, x2x3. There is a quadratic nonlinear relationship between the experimental factor x2 and the grain mass ratio of undersize material. The interaction term of drum speed and feed amount has a significant effect on the grain mass ratio of undersize material, while the other interaction terms have no significant effect on the grain mass ratio of undersize material. The response surface of the relationship between the grain mass ratio of undersize and each test factor is shown in Figure 12.
It can be seen from Figure 12a that within the range of test factors, the grain mass ratio of the undersize material increases with increasing separation gap, and the impact of the separation gap on the grain mass ratio of the undersize material is significantly greater than that of the drum speed. The interaction between drum speed and threshing gap has a certain effect on the grain mass ratio of undersize material, but the effect is not significant. It can be seen from Figure 12b that within the range of experimental factors, the impact of the threshing gap on the grain mass ratio of the undersize material is significantly greater than that of the feed amount, and the interaction between feed amount and threshing gap has a certain influence on the grain mass ratio of undersize material. The effect is not significant. It can be seen from Figure 12c that within the range of test factors, the grain mass ratio of undersize material increases first and then decreases with increasing drum speed. The grain mass ratio of undersize material increases first and then decreases with increasing feed amount, and the change trend of the grain mass ratio of undersize material is flat compared with that of the drum speed. The interaction between the drum speed and feed amount has a significant effect on the grain mass ratio of undersize material.

3.2.3. Parameter Optimization and Experimental Verification

Using the optimization numerical optimization function of the Design-Expert software, with the aim to reduce the loss rate of threshing grains and increasing the grain mass ratio of undersize material, a multi-objective optimization solution was carried out on the separation gap, drum speed, and feed amount. In the criteria part of the numerical module, we set the goal of the grain removal rate y1 to minimize this parameter, and we set the goal of the stalk breakage rate y2 to maximize this parameter. The constraint conditions of the objective function and each parameter variable are shown in Equation (11).
min   y 1 max   y 2 15   mm x 1 25   mm 150   r min 1 x 2 250   r min 1 2.6   kg / s x 2 3.2   kg / s
Finally, the optimal parameter combination was obtained as follows: the separation gap was 24.903 mm, the drum speed was 244.138 r/min, and the feed amount was 2.948 kg/s. Under these conditions, the threshing loss rate was 2.30%, and the grain mass ratio of undersize material was 82.52%.
Three repeated threshing tests were carried out on the threshing test bench according to the optimized parameter combination. The loss rate of threshed grains was 2.35%, the grain mass ratio of undersize material was 81.34%, and the relative errors were 2.17% and 1.43%. The results show that the relative error between the loss rate of threshed grains and the grain mass ratio of undersize material in the verification test and the predicted results was small, and the results were within the allowable range of errors, proving that the results have certain reliability.

4. Discussion

4.1. Effect of Threshing Gap on Grain Loss Rate and Grain Mass Ratio of Undersize

The law of the grain loss rate changed as shown in Figure 8. The possible reason is that when the threshing gap is less than 15 mm, the sunflower disc is severely broken, and the seeds are mixed between the broken sunflower discs, resulting in an increase in the grain loss rate.
The law of the grain mass ratio of undersize material changed as shown in Figure 8. The reason is that the threshing gap is larger than the thickness of the sunflower disc, the sunflower disc is subjected to an insufficient extrusion pressure, and the grain does not leave the sunflower disc, resulting in a smaller grain mass in the material under the sieve. Upon considering the grain loss rate and grain mass ratio of undersize material, the threshing gap range was defined as 15~25 mm.

4.2. Effect of the Drum Speed on the Grain Mass Ratio of Undersize Material

The law of the grain mass ratio of undersize material changed as shown in Figure 9. When the drum speed is low, the impact force of the material is small, and the grains on the sunflower disk are not completely removed, resulting in a decrease in the proportion of grains in the undersize material. When the drum speed is high, the impact force of the material on the drum increases, the sunflower disk and the stalk fed are severely broken, and the fine material passes through the sieve hole, resulting in a decrease in the proportion of grains in the undersize material. Considering the above, the range of drum speed was determined to be 150~250 r/min.

4.3. Effects of the Feed Amount on the Grain Mass Ratio of Undersize Material

The law of the grain mass ratio of undersize material changed as shown in Figure 10, which can be explained by the following facts: with an increased feed amount, the sunflower dish is more densely distributed, the possibility of the sunflower dish not undergoing full rubbing increases, and the proportion of grains under sieve decreases. Considering this, the feed amount range was defined as 2.6~3.2 kg/s.

5. Conclusions

(1)
Aiming at the problems of high seed loss rate and high impurity content in the sunflower oil threshing process, a longitudinal axial flow sunflower oil threshing device was designed. A rasp bar-type threshing drum was used to reduce the collision and impact of the threshing element on the sunflower oil plate, and a circular tube-type gravure screen was designed to reduce the breakage caused by collision between the sunflower plate and the grid plate during threshing.
(2)
The effects of the threshing gap, drum speed, and feed amount on the threshing effect were investigated using a single-factor test. The results showed that the optimal threshing gap range was 15~20 mm, the optimal drum speed range was 150~250 r/min, and the optimal feed amount range was 2.6~3.2 kg/s.
(3)
Multi-objective optimization of the grain loss rate and grain mass ratio of undersize material was performed by the Box-Behnken test, and the results showed that the optimal parameter combination was as follows: the threshing gap was 24.903 mm, the drum speed was 244.138 r/min, and the feed amount was 2.948 kg/s. The difference between the validation result and the predicted value was less than 3%.

Author Contributions

Conceptualization, W.L. and J.L.; formal analysis, J.L.; investigation, W.L. and J.L.; resources, W.L.; data curation, W.L.; writing—original draft preparation, W.L.; writing—review and editing, W.L.; visualization, L.M. and M.L.; supervision, L.M., W.Z. and G.L.; project administration, J.L.; funding acquisition, J.L. All authors have read and agreed to the published version of the manuscript.

Funding

This project was funded by the Hainan Provincial Natural Science Foundation of China (520RC540) and the National Key Research and Development Plan (2016YFD0702104).

Institutional Review Board Statement

Not applicable.

Informed Consent Statement

Not applicable.

Data Availability Statement

The data presented in this study are available on demand from the first author.

Conflicts of Interest

The authors declare no conflict of interest. The funder had no role in the design of this study; in the collection, analyses, or interpretation of data; in the writing of the manuscript; or in the decision to publish the results.

References

  1. Guo, S.C.; LI, S.P.; Sun, R.F. Analysis of the overall situation of sunflower industry development in t world and China. Chin. Seed. Ind. 2021, 7, 10–13. [Google Scholar]
  2. Zong, W.Y.; Liu, Y.; Huang, X.M.; Ma, L.N.; Tang, S.P. Present situation and developmental strategies for sunflower mechanized harvest in China. Acta Agric. Univ. Jiangxiensis 2017, 39, 600–606. [Google Scholar]
  3. Liu, W.; Huang, X.M.; Ma, L.N.; Zong, W.Y.; Zhu, Y.F. Design and experiment of special header of oil sunflower combine harvester. Trans. Chin. Soc. Agric. Mach. 2020, 51, 83–88. [Google Scholar]
  4. Jin, W.; Ding, Y.C.; Bai, S.H.; Zhang, X.J.; Yan, J.S.; Zhou, X.C. Design and experiments of the reel board header device for an oil sunflower harvester. Trans. Chin. Soc. Agric. Eng. 2021, 37, 27–36. [Google Scholar]
  5. Ma, S.T.; Zhang, X.J.; Zhu, X.L.; Yu, M.J.; Liu, Y.; Zhang, Y.H.; Zhang, H.T. Design of threshing device of oil sunflower combined harvester. Gansu Agric. Univ. 2021, 56, 176–181. [Google Scholar]
  6. Zhang, X.J.; Li, Q.; Zhu, X.L.; Ma, S.T. Rotational speed control of threshing cylinder of oil sunflower combine harvester based on active disturbance rejection controller-dynamic matrix predictive. Trans. Chin. Soc. Agric. Eng. 2019, 35, 9–16. [Google Scholar]
  7. Zhan, G.; Ma, L.; Zong, W.; Liu, W.; Deng, D.; Lian, G. Study on the Vibration Characteristics of Rape Plants Based on High-Speed Photography and Image Recognition. Agriculture 2022, 12, 727. [Google Scholar] [CrossRef]
  8. Ali, K.A.M.; Zong, W.; Md-Tahir, H.; Ma, L.; Yang, L. Design, Simulation and Experimentation of an Axial Flow Sunflower-Threshing Machine with an Attached Screw Conveyor. Appl. Sci. 2021, 11, 6312. [Google Scholar] [CrossRef]
  9. Ali, K.A.M.; Huang, X.; Zong, W.; Abdeen, M.A.M. Mechanical structure and operating parameters of sunflower harvesting machines: A review. IAEJ 2020, 29, 1–12. [Google Scholar]
  10. Azharuddin, K.; Mir, S.; Narasimhan, M.M. Design and fabrication of sunflower seed extracting machine. Int. J. Latest Technol. Eng. 2016, 5, 90–97. [Google Scholar]
  11. Morsy, H.; Ashr, A.; Kfrawy, A. Development and performance evaluation of a rubbing thresher for sunflower crop. J. Soil Sci. Agric. Eng. 2019, 10, 61–67. [Google Scholar]
  12. Abdollahpour, S.; Ghassemzadeh, H. Designing, fabrication and evaluation of threshing unit edible sunflower. Agric. Eng. Int. CIGR J. 2019, 21, 52–58. [Google Scholar]
  13. Chavoshgoli, E.; Abdollahpour, S.; Ghasemzadeh, H. Construction an innovative separator sunflower grain with new methods. Eng. Int. CIGR J. 2020, 22, 76–85. [Google Scholar]
  14. Sudajan, S.; Salokhe, V.M.; Triratanasirichai, K. PM—Power and machinery: Effect of type of drum, drum speed and feed rate on sunflower threshing. Biosyst. Eng. 2002, 83, 413–421. [Google Scholar] [CrossRef]
  15. Hao, J.J.; Wei, W.B.; Qin, J.H.; Zhu, Z.M.; Lv, X.Y.; Yang, S.H. Design and test of cut-flow type oil sunflower threshing and screening machine. Trans. Chin. Soc. Agric. Mach. 2022, 53, 139–148. [Google Scholar]
  16. Zhang, X.J.; Ma, S.T.; Zhu, X.L.; Yuan, P.P.; Yu, M.J.; Liu, Y. Design and test of oil-sunflower threshing device with variable clearance. Trans. Chin. Soc. Agric. Eng. 2020, 36, 26–33. [Google Scholar]
  17. Han, C.J.; Diao, H.W.; Zhu, X.L.; Huang, X.N.; Wang, S.; Song, D.L. Design and experiment of the edible sunflower threshing device based on manual threshing principle. Trans. Chin. Soc. Agric. Eng. 2022, 38, 57–64. [Google Scholar]
  18. Li, Q.; Zhang, X.J.; Zhu, X.L. Design and experimental study on threshing device of oil sunflower combine harvester. J. Chin. Agric. Mech. 2019, 40, 6–12. [Google Scholar]
  19. Lian, G.D.; Wei, X.X.; Ma, L.N.; Zhou, G.H.; Zong, W.Y. Design and experiments of the axial-flow spiral drum threshing device for the edible sunflower. Trans. Chin. Soc. Agric. Eng. 2022, 38, 42–51. [Google Scholar]
  20. Li, X.P.; Wang, W.Z.; Zhao, G.Y.; Sun, C.C.; Hu, P.Z.; Ji, J.T. Design and experiment of longitudinal axial flow double flexible rolling and kneading threshing device for millet. Trans. Chin. Soc. Agric. Mach. 2021, 52, 113–123. [Google Scholar]
  21. Wang, Z.B.; Wang, Z.W.; Zhang, Y.P.; Yan, W.X.; Chi, Y.J.; Liu, C.Q. Design and test of longitudinal axial flexible hammer-claw corn thresher. Trans. Chin. Soc. Agric. Mach. 2020, 51, 109–117. [Google Scholar]
  22. Chinese Academy of Agricultural Mechanization Sciences. Agricultural Machinery Design Manual; China Agricultural Science and Technology Press: Beijing, China, 2007. [Google Scholar]
  23. Fan, C.L.; Cui, T.; Zhang, D.X.; Yang, L.; Qu, Z.; Li, Y.H. Design and test of low-damage combined corn threshing and separating device. Trans. Chin. Soc. Agric. Mach. 2019, 50, 113–123. [Google Scholar]
  24. Powa, R.R.V.; Aware, V.V.; Shahare, P.U. Optimizing operational parameters of finger millet threshing drum using RSM. J. Food Sci. Technol. 2019, 56, 3481–3491. [Google Scholar]
  25. Ge, Y.Y.B. Design of Experiments Methodology and Application of Design-Expert Software; Harbin Institute of Technology Press: Harbin, China, 2015. [Google Scholar]
Figure 1. Three-dimensional model of the threshing test bench: 1. feeding head; 2. upper cover; 3. deflector; 4. plate for impurity removal; 5. gravure screen; 6. rack; 7. threshing rasp bar; 8. drive motor; 9. pulley; 10. feed inlet; 11. transmission device motor; 12. sprocket; 13. conveyor frame; 14. conveyor belt.
Figure 1. Three-dimensional model of the threshing test bench: 1. feeding head; 2. upper cover; 3. deflector; 4. plate for impurity removal; 5. gravure screen; 6. rack; 7. threshing rasp bar; 8. drive motor; 9. pulley; 10. feed inlet; 11. transmission device motor; 12. sprocket; 13. conveyor frame; 14. conveyor belt.
Agriculture 13 00876 g001
Figure 2. Three-dimensional model of threshing drum: 1. spiral feeding head; 2. drum shaft; 3. rod installation shaft; 4. rod connection seat; 5. spoke disc; 6. threshing gap adjustment device.
Figure 2. Three-dimensional model of threshing drum: 1. spiral feeding head; 2. drum shaft; 3. rod installation shaft; 4. rod connection seat; 5. spoke disc; 6. threshing gap adjustment device.
Agriculture 13 00876 g002
Figure 3. Schematic diagram of the structure of the rasp bar.
Figure 3. Schematic diagram of the structure of the rasp bar.
Agriculture 13 00876 g003
Figure 4. (a) Schematic diagram of a concave grid sieve: 1. side arc plate; 2. diaphragm; 3. sieve bar; (b) Schematic diagram of the round tubular concave plate sieve: 1. gravure mounting plate; 2. grid plate; 3. round tube; 4. side arc plate.
Figure 4. (a) Schematic diagram of a concave grid sieve: 1. side arc plate; 2. diaphragm; 3. sieve bar; (b) Schematic diagram of the round tubular concave plate sieve: 1. gravure mounting plate; 2. grid plate; 3. round tube; 4. side arc plate.
Agriculture 13 00876 g004
Figure 5. Stress analysis diagram of the detached sunflower disc.
Figure 5. Stress analysis diagram of the detached sunflower disc.
Agriculture 13 00876 g005
Figure 6. Force analysis of guided spiral material.
Figure 6. Force analysis of guided spiral material.
Agriculture 13 00876 g006
Figure 7. Physical image of the threshing test bench.
Figure 7. Physical image of the threshing test bench.
Agriculture 13 00876 g007
Figure 8. Effect of disengagement gap on threshing performance.
Figure 8. Effect of disengagement gap on threshing performance.
Agriculture 13 00876 g008
Figure 9. Effect of drum speed on threshing performance.
Figure 9. Effect of drum speed on threshing performance.
Agriculture 13 00876 g009
Figure 10. Effect of the feed amount on the threshing performance.
Figure 10. Effect of the feed amount on the threshing performance.
Agriculture 13 00876 g010
Figure 11. Influence of interactive factors on the grain loss rate.
Figure 11. Influence of interactive factors on the grain loss rate.
Agriculture 13 00876 g011
Figure 12. Influence of interaction factors on the grain mass ratio of undersize material.
Figure 12. Influence of interaction factors on the grain mass ratio of undersize material.
Agriculture 13 00876 g012
Table 1. Parameters of equipment used in the threshing test bench.
Table 1. Parameters of equipment used in the threshing test bench.
ParameterValue
Output of the roll form Striped rod
Disengagement roller diameter/mm 1800
Length of the threshing drum/mm2100
Gravure screen formRound tube
Feed amount/(kg/s)1–4
Adjustment range of the threshing gap/mm10–60
Drum speed adjustment range/(r/min)0–800
Table 2. Coding table of the test factor level.
Table 2. Coding table of the test factor level.
LevelsThreshing GapDrum SpeedFeed Amount
−1151502.6
0202002.9
1252503.2
Table 3. Box-Behnken test protocol and results.
Table 3. Box-Behnken test protocol and results.
Test Serial Number No.Factors and LevelsResponse Index
Threshing Gap
x1/mm
Drum Speed x2/mmFeed Amount x3/(r·min−1)Threshing Loss Rate/%Grain Mass Ratio of Undersize/%
10−112.2578.94
210−12.9284.76
30002.4679.54
4−1−102.1873.24
50−1−11.9877.74
60002.5180.94
7−1103.0972.52
81012.9383.18
90002.3882.45
100113.0977.85
11−10−12.7475.19
120002.5778.62
130002.4979.91
14−1013.1474.92
151103.2682.15
1601−13.1775.69
171−102.3284.96
Table 4. Analysis of the grain loss rate regression Formula ANOVA.
Table 4. Analysis of the grain loss rate regression Formula ANOVA.
SourceSum of SquareFree DegreeMean SquareF Valuep Value
Model2.427 9 0.270 38.105 <0.0001 **
x10.004 1 0.004 0.572 0.4740
x21.882 1 1.882 265.952 <0.0001 **
x30.031 1 0.031 4.417 0.0737
x1x20.000 1 0.000 0.032 0.8635
x1x30.060 1 0.060 8.483 0.0226 *
x2x30.031 1 0.031 4.328 0.0760
x120.280 1 0.280 39.533 0.0004 **
x220.003 1 0.003 0.442 0.5275
x320.118 1 0.118 16.745 0.0046 **
Residual0.050 7 0.007
Lack of Fit0.030 3 0.010 2.0570.2486
Pure Error0.019 4 0.005
Cor Total2.476 16 0.270
* means that the impact is significant; ** means that the impact is extremely significant.
Table 5. Analysis of variance of the regression formula for the grain mass ratio of undersize material.
Table 5. Analysis of variance of the regression formula for the grain mass ratio of undersize material.
SourceSum of SquareFree DegreeMean SquareF Valuep Value
Model245.726927.30316.7070.0006
x1191.8841191.884117.415<0.0001 **
x25.56115.5613.4030.1076
x30.03010.0300.0180.8960
x1x21.09211.0920.6680.4406
x1x30.42910.4290.2630.6242
x2x312.110112.1107.4100.0297 *
x120.82110.8210.5020.5014
x2226.654126.65416.3100.0049 **
x326.27716.2773.8410.0908
Residual11.44071.634
Lack of Fit2.85630.9520.4440.7349
Pure Error8.58442.146
Cor Total257.16616
* means that the impact is significant; ** means that the impact is extremely significant.
Disclaimer/Publisher’s Note: The statements, opinions and data contained in all publications are solely those of the individual author(s) and contributor(s) and not of MDPI and/or the editor(s). MDPI and/or the editor(s) disclaim responsibility for any injury to people or property resulting from any ideas, methods, instructions or products referred to in the content.

Share and Cite

MDPI and ACS Style

Liu, W.; Ma, L.; Zong, W.; Liu, J.; Li, M.; Lian, G. Design and Experimentation of a Longitudinal Axial Flow Sunflower Oil Threshing Device. Agriculture 2023, 13, 876. https://doi.org/10.3390/agriculture13040876

AMA Style

Liu W, Ma L, Zong W, Liu J, Li M, Lian G. Design and Experimentation of a Longitudinal Axial Flow Sunflower Oil Threshing Device. Agriculture. 2023; 13(4):876. https://doi.org/10.3390/agriculture13040876

Chicago/Turabian Style

Liu, Wei, Lina Ma, Wangyuan Zong, Jinyi Liu, Mao Li, and Guodang Lian. 2023. "Design and Experimentation of a Longitudinal Axial Flow Sunflower Oil Threshing Device" Agriculture 13, no. 4: 876. https://doi.org/10.3390/agriculture13040876

APA Style

Liu, W., Ma, L., Zong, W., Liu, J., Li, M., & Lian, G. (2023). Design and Experimentation of a Longitudinal Axial Flow Sunflower Oil Threshing Device. Agriculture, 13(4), 876. https://doi.org/10.3390/agriculture13040876

Note that from the first issue of 2016, this journal uses article numbers instead of page numbers. See further details here.

Article Metrics

Back to TopTop