A Study on Evaluation and Application of Snowmelt Performance of Anti-Icing Asphalt Pavement
Abstract
:1. Introduction
2. Materials and Experiment
2.1. Materials
2.1.1. Asphalt and Aggregate
2.1.2. Anti-Icing Filler
2.2. Anti-Icing Asphalt Mixture
2.2.1. Design of Ingredient
2.2.2. Determination of Anti-Icing Filler Distribution
2.2.3. Longitudinal Distribution Evaluation
2.2.4. Transverse Distribution Evaluation
2.3. Experimental
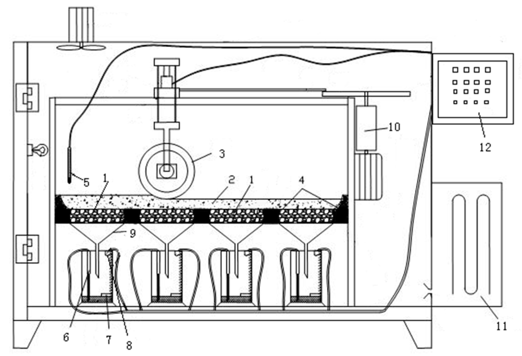
2.3.1. Evaluation of Self-Snow-Melting Performance
2.3.2. Determination of Snow Amount
2.3.3. Determination of the Freezing Point of Anti-Icing Filler Solutions
2.3.4. Experimental Procedure
2.3.5. Evaluation of Deicing Performance
3. Results and discussion
3.1. Self-Snow-Melting Test
3.1.1. Effect of Snowfall Intensity
- At the five different temperatures, the anti-icing asphalt mixture exhibited a higher snow melting efficiency compared with the conventional asphalt mixture. The reason is that the snow increased the air humidity, which promoted the precipitation of anti-icing filler and formed a salt solution. The salt could be transferred from inside the high-concentration zone to the low-concentration surface, further promoting the precipitation of anti-icing filler and thereby accelerating the snow melting.
- Under the condition of moderate or light snow, the appropriate application temperature of the anti-icing asphalt mixture is not less than −10 °C. Under the condition of heavy snow or blizzard, the appropriate application temperature is not less than 0 °C, because snow was evidently melted at these temperature ranges. At below 0 and −10 °C, respectively, in both cases, snow was rarely melted. However, the brine solution can lower the adhesion between pavement and ice-snow layer, and the snow-removing efficiency can be improved when other snow-removing methods are applied.
3.1.2. Effect of the Dosage of Anti-Icing Filler
- Compared with the conventional asphalt mixture, the asphalt mixtures with different amounts of V-260 addition all exhibit an obviously improved ice and snow melting performances.
- At −5 °C, the effect of the amount of anti-icing filler had a minor influence on the melting quality of snow. At −15, −10, 0, and 5 °C, the results of these effects were similar, as shown in Figure 10, Figure 11, Figure 12 and Figure 13. This can be attributed to low addition amounts and short test times.
3.1.3. Effect of Temperature
3.1.4. Regression Analysis of Snow Melting Effect
3.2. Deicing Test
3.3. Climate Zone of the Anti-Icing Asphalt Mixture
4. Conclusions
- The application temperatures of the anti-icing asphalt mixture should exceed −10 °C for the moderate or light snow conditions and exceed 0 °C for heavy or blizzard conditions.
- A linear dependence between the anti-icing asphalt mixture snowmelt quality and time was observed for all tested values of snowfall intensity and temperature. On the other hand, under the same snowfall intensity conditions, a two- to threefold increase of the melting rate with temperature was observed. At the same temperature, only a slight variation of the melting rate for different snowfall intensities was observed.
- The anti-icing asphalt mixture has the function of deicing performance so that the adhesion between ice and pavement can be reduced.
Acknowledgments
Author Contributions
Conflicts of Interest
References
- Hall, W.; Smith, L.; Titus-Glover, L.; Wambold, C.; Yager, J.; Rado, Z. NCHRP Research Results Digest 321: Guide for Pavement Friction: Background and Research Guide for Pavement Friction; TRB Publications: Washington, DC, USA, 2009. [Google Scholar]
- COST 344: European Cooperation in the Field of Scientific and Technical Research. Improvements to Snow and Ice Control on European Roads and Bridges; Krzan, S., Oberg, G., Herga, L., Eds.; COST 344: Ljubljana, Slovenia, 2002. [Google Scholar]
- Kiljan, J. Placement of an Experimental Bituminous Concrete Mixture Utilizing an Asphalt Additive—Verglimit; Final Report to Colorado Department of Highways, Report No.: CDOH/DTD/R-89-4; Colorado Department of Highways: Denver, CO, USA, 1989. [Google Scholar]
- Augeri, F. Placement of an Experimental Bituminous Concrete Mixture Utilizing n Asphalt Additive—Verglimit; Final Report to Connecticut Department of Transportation, Report No.: FHWA/CT/RD 1085-2-87-6; Connecticut Department of Transportation: Rocky Hill, CT, USA, 1987.
- Felice, G.; Filippo, M.; Giovanni, P.; Sara, F.; Massimo, P. Effectiveness of sodium chloride-based anti-icing filler in asphalt mixtures. Constr. Build. Mater. 2012, 30, 174–179. [Google Scholar]
- Turgeon, M. Evaluation of Verglimit (A De-Icing Additive in Plant Mixed Bituminous Surface); Final Report to Minnesota Department of Transportation, Report No.: FHWA/MN/RD-89/02; Minnesota Department of Transportation: St. Paul, MN, USA, 1989. [Google Scholar]
- Sato, K.; Hori, H. Development of anti-icing asphalt pavement using rubber particles. In Proceedings of the 11th New Challenges for Winter Road Service, XIth International Winter Road Congress, Sapporo, Japan; 2002. [Google Scholar]
- Stroup-Gardiner, M. Use of Verglimit De-Icing Product on El Dorado County Highway 50 PM 38.6 to 39.7; California Pavement Preservation Center, Report No.: CP2C-2008-103 TB; California Pavement Preservation Center: Chico, CA, USA, 2008. [Google Scholar]
- Chappelow, C.; McElroy, D.; Blackburn, R.; Darwin, D.; de Noyelles, G.; Locke, E. Handbook of Test Methods for Evaluating Chemical Deicers. Strategic Highway Research Program; National Research Council, National Academy of Sciences: Washington, DC, USA, 1992. [Google Scholar]
- Wuori, F. Ice-Pavement Bond Disbonding Surface Modification and Disbonding; Strategic Highway Research Program: Washington, DC, USA, 1993. [Google Scholar]
- Anburaj, M.; Laura, F.; Michelle, A.; Wang, S.; Gong, J.; Shi, X. Correlating lab and field tests for evaluation of deicing and anti-icing chemicals: A review of potential approaches. Cold Reg. Sci. Technol. 2014, 97, 21–32. [Google Scholar]
- Nixon, A.; Qiu, J.; Qiu, L.; Kochumman, G.; Xiong, J. Ice melting performance for ice-control chemicals. In Proceedings of the 84th Annual Meeting of the Transportation Research Board, Washington, DC, USA, 9–13 January 2005. [Google Scholar]
- Gerbino-Bevins, M. Performance Rating of De-Icing Chemicals for Winter Operations. Master’s Thesis, University of Nebraska, Lincoln, NE, USA, August 2011. [Google Scholar]
- Sang, L.; Xu, Y. Performance evaluation of high-elastic asphalt mixture containing deicing agent Mafilon. Constr. Build. Mater. 2015, 94, 494–501. [Google Scholar]
- Cuelho, E. Establishing Best Practices of Removing Snow and Ice from California Roadways. In Proceedings of the Winter Maintenance Committee at the 89th Transportation Research Board Annual Meeting, Washington, DC, USA, 10–14 January 2010. [Google Scholar]
- Nixon, A.; Wei, Y. Optimal Usage of De-Icing Chemicals When Scraping Ice: Final Report of Project HR 391; IIHR Technical Report No. 434; IIHR-Hydrocsience and Engineering, University of Iowa: Iowa, IA, USA, 2003. [Google Scholar]
- Xu, O.; Han, S.; Zhang, C.; Liu, Y.; Xiao, F.; Xu, J. Laboratory investigation of andesite and limestone asphalt mixtures containing sodium chloride-based anti-icing filler. Constr. Build. Mater. 2015, 98, 671–677. [Google Scholar] [CrossRef]
- Ma, T.; Geng, L.; Ding, X.; Zhang, D.; Huang, X. Experimental study of deicing asphalt mixture with anti-icing additives. Constr. Build. Mater. 2016, 127, 653–662. [Google Scholar] [CrossRef]
- Sun, Y. Study on the Performance of Asphalt Pavement with Snow Melt Salt. Master’s Thesis, Chang’an University, Xi’an, China, May 2011. [Google Scholar]
- Wang, F.; Han, S.; Zhang, L.; Ling, J. Efflorescence experiment of asphalt mixture with salt for melting snow and ice. J. Chang’an Univ. 2010, 30, 16–19. [Google Scholar]
- Nihira, Y.; Asano, K.; Miyamoto, S.; Oikawa, S. The effect of vehicle on ice- and snow-coated road surface. Mon. Rep. Civ. Eng. Inst. Hokkaido Dev. 2001, 581, 41–45. [Google Scholar]
- Liu, Z.; Sha, A.; Xing, M.; Li, Z. Low temperature property and salt releasing characteristics of antifreeze asphalt concrete under static and dynamic conditions. Cold Reg. Sci. Technol. 2015, 114, 9–14. [Google Scholar] [CrossRef]
- Sun, R. Develop and Performance Evaluate of Sustained-Release Mixture Include Salt. Master’s Thesis, Harbin Institute of Technology, Harbin, China, May 2012. [Google Scholar]
- Anti-icing Materials International Laboratory. Ice Penetration Test: Method for Runways and Taxiways Deicing/Anti-icing Chemicals; Issuing Committee: 2012b, G-12rdf; Runway Deicing Fluids (AIR6211) (04); SAE International: Warrendale, PA, USA, 2012. [Google Scholar]
- Anti-icing Materials International Laboratory. Ice Undercutting Test: Method for Runways and Taxiways Deicing/Anti-icing Chemicals; Issuing Committee: 2012c, G-12rdf; Runway Deicing Fluids (AIR6172) (02); SAE International: Warrendale, PA, USA, 2012. [Google Scholar]
- The Ministry of Communications of the People’s Republic of China. Standard Test Methods of Bitumen and Bituminous Mixtures for Highway Engineering (JTG E20-2011); China Communications Press: Beijing, China, 2011. [Google Scholar]
- The Ministry of Communications of the People’s Republic of China. Standard Test Methods of Aggregate for Highway Engineering (JTG E42-2005); China Communication Press: Beijing, China, 2005. [Google Scholar]
- The Ministry of Communications of the People’s Republic of China. Technical Specifications for Construction of Highway Asphalt Pavements (JTG F40-2004); China Communications Press: Beijing, China, 2005. [Google Scholar]
- Guo, N.; You, Z.P.; Tan, Y.; Zhao, Y. Prediction method on volume of air void of asphalt mixtures based on CT technique. China J. Highw. Transp. 2016, 29, 13–22. [Google Scholar]
- Zhang, Y.; Verwaal, W.; van de Ven, M.; Molenaar, A.; Wu, P. Using high-resolution industrial CT scan to detect the distribution of rejuvenation products in porous asphalt concrete. Constr. Build. Mater. 2015, 100, 1–10. [Google Scholar] [CrossRef]
- Zhu, H.; Zhao, C. Evaluation method of image feature point distribution uniformity. J. DaQing Normal Univ. 2010, 130, 9–12. [Google Scholar]




















| Technical Indicators | Measured Values | Standard Values | Test Method [26] |
|---|---|---|---|
| Penetration 25 °C (0.1 mm) | 57 | 40–60 | T0604 |
| Penetration Index PI | 0.125 | ≥0 | T0604 |
| Softening point TR&B (°C) | 85 | ≥60 | T0606 |
| Ductility (5 °C, 5 cm/min)/cm | 23.3 | ≥20 | T0605 |
| Kinematic viscosity 135 °C (Pa·s) | 1.12 | ≤3 | T0625 |
| Flashing point (°C) | 326 | ≥230 | T0611 |
| Solubility (%) | 99.6 | ≥99 | T0607 |
| Elastic recovery 25 °C (%) | 88 | ≥75 | T0662 |
| 48 h Thermal storage softening point difference (°C) | 1.8 | ≤2.5 | T0661 |
| Density (g·cm−3) | 1.023 | Measured | T0603 |
| Quality change (%) | 0.04 | ≤1.0 | T0609 |
| Penetration ratio 25 °C (%) | 75.9 | ≥65 | T0604 |
| Technical Indicators | Measured Values | Standard Values | Test Method [27] | |
|---|---|---|---|---|
| Crushing value (%) | 11.9 | ≤26 | T0316 | |
| Abrasion value (%) | 10.5 | ≤28 | T0317 | |
| Clay content (%) | 0.75 | ≤3 | T0314 | |
| Adhesivity with asphalt | Level 5 | Above level 4 | T0616 | |
| Apparent density (g·cm−3) | 9.5–16 mm 4.75–9.5 mm | 2.924 2.927 | ≥2.6 | T0304 |
| Gross bulk density (g·cm−3) | 9.5–16 mm 4.75–9.5 mm | 2.898 2.887 | - | T0304 |
| Needle flake content (%) | ≥9.5 mm <9.5 mm | 4.23 6.40 | ≤15.0 ≤20.0 | T0312 |
| Bibulous rate (%) | 9.5–16 mm 4.75–9.5 mm | 0.47 0.73 | ≤2.0 | T0304 |
| Technical Indicators | Measured Values | Standard Values | Test Method [27] | |
|---|---|---|---|---|
| Apparent density (g·cm−3) | 2.36–4.75 mm 0–2.36 mm | 2.729 2.722 | ≥ 2.5 | T0328 |
| Gross bulk density (g·cm−3) | 2.36–4.75 mm 0–2.36 mm | 2.667 2.661 | - | T0304 |
| Sand equivalent | 97 | ≥60 | T0334 | |
| Clay content | 1.3 | ≤3.0 | T0333 | |
| Bibulous rate | 0.85 | - | T0330 | |
| Technical Indicators | Measured Values | Standard Values | Test Method [27] | |
|---|---|---|---|---|
| Apparent relative density (g·cm−3) | 2.468 | - | T0352 | |
| Size range (mm) | 0.6 mm | 100.00 | 100 | T0351 |
| 0.3 mm | 99.75 | 90–100 | ||
| 0.15 mm | 93.00 | 90–100 | ||
| 0.075 mm | 83.50 | 75–100 | ||
| Appearance | Qualified | Non-caking | - | |
| Hydrophilic coefficient | 0.74 | <1 | T0353 | |
| Technical Indicators | V-260 | IGD | Test Method [27] | |
|---|---|---|---|---|
| Proportion (g·mL−1) | 1.8 | 2.07 | Data from manufacturer | |
| Particle diameter (mm) | 0.1–5 | 0.1–4 | ||
| Melting point (°C) | 260 | 260 | ||
| Solution PH value | 11–12 | 10–11 | ||
| Salt content (%) | 94.6 | 58.8 | ||
| Apparent density (g·mL−1) | 0.84 | 0.94 | ||
| Passing percentage (%) | <0.6 mm | 72.6 | 4.1 | T0327 |
| <2.36 mm | 2.1 | 47.7 | ||
| <4.75 mm | 100 | 100 | ||
| Asphalt-Aggregate Ratio (%) | Void Volume (VV)/% | Voids in Mineral Aggregate (VMA)/% | Aggregate Voids Filled with Asphalt (VFA)/% | Marshall Stability (MS)/KN | Flow Value (FL)/mm | |
|---|---|---|---|---|---|---|
| Anti-icing asphalt mixture with V-260 | 4.8 | 3.0 | 13.3 | 77.0 | 15.48 | 3.8 |
| Anti-icing asphalt mixture with IGD | 4.8 | 3.0 | 13.4 | 80.1 | 14.23 | 3.4 |
| Conventional asphalt mixture | 4.8 | 3.1 | 13.5 | 73.4 | 16.15 | 3.6 |
| Standard values [28] | - | 3–6 | >12.5 | 65–75 | ≥8 | 2–4 |
| Test method [26] | - | - | - | - | T0709 | T0709 |
| Technical Indicators | Residual Stability (%) | Freeze-Thaw Splitting Strength Ratio (%) | Dynamic Stability (times/mm) | Maximum Flexural-Tensile Strain (µε) | Standard Flying Loss (%) | Flooding Flying Loss (%) |
|---|---|---|---|---|---|---|
| anti-icing asphalt mixture with V-260 | 89.7 | 87.2 | 8579 | 4834 | 1.6 | 2.51 |
| anti-icing asphalt mixture with IGD | 90.14 | 87.8 | 7969 | 4257 | 1.8 | 2.72 |
| Conventional asphalt mixture | 96.5 | 92.6 | 6997 | 4531 | 1.69 | 1.73 |
| Standard values [28] | 85 | 80 | 2800 | 2500 | 15 | 15 |
| Test method [26] | T0709 | T0729 | T0719 | T0715 | T0733 | T0733 |
| Number | Region | |||||||||||||
|---|---|---|---|---|---|---|---|---|---|---|---|---|---|---|
| 1 | 2 | 3 | 4 | 5 | 6 | 7 | 8 | 9 | 10 | 11 | 12 | Variance | Uniformity | |
| 1 | 7 | 6 | 6 | 6 | 1 | 10 | 9 | 5 | 3 | 10 | 8 | 4 | 7.02 | −0.85 |
| 3 | 23 | 22 | 16 | 17 | 27 | 13 | 18 | 19 | 29 | 19 | 10 | 20 | 26.58 | −1.42 |
| 4 | 21 | 23 | 15 | 16 | 28 | 16 | 14 | 16 | 25 | 21 | 16 | 12 | 22.08 | −1.34 |
| 5 | 23 | 23 | 17 | 18 | 24 | 21 | 18 | 18 | 21 | 25 | 16 | 19 | 8.19 | −0.91 |
| 6 | 22 | 23 | 18 | 17 | 17 | 24 | 19 | 20 | 21 | 22 | 21 | 16 | 6.17 | −0.79 |
| 7 | 21 | 22 | 18 | 17 | 25 | 15 | 17 | 21 | 26 | 19 | 13 | 20 | 13.42 | −1.13 |
| 8 | 17 | 15 | 11 | 17 | 16 | 17 | 12 | 15 | 18 | 11 | 13 | 18 | 6.33 | −0.80 |
| 9 | 14 | 8 | 8 | 11 | 12 | 6 | 11 | 12 | 13 | 11 | 7 | 10 | 5.69 | −0.75 |
| Number | Region | |||||||||||||
|---|---|---|---|---|---|---|---|---|---|---|---|---|---|---|
| 1 | 2 | 3 | 4 | 5 | 6 | 7 | 8 | 9 | 10 | 11 | 12 | Variance | Uniformity | |
| 2 | 23 | 25 | 18 | 24 | 20 | 19 | 13 | 19 | 25 | 16 | 19 | 22 | 12.52 | −1.10 |
| 3 | 22 | 22 | 27 | 24 | 19 | 25 | 27 | 29 | 28 | 16 | 17 | 21 | 17.08 | −1.23 |
| 4 | 24 | 28 | 20 | 16 | 25 | 22 | 27 | 18 | 24 | 24 | 19 | 23 | 12.08 | −1.08 |
| 5 | 19 | 15 | 22 | 25 | 20 | 21 | 20 | 24 | 23 | 22 | 20 | 25 | 7.39 | −0.87 |
| 6 | 18 | 25 | 20 | 26 | 19 | 20 | 25 | 24 | 21 | 26 | 21 | 21 | 7.47 | −0.87 |
| Snowfall Intensity | Index | |||
|---|---|---|---|---|
| Snowfall (mm) | Water Quality (g) | Ice Thickness (mm) | Snow Thickness (mm) | |
| Light snow | 0.1–2.5 | 1–25 | 0.1–2.8 | 1.5–37.5 |
| Moderate snow | 2.5–5.0 | 25–50 | 2.8–5.6 | 37.5–75.0 |
| Heavy snow | 5–10 | 50–100 | 5.6–11.1 | 75.0–150.0 |
| Blizzard | 10–20 | 100–200 | 11.1–22.2 | 150.0–300.0 |
| Time (h) | 1# (water) | 2# (V-260) | 3# (IGD) | 4# (MFL) | Temperature (°C) |
|---|---|---|---|---|---|
| 1 | Thin layer of ice | Ice free | Ice free | Ice free | 0 |
| 5 | Completely frozen | Ice free | Ice free | Most of the ice, with a small amount of water | −5 |
| 6 | Completely frozen | The surface began to have thin ice | Thin layer of ice | Appearance completely frozen | −7 |
| 8 | Completely frozen | Most of the ice, with a small amount of water | Appearance completely frozen | Appearance completely frozen | −18 |
| 10 | Completely frozen | Appearance completely frozen | Appearance completely frozen | Appearance completely frozen | −19 |
| Temp. (°C) | Blizzard | Heavy Snow | Moderate Snow | Light Snow |
|---|---|---|---|---|
| −15 | Y = 0.3945 × X − 0.4067 R2 = 0.9794 | Y = 0.2481 × X − 0.1905 R2 = 0.9767 | Y = 0.2016 × X − 0.1743 R2 = 0.9896 | Y = 0.1812 × X + 0.0119 R2 = 0.9931 |
| −10 | Y = 0.9108 × X +10.981 R2 = 0.9685 | Y = 0.7427 × X + 10.24 R2 = 0.8598 | Y = 0.4408 × X + 10.496 R2 = 0.978 | Y = 0.5728 × X − 0.2904 R2 = 0.9976 |
| −5 | Y =3.1771 × X − 0.9438 R2 = 0.9779 | Y = 0.5817 × X + 12.759 R2 = 0.9988 | Y = 0.9016 × X + 8.9885 R2 = 0.9248 | Y = 1.06 × X + 7.66 R2 = 0.7721 |
| 0 | Y = 6.5769 × X + 5.4 R2 = 0.9832 | Y = 4.3533 × X + 17.433 R2 = 0.9381 | Y = 3.2971 × X + 18.327 R2 = 0.8165 | Y = 1.06 × X + 7.66 R2 = 0.7721 |
| 5 | Y = 10.112 × X + 8.8964 R2 = 0.9857 | Y = 9 × X + 7.66 R2 = 0.9808 | - | - |
| Climatic Division | Applicable Situation | Extreme Minimum Temperature of 30 Years | Average Temperature of the Coldest Month | Snow Intensity |
|---|---|---|---|---|
| Region 1 | Most suitable | −9 to −21.5 °C | ≥−10 °C | Light snow (Mostly) Moderate snow (Occasionally) |
| Region 2 | suitable | −21 to −37 °C | ≥−15 °C | Light snow and Moderate snow (Mostly), Heavy snow (Occasionally) |
| Region 3 | Special section | >−9 °C | ≥0 °C | Light snow, Frozen rain or snow after melting ice (Occasionally) |
| Region 4 | Special sections combined with other snow removal methods | <−37 °C | ≤−20 °C | Moderate snow and Heavy snow (Mostly), Blizzard (Occasionally) |
© 2017 by the authors. Licensee MDPI, Basel, Switzerland. This article is an open access article distributed under the terms and conditions of the Creative Commons Attribution (CC BY) license (http://creativecommons.org/licenses/by/4.0/).
Share and Cite
Zheng, M.; Wu, S.; Wang, C.; Li, Y.; Ma, Z.; Peng, L. A Study on Evaluation and Application of Snowmelt Performance of Anti-Icing Asphalt Pavement. Appl. Sci. 2017, 7, 583. https://doi.org/10.3390/app7060583
Zheng M, Wu S, Wang C, Li Y, Ma Z, Peng L. A Study on Evaluation and Application of Snowmelt Performance of Anti-Icing Asphalt Pavement. Applied Sciences. 2017; 7(6):583. https://doi.org/10.3390/app7060583
Chicago/Turabian StyleZheng, Mulian, Shujuan Wu, Chongtao Wang, Yifeng Li, Zonghui Ma, and Lei Peng. 2017. "A Study on Evaluation and Application of Snowmelt Performance of Anti-Icing Asphalt Pavement" Applied Sciences 7, no. 6: 583. https://doi.org/10.3390/app7060583
APA StyleZheng, M., Wu, S., Wang, C., Li, Y., Ma, Z., & Peng, L. (2017). A Study on Evaluation and Application of Snowmelt Performance of Anti-Icing Asphalt Pavement. Applied Sciences, 7(6), 583. https://doi.org/10.3390/app7060583
