Next Article in Journal
An Assessment of Stability and Strength of a Container Ship for Safety Compliance in Cargo Loading Plans
Previous Article in Journal
Physical Simulation of Brittle Rocks by 3D Printing Techniques Considering Cracking Behaviour and Permeability
 
 
Font Type:
Arial Georgia Verdana
Font Size:
Aa Aa Aa
Line Spacing:
Column Width:
Background:
Article

Design and Numerical Simulation Study of Film Rod Reparation Device for Residual Film Recycling Machine

College of Mechanical Engineering, Xinjiang University, Urumqi 830017, China
*
Author to whom correspondence should be addressed.
Appl. Sci. 2024, 14(1), 343; https://doi.org/10.3390/app14010343
Submission received: 29 September 2023 / Revised: 22 November 2023 / Accepted: 25 November 2023 / Published: 29 December 2023

Abstract

:
For the residual film recycling machine work, after the recovery of residual film, cotton stalks, crushed soil, and other impurities are not easy to separate; it is challenging to realize the secondary use of the problem. A waste film and impurity wind selection device were designed to recognize waste film recycling and separate soil film rods. The overall structure and working principles of the machine are described. A three-dimensional computational fluid dynamics model of a film rod separation device was developed. The flow field within the film rod separation unit was analyzed by numerical simulation using 2023 R1 ANSYS Fluent software. Based on the differences of impurities such as residual film, soil, and cotton stalks in terms of density, suspension velocity, and their characteristics, the pressure distribution and velocity distribution of the internal flow field of soil, residual film, and cotton stalks at the site were investigated. The air inlet velocity, screen cylinder rotation, and main shaft rotation velocity were changed. Experiments were conducted to obtain wind selection parameters for suitable soil, residual film, and cotton stalk separators. Analysis of orthogonal experiments, polar variance of analysis, and analysis of variance yielded a better combination of working parameters: when the drum sieve velocity is 25 r/min, the spindle velocity is 35 r/min, and inlet wind velocity is 14 m/s, after the separation of residual film impurity rate of 8.9%. The results of the study can provide a theoretical basis for the development of film separation equipment.

1. Introduction

Film technology has been widely adopted in Xinjiang since the 1980s, with film-covering as the predominant technique used in farmland. Agricultural film offers numerous advantages, such as promoting crop growth, inhibiting weed growth, conserving soil moisture and nutrients, maintaining optimal crop growth temperatures, and preventing frost damage. However, alongside the benefits, the extensive adoption of film technology leads to significant negative effects. Prolonged use of ultra-thin film has resulted in the accumulation of film residues. It poses challenges to the survival of soil microorganisms, disrupts soil aggregation structure, impedes water circulation, and causes soil salinization and soil crusting [1,2,3,4]. Randomly disposing of film residues has a detrimental impact on crop growth, development, and environmental pollution prevention. Random disposal of film residues has become a crucial factor limiting the sustainable development of agriculture and causing ecological contamination [5,6]. Furthermore, random disposing of film residues hinders the application of agricultural machinery and reduces its efficiency [7,8,9]. Raw material resources can be effectively conserved by recycling and reusing the residual film. The waste residual film, when solved appropriately, can be transformed into new products. The demand for new raw materials can be reduced in order to contribute to resource sustainability.
Currently, technology researchers predominantly focus on developing equipment for the recovery of residual film while placing less emphasis on the separation of residual film from impurities [10,11]. However, the recovery residual film often contains high pollutants, making it challenging to achieve repeated recycling. This highlights the pressing need for extensive research on effective methods to separate residual film from mixtures, such as soil, to provide clean raw materials for resources’ recycling [12,13]. Residual film recovery machines’ operational performance and recovery rate are significantly improved through technology professionals’ continuous efforts [11,14]. Nevertheless, the recovered residual film is frequently contaminated with impurities such as soil and stalk, leading to high impurity contents that hinder recycling efforts or increase recycling costs [15,16].
Impurities, such as cotton stalks and lumpy soil in the residual film, are obtained by mechanical recovery. Since efficient equipment for separating impurities from the film is not available, the mixed residual film can only be stacked, buried, or incinerated, leading to secondary pollution of the environment. Therefore, it is urgent to research and develop film impurity separation equipment. It is crucial to improve the overall management of the “white pollution” industry chain, aiming to transform the residual film from a waste product into a valuable resource [17,18,19,20,21].
Domestic scholars lack research on the separation of residual film after recycling. The research is primarily in the stage of theoretical analysis. For example, Liu Hong et al. [22] analyzed the forces acting on film particles in an airflow field, determined the motion characteristics of plastic mixtures, and identified the optimal wind velocity for sorting plastic mixtures. Li Chunhua et al. [23] used the difference in Reynolds numbers to determine the range of plastic particle diameters and derived a suspension velocity formula that reflects actual particle sizes. Kang Jianming et al. [24] tested the aerodynamic characteristics of residual film materials and film impurity separation devices. They determined the range of suspension velocity changes for each component of the film impurity mixture and established suitable airflow velocities for film impurity separation. Based on the range of airflow velocity, they designed and manufactured a drum film impurity separation device and optimized its process parameters through performance testing. Liu Xia et al. [25] employed the cyclone method to sort waste film with different densities. They also simulated the motion of waste film particles in a cyclone separator using fluid simulation. Wei Jin et al. [26] separated materials with different densities based on their suspended velocities. They employed to perform numerical simulation and analysis of the flow field inside the film stalk separation device, ultimately determining the appropriate film suspension velocities. Overall, these studies contribute to advancing research on the separation of residual film and provide valuable insights for developing film impurity separation technologies.
The research in this paper focuses on the film impurity mixture recovered from cotton fields. By considering the known range of variation of the suspension velocity for each component, the appropriate air velocity for film impurity separation is determined. Based on this range of air velocities, a drum airflow film impurity separation device is designed in this study. The device’s performance is optimized through experimental testing, and the process parameters are derived for further improvement of film impurity separation equipment in future research and development.

2. Material

The experiment was conducted during the cotton harvesting season in Xinjiang Province, China (October–November 2022). The investigation took place at Huifeng Plastic Industry Co., Ltd. in Weili County, Korla, Xinjiang Uygur Autonomous Region (located between 84°02′50″–89°58′50″ east longitude and 40°10′33″–41°39′47″ north latitude). Cotton can be cultivated with abundant sunlight and favorable conditions. The experiment was conducted in a post-harvest cotton field. After the residual film recovery machine’s recovery, a lot of soil and cotton are in the residual film. The characteristics of the recovered film impurity machine are examined to determine the key parameters that influence the soil removal effectiveness of the film impurity. This analysis is a prerequisite and theoretical foundation for designing an efficient residual film soil removal device. The study mainly focuses on calculating the geometric dimensions and weight proportions of the film-soil-stalk components of the residual film and soil materials collected by the cotton collection machine after the autumn harvest. These calculations provide reference values for designing the screen type and screen size of the film-impurity soil removal device. Figure 1 illustrates a sample of the residual film. Nine samples are chosen at random from the film impurities that the machine in Figure 1 are shown in Figure 2 [27].
Table 1 calculates that the average film-soil-stalk mass of the film impurity material is about 23%, soil 60%, and stalks 17%.
The data indicates a high soil content in the machine-recovered film impurity material. The analysis process and experimental results are as follows: (1) Upon observation, a significant amount of soil is found in the lower part of the recovered film impurities, which could be effectively separated by drum centrifugation. (2) The adhesive soil particles primarily adhere to the residual film and stalks. Furthermore, the machine-recovered film impurities contain a higher proportion of cotton stalks. Due to the flexibility of the residual film and its tendency to form long strips, it easily entangles with the branches and stems of the cotton stalks, resulting in a more significant presence of cotton stalks in the film impurities. According to the literature, the average density of soil is 1750 kg/m3, the average density of cotton stalk is 326 kg/m3, and the average of the residual film is 918 kg/m3. Considering the significant density differences between soil, residual film, and cotton stalk, as well as the characteristics of weight proportions in the film impurities, a combination of centrifugation and airflow can be employed for film impurity separation.

2.1. Measurement of Soil Moisture Content

Each sample is weighed 0.1 g and its soil water content is measured and averaged. Finally, the average of all soil water content is recorded as the water content of the tested soil. The test results shown in Table 2 below indicate that the calculated average soil moisture content was 3.55%.

2.2. Measurement of Film Impurity Material Geometry Dimensions

Nine samples of this test are taken from the samples produced in the measurement test of each part’s film impurity proportion. The soil particle diameter, cotton stalk length, residual film length, and other parameters are measured.

Measurement Methods

Measurement of soil particle diameter.
For the measurement of soil particle diameter, the soil particles in the samples are screened using a Tyler screen into four groups of soil materials with different diameters: D < 1 mm, 1 mm ≤ D < 3 mm, 3 mm ≤ D < 5 mm, and D ≥ 5 mm As shown in Figure 3. Table 3 illustrates that the largest and smallest soil particles constitute a significant proportion of the total soil mass. The findings from measurement and calculation indicate that soil particles with a diameter of less than 1 mm make up 46% of the total soil mass. In comparison, soil particles with a diameter equal to or greater than 5 mm contribute to 29% of the total soil mass.
Measurement of the geometric size of cotton stalks in film impurities.
To measure the length of the cotton stalks, all the cotton stalks are measured in each sample. It is observed that when the length of the cotton stalks is less than 50 mm (L < 50 mm), the screening effect during the film removal process is better. On the other hand, when the length of the cotton stalks is greater than or equal to 50 mm (L ≥ 50 mm), the screening effect of the cotton is significantly reduced. Therefore, based on the actual situation, the cotton length is divided into three ranges: short stalk length (L < 50 mm), medium stalk length (50 ≤ L < 150 mm), and long stalk length (L ≥ 150 mm), as shown in Figure 4. Measure the diameter of the cotton and take the diameter of the stalks under its average.
Measurement of residual film geometry in film impurity.
For the measurement of residual film size, all residual film sizes are measured in each sample. Based on the actual research situation, it is observed that during the process of film impurity soil removal, when the size of the residual film is less than 50 mm (L < 50 mm), the residual film had a higher tendency to permeate through the sieve. Conversely, when the size of the residual film is greater than or equal to 400 mm (L ≥ 400 mm), the residual film has a lower tendency to permeate through the screen. Therefore, in this experiment, the residual film sizes are divided into three length ranges (as shown in Figure 5): small film with a size of L < 50 mm, medium film with the l ranging from 50 mm to 400 mm (50 ≤ L < 400 mm), and large film with a size of L ≥ 400 mm. The weight proportion of residual film is calculated for each length range.
Table 4 presents the mass weighing results for different size ranges of the residual film, allowing for calculating the mass distribution across these size ranges. It was calculated that large films constitute 76% of the total mass, medium-sized films account for 16% of the whole group, and small films make up 6%.
The above measurements and results are taken to more accurately measure the diameter of the drum apertures and the velocity at which the material is suspended.

3. Structure and Working Principle of Film Impurity Separation Device

Following the mechanical recovery of the film, the film impurity mixture mainly comprises long strips of residual film, lumpy soil, and cotton stalks, many of which are over 20 cm long. However, the residual film and cotton stalks are prone to entanglement and, thus, cannot be separated directly. It is necessary to first shear the mixture for processing. The cotton stalks are cut to approximately 30 to 50 mm long.
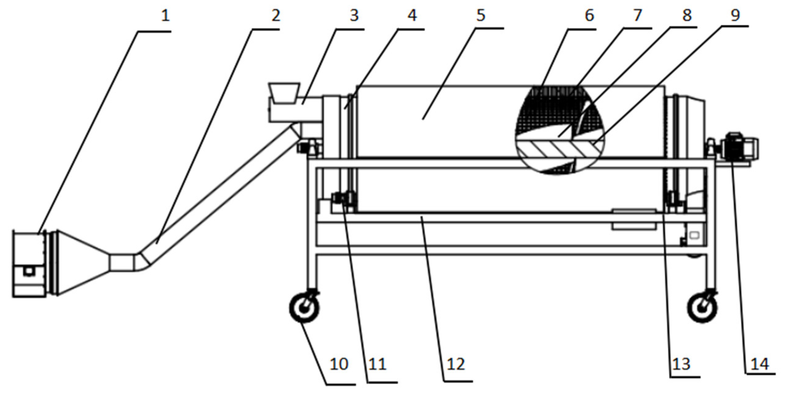
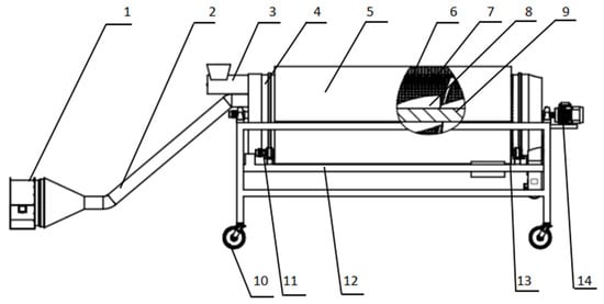
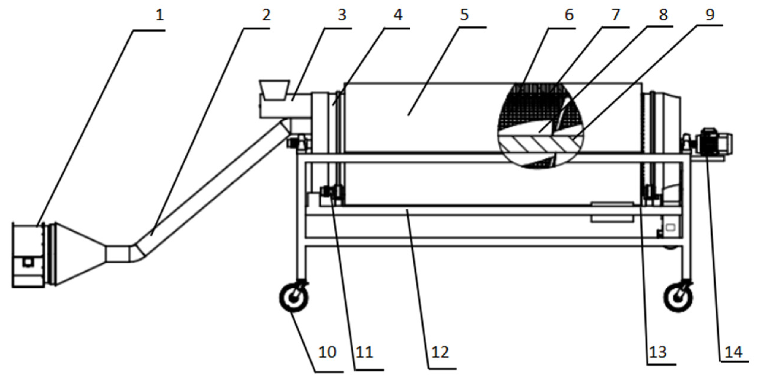
The drum film impurity separation device is designed for centrifugal separation of residual film. It consists primarily of a material inlet, double-ended spiral blade, hood, frequency conversion motor, impurity outlet, spindle, spiral conveying edge, spiral dispersing blade, spiral transferring blade, film collection box, drum, and air inlet. The structure of the device is illustrated in Figure 6.
During operation, the centrifugal fan machine generates the airflow, and the drum and spindle rotate on the pallet driven by a power transmission system with different gear motors, which in turn causes the centrifugal device of the drum to come into contact with the roller through friction to carry out the rotary movement. At the same time, by controlling the strength of the airflow and the velocity of the drum and spindle, the film impurity is in a waterfall state. film impurity mixture from the material inlet into the drum, while the dispersing blade, the mixture, and the screen surface collide mutually, the initial separation of the mixture of components occurs. As the drum and the spindle continue to rotate, part of the mixture in the screen cylinder does the parabolic movement, lumpy soil, and cotton stalks fall from the screen holes. Impurities that do not fall are sent forward continually by the spiral-pushing blade. Lumpy soil and cotton stalks are discharged by larger screen holes. The residual film is in a free state in the screen cylinder. According to different stresses, after the settling law of residual film, lumpy soil, and cotton stalks in the air medium, the centrifugal fan generates an air velocity that is greater than the suspension velocity of the residual film and smaller than the suspension velocity of the lumpy soil and cotton stalks. The residual film is blown to the end of the drum, where the film collection box is collected. The density of stalk and soil particles in the rotating drum causes the soil particles and stalks to be expelled through the screen holes under centrifugal force. This process achieves the separation of materials.

4. Methodology

4.1. Mathematical Modeling

In this paper, the velocity and pressure distribution of the flow field are analyzed by varying the air inlet velocity, drum velocity, and spindle velocity of the spindle. An excellent range of air separation parameters is found. Thus, the film impurities are separated effectively.
The fluid flow inside the cavity exhibits turbulent flow [28,29]. The flow field within the film stalk separation device follows the principles of mass conservation and Newton’s second law. Considering the characteristics of the drum’s interior, the flow field is defined as unpressurized, constant, and isothermal. The accuracy of the numerical simulation primarily depends on the realism of the turbulence model. Different turbulence models can be applied to simulate flow fields with diverse flow characteristics. The turbulence model chosen for the numerical simulation of the flow field inside the roller screen of the residual film recycler is the standard k ε model, and the individual control equations in right-angle coordinates are as follows:
(1)
The mass conservation equation:
ρ t + ( ρ u ) x + ( ρ v ) y + ( ρ w ) z = 0 ,
for incompressible fluids, the density is set to be constant, then Equation (1) can be simplified as:
u x + v y + w z = 0 ,
In the equation, ρ is the density of the fluid, t is time, and v is the velocity vector of the fluid.
(2)
The momentum conservation equation (i.e., the N S equation):
( ρ u ) t + d i v ( ρ u u ) = P x + τ x x x + τ y x y + τ z x z + F X
( ρ u ) t + d i v ( ρ v u ) = P y + τ x y x + τ y y y + τ z y z + F y ,
( ρ w ) t + d i v ( ρ w u ) = P z + τ x z x + τ y z y + τ z z z + F z
(3)
The are k ε turbulence equations:
The standard k ε model is the most widely used two-equation model in engineering practice. The so-called standard k ε model because it introduces two parameters, k and ε , into the equation respectively. The transport equations corresponding to these two parameters are as follows:
( ρ k ) t + ( ρ k u i ) x i = x j [ ( μ + μ i δ k ) k x j ] G K ρ ε ( ρ ε ) t + ( ρ u i ) x i x = x j [ ( μ + μ i δ k ) ε x i ] + C 1 ε ε K G K x C 2 ε ρ ε 2 K ,
In this equation, K represents turbulent kinetic energy, ε represents turbulent dissipation rate, and   μ represents eddy viscosity coefficient, all of which are related to fluid properties. i denotes the index of the velocity vector, while G K denotes the production of turbulent kinetic energy caused by the mean velocity gradient. μ i = ρ C μ K 2 ε represents the turbulent viscous coefficient.
The constants in the model are chosen according to the literature [30] C 1 ε = 1.44 , C 2 ε = 1.92 , δ k = 1.0, ε = 1.0, A complete mathematical model is developed for further mathematical simulation and analysis.

4.2. Measurement Method of Material Suspension Velocity

In the state of material suspension, force analysis is based on the principle of force balance. The analysis reveals that the material’s downward gravity equals the upward buoyancy provided by the air and the combined effect of vertical upward air resistance. Correction factors are introduced to solve for the suspension velocity of non-spherical materials. The calculation methods include the equivalent particle size method and the suspension velocity zoning calculation method. These methods involve selecting appropriate air resistance coefficients and incorporating material and airflow parameters into the force balance equation to calculate the suspension velocity. This provides a theoretical calculation value for the material suspension velocity. The calculation formula for this process is as follows:
{ G 1 = F Z + F f F Z = 1 2 C q p q S V f 2
where G 1   denotes the gravitational force of the material, and it is measured in Newton’s (N); F Z   denotes the gravitational force of the material, and it is measured in Newton (N); F f denotes the gravitational force of the material, and it is measured in Newton’s (N); C q denotes the gravitational force of the material, and it is measured in Newtons; P q   denotes the gravitational force of the material, and it is measured in Newtons (kg/m3); S   denotes the gravitational force of the material, and it is measured in Newtons (m2); V f denotes the gravitational force of the material, and it is measured in Newtons ( V f ).
Replace and organize Equation (7) to derive the theoretical calculation formula of material suspension velocity as:
v f = 2 ( G 1 F f ) C q P q S
The windward force area when the residual film is suspended can be calculated as follows:
{ G 2 = P M r 1 r 2 hg F M F = r 1 r 2 hP q g S M = r 1 r 2
where G2—residual film gravity, N, PM—density of residual film, kg/m3, r1—Residual film length, m, r2—Residual film width, m, h—Thickness of residual film, m, g—Gravity acceleration, m/s2, FMf—Air buoyancy of residual film, N, SM—windward area of residual film, m2.
By substituting Equation (9) into Equation (8) and deriving, the formula for calculating the suspension velocity is obtained as follows:
V M f = 2 × 10 6 ( h g p M h p q g )   C q p q ,
It is known that the density of the residual film is 1.32 × 103 kg/m3, the thickness is 8.6 × 10−6 m, the acceleration of gravity is 9.81 m/s2, and the density of the air is approximately 1.21 × 103 kg/m3. Referring to reference [14], the drag coefficient of air is determined to be 0.75. By substituting the above parameters into the equation, the suspension velocity of the residual film is calculated as 2 m/s. The suspension velocity of cotton stalks is reported to be 6 m/s by substituting the same parameters into the equation [26].
During the above demonstration process, the suspension velocity of the residual film and the cotton stalks differ significantly, so the difference in their suspension velocity is utilized to separate the film.

4.3. Meshing and Boundary Conditions

4.3.1. Meshing

In this paper, a numerical simulation study is conducted on the winnowing flow field of the film stalk separation device. The geometric region of the solution is the geometric space body of the film impurity separation device. The material inlet and air inlet ports are in front of the roller screen. The holes at the back of the roller screen and on the drum are set as the material outlet and air outlet, respectively, which are modeled by SW, and their simplified diagrams are shown in Figure 7. The dimensional parameters of the model are set as follows: Drum diameter/mm: 1200, drum length/mm: 4000, size of air inlet/mm: 600 × 150, material inlet size/mm: 400 × 180.
The meshing type of geometrical model of the film stalk separation device employs Tgrid hybrid mesh in good applicability. In the mesh settings, the Relevance Center is set to Fine, Interval Size Seed is set to Active Assembly, Smoothing is set to Medium, Transition is set to Slow, and Span Angle Center is set to Fine. The meshing process generates a total of 1,090,656 nodes, 3,463,343 cells, and 3,460,376 faces. The generated mesh is depicted in Figure 8.

4.3.2. Boundary Conditions

Based on the characteristics of the cavity in the film separation device, the air inlet port is configured as Velocity-inlet with an air inlet velocity of 10 m/s. The air outlet is set as Outflow. Flow Rate Weighting is set as 1. As for the material feeding into the model continuously, the airflow loss is neglected, so the material inlet is designated as a wall. The remaining boundaries are also set as wall boundary conditions.

4.4. Numerical Simulation and Result Analysis

4.4.1. Simulation Analysis of the Initial Model

The flow field analysis of the film stalk separation device mainly employs ANSYS’ Fluent module to obtain pressure and velocity distribution maps of the comprehensive internal flow field. In Figure 9, the horizontal coordinate represents the length of the cavity in millimeters, while the vertical coordinate represents the pressure of the flow field in pascals. Similarly, in Figure 10, the horizontal coordinate represents the length of the hole in millimeters, and the vertical coordinate represents the velocity of the flow field in meters per second.
Upon analyzing Figure 9 and Figure 10, it is observed that the pressure inside the model gradually decreases, then increases, and exhibits a low-pressure zone at the lower end of the air inlet outlet and at the top of the front end of the model. The pressure values varied significantly in these zones. In the model’s length range of X < 0.375 m, the pressure value starts to decrease, with the minimum pressure recorded at 3.00 Pa. On the other hand, the pressure value gradually increases within the scope of the model’s size X > 0.375 m, with the maximum value at 14.5 Pa. The flow field pressure stabilizes towards the back end of the model, which is favorable for film impurity separation. The pressure state inside the model reveals a trend of decreasing and then increasing which benefits film impurity separation. The pressure values do not change significantly at the back end of the model. The fluid velocity inside the cavity displays a gradual decrease, with the velocity of the fluid not evenly distributed throughout the first half of the crater. The velocity at each point is relatively scattered and lacks sufficient density. However, the velocity distribution in the second half of the cavity is more even. Within the range of X > 400 mm, the velocity remains below 2 m/s.

4.4.2. Simulation Analysis of Air Inlet Velocity

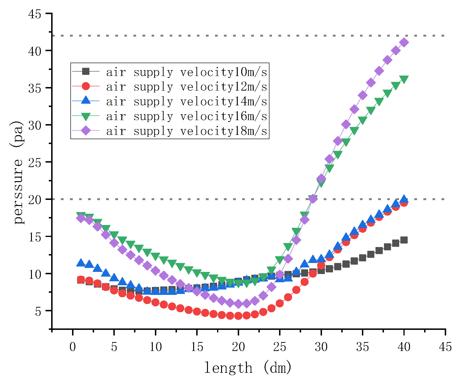
The initial air velocity of the equipment is set to 10 m/s. However, it is found that this initial wind velocity is insufficient for effectively separating the film impurity mixture. Therefore, experiments are conducted with increased wind velocities of 12 m/s, 14 m/s, 16 m/s, and 18 m/s to analyze their impact on the internal pressure and the winnowing efficiency of the film stalk separation device. To assess the effects of varying the air inlet velocity on the pressure and velocity distribution within the cavity, cross-sections are selected at 100 mm intervals horizontally across the film stalk separation device. A total of 40 cross-sections are chosen, and average pressure and velocity values are calculated for each cross-section. These values are then plotted to visualize the data. Figure 11 depicts the variation of stress along the hole as the air inlet velocity changes, while Figure 12 illustrates the change of fluid velocity along the cavity under different air inlet velocities. The goal of the analysis is to determine how changing the air inlet velocity affects the cavity’s internal flow field pressure and velocity distribution.
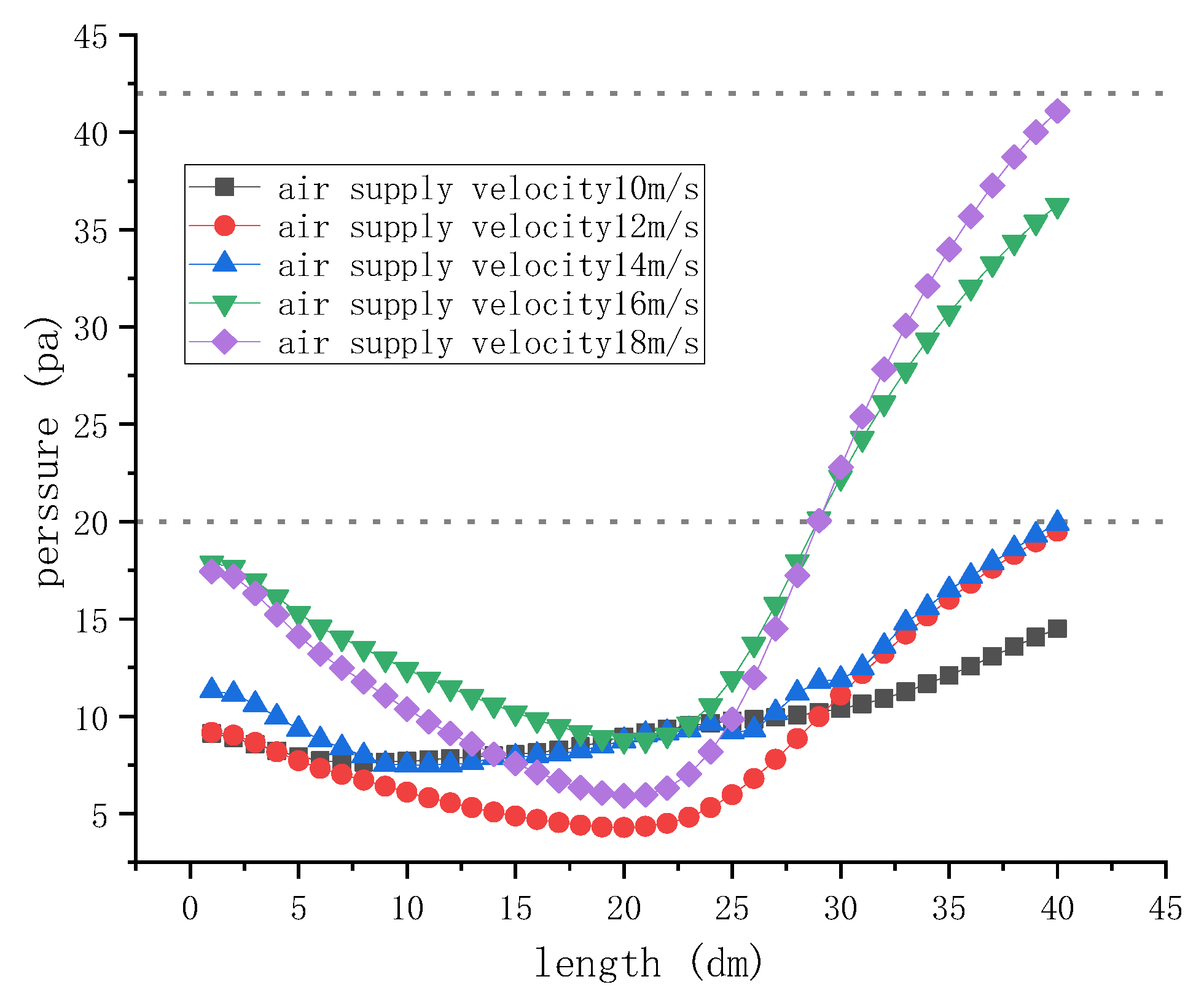
The analysis of Figure 11 indicates that as the air inlet velocity increases, the value of the flow field pressure inside the cavity also increases. When the air inlet velocity exceeds 14 m/s, there is a significant increase in the flow field pressure within the hole. The excessive flow field pressure results in an unstable force increase in the horizontal direction of the model and is not conducive to the separation of film impurity devices.
In summary, when the air inlet velocity is set at 14–16 m/s, the pressure of the flow field inside the model increases steadily. The change in the flow field pressure is relatively gentle, indicating that this range of air inlet velocities is more suitable for winnowing. It suggests that maintaining an air inlet velocity within this range would result in more effective film separation.
According to the analysis of Figure 12, it is observed that in the initial wind velocity, the flow field velocity inside the model is relatively low, ranging from 2 to 2.6 m/s. This low flow field velocity hinders the efficient separation of materials. However, as the air inlet velocity increases, the flow field velocity inside the model also increases significantly. When the air inlet velocity exceeds 14 m/s, the airflow becomes capable of carrying animal material and residual film further forward. Nonetheless, if the airflow velocity is too high at the front end of the model, it results in a significant increase in the magnitude of change of the flow field pressure. This leads to an unstable flow field, which is not conducive to effective material separation. Furthermore, with excessive airflow velocity, the volatility of the airflow increases significantly, preventing the smooth conveyance of materials and residual film. On the other hand, when the inlet wind velocity is 14 m/s, the pressure in the cavity remains relatively stable with minimal fluctuations. This stability allows for smooth material conveyance within the system.
In summary, the air inlet velocity of 14 m/s is considered more reasonable based on the experiments and measurements.

4.4.3. Simulation Analysis of Rotary Drum Velocity Change

By setting the initial rotational velocity of the drum to 20 r/min and the initial air velocity to 14 m/s, a comprehensive analysis of how varying the drum rotational velocity affects the flow field is conducted. Furthermore, the rotational velocity increases systematically to 25 r/min, 30 r/min, 35 r/min, and 40 r/min to assess the corresponding impact on the internal flow field and the efficiency of winnowing in the device. The cross-sectional sampling method remains consistent with the previous approach, where the average values of pressure and velocity are calculated for each cross-section. These values are then used to plot curves illustrating the changes in pressure and velocity distribution within the flow field under different drum velocities. Figure 13 displays the variation in flow field pressure along the length of the cavity when the drum velocity is altered, while Figure 14 depicts the change in fluid velocity across the dimensions of the cavity during the drum velocity changes.
Upon analyzing Figure 13, it is observed that the initial pressure inside the model decreases with an increase in drum velocity, while the outlet pressure tends to remain constant. The maximum pressure within the flow field is measured at 26 Pa, with a minimum of 5 Pa. For drum velocity below 25 r/min, the changes in pressure are minimal, indicating a tendency towards pressure stabilization, which facilitates the effective separation of film impurities. However, for drum velocity exceeding 25 r/min, the initial pressure decreases while the outlet pressure increases significantly. This significant pressure change is not conducive to the efficient separation of film impurities.
After analyzing Figure 14, it is evident that as the drum velocity increases, the rate of increase in cavity internal velocity becomes more significant, exceeding 2 m/s. When the drum velocity is higher than 25 r/min, the velocity distribution becomes uneven, resulting in precarious and in the front end of the model. On the other hand, when the drum velocity is lower than 25 r/min, noticeable velocity changes occur in unstable situations. The difference between the two scenarios is apparent; at lower drum velocity, the airflow becomes more consistent, which is beneficial for effectively separating film impurities. However, when the drum velocity is 25 r/min, the cavity velocity remains below 2 m/s, accounting for 15% of the model. In this case, the pace becomes relatively stable, and the pressure gradually increases, which is advantageous for the smooth delivery of materials.
In summary, when the drum velocity is 25 r/min, the pressure distribution and velocity distribution of the flow field are improved.

4.4.4. Simulation Analysis of Spindle Velocity Change

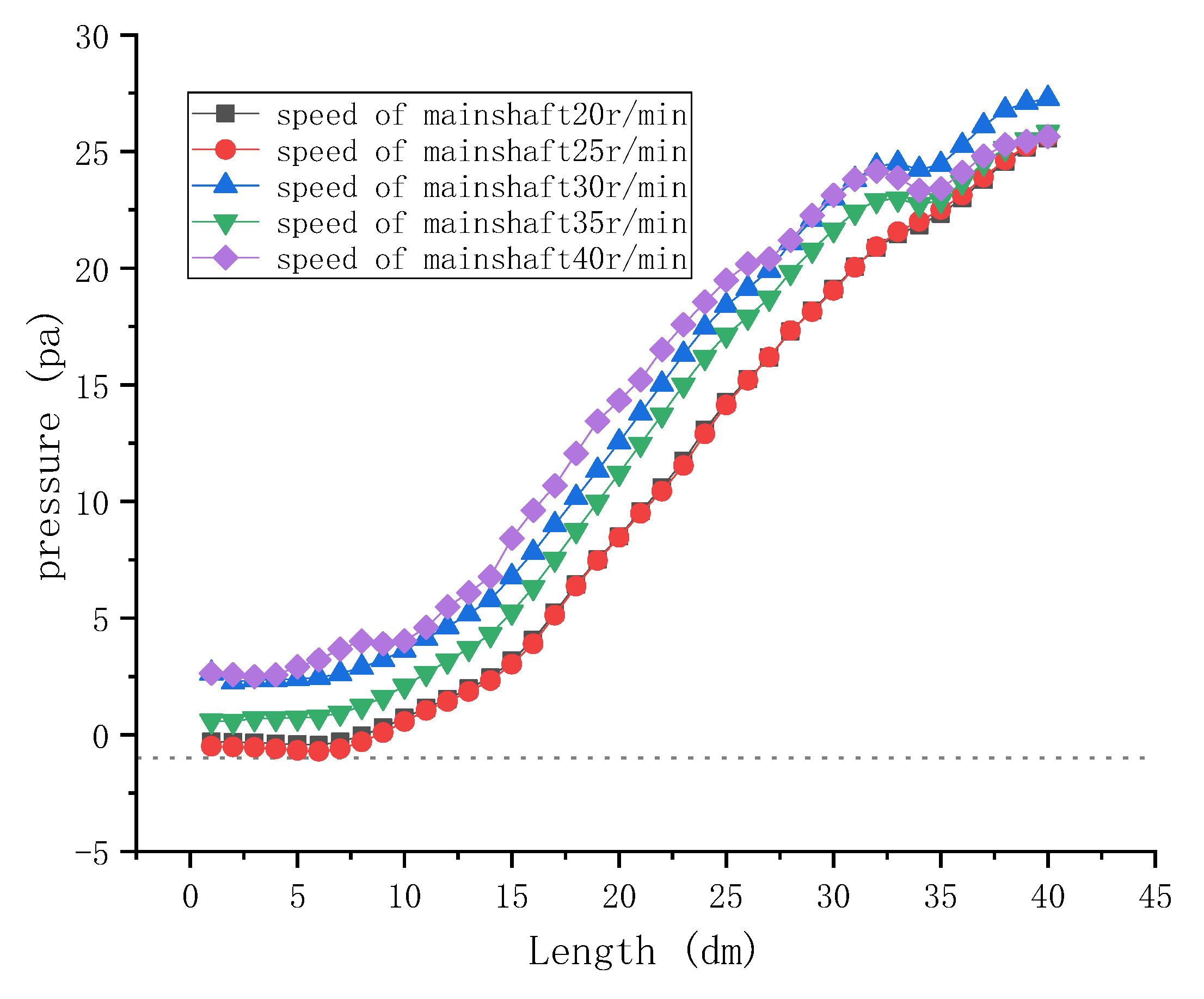
The initial rotational velocity of the spindle is set at 20 r/min to analyze the effect of spindle velocity changes on the flow field. Subsequently, the rotational velocity is increased sequentially to 25 r/min, 30 r/min, 35 r/min, and 40 r/min to analyze the impact of drum velocity variations on the flow field and winnowing efficiency within the film stalk separation device. The cross-sectional sampling method remains consistent with the previous approach. The average values of pressure and velocity for each cross-section are calculated. These values are then applied to plot curves illustrating the changes in pressure and velocity distribution within the flow field under different spindle velocities. Figure 15 illustrates the variation in pressure along the length of the cavity when the spindle velocity is altered, while Figure 16 depicts the evolution of fluid velocity across the dimensions of the cavity during the spindle velocity change.
An analysis of Figure 15 reveals that the average pressure value within the internal section of the initial model is negative. As the spindle velocity increases, the initial pressure gradually transitions into positive territory. When the spindle velocity reaches 35 r/min, all sections exhibit positive pressure values. The negative pressure experiences a notable increase in spindle velocity below 35 r/min. At a spindle velocity of 25 r/min, the flow field exhibits the most significant negative pressure, with a maximum value of −1 Pa. Conversely, when the spindle velocity is increased to 40 r/min, there is a decrease in the average pressure value within the model. These findings demonstrate the influence of spindle velocity on pressure distribution within the system. As the spindle velocity increases, the pressure values shift towards positive values, indicating improved performance and efficiency. Conversely, at lower spindle velocities, the negative pressures are more pronounced, potentially affecting the overall system operation.
The analysis of Figure 16 reveals that with an increase in the spindle velocity, the maximum fluid velocity inside the cavity also increases. Additionally, when the spindle velocity reaches 30 r/min, the velocity model is generally consistent with that of 40 r/min. This implies that the sedimentation zone of the residual film remains relatively stable. At both 30 r/min and 40 r/min spindle velocity, the velocity exceeds 2 m/s, and the velocity fluctuations are not consistent. At a spindle velocity of 35 r/min, the velocity below 2 m/s accounts for 12.5%. The pressure and velocity inside the model exhibit relatively stable characteristics, with moderate fluctuations.
In summary, when the spindle velocity is set to 35 r/min, the pressure distribution and velocity distribution within the flow field exhibit improved characteristics.

5. Numerical Simulation of Film Impurity Separation Device Performance

5.1. Simulation of Separation of Material Mixtures

Fluent fluid dynamics and 2022 EDEM software are integrated for coupled simulation. The flow field domain is modeled using 2023 R1 ANSYS Workbench software, and the resulting flow field is then imported into the discrete element software to analyze and calculate the behavior of material mixtures.

5.2. Experimental Scheme Design

Selected from the experiments in Section 4, the test factors are selected as drum rotation, air inlet velocity B, and spindle velocity. The residual film impurity rate Y1 after separation is utilized as the evaluation index to measure the performance of the drum film impurity separation device operation.
Y 1 = M b M a × 100 % ,
where Ma-the total mass of the material in the film collecting box, Kg. Mb-Impurity quality of the material in the film collecting box, Kg. Y 1 -Residual film impurity rate, %.
The test for the optimization of the parameters of the film impurity separation device was designed using a three-factor, three-level model as shown in Table 5, and an orthogonal table was selected for the test.

5.3. Polar Variance of Analysis

Table 6 shows the results of the impact of the test factors on the residual film impurity rate after separation. From the test results and Polar variance of analysis (K) in Table 5, it is observed that the spindle velocity has a minimal impact on the residual film impurity rate after separation, while the drum velocity and air inlet velocity have a larger effect, indicating that these two factors have a significant impact in the test. The order of influence on the test results by the three factors is A > B > C, meaning that the drum velocity has the greatest impact, followed by spindle velocity, and then the air inlet velocity. By analyzing the results of the tests in Table 6 and Table 7, the levels of each factor in terms of the residual film impurity rate are ranked as A2 > A3 > A1, B2 > B1 > B3, C2 > C1 > C3. Therefore, the optimal combination is A2B2C2, which corresponds to a drum rotational velocity of 25 r/min, an air inlet velocity of 14 m/s, and a spindle rotational velocity of 35 r/min.
Based on the analysis presented in Table 8 and the p-values of each factor, it can be concluded that A (drum velocity) has a highly significant effect on the residual film impurity rate, while B (air inlet velocity) and C (spindle velocity) have a significant effect on the residual film impurity rate. The influence of each factor on the residual film impurity rate is in the following descending order: A (drum velocity), C (spindle velocity), and B (air inlet velocity). This same ranking is confirmed by the results of the range analysis. Through simulation experiments, it is found that when the rotating velocity of the drum is 25 r/min, the air inlet velocity is 14 m/s, and the spindle velocity is 35 r/min, the experiment results in an impurity content of 8.9% in the film, and the experimental effect is excellent.

6. Conclusions

To solve the problem that it is difficult to separate the residual film from the cotton rod and crushed soil after recycling in Xinjiang cotton field, a drum film separation device is designed, and the screening part is designed to improve the screening performance of the device for film impurities. The film impurities were separated under the joint action of airflow and centrifugal force of the drum. According to the analysis of numerical simulation results, the relevant experimental factors such as air inlet velocity, drum velocity, and spindle velocity are determined.
  • This paper presents the design of a drum-type film impurity separation device. The initial experimental factors were determined through an analysis of pressure and velocity inside the chamber, resulting in the selection of a drum velocity of 25 r/min, an inlet air velocity of 14 r/min, and a spindle velocity of 35 r/min.
  • The overall experimentation and simulation of the residual film recycling machine were conducted using Fluent software. The experimental factors included air inlet velocity, drum velocity, and spindle velocity, with three factors and three levels designed to simulate the performance of the film impurity separation device in the drum-type residual film recycling machine. Through orthogonal experiments, the polar deviation and variance were analyzed to assess the influence of each factor on the residual film impurity rate, revealing that the drum screen velocity had the most significant impact, followed by spindle velocity and air inlet velocity. Furthermore, the experimental verification analysis simulation results indicated that at a drum velocity of 25 r/min, spindle velocity of 35 r/min, and air inlet velocity of 14 r/min, the separation of residual film impurity rate was determined to be 8.9%. These findings offer valuable insights for the research and development of drum sieve film impurity separation equipment.

Author Contributions

Conceptualization, Z.J. and J.Z.; methodology, Z.J.; software, Z.J.; validation, Z.J., J.Z. and Y.L.; formal analysis, Z.J.; investigation, Z.J.; resources, Z.J.; data curation, Z.J.; writing—original draft preparation, Z.J.; writing—review and editing, Z.J.; visualization, J.Z.; supervision, J.Z.; project administration, J.Z.; funding acquisition, Z.J., J.Z., Y.L. and Y.T. All authors have read and agreed to the published version of the manuscript.

Funding

This research was funded by the Key Research and Development Program of Xinjiang Uygur Autonomous Region grant number 2022B02038.

Institutional Review Board Statement

Not applicable.

Informed Consent Statement

Not applicable.

Data Availability Statement

The data presented in this study are available on request from the corresponding author. The data are not publicly available due to privacy.

Conflicts of Interest

The authors declare no conflict of interest.

References

  1. Zhou, C.; Li, Y.; Cu, X.; Yn, M.; Zhang, X. Effects of Biodegradable llm Mulching anting laterns on Soil Nutrient andNitrogerUse Effciency of Summer Maize. Trans. Chin. Soc. Agric. Mach. 2015, 47, 133–142+112. [Google Scholar]
  2. Zhao, Y.; Chen, X.; Wen, H.; Zheng, X.; Niu, O.; Kang, J. Research Status and Prospect of Control Technology for Residual Plastic Iilm Pollution in larmland. Trans. Chin. Soc. Agric. Mach. 2017, 48, 1–14. [Google Scholar]
  3. Xie, J.H.; Tang, W.; Zhang, X.J.; Zhang, F.X..; Yang, Y.L. Mechanical properties tests and analysis of plastic mulching film residue. Int. Agric. Eng. J. 2018, 27, 130–135. [Google Scholar]
  4. Liu, J.; Zhang, D.; Hou, S.; Xu, I. Design and lxperiment of Plastic lilm Collector for Cotton lields during Seedling Leriod. Transacfions Chin. Soc. Agric. Mach. 2010, 41, 73–77. [Google Scholar]
  5. Duan, W.; Wang, J.; Li, Y.; Cong, H.; Niu, H.; Luo, W.; Bi, X. Design and test of clamping finger chain type device for recycling agriculturaolastic filn. Trans. Chin. Soc. Agric. Eng. 2016, 32, 35–42. [Google Scholar]
  6. Cheng, E.; Tuo, H.; Yi, W.; Wang, P.; Yang, C.; Zhao, B. Rescarch status and development trend of residual filn recycling machincry in cotton ficld. J. Chin. Agric. Mech. 2023, 44, 200–207. [Google Scholar]
  7. Cuo, Y.T.; Luo, X.G.; Wanc, R.; Chen, H.X.; Fen, C. Effects of Biodegradable Plastic Film Mulching on Grenhouse Gas. Emissions under Wheat-Maize Rotation Svstem in the Guanzhong Plain. Environ. Sci. 2022, 27, 2788–2801. [Google Scholar]
  8. Hu, C.; Wang, X.; Chen, X.; Tang, X.; Zhao, Y.; Yan, H. Current situation and control strategies of residual film pollution in Xinjiang. Trans. Chin. Soc. Agric. Eng. 2019, 35, 223–234. [Google Scholar]
  9. Hadaly, S.R.; Lluis, M.C.; Ana, M.P. Biodegradable plastic mulches; Impact on the agricultural biotic environment. Sci. Total Environ. 2021, 750, 141–228. [Google Scholar]
  10. Peng, Q.; Li, C.; Kang, J.; Shi, G.; Zhang, H. lmproved Design and Test on Pneumatic Cylinder Sieve Film Hybrid Separator. Trans. Chin. Soc. Agric. Eng. 2020, 51, 126–135. [Google Scholar]
  11. Wang, J.; Zhao, W.; Liu, X.; Dai, L.; Xin, S.; Wu, Z. Improved Design and Experiment of Collector for Corn Whole Plastic Film Mulching on Double Ridges. Trans. Chin. Soc. Agric. Eng. 2021, 52, 119–128. [Google Scholar]
  12. Wen, X.; Jia, H.; Zhang, S.; Yuan, H.; Wang, G.; Chen, T. Test of Suspension Velocily of Granular Fertilizer Based on EDEM-Fluent Coupling. Trans. Chin. Soc. Agric. Mach. 2020, 51, 69–77. [Google Scholar]
  13. Wang, Z.; Chen, X.; Yan, L.; Jiang, D.; Wang, M. Design and Experiment on Collecting and Removing Device for Profile Modeling Residual Plastic Film Collector. Trans. Chin. Soc. Agric. Mach. 2021, 52, 80–90. [Google Scholar]
  14. Kang, I.; Peng, Q.; Wang, S.; Song, Y.; Cao, S.; He, L. Improved Design and Experiment on Pickup Unit of Spring-tooth ResidualPlastic Film Collector. Trans. Chin. Soc. Agric. Mach. 2018, 49, 295–303. [Google Scholar]
  15. Sun, Y.; Jian, J.; Tian, Y.; Sun, F.; Zhang, M.; Wang, S. Analysis and Experiment of Filming Mechanism of Rotary Film-lifting Device of Residual Film Recycling Machine. Trans. Chin. Soc. Agric. Mach. 2018, 49, 304–310. [Google Scholar]
  16. Zeng, Z.; Ma, X.; Cao, X.; Li, Z.; Wang, X. Critical Review of Applications of Discrete Element Method in Agricultural Engineering. Trans. Chin. Soc. Agric. Mach. 2021, 52, 1–20. [Google Scholar]
  17. Zhang, J.; Zhang, L.; Lu, X.; Jiang, Y.; Wang, J. Mechanical analysis and contrast experiment on collecting residual plastic flmwith different side-flm shovels. Trans. Chin. Soc. Agric. Eng. 2017, 33, 10–15. [Google Scholar]
  18. Du, Y.; Cuo, Z.; Xu, Z.; Zhang, Y. Application test and tracking assessment of residual film collector. J. Chin. Agric. Mech. 2017, 38, 48–51. [Google Scholar]
  19. Liang, R.; Chen, X.; Zhang, B.; Meng, H.; Jiang, P.; Peng, X.; Kan, Z.; Li, W. Roolemns and counter measures of recycling methodsand resource reuse of residual film in cotton fields of Xinjiang. Trans. Chin. Soc. Agric. Eng. 2019, 35, 1–13. [Google Scholar]
  20. Temoor, A.; Muhammad, S.; Farrukh, A.; Ljaz, R.; Asad, A.S.; Muhammad, N.; Amir, H.; Natasha, M.; Lrfan, M.; Sher, M. Biodegradation of plastics; Current scenario and future prospects for environmental safety. Environ. Sci. Pollut. Res. 2018, 25, 7287–7298. [Google Scholar]
  21. Jiao, W.; Liu, X.H.; Yang, L.; Trevor, P.; Xin, W.; Wang, G.Y.; Zhang, P.P. Microplastics as contaminants in the soil environment; A mini-review. Sci. Total Environ. 2019, 691, 848–857. [Google Scholar]
  22. Liu, H.; Yang, X.; Huang, P.; Liu, H. Study on separation parameters of waste plastic film mixture. J. Shandong Univ. Technol. Nat. Sci. Ed. 2021, 26, 60–63. [Google Scholar]
  23. Li, C.; Yang, X.; Xu, P. Study on the Movement Dynamics of Waste Plastic Film in the Separation Chamber. Mech. Sci. Technol. Aerosp. Eng. 2013, 32, 744–746. [Google Scholar]
  24. Kang, J.; Zhang, H.; Zhang, G.; Du, H.; Peng, O.; Song, U. Aerodynamic characteristics of residual film materials and test of film separation device. J. Chin. Agric. Mech. 2020, 41, 167–172. [Google Scholar]
  25. Zhang, Y.; Wang, C.; Liu, M.; Luo, J. Numerical Simulation of film Rod Separation Device. J. Chin. Agric. Mech. 2018, 40, 24–28. [Google Scholar]
  26. Jin, W.; Zhang, X.; Ding, Y.; Bai, S.; Liu, W.; Zhou, X. Experiment on Suspension Separation of Residual Film and lmpurity Basedon EDEM-Fluent Coupling. Trans. Chin. Soc. Agric. Mach. 2022, 53, 89–98. [Google Scholar]
  27. Xiangbin, P. Desien and Experiment of Alternated Multi-Sleve Device with Function of Separating Soil from Residual Film Mixture. Ph.D. Thesis, Shihezi University, Shihezi, China, 2021. Volume 21. [Google Scholar]
  28. Ji, J.; Guo, R.; Li, R. Numerical simulation of flow field in municipal solid waste with wind power. J. Linoning Tech. Univ. Atural Sci. 2005, 24, 278–280. [Google Scholar]
  29. Wu, L.Y. Numerical Simulation and Improvement Design of Msw Air Classifier Structure; BeTig University of Technology: Beijing, China, 2013; Volume 20. [Google Scholar]
  30. Tian, H.; Wang, Z.; Wang, C.; Wang, X.; Chi, J. Pneumatic Conveying Exploratory Study on Comb-type Cotton Harvesting Machinery. J. Agric. Mech. Res. 2014, 36, 20–23. [Google Scholar]
Figure 1. Recycling of residual film by film raking machine.
Figure 1. Recycling of residual film by film raking machine.
Applsci 14 00343 g001
Figure 2. Samples.
Figure 2. Samples.
Applsci 14 00343 g002
Figure 3. Measurement of soil particle diameter.
Figure 3. Measurement of soil particle diameter.
Applsci 14 00343 g003
Figure 4. Cotton stalk specimens of different length ranges.
Figure 4. Cotton stalk specimens of different length ranges.
Applsci 14 00343 g004
Figure 5. Residual film specimens of different length ranges.
Figure 5. Residual film specimens of different length ranges.
Applsci 14 00343 g005
Figure 6. Schematic structure of a winnowing device for waste film impurities. It consists of the following functional parts: 1. Centrifugal fan; 2. Air duct; 3. Material inlet; 4. Gear ring; 5. Hood; 6. Stiff brush; 7. Drum; 8. Spiral blade; 9. Spindle; 10. Roller; 11. Idler wheel; 12. Frame; 13. Material outlet; 14. Motor.
Figure 6. Schematic structure of a winnowing device for waste film impurities. It consists of the following functional parts: 1. Centrifugal fan; 2. Air duct; 3. Material inlet; 4. Gear ring; 5. Hood; 6. Stiff brush; 7. Drum; 8. Spiral blade; 9. Spindle; 10. Roller; 11. Idler wheel; 12. Frame; 13. Material outlet; 14. Motor.
Applsci 14 00343 g006
Figure 7. Simplified Diagram of Film Stalk Separation Unit.
Figure 7. Simplified Diagram of Film Stalk Separation Unit.
Applsci 14 00343 g007
Figure 8. Mesh delineation of the site’s film rod separation unit.
Figure 8. Mesh delineation of the site’s film rod separation unit.
Applsci 14 00343 g008
Figure 9. Flow field pressure distribution.
Figure 9. Flow field pressure distribution.
Applsci 14 00343 g009
Figure 10. Velocity distribution in the flow field.
Figure 10. Velocity distribution in the flow field.
Applsci 14 00343 g010
Figure 11. The change of interior flow fluid pressure along the cavity under different air inlet velocities.
Figure 11. The change of interior flow fluid pressure along the cavity under different air inlet velocities.
Applsci 14 00343 g011
Figure 12. The change of fluid velocity along the cavity under different air inlet velocities.
Figure 12. The change of fluid velocity along the cavity under different air inlet velocities.
Applsci 14 00343 g012
Figure 13. The change of fluid pressure along the cavity under different drum rotational velocities.
Figure 13. The change of fluid pressure along the cavity under different drum rotational velocities.
Applsci 14 00343 g013
Figure 14. The change of fluid velocity along the cavity under different drum rotational velocities.
Figure 14. The change of fluid velocity along the cavity under different drum rotational velocities.
Applsci 14 00343 g014
Figure 15. The change of flow field pressure along the length of the cavity under different spindle velocities.
Figure 15. The change of flow field pressure along the length of the cavity under different spindle velocities.
Applsci 14 00343 g015
Figure 16. The change of fluid velocity along the length of the cavity under different spindle velocities.
Figure 16. The change of fluid velocity along the length of the cavity under different spindle velocities.
Applsci 14 00343 g016
Table 1. Conclusions reached regarding the material’s component ratios.
Table 1. Conclusions reached regarding the material’s component ratios.
Groups123456789
material categoriesfilm/g0.3790.1830.1360.5000.1800.3320.6350.3000.535
Soil/g0.3250.3260.4451.3401.9171.3401.2351.3210.887
cotton stalk/g0.5560.2150.1340.1550.1200.1450.2550.1600.341
total weight/g1.2600.7240.7141.9952.2171.8172.1251.7811.763
Table 2. Soil moisture content measurement results.
Table 2. Soil moisture content measurement results.
Groups123456789
moisture contentUpper level4.51%3.35%4.21%3.33%2.56%3.68%2.81%3.97%3.65%
Lower layer4.25%3.45%4.43%3.54%2.83%3.63%2.95%3.35%3.43%
Table 3. Statistics of particle diameter distribution in different soils.
Table 3. Statistics of particle diameter distribution in different soils.
Groups123456789
D ≥ 5 mm0.0960.0880.1330.6190.6640.2130.3500.4480.177
2 mm ≤ D < 5 mm0.0820.0600.0800.0950.1500.1750.1830.1350.130
1 mm ≤ D < 2 mm0.0800.0400.0500.1020.1200.1320.0900.1750.070
D < 1 mm0.0690.1380.1820.5240.9830.8200.6120.5630.510
total mass/g0.3250.3260.4451.3401.9171.3401.2351.3210.887
Table 4. Masses of different sizes of residual film.
Table 4. Masses of different sizes of residual film.
Groups123456789
small film/g0.0090.0150.0130.040.0160.0130.0520.0030.043
Medium film/g0.060.0310.0410.080.0470.1360.1120.0870.166
large film/g0.3100.1370.0820.380.1170.1830.4710.2100.326
total mass/g0.3790.1830.1360.5000.1800.3320.6350.3000.535
Table 5. Test Factors and Levels.
Table 5. Test Factors and Levels.
LevelDrum Velocity (r/min)Air Inlet Velocity B (m/s)Spindle Velocity (r/min)
1201230
2251435
3301640
Table 6. Test plan and results.
Table 6. Test plan and results.
Serial NumberABCY1/%
120123013.80
220143511.40
320164013.50
42512359.10
52514409.30
625163010.20
730124011.20
830163010.70
93016359.80
Table 7. Polar analysis of variance.
Table 7. Polar analysis of variance.
Standard of EvaluationABC
K138.734.134.7
K228.631.430.3
K331.733.534.0
Range3.40.91.5
Table 8. Variance analysis of residual film impurity ratio.
Table 8. Variance analysis of residual film impurity ratio.
Orthogonal Design ANOVA Table (Fully Randomized Model) (Fully Randomized Model)
Source of VariationSum of SquaresDegrees of FreedomMean Squarep-ValueSignificance
A17.84728.9230.003**
B1.34020.6700.034*
C3.72721.8630.012*
error0.04720.023
Note: ** indicates a highly significant difference (p < 0.01); * indicates a significant difference (p < 0.05).
Disclaimer/Publisher’s Note: The statements, opinions and data contained in all publications are solely those of the individual author(s) and contributor(s) and not of MDPI and/or the editor(s). MDPI and/or the editor(s) disclaim responsibility for any injury to people or property resulting from any ideas, methods, instructions or products referred to in the content.

Share and Cite

MDPI and ACS Style

Jiang, Z.; Zhang, J.; Lin, Y.; Tang, Y. Design and Numerical Simulation Study of Film Rod Reparation Device for Residual Film Recycling Machine. Appl. Sci. 2024, 14, 343. https://doi.org/10.3390/app14010343

AMA Style

Jiang Z, Zhang J, Lin Y, Tang Y. Design and Numerical Simulation Study of Film Rod Reparation Device for Residual Film Recycling Machine. Applied Sciences. 2024; 14(1):343. https://doi.org/10.3390/app14010343

Chicago/Turabian Style

Jiang, Zhangzhen, Jianjie Zhang, Ying Lin, and Yiyu Tang. 2024. "Design and Numerical Simulation Study of Film Rod Reparation Device for Residual Film Recycling Machine" Applied Sciences 14, no. 1: 343. https://doi.org/10.3390/app14010343

APA Style

Jiang, Z., Zhang, J., Lin, Y., & Tang, Y. (2024). Design and Numerical Simulation Study of Film Rod Reparation Device for Residual Film Recycling Machine. Applied Sciences, 14(1), 343. https://doi.org/10.3390/app14010343

Note that from the first issue of 2016, this journal uses article numbers instead of page numbers. See further details here.

Article Metrics

Back to TopTop