Experimental Research on Mechanical Performance of SSRC Columns under Eccentric Compression
Abstract
1. Introduction
2. Experimental Program
2.1. Mechanical Properties of Reinforcements
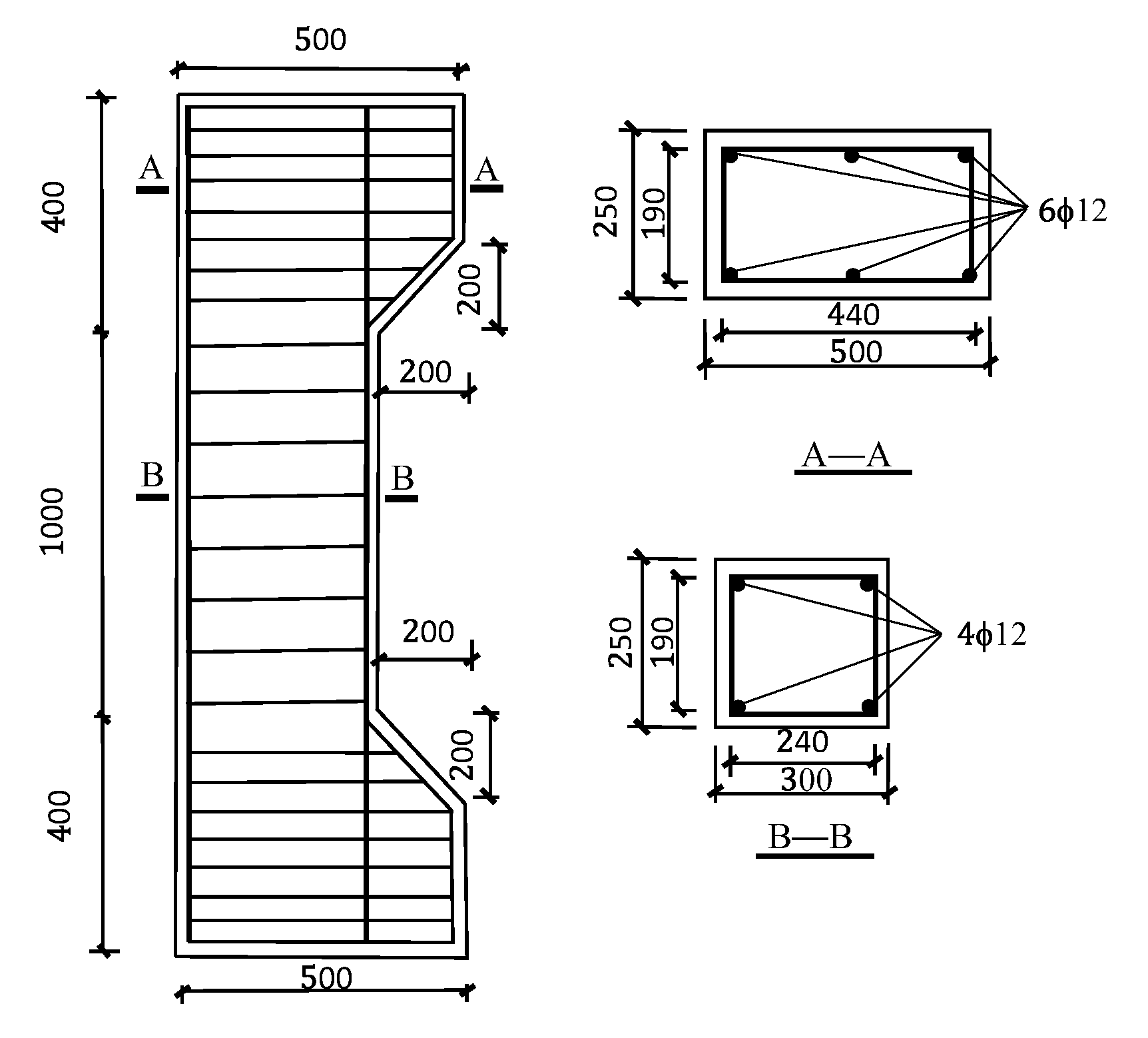
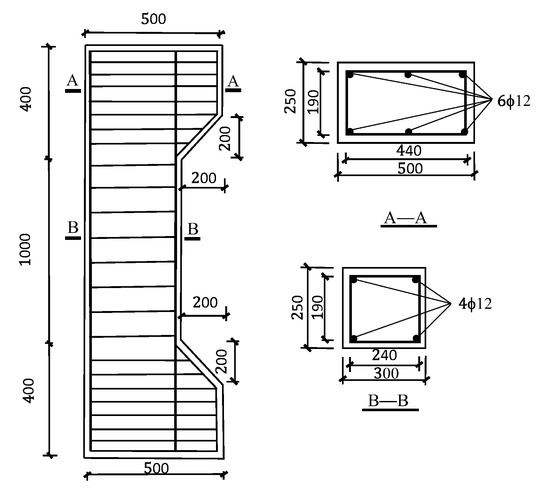
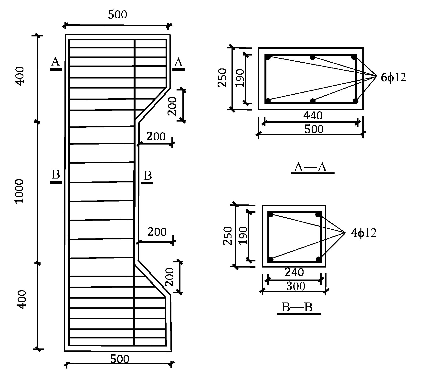
2.2. Specimen Design
2.3. Experimental Setup and Measurement Scheme
2.4. Experimental Program
3. Experimental Results
3.1. Failure Modes
3.2. Load–Lateral Displacement Curves
- Linear growth stage: The lateral displacement is small, and the load increases linearly.
- Nonlinear growth stage: With the increase in load, transverse cracks appear in the concrete on the tension side, and the section stiffness decreases gradually.
- Falling stage: After the ultimate load, the curve exhibits a downward trend. The falling stage for the curves of the large eccentric compression specimen is gentler, showing good ductility.
3.3. Load–Longitudinal Strain Curves
3.4. Strain Distribution
4. Analysis of Normal Section Capacity
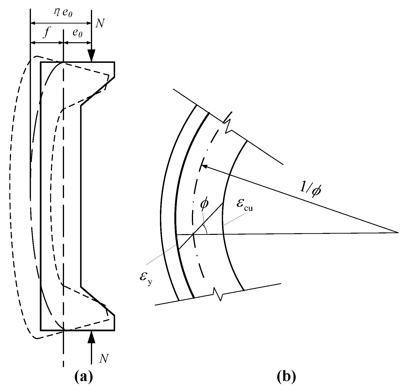
4.1. Existing Calculation Methods
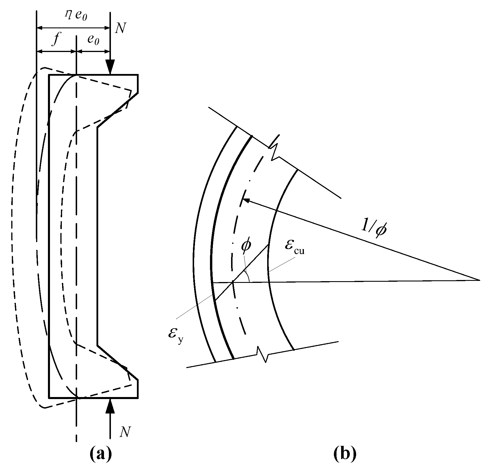
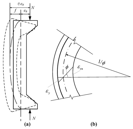
4.1.1. Basic Calculation Model
4.1.2. Model Validation and Analysis
4.2. Model Optimization
4.3. Validation
4.4. Ultimate Load–Bending Moment Curve
5. Crack Width Analysis
5.1. Load–Crack Curve
5.2. Calculation Models for Crack Width
5.2.1. GB 50010-2010
5.2.2. EN 1992-1
5.3. Comparison of Calculation Results
5.4. Revision of Force Characteristic Coefficient
6. Conclusions
- Eccentricity had a significant effect on the failure mode of SSRC columns. The failure modes of SSRC columns under eccentric compression were similar to those of ordinary reinforced columns.
- SSRC columns exhibited good ductility under load. At the ultimate load, the load of the specimens under small eccentricity decreased rapidly, whereas the others under large eccentricity could still maintain a certain displacement growth.
- The lateral displacement curves of SSRC columns were symmetrically distributed along the middle and were approximately sinusoidal. Under the same eccentricity, the reinforcement ratio had negligible effect on the lateral displacement corresponding to the ultimate load.
- The mechanical properties of SSRC columns under small eccentric compression were better than expected; however, the ultimate loads under large eccentric compression were lower than the theoretical values. Therefore, the effects of the relative eccentricity and characteristics of stainless-steel reinforcement on the second-order effect were considered. An optimization model of the ultimate load of SSRC columns was proposed. The calculation results of this model were accurate and safe, and the Nu–M curve obtained was in agreement with the test and FEA results. Therefore, it is recommended to regard SSRC columns as slender columns and use the proposed optimization model to calculate the ultimate loads of SSRC columns in practice.
- For the SSRC columns under small eccentric compression, changes in the reinforcement ratio have a negligible effect on the crack development when compared with changes in the eccentricity. The average crack widths of SSRC columns at failure were between 0.13 and 0.42 mm.
- Based on the existing experimental results, the value of αcr in the crack width calculation formula for the SSRC columns under the long-term load was set to 2.7. The calculated results for the long-term crack width at αcr = 2.7 were in good agreement with the experimental results, and the relative error was less than 4%.
Author Contributions
Funding
Conflicts of Interest
References
- Medina, E.; Medina, J.M.; Cobo, A.; Bastidas, D.M. Evaluation of mechanical and structural behavior of austenitic and duplex stainless steel reinforcements. Constr. Build. Mater. 2015, 78, 1–7. [Google Scholar] [CrossRef]
- Gardner, L.; Bu, Y.; Francis, P.; Baddoo, N.R.; Cashell, K.A.; McCann, F. Elevated temperature material properties of stainless steel reinforcing bar. Constr. Build. Mater. 2016, 114, 977–997. [Google Scholar] [CrossRef]
- Wu, X.; Li, L.; Li, H.; Li, B.; Ling, Z. Effect of strain level on corrosion of stainless steel bar. Constr. Build. Mater. 2018, 163, 189–199. [Google Scholar] [CrossRef]
- Martin, U.; Ress, J.; Bosch, J.; Bastidas, D.M. Stress corrosion cracking mechanism of AISI 316LN stainless steel rebars in chloride contaminated concrete pore solution using the slow strain rate technique. Electrochim. Acta 2020, 335, 135565. [Google Scholar] [CrossRef]
- Yin, F.; Yang, L.; Wang, M.; Zong, L.; Chang, X. Study on ultra-low cycle fatigue behavior of austenitic stainless steel. Thin Walled Struct. 2019, 143, 106205. [Google Scholar] [CrossRef]
- Gardner, L. The use of stainless steel in structures. Prog. Struct. Eng. Mater. 2005, 7, 45–55. [Google Scholar] [CrossRef]
- Baddoo, N.R. Stainless steel in construction: A review of research, applications, challenges and opportunities. J. Constr. Steel. Res. Allergy 2008, 64, 1199–1206. [Google Scholar] [CrossRef]
- Gedge, G. Structural uses of stainless steel—Buildings and civil engineering. J. Constr. Steel. Res. Allergy 2008, 64, 1194–1198. [Google Scholar] [CrossRef]
- Nürnberger, U.; Wu, Y. Stainless steel in concrete structures and in the fastening technique. Mater. Corros. 2008, 59, 144–158. [Google Scholar] [CrossRef]
- Mistry, M.; Koffler, C.; Wong, S. LCA and LCC of the world’s longest pier: A case study on nickel-containing stainless steel rebar. Int. J. Life Cycle Assess. 2016, 21, 1637–1644. [Google Scholar] [CrossRef]
- Corradi, M.; Di Schino, A.; Borri, A.; Rufini, R. A review of the use of stainless steel for masonry repair and reinforcement. Constr. Build. Mater. 2018, 181, 335–346. [Google Scholar] [CrossRef]
- Merello, R.; Botana, F.J.; Botella, J.; Matres, M.V.; Marcos, M. Influence of chemical composition on the pitting corrosion resistance of non-standard low-Ni high-Mn-N duplex stainless steels. Corros. Sci. 2003, 45, 909–921. [Google Scholar] [CrossRef]
- Freire, L.; Novoa, X.R.; Pena, G.; Vivier, V. On the corrosion mechanism of AISI 204Cu stainless steel in chlorinated alkaline media. Corros. Sci. 2008, 50, 3205–3212. [Google Scholar] [CrossRef]
- Gastaldi, M.; Bertolini, L. Effect of temperature on the corrosion behaviour of low-nickel duplex stainless steel bars in concrete. Cem. Concr. Res. 2014, 56, 52–60. [Google Scholar] [CrossRef]
- Yang, Y.; Qian, H.; Su, Y. Effect of Mn addition on deformation behaviour of 23% Cr low nickel duplex stainless steel. Mater. Charact. 2018, 145, 606–618. [Google Scholar] [CrossRef]
- Alonso, M.C.; Luna, F.J.; Criado, M. Corrosion behavior of duplex stainless steel reinforcement in ternary binder concrete exposed to natural chloride penetration. Constr. Build. Mater. 2019, 199, 385–395. [Google Scholar] [CrossRef]
- Veleva, L.; Alpuche-Aviles, M.A.; Graves-Brook, M.K.; Wipf, D.O. Comparative cyclic voltammetry and surface analysis of passive films grown on stainless steel 316 in concrete pore model solutions. J. Electroanal. Chem. 2002, 537, 85–93. [Google Scholar] [CrossRef]
- Ogunsanya, I.G.; Hansson, C.M. The semiconductor properties of passive films and corrosion behavior of stainless steel reinforcing bars in simulated concrete pore solution. Materialia 2019, 6, 100321. [Google Scholar] [CrossRef]
- Ertzibengoa, D.; Matthys, S.; Taerwe, L. Bond behaviour of flat stainless steel rebars in concrete. Mater. Struct. 2012, 45, 1639–1653. [Google Scholar] [CrossRef]
- Calderon-Uriszar-Aldaca, I.; Briz, E.; Larrinaga, P.; Garcia, H. Bonding strength of stainless steel rebars in concretes exposed to marine environments. Constr. Build. Mater. 2018, 172, 125–133. [Google Scholar] [CrossRef]
- Pauletta, M.; Rovere, N.; Randl, N.; Russo, G. Bond-Slip Behavior between Stainless Steel Rebars and Concrete. Materials 2020, 13, 979. [Google Scholar] [CrossRef] [PubMed]
- Zhang, G.; Zhang, Y.; Zhou, Y. Fatigue Tests of Concrete Slabs Reinforced with Stainless Steel Bars. Adv. Mater. Sci. Eng. 2018, 2018, 5451398. [Google Scholar] [CrossRef]
- Rabi, M.; Cashell, K.A.; Shamass, R. Flexural analysis and design of stainless steel reinforced concrete beams. Eng. Struct. 2019, 198, 109432. [Google Scholar] [CrossRef]
- Li, Q.; Guo, W.; Liu, C.; Kuang, Y.; Geng, H. Experimental and Theoretical Studies on Flexural Performance of Stainless Steel Reinforced Concrete Beams. Adv. Civ. Eng. 2020, 2020, 4048750. [Google Scholar] [CrossRef]
- ACI Committee 318. Building Code Requirements for Structural Concrete (ACI 318-14) and Commentary (318R-14); American Concrete Institute: Farmington Hills, MI, USA, 2014. [Google Scholar]
- Ministry of Housing and Urban-Rural Development of the People’s Republic of China. National Standard of the Peoples Republic of China, Code for Design of Concrete Structures: GB 50010-2010; China Architecture & Building Press: Beijing, China, 2015.
- EN. EN 1992-1-1 Eurocode 2: Design of Concrete Structures—Part. 1-1: General Rules and Rules for Buildings; CEN: Brussels, Belgium, 2005. [Google Scholar]















| Specimen | Reinforcement Diameter (mm) | Proof Strength at No Proportional Extension (MPa) | Ultimate Strength (MPa) | Elastic Modulus (×105 MPa) | Elongation (%) |
|---|---|---|---|---|---|
| 2304 | 12 | 636.5 | 842.3 | 1.56 | 33.0 |
| 2304 | 16 | 531.8 | 768.3 | 1.56 | 36.4 |
| 2304 | 25 | 542.7 | 760.7 | 1.40 | 34.1 |
| HRB400 | 16 | 477.0 | 654.3 | 2.02 | 26.8 |
| Specimen | Eccentricity (mm) | Stirrup Diameter (mm) | Stirrup Spacing (mm) | Number of Longitudinal Reinforcement Bars | Longitudinal Reinforcement Bar Diameter (mm) | Reinforcement Ratio (%) |
|---|---|---|---|---|---|---|
| SSRC1 | 80 | 8 | 125 | 4 | 12 | 0.60 |
| SSRC2 | 270 | 8 | 125 | 4 | 12 | 0.60 |
| SSRC3 | 80 | 8 | 125 | 4 | 16 | 1.07 |
| SSRC4 | 150 | 8 | 125 | 4 | 16 | 1.07 |
| SSRC5 | 200 | 8 | 125 | 4 | 16 | 1.07 |
| SSRC6 | 270 | 8 | 125 | 4 | 16 | 1.07 |
| SSRC7 | 80 | 8 | 125 | 4 | 25 | 2.61 |
| SSRC8 | 270 | 8 | 125 | 4 | 25 | 2.61 |
| HRC9 | 270 | 8 | 125 | 4 | 16 | 1.07 |
| Source | Column | fc (MPa) | e0 | (mm2) | Nu (kN) | Equation (1) | Optimization Model | ||
|---|---|---|---|---|---|---|---|---|---|
| Test results | SSRC1 | 20.1 | 80 | 226 | 1075 | 813.9 | 0.757 | 821.3 | 0.764 |
| SSRC2 | 20.1 | 270 | 226 | 173 | 202.7 | 1.172 | 158.3 | 0.915 | |
| SSRC3 | 20.1 | 80 | 402 | 1135 | 913.7 | 0.805 | 919.0 | 0.810 | |
| SSRC4 | 20.1 | 150 | 402 | 640 | 677.9 | 1.059 | 639.0 | 0.998 | |
| SSRC5 | 20.1 | 200 | 402 | 358 | 422.3 | 1.180 | 347.7 | 0.971 | |
| SSRC6 | 20.1 | 270 | 402 | 220 | 281.6 | 1.280 | 222.5 | 1.011 | |
| SSRC7 | 20.1 | 80 | 982 | 1280 | 1273.9 | 0.995 | 1275.0 | 0.996 | |
| SSRC8 | 20.1 | 270 | 982 | 465 | 566.9 | 1.219 | 464.7 | 0.999 | |
| FEA results | 20.1 | 150 | 226 | 525 | 558.2 | 1.063 | 519.6 | 0.990 | |
| 20.1 | 200 | 226 | 267 | 319.0 | 1.195 | 257.2 | 0.963 | ||
| 20.1 | 30 | 402 | 1431 | 1235.0 | 0.863 | 1368.1 | 0.956 | ||
| 20.1 | 60 | 402 | 1205 | 1021.0 | 0.906 | 1061.5 | 0.942 | ||
| 20.1 | 120 | 402 | 792 | 758.7 | 0.958 | 729.7 | 0.921 | ||
| 20.1 | 180 | 402 | 434 | 616.9 | 1.421 | 406.2 | 0.936 | ||
| 20.1 | 230 | 402 | 285 | 350.7 | 1.231 | 282.1 | 0.990 | ||
| 20.1 | 250 | 402 | 268 | 313.0 | 1.168 | 249.2 | 0.930 | ||
| 26.8 | 80 | 402 | 1157 | 1122.4 | 0.970 | 1129.8 | 0.976 | ||
| 26.8 | 150 | 402 | 587 | 673.4 | 1.147 | 581.8 | 0.991 | ||
| 26.8 | 200 | 402 | 371 | 455.1 | 1.227 | 367.1 | 0.989 | ||
| 26.8 | 270 | 402 | 236 | 292.4 | 1.239 | 228.0 | 0.966 | ||
| 32.4 | 80 | 402 | 1323 | 1292.4 | 0.977 | 1301.7 | 0.984 | ||
| 32.4 | 150 | 402 | 651 | 728.3 | 1.119 | 620.7 | 0.953 | ||
| 32.4 | 200 | 402 | 397 | 476.0 | 1.199 | 378.9 | 0.954 | ||
| 32.4 | 270 | 402 | 239 | 298.6 | 1.249 | 231.1 | 0.967 | ||
© 2020 by the authors. Licensee MDPI, Basel, Switzerland. This article is an open access article distributed under the terms and conditions of the Creative Commons Attribution (CC BY) license (http://creativecommons.org/licenses/by/4.0/).
Share and Cite
Li, Q.; Kuang, Y.; Guo, W.; Zhang, Y. Experimental Research on Mechanical Performance of SSRC Columns under Eccentric Compression. Appl. Sci. 2020, 10, 5629. https://doi.org/10.3390/app10165629
Li Q, Kuang Y, Guo W, Zhang Y. Experimental Research on Mechanical Performance of SSRC Columns under Eccentric Compression. Applied Sciences. 2020; 10(16):5629. https://doi.org/10.3390/app10165629
Chicago/Turabian StyleLi, Qingfu, Yihang Kuang, Wei Guo, and Yanlong Zhang. 2020. "Experimental Research on Mechanical Performance of SSRC Columns under Eccentric Compression" Applied Sciences 10, no. 16: 5629. https://doi.org/10.3390/app10165629
APA StyleLi, Q., Kuang, Y., Guo, W., & Zhang, Y. (2020). Experimental Research on Mechanical Performance of SSRC Columns under Eccentric Compression. Applied Sciences, 10(16), 5629. https://doi.org/10.3390/app10165629

