Next Article in Journal
The Impact of Ergonomic Rationalisation on the Efficiency and Productivity of the Production Process
Next Article in Special Issue
AI-Based Anomaly Detection and Optimization Framework for Blockchain Smart Contracts
Previous Article in Journal
Systematic Identification and Validation of Critical Success Factors for ISO/IEC 17025 Implementation
Previous Article in Special Issue
Blockchain-Based Strategy to Optimize Certified Notifications from Government Entities
 
 
Font Type:
Arial Georgia Verdana
Font Size:
Aa Aa Aa
Line Spacing:
Column Width:
Background:
Article

Auditors’ Intention to Use Blockchain Technology and TAM3: The Moderating Role of Age

by
Amir Hasan Hamadeh
1,*,
Rasha Mohammad Nouraldeen
1,
Rasha Mohamad Mahboub
1 and
Mohamed Saleh Hashem
2
1
Accounting Department, Faculty of Business Administration, Beirut Arab University, Beirut 11072809, Lebanon
2
Faculty of Management Sciences, Sadat Academy, Cairo 11837, Egypt
*
Author to whom correspondence should be addressed.
Adm. Sci. 2025, 15(2), 61; https://doi.org/10.3390/admsci15020061
Submission received: 10 December 2024 / Revised: 25 January 2025 / Accepted: 7 February 2025 / Published: 13 February 2025
(This article belongs to the Special Issue Research on Blockchain Technology and Business Process Design)

Abstract

The purpose of this study is to examine the effect of the two determinants of the technology acceptance model (TAM3), perceived ease of use (PEOU), and perceived usefulness (PU) on auditors’ intention to adopt and use blockchain technology (BT) in Lebanon. This study also aims to investigate the moderating role of age on these associations to determine the antecedents of PU and PEOU. A sample of 332 auditors working in Lebanon was used to collect data and the analysis was conducted using the third version of partial least squares structural equation modeling (PLS3-SEM). Results show that perception of external control and computer self-efficacy significantly affect the PEOU. Job relevance and output quality are PU antecedents and positively influence the variable. In addition, PEOU and PU have a significant positive impact on auditors’ intention to adopt BT. This shows that auditors in Lebanon are more inclined to adopt BT if they feel that BT does not require substantial effort and that BT provides tangible benefits to their work. According to the researchers’ knowledge, this study is the first to examine auditors’ perception of using BT in one of the Middle Eastern countries, Lebanon, and the first to investigate the moderating role of age on the relationship between TAM3 determinants and auditors’ intention to adopt BT. In addition, this study highlights the practical implications of adopting BT in auditing in Lebanon by pinpointing the need for training programs, collaboration between auditors and other departments, developing regulatory frameworks to enhance efficiency, and organizing awareness and educational campaigns. Additionally, investments in infrastructure are critical to facilitate the smooth implementation and adoption of BT. Furthermore, audit firms should organize workshops to educate auditors on the application and the benefits of BT, invest in upgrading the IT systems to be compatible with BT platforms, and provide case studies and pilot projects to promote confidence in BT adoption.

1. Introduction

Blockchain technology (BT) is a new technology introduced by Satoshi Nakamoto in 2008. It is a digital system where all transactions are saved in blocks and maintained over various computers connected using a peer-to-peer network (Ferri et al., 2020). A peer-to-peer network means that each computer works as a server for other computers, allowing shared access to transactions without a central server (Sinha, 2019). BT has significantly affected different industries, including financial services, healthcare, government, transportation, trade, agriculture, and the accounting and auditing profession (Yermack, 2017). The introduction of BT to accounting and auditing makes core changes to initiating, recording, and reporting transactions (Simoes et al., 2021). Hence, auditors should understand that this new technology will change how they perform job tasks. BT is expected to shape accounting practices and the future of audits (Ferri et al., 2020). Moreover, BT characteristics that include transparency, information access, trust, data security, efficiency, and data quality provide auditors with critical benefits and help them achieve a more efficient and effective audit process (Simoes et al., 2021). Therefore, BT facilitates and accelerates the accessibility of information where auditors can identify all the recorded transactions and better understand the entity being audited (Swan, 2017).
BT enhances trust and data control, allowing auditors to access reliable data and achieve timely internal control analysis (Kraft, 2016). Moreover, the history of transactions improves the predictive measurement of data, and auditors can better understand the risks related to the business along with irregular operations and transactions. Thus, predictive data capacity is achieved, and data history leads to high-quality analysis and access to audit evidence free of manipulation (Tapscott & Tapscott, 2018). BT also helps achieve efficient and effective audit reports since manual audit activities are time-consuming (Ferri et al., 2020). Despite the diverse opinions around BT and its capability to improve auditing activities, reduce workload, and achieve real-time auditing, there is still limited research in this area, and international bodies and practitioners are still in the learning phase of adopting BT (Qadir & Mahmood, 2024). Based on the challenges and the complexity of BT, this study uses technology acceptance model three (TAM3) to study the intention of Lebanese external auditors to use BT in auditing activities. This study considers that perception of external control, computer self-efficacy, and computer anxiety are antecedents that may affect perceived ease of use (PEOU). While job relevance, results demonstrability, and output quality are antecedents that may affect perceived usefulness (PU). The researchers suggest that PEOU along with PU have a significant impact on the intention of auditors to adopt BT.
What differentiates Lebanese external auditors from those in the Mediterranean region is that BT has not yet been adopted in Lebanon, as in some Mediterranean countries. Countries including the UAE, Saudi Arabia, Qatar, Bahrain, Kuwait, Turkey, Greece, and Malta adopted BT to enhance transparency, efficiency, and innovation (Al-Otaibi et al., 2019; Papadaki & Karamitsos, 2021; Hadjer et al., 2022; Alomari & Fetais, 2023). However, the Lebanese audit industry faces unique challenges affected by the economic crisis, limited technological infrastructure, and ongoing emigration of skilled professionals. In addition, a set of opportunities are influencing the Lebanese audit industry to adopt BT, including the alignment with global regulations, training activities, collaboration with other departments and professionals, and potential for modernization.
Accordingly, this study aims to fill the gap in the current literature by examining the variables that affect auditors’ intention to adopt BT in Lebanon and by testing the moderating role of age on auditors’ intention to adopt BT. In this view, the researchers employed a novel research framework based on the TAM3 model, which can be used in various fields and contexts. TAM3 offers a theoretical basis for interpreting the level of technology acceptance by users, understanding at an earlier stage the susceptibility to change the information system and allowing managers to negotiate at the early implementing stages (Ferri et al., 2020). TAM3 contains elements of context, content, process, and individual difference, and it suggests that to be able to interpret technology-use decision making, it is crucial to understand the attitudes of individuals toward using new technology (Venkatesh & Bala, 2008). The sample of this study incorporates 332 auditors working in audit firms in Lebanon, and data were collected through questionnaires sent via emails and LinkedIn.
This study contributes to the literature on BT in auditing by pinpointing the main components of the intention to adopt BT. Audit firms can benefit from the results of this study, which provide guidelines on how to adopt BT effectively in the workplace. After identifying the determinants and the variables that affect the intention of auditors to adopt BT, the findings might help design a successful implementation program for auditors to fully adopt BT. The practical implications of the findings of this study provide an observed and practical approach to auditors’ intention to adopt BT. The rest of the study is organized as follows: firstly, the literature review and development of hypotheses are displayed. Secondly, the methodology part is presented. Thirdly, results and analysis are presented along with a discussion of the findings. In addition, the managerial and theoretical implications are displayed. Lastly, the limitations and suggestions for future research are presented.

2. Literature Review and Hypotheses Development

BT has been seen to hugely affect different industries including the accounting and auditing profession and is expected to determine accounting practices and the future of audits (Ferri et al., 2020). While other factors affect BT adoption in Lebanon, the current study focuses on the TAM3 model to address the existing gap in the literature concerning BT adoption in Lebanon. This study highlights TAM3 as a key framework to investigate the unique context to adopt BT in Lebanon, which has not been explored in previous research. Although professional skepticism and perceived adequacy of accounting standards may affect the intention of Lebanese auditors to adopt BT, these factors are not the primary purpose of this study. The main focus of this study is to apply the TAM3 model to investigate auditors’ intention to adopt BT in Lebanon, providing a deeper understanding of TAM3 factors that significantly affect auditors’ intention to adopt BT. While the adoption of BT in Lebanon has the potential to revolutionize the auditing context, auditors face critical challenges to adopt BT efficiently. These challenges are summarized as the absence of training programs and academic courses in Lebanese universities, the limited technological infrastructure, weak regulatory frameworks, legal challenges, absence of clear guidelines, and lack of empirical studies and research. Thus, this study employs the TAM3 model to address these challenges, fill the gap in the literature, and examine auditors’ intention to adopt BT in Lebanon.

2.1. Technology Acceptance Model Three

TAM, which was first introduced by Davis (1989), is a verified theoretical model to examine the adoption of information technology (IT) and information systems (IS) in various industries. TAM explains the acceptance and adoption of IT and IS (Faqih & Jaradat, 2015). However, when TAM is employed in a new field of study, expansion or extending its scope is needed by adding new related variables and concepts to represent new aspects of technology in debate (Venkatesh & Davis, 2000). Thus, TAM is expanded when employed in a new technology. This expansion gives birth to TAM2 (Venkatesh & Davis, 2000), the unified theory of acceptance and use of technology (UTAUT) (Venkatesh et al., 2003), and TAM3 (Venkatesh & Bala, 2008). Venkatesh and Bala (2008) proposed TAM3, a development theory for adopting technology. TAM3 has made a notable and outstanding theoretical contribution by pinpointing determinants of both PU and PEOU (Faqih & Jaradat, 2015). In addition, TAM3 suggests that to explain technology use in decision making, it is crucial to be aware of the attitude of users toward using new technology (Ferri et al., 2020).

2.2. Antecedents of Perceived Ease of Use

The literature documented several variables that may affect PEOU, such as perception of external control, computer self-efficacy, and computer anxiety. Perception of external control reflects users’ perception of the availability of knowledge and resources related to a specific behavior, and companies employ experts to help their employees accept new technology faster (Ferri et al., 2020). Although Muhamad et al. (2020) found that the perception of external control negatively affects PEOU, the majority of the studies that examined the impact of the perception of external control on PEOU found that the two factors are positively related (Jaradat & Al-Mashaqba, 2014; Putra & Samopa, 2018; Ebnehoseini et al., 2020; Huang et al., 2020). According to the results mentioned, the researchers formulate the following:
H1a. 
There is a significant positive relationship between perception of external control and perceived ease of use.
Computer self-efficacy is another factor that may affect PEOU. It is the degree to which an employee believes and feels he can accomplish a certain job using computers (Ferri et al., 2020; Jariyapan et al., 2022). Computer self-efficacy is related to the control beliefs of an employee concerning his capability to use a specific system (Venkatesh & Bala, 2008). It is important to clarify that computer self-efficacy does not only refer to the ability and skills of an employee to use new technology but also to the perception of the capability of the employee to use technology to perform a specific task, not just a simple one (Ferri et al., 2020). Although Muhamad et al. (2020) found that computer self-efficacy negatively affects PEOU, most of the studies found that the two factors are positively related (Faqih & Jaradat, 2015; Nikou & Economides, 2019; Nuryyev et al., 2020; Jariyapan et al., 2022). Based on the results of those studies, the researchers formulate the following hypothesis:
H1b. 
There is a significant positive relationship between computer self-efficacy and perceived ease of use.
In addition, computer anxiety is also a factor that may affect PEOU as presented in the literature. It is the degree of employees’ concern, apprehension, fear, or hesitation upon using a computer (Venkatesh & Bala, 2008). It is an emotional response to using a computer and is considered a barrier to using it efficiently (Jariyapan et al., 2022). The high degree of computer anxiety leads to negative consequences such as computer resistance, technology avoidance, and inefficient job performance (Jariyapan et al., 2022). In general, anxiety is a distressing emotional state that is characterized by the feeling of fear and tension, and an increase in the level of anxiety towards technology leads to a reduction in the perception of adopting and using the technology (Faqih & Jaradat, 2015). Computer anxiety has been investigated in the literature to study its effect on PEOU. Some studies found that computer anxiety negatively affects PEOU (Ebnehoseini et al., 2020; Setiyani et al., 2021), while others (Uwaifo, 2008; Abdullah et al., 2016; Laily & Riadani, 2019) found that there is no significant relationship between the two factors. However, Muhamad et al. (2020) found that computer anxiety positively affects PEOU. According to the results presented, the researchers propose the following:
H1c. 
There is a significant relationship between computer anxiety and perceived ease of use.

2.3. Perceived Ease of Use and Auditors’ Intention to Adopt Blockchain Technology

Davis (1989) defined PEOU as the level to which individuals believe that using IT is easy and simple. It is the level of difficulty viewed or perceived by a user regarding learning new technology or a work routine (Ferri et al., 2020). Some studies found a negative relationship between PEOU and the intention of users to use technology (Sabi et al., 2018; Sun et al., 2019; Ostrowski et al., 2021). Other studies found a significant relationship between PEOU and the intention of users to use new technology (Putra & Samopa, 2018; Ebnehoseini et al., 2020; AlNasrallah & Saleem, 2022; Jariyapan et al., 2022). However, studies by Kim (2008), Mandari et al. (2017), Nikou and Economides (2019), Kaewsaiha and Chanchalor (2020), Liu and Ye (2021), and Unal and Uzun (2021) found a positive relationship between PEOU and the intention of users to adopt the technology. According to the results mentioned, the researchers formulate the following:
H1. 
There is a significant relationship between perceived ease of use and auditors’ intention to adopt BT.

2.4. Antecedents of Perceived Usefulness

Literature documented certain factors that might be considered antecedents of PU, which are job relevance, results demonstrability, and output quality. Job relevance is the level where employees believe that the target system is relevant to their job (Venkatesh & Davis, 2000), and it is considered an important factor in examining whether employees trust technology and that it can improve their work and life (Venkatesh & Bala, 2008). The relevance of IS to work performance motivates users to get involved in technology adoption and make better decisions concerning technology’s PU and usage intention (Bhattacherjee & Sanford, 2006; AlNasrallah & Saleem, 2022). In addition, companies that support job relevance have shown a willingness to adopt e-accounting easily (AlNasrallah & Saleem, 2022). Some studies found that job relevance affects PU negatively (Bhattacherjee & Sanford, 2006; Jaradat & Al-Mashaqba, 2014), while other studies showed a significant relationship between the two factors (Tripathi, 2017; Ebnehoseini et al., 2020; Doo & Bonk, 2021). However, studies by Muhamad et al. (2020) and Kaewsaiha and Chanchalor (2020) found a positive relationship between the two factors. According to the above-mentioned results, the researchers propose the following:
H2a. 
There is a significant relationship between job relevance and perceived usefulness.
In addition, results demonstrability is the degree to which employees believe the system’s outcome is recognizable (Venkatesh & Bala, 2008). Venkatesh and Bala (2008) found that using a system that provides users with accurate, prompt, and understandable information leads to greater results demonstrability. However, if a system creates a successful job that is relevant to users, but in an unclear or unknown way, users are not likely to recognize the usefulness of that system (Venkatesh & Davis, 2000). The study of Ebnehoseini et al. (2020) showed that results demonstrability negatively affect PU, while other studies found no relationship between the two factors (Faqih & Jaradat, 2015; Doo & Bonk, 2021). Yet some studies (Ostrowski et al., 2021; Yuan et al., 2021) found a positive relationship between the two factors. According to the results mentioned, the researchers formulate the following:
H2b. 
There is a significant relationship between results demonstrability and perceived usefulness.
Further, output quality is the level at which employees believe the system fulfills the job tasks efficiently (Venkatesh & Bala, 2008). In addition, hiring experts to help employees modify specific features of new technology improves the output quality of a system (Ferri et al., 2020). In addition, Venkatesh and Bala (2008) suggested that the output quality of a system is improved by modification and enhancement activities performed by co-workers. Moreover, output quality supports users in understanding the usefulness of specific products and lets them provide more understandable and clear results to others. It also motivates users to adopt new technology by providing a valuable and useful reference point to develop and create viable techniques and interventions (Yuan et al., 2021). Although the study of Liu and Ye (2021) found no relationship between output quality and PU, the majority of the studies found a positive relationship between the two factors (Jaradat & Al-Mashaqba, 2014; Faqih & Jaradat, 2015; Nikou & Economides, 2019; Ebnehoseini et al., 2020; Ostrowski et al., 2021). Based on the studies mentioned, the researchers formulate the following:
H2c. 
There is a significant positive relationship between output quality and perceived usefulness.

2.5. Perceived Usefulness and Auditors’ Intention to Adopt BT

PU is the level where employees believe that using a system improves and enhances the performance of a job (Davis, 1989). It is the level of enhancing employees’ work performance; hence, it is possible to realize the benefits related to improved quality of working environment perceived by users (Ferri et al., 2020). PU plays an important role in allowing consumers to choose a technology service or accept it if they believe it improves the technology’s application and is simple to use, and convenient (Jariyapan et al., 2022). A good understanding of the determinants of PU allows companies to implement interventions that help in adopting and using the system quickly (Venkatesh & Davis, 2000). Although the study of Muhamad et al. (2020) found a negative relationship between PU and users’ intention to adopt technology, the majority of the studies found a positive relationship between the two factors (Kim, 2008; Faqih & Jaradat, 2015; Putra & Samopa, 2018; Sabi et al., 2018; Ebnehoseini et al., 2020; Kaewsaiha & Chanchalor, 2020; Liu & Ye, 2021; Al-Ateeq et al., 2022; AlNasrallah & Saleem, 2022). According to the results mentioned, the researchers formulate the following:
H2. 
There is a significant positive relationship between perceived usefulness and auditors’ intention to adopt BT.

2.6. The Moderating Role of Age in Association Between PEOU, PU, and Auditors’ Intention to Adopt BT

Age is considered a critical factor in accepting technology (Al Mamun et al., 2023), and a major socioeconomic variable that affects mitigation behavior, risk performance, and communication strategies (Cheng et al., 2019). Age has been examined by different industries to use and adopt a variety of technologies, including electronic health records, digital banking, application of online storytelling, agriculture technology, and BT (Alexandrakis et al., 2020; Ferri et al., 2020; Feyisa, 2020; Huvila et al., 2021; Alnemer, 2022). Studies examined the relationship between age and technology adoption, and among the studies that found that age negatively affects technology adoption are those of Meyer (2011) and Ferri et al. (2020). In contrast, the study by Alexandrakis et al. (2020) found that age has no relationship with the intention of users to adopt technology. Other studies (Kurkinen, 2013; Feyisa, 2020) found that age directly impacts technology adoption.
In addition, some studies examined the moderating role of age on the relationship between PEOU, PU, and technology adoption. Among these studies is the study of Hauk et al. (2018) which found that age negatively moderates the role of PEOU and PU on technology adoption. The study of Al Mamun et al. (2023) found that age has no moderating role on the relationship between PEOU, PU, and the intention to adopt new technology. However, other studies (Tarhini et al., 2014; Riskinanto et al., 2017; Assaker, 2019; Alexandrakis et al., 2020; Yang & Shih, 2020; Fasbender et al., 2022) found that age moderates the effect of PU and PEOU on technology adoption. While some studies have examined the moderating role of age on BT adoption, there is a limited body of research that specifically investigates the moderating role of age in the relationship between TAM3 and auditors’ adoption of BT. According to the researchers’ knowledge, no studies have examined these relationships in the context of Lebanon. Based on the studies (Meyer, 2011; Kurkinen, 2013; Ferri et al., 2020; Feyisa, 2020) that investigated the direct effect of age on technology adoption and the studies (Meyer, 2011; Kurkinen, 2013; Niehaves & Plattfaut, 2014; Cabanillas & Santos, 2016; Ferri et al., 2020; Huvila et al., 2021; Alnemer, 2022; and AlHadid et al., 2022) that examined the moderating role of age on the relationships between PU, PEOU, and adoption of technology, the researchers formulate the following hypotheses:
H3. 
There is a significant negative relationship between age and auditors’ intention to adopt BT.
H4. 
Age moderates the relationship between PEOU and auditors’ intention to adopt BT.
H5. 
Age moderates the relationship between PU and auditors’ intention to adopt BT.
Based on the formulated hypotheses, the researchers propose the study model presented in Figure 1.

3. Methods

3.1. Sample and Data Collection

Following the study of Ferri et al. (2020), the target respondents of the questionnaire are external auditors, and the researchers collected data by sending the questionnaire to external auditors working in audit firms in Lebanon. In Lebanon, there are 1468 certified auditors registered in the Lebanese Association of Certified Public Accountants (LACPA) who serve to improve transparency, maintain integrity of the industry, and enhance quality of the services based on objectivity, integrity, and professional competence (Abrach & Feghali, 2023). Before sending the questionnaire, the researchers check the construct validity along with the questionnaire’s content validity. Content validity is defined as how representative the items in measuring the studied behavior (Slaney, 2017; R. J. Cohen & Swerdlik, 2018). According to this study, robust construct validity has been demonstrated since the items included in measuring the variables of the model are built on previous literature. In addition, the researchers conducted a pilot test before distributing the questionnaire to external auditors to check the content validity of the questionnaire. Six accounting and auditing specialists (three academics and three practitioners) were asked to study the validity of the questionnaire, the misleading statements, and the irrelevant items. Minor modifications were suggested, and the researchers adjusted the recommended modifications.
The researchers used in this study a convenient sampling technique, and a questionnaire was employed to collect respondents’ data. The initial sample of this study consists of 363 auditors from different auditing firms, based in Lebanon, and from different geographic areas. The convenience sampling technique used in this study is a sampling technique where members of the target population meet certain criteria. Some of these criteria include easy accessibility, availability at any time, willingness to participate, and geographical proximity (Etikan et al., 2016; Golzar et al., 2022). In addition, data collection using the convenience sampling technique is easier and the researchers do not need to be trained to collect data. While a convenience sampling technique may introduce selection bias, efforts were made to ensure that the sample is diversified and includes participants from different organizational levels, academic qualifications, geographic areas, and years of experience. Additionally, to minimize bias, the researchers distributed the questionnaire to auditors across various cities in Lebanon, ensuring that the sample included auditors from different regions. This approach aimed to reduce selection bias as much as possible. Furthermore, due to the challenges in accessing auditors throughout Lebanon, a convenience sampling technique was employed. The process of collecting data passed through two stages. The first stage was visiting audit firms in Lebanon and requesting auditors to complete the questionnaire. While in the second stage, data were collected from questionnaires sent via emails and LinkedIn. This process took three months, between October and December 2023, and led to successively increasing the sample size to 363 respondents.
Among the 363 observations, 9 were classified as duplicate observations and 23 participants had straight-lining patterns; thus, the final sample size of this study is 332. Regarding the sample size, Chin (1998) and Gefen et al. (2000) proposed that the minimal sample size to run PLS-SEM should be either 10 times the number of indicators of the variable that has the highest number of items, or 10 times the number of independent variables in the biggest group that affect the dependent construct. Therefore, this study’s sample size (332) is adequate for running the PLS3 technique. Despite the effectiveness and the wide use of the goodness of fit model (GoF) in many research areas, the researchers in this study did not use the GoF for the reason that GoF is not recommended in PLS-SEM, is not suitable for model validation, and has limited theoretical support (Henseler & Sarstedt, 2013; Hair et al., 2019). While PLS-SEM focuses on prediction and is a predictive-oriented approach, GoF achieves a model fit (Shumeili, 2010). In addition, GoF may include irrelevant variables and ignore model parsimony (Gelman & Hill, 2007).

3.2. Measurement of Constructs

The current study adopts the PLS3-SEM approach. This approach requires determining the latent variable whether it is reflective or formative. The latent variable causes the reflective measure, while the formative measure causes the latent variable (Freeze & Raschke, 2007). Removing any indicator in the reflective variable causes no change in the relation of the remaining indicators with the latent variable. However, removing one or more observed measures in the formative variable removes some of the variables (Wilcox et al., 2008). Hence, there is no high correlation between the indicators in the formative measure (Bollen & Lennox, 1991). In the reflective variable, the high correlation between the indicators exists, and excluding any indicator does not affect the variables’ meaning (Jarvis et al., 2003).
The measurement items for this study’s latent variables are highly correlated, and the flow of causality is from variable to indicators; hence, all the variables are reflective and there are no formative variables. Appendix A shows the measurement of the reflective variables, and each reflective variable is measured by four indicators (Venkatesh et al., 2003; Venkatesh & Bala, 2008; Faqih & Jaradat, 2015; Ferri et al., 2020), and a 5-point Likert scale was used to rate the items from 1 (strongly disagree) to 5 (strongly agree) to identify the auditor level of agreement to the variable indicators. Regarding the observable variables, age is measured by 1 question showing the age of the auditor, gender is measured by 1 question to identify the gender of the auditor, and lastly, the auditor’s role in the firm is measured by 1 question to show the role the auditor holds in his/her audit firm (junior, senior, supervisor and/or assistant manager, manager and/or senior manager, director and/or partner).

4. Results and Analysis

4.1. Descriptive Statistics

To demonstrate the responses and auditors’ viewpoint on each question asked in the questionnaire, the mean and standard deviation (SD) are being used. The mean indicates the data’s central tendency, and the standard deviation estimates dispersion and presents a signal of data variability (Pallant, 2007). Table 1 exhibits descriptive statistics for the examined variables. Computer self-efficacy has the highest mean (3.244) and SD (1.38), meaning that most respondents agreed on that variable. Computer anxiety has the lowest mean (1.3818) and the lowest SD (0.78), which means that most of the respondents have no anxiety using the computer.

4.2. Research Partial Least Square Structural Model

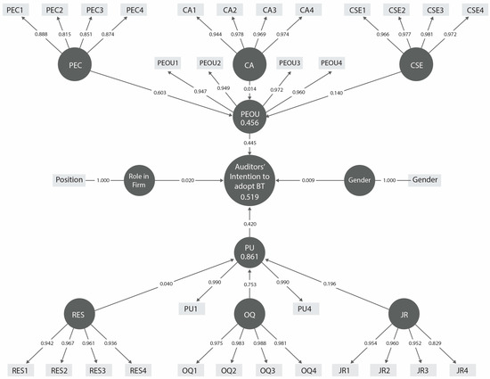
This study adopts the approach of smart PLS3-SEM to analyze data and examine the hypotheses. This approach is being used for many reasons. Firstly, PLS-SEM enables the researcher to evaluate and examine complex theories with empirical data. Secondly, this model is efficient when using many variables and indicators per variable (Sarstedt et al., 2014). Thirdly, this model is convenient for research with a small sample size (Gefen et al., 2000). Lastly, this model is suitable for examining theories in their early developing phases (Fornell & Bookstein, 1982). PLS-SEM consists of two elements, the outer and inner models, in which the outer model, called the measurement model, measures the relationship between latent variables and the observed variables. The inner model, on the other hand, which is called the structural model, represents the correlation between constructs (Mateos-Aparicio, 2011). According to this study, the researchers apply PLS-SEM to learn more about the intention of auditors to adopt BT, to fill the gap in the current literature by examining the variables that affect the intention of auditors to adopt BT in Lebanon, and to investigate the moderating role of age on the intention of auditors to adopt BT. Figure 2 shows the research model that is developed by the PLS3-SEM software after excluding the items that threaten the variables’ reliability and validity.

4.3. Measurement Model: Validity and Reliability

After running the PLS3-SEM and performing the permutation test, the researchers excluded PU2 and PU3 due to high multi-collinearity among those and other indicators. These two indicators show a high variance inflation factor (VIF), PU2 (32.260) and PU3 (59.224), and a VIF that is less than 3.3 has no multi-collinearity problem (Sarstedt et al., 2022). The measurement model for each variable in this study is assessed by checking the indicator reliability with a recommended loading above 0.708 and measuring the internal consistency reliability using Cronbach’s alpha (CA) with an acceptable value between 0.70 and 0.95 (Hair et al., 2020). Another internal consistency indicator recommended in PLS-SEM is Joreskog’s (1971) composite reliability (CR). Convergent validity is the second step to assess the measurement model, and it is evaluated using the average variance extracted (AVE) with a value of more than 0.5 (Hair et al., 2019).
It is clear in Appendix B that indicators of all variables have loadings greater than 0.708; thus, providing acceptable reliability. Moreover, the values of both Cronbach’s alpha and composite reliability are larger than 0.7, and the values of the AVE are more than 0.5. Hence, the data set demonstrates satisfactory convergent validity and internal consistency. The third step to assess the measurement model is evaluating discriminant validity. It is the level where each variable is empirically different from other variables in the structural model (Hair et al., 2021). Fornell and Larcker (1981) suggested that the AVE for each variable must be compared to the squared inter-variable correlation of that variable with all other variables in the structural model. The variables in the models’ shared variance should not exceed the AVEs. Table 2 exhibits that discriminant validity is verified for all constructs.

4.4. Evaluating Structural Models and Hypotheses Testing

Checking for collinearity issues is essential before evaluating structural models. Thus, variance inflation factors (VIFs) are evaluated to assist in identifying multi-collinearity issues (Hair et al., 2021). Table 3 shows the results of the full collinearity test, and the VIF score for the construct that is less than 3.3 shows no multi-collinearity problem (Sarstedt et al., 2022). All constructs have a VIF less than 3.3; therefore, the multi-collinearity issue is not a problem. The causal relation between variables in the model is expressed by the structural model, which is the path coefficient and coefficient of determination (Sarstedt et al., 2022). Furthermore, Table 3 exhibits the values to demonstrate the variance explained. The values above the cutoffs 0.25, 0.50, and 0.75 are considered “weak”, “moderate”, and “substantial”, respectively (Henseler et al., 2009; Hair et al., 2011). The percentage of variance in PEOU (45.6%) explained by the construct’s perception of external control, computer self-efficacy, and computer anxiety jointly is considered moderate, and the percentage of variance in PU (86.1%) explained by job relevance, results demonstrability, and output quality is high. Furthermore, all endogenous variables reach predictive relevance (Table 3) since the Q 2 prediction is positive. Thus, the predictive relevance of the constructs is strong for all samples ( Q 2 predict > 0.35) (Hair et al., 2021).

4.4.1. Testing H1 and H2

Table 3 outlines the results of the hypotheses examined. The results reveal a significant positive relationship between perception of external control and PEOU, and they also show that the perception of external control has a large effect size on PEOU (f2 = 0.549), thus, supporting H1a. A value above 0.02 represents a small effect size, a value more than 0.15 represents a medium effect size, and a value exceeding 0.35 represents a large effect size (J. Cohen, 1988). In addition, results show a significant positive relationship between computer self-efficacy and PEOU, and computer self-efficacy has a small effect size on PEOU (f2 = 0.029), hence, supporting H1b. In addition, results show a significant relationship between job relevance and PU, and the effect size of job relevance on PU is also considered small (f2 = 0.107), thus, supporting H2a.
Furthermore, results show a significant positive relationship between output quality and PU, and output quality has the largest effect size on PU (f2 = 1.896), hence, supporting H2c. In addition, results reveal a significant relationship between PEOU and auditors’ intention to adopt BT, and PEOU has a large effect size on auditors’ intention to adopt BT (f2 = 0.353), thus, supporting H1. Moreover, results show a significant positive relationship between PU and the intention of auditors to adopt BT, and they show that PU also has a large effect size on the intention of auditors to adopt BT (f2 = 0.308), thus, supporting H2. On the other hand, the results show that hypothesis H1c is not supported and that computer anxiety has no effect size on PEOU (f2 = 0). In addition, results show that hypothesis H2b is not supported and that results demonstrability has no effect size on PU (f2 = 0.007).
Finally, to check if full measurement invariance is achieved, the equality of composite mean values and variances across groups is being assessed. The value of the mean difference in each construct is checked to see whether it falls within the 95% confidence interval (C.I.). This is conducted by comparing the mean difference to the lower (2.5%) and upper (97.5%) boundaries shown in column 8 in Table 4. For example, the mean difference in auditors’ intention to adopt BT is −0.259 and does not fall within the 95% confidence interval [−0.228; 0.224]; thus, there is a significant difference between the two groups’ (G1 < 35 years old; G2 ≥ 35 years old) mean values of auditors’ intention to adopt BT. Furthermore, the mean difference in computer self-efficacy is −0.386 and does not fall within the 95% confidence interval [−0.231; 0.228]; thus, there is a significant difference between G1 and G2 mean values of computer self-efficacy. However, the difference in job relevance between G1 and G2 is −0.044 fall in the 95% confidence level [−0.207; 0.211]; thus, there is no significant difference in job relevance between G1 and G2. Since the results (Table 4) show that not all the composite mean values and variances are equal, only partial measurement invariance is supported.

4.4.2. Hypotheses Testing for H3, H4, and H5

Evaluating the Measurement Invariance Using MICOM
Before running a multi-group analysis (MGA) to compare path coefficients between two groups of the moderator variable (age), the measurement invariance of composite models (MICOM) should be validated. The objective is to check if the two age groups, group 1 (G1) < 35 years old, and group 2 (G2) ≥ 35 years old, have a similar understanding of the measurement of the constructs. MICOM process incorporates three steps. Firstly, configural invariance. Secondly, compositional invariance. Thirdly, the equality of composite mean values and variances (Henseler et al., 2016). It is noteworthy that when running MICOM in SmartPLS3, the configural invariance is achieved. To evaluate the result, the researchers compare correlation, c, and original correlations (composite scores) with the 5% quantile. Table 4 shows that the quantile is less than or equal to correlation, c, for all variables, which is validated with the p-values of the permutation test that are larger than 0.05. Hence, results show that the compositional invariance and the partial measurement are established. Finally, the equality of composite mean values and variances across age groups (G1 and G2) is being assessed to check if full measurement invariance is reached. The mean difference value of each construct is checked to determine whether it falls within the 95% confidence interval (C.I.) (Henseler et al., 2016). This is performed by comparing the boundaries (2.5–97.5%) of the mean difference in column 8 of Table 4. Results of composite variances are displayed in columns 9 and 10 of Table 4, and the analysis is similar to the mean differences. Since the composite mean and variances differ, partial measurement invariance is corroborated.
Tests for Multi-Group Comparisons
The analysis continues to examine group comparisons using MGA. The first method to check the equality of the path coefficients in both groups, G1 and G2, is permutation test results generated earlier in the MICOM procedure (Henseler et al., 2016). Table 5 shows that the path coefficients of G1 and G2 have no significant difference, and all path differences fall in the 95% confidence level. This is confirmed by the p-values of the permutation test that are larger than 0.05. In addition, the researchers ran another MGA using SmartPLS3 to examine group-specific differences further. The p-values show if the path coefficient is higher in G1 than in G2. The results of the Welch–Satterthwait test indicate no significant differences (value > 0.05) between the path coefficients of G1 and G2 (Table 5). Thus, H3 is not supported, and age has an insignificant impact on auditors’ intention to adopt BT. In addition, the independent samples T-test is employed to analyze the association between age and the intention of auditors to adopt BT, and the null hypothesis of the T-test shows no significant difference in average scores between G1 and G2, and the null hypothesis is accepted if the p-value is more than 0.05 (95% confidence level) (Ross & Willson, 2017). The independent samples T-test makes several assumptions—the data should be normally distributed and the variances across groups should be homogenous. Levene’s test examines the homogeneity of variances; the null hypothesis is that the variances of groups are equal, and the null hypothesis is accepted if the p-value of the test is larger than 0.05.
In addition, Cohen’s d is an appropriate effect size to compare between the two means, and it is employed to accompany the reporting of T-test results. J. Cohen (1988) suggested that d = 0.2 represents a “small” effect size, 0.5 represents a “medium” effect size, and 0.8 is a “large” effect size. The p-value of Levene’s test is 0.097 greater than 0.05; therefore, the variances of the auditors’ scores are equal; hence, H4 and H5 are not supported, indicating that age has no moderating role between PEOU, PU, and auditors’ intention to adopt BT. These hypotheses suggest that, regardless of age, both younger and older auditors may recognize the potential benefits of BT, and as such, age may not significantly influence their intention to adopt this technology. Moreover, auditors across different age groups may display similar cognitive and behavioral patterns regarding technological adoption, particularly when professional objectives—such as improving auditing processes—take priority over personal preferences concerning technology use.
While age has traditionally been considered a strong factor in adopting technology, some studies (Alexandrakis et al., 2020; Al Mamun et al., 2023) show that it has an insignificant effect on technology adoption. This is due to several factors presented as technological familiarity, where older professionals specifically auditors have extensive experience and are adopting new technologies faster through training and gradual exposure. In addition, the universal benefits and advantages of BT, the accessibility of technology, and the independent learning resources reduce the barriers to using and learning BT, regardless of age demographics. Furthermore, organizational cultures play a critical role in encouraging employees at all levels and all age groups to adopt BT.

5. Conclusions

This study investigates the intention of Lebanese auditors to adopt BT using the TAM3 model. BT has been seen to hugely affect different industries including the accounting and auditing profession. The introduction of BT to the accounting and auditing profession changes how transactions are established, documented, and reported (Simoes et al., 2021). Hence, auditing professionals should understand this new technology as a new technique and that their role and skills will change. Thus, BT is expected to determine accounting practices and the future of audits (Ferri et al., 2020). This study considers that perception of external control, computer self-efficacy, and computer anxiety are antecedents of PEOU. In contrast, job relevance, results in demonstrability, and output quality are considered antecedents of PU. The final sample size is 332 external auditors after removing the duplicate with a straight-lining pattern. The researchers employed PLS3-SEM to examine the hypotheses of the study.
The findings assert that perception of external control and computer self-efficacy have a significant effect on PEOU and that job relevance and output quality are antecedents of PU and affect the variable positively. This is consistent with previous literature (Tripathi, 2017; Putra & Samopa, 2018; Nikou & Economides, 2019; Ebnehoseini et al., 2020; Huang et al., 2020; Nuryyev et al., 2020; Doo & Bonk, 2021; Ostrowski et al., 2021; Jariyapan et al., 2022). Furthermore, consistent with previous literature (Kim, 2008; Putra & Samopa, 2018; Nikou & Economides, 2019; Sun et al., 2019; Ebnehoseini et al., 2020; Kaewsaiha & Chanchalor, 2020; Ostrowski et al., 2021; Jariyapan et al., 2022; Al-Ateeq et al., 2022; AlNasrallah & Saleem, 2022), results revealed that PEOU and PU have a significant positive impact on auditors’ intention to adopt BT. Lastly, and contrary to our expectations, age has been shown to have an insignificant impact on the intention of auditors to adopt BT, and age has no moderating role between PEOU, PU, and auditors’ intention to adopt BT.
In discussing the generalizability of the findings of this study, it is necessary to assess the contextual factors that provide a unique insight to the Lebanese auditing sector. Lebanese auditors work in a complex environment, including political and economic instability, limited digital infrastructure, and a regulatory environment. Thus, the generalizability of studies on BT adoption in Lebanon depends heavily on the contextual similarities between Lebanon and other developing countries. Although the universal benefits of BT include transparency, fraud detection, and enhanced efficiency (Ferri et al., 2020), unique Lebanese challenges should be carefully considered, and further studies should consider some factors that affect the specific results of this study and their applicability in Lebanon.
These factors include the unique political, economic, and cultural landscape, which shape the results of this study to help facilitate the smooth running of BT adoption and a successful implementation strategy. In addition, the technological infrastructure in Lebanon, including digital literacy and internet access, can affect BT adoption negatively. Furthermore, the regulatory and legal frameworks in Lebanon play a pivotal role in BT adoption. In addition, the findings of this study may not be applicable, and might not be true in jurisdictions with different legal frameworks and may be outdated if there is absence of ongoing developments in technology and regulations. In conclusion, researchers should conduct comparative studies about BT adoption and stay alongside the evolving technological and regulatory landscapes.

5.1. Practical Implications

The adoption of BT in auditing in Lebanon presents opportunities and challenges, shaped by a unique economic and political environment, complex banking system, and significant informal activities and businesses. While BT offers potential benefits to auditors including transparency, efficiency, and security (Ferri et al., 2020), practical implications for its use in Lebanon depend on several variables. This includes mitigating and reducing the risk of fraud and manipulating data; thus, auditors can use BT to provide more accurate and reliable financial statements (Kraft, 2016), in addition to improving the integrity of financial reporting due to BT characteristics that include cryptographic security. Furthermore, Lebanese auditors benefit from BT as it is faster, which reduces the cost for clients, provides more efficient audits, and improves the overall value of audit. In addition, adopting BT in auditing improves Lebanon’s integration into the global financial system and decreases the complexity of auditing multinational firms, in which auditors stay aligned with international auditing standards and regulations.
Furthermore, using BT in auditing enhances confidence and trust among investors and stakeholders, specifically in the wake of the recent Lebanese financial crisis, in which auditors using BT provide verifiable and reliable audit services. Thus, the results of this study provide an informed viewpoint on the intention of Lebanese auditors to use information and communication technologies specifically in BT. In addition, having identified perception of external control, computer self-efficacy, job relevance, output quality, PEOU, and PU as reliable predictors of the intention of Lebanese auditors to use BT, Lebanese professional bodies can now undertake better training programs to better understand and use this new technology. Lastly, the results of this study are valuable to audit firms that consider the degree of acceptance of BT among users and the obstacles to further adopting BT.

5.2. Theoretical Implications

Using BT in auditing in Lebanon includes several theoretical implications. To the best of the researcher’s knowledge, this study is the first to investigate auditors’ perceptions of using BT in Lebanon. In addition, this study is the first to examine the moderating role of age in the relationships between TAM3 determinants and the intention of auditors to use BT. In addition, this study responds to the calls to examine auditors’ intention to adopt BT in different settings and regions (Ferri et al., 2020). Furthermore, this study contributes to the understanding of BT and provides insight into some variables that influence adopting BT in the auditing field. Hence, the literature on BT is being enhanced as it is considered a new powerful method that significantly changes how auditors perform their work. In addition, this study contributes to the literature by revealing a significant positive relationship between PEOU, PU, and auditors’ intention to adopt BT.
In addition, BT’s immutable nature enhances the integrity of financial data, reducing the risk of fraud and strengthening the reliability of financial statements. BT is also a decentralized distributed ledger where auditors verify transactions independently, providing objectivity. Furthermore, auditors using BT can audit at any time, allowing real-time audits, which enhances the effectiveness and timeliness of detecting any discrepancy (Swan, 2017). In addition, accountability is improved since BT allows transparency in tracking transactions, and investors, regulators, and stakeholders have greater access to track transactions. In addition, using BT in auditing requires additional skills and knowledge that auditors should learn, hence, extending the skills of auditors. As for auditing standards, the introduction of BT to auditing can lead to re-evaluation of current auditing standards. In conclusion, while BT makes core changes to initiating, recording, and enhancing efficiency and transparency, auditors should understand that this new technology will change how they perform job tasks and that BT is expected to shape accounting practices and the future of audits (Ferri et al., 2020).

6. Study Limitations and Future Research

The limitations of this study are considered to be the beginning of the emergence of future research. This study investigates the intention of Lebanese auditors to adopt BT before using it, thus, before the first introduction phase. However, further studies should be implemented to deepen the results of this study using a longitudinal approach that measures the perception of auditors in the pre- and post-period of introducing BT in auditing activities. In addition, our sample is limited to Lebanese auditors; however, differences in intentions may arise between auditing and other Lebanese industries; hence, future research could be performed to examine the acceptance of BT in different sectors. In addition, this study is limited to using the TAM3 model in examining the intention of auditors to use BT. Hence, further research can use additional models to better improve its explanatory power. In addition, this study is limited to Lebanese auditors working in Lebanon; however, future research could be performed in different countries to better examine the differences in accepting this technology in various settings and countries.
Moreover, engaging auditors, companies, and regulators to adopt BT is essential, and understanding their concerns is critical to better implement BT efficiently. Thus, implementing case studies and pilot testing within organizations can help in addressing the challenges and barriers to better accept and adopt BT effectively. Moreover, training and education are essential to adopt BT efficiently; hence, practical research can be conducted to develop training methodologies to assess the effectiveness of BT, in addition to evaluating Lebanese technological infrastructure including cybersecurity measures and IT capabilities. Furthermore, adopting BT requires high costs (Tapscott & Tapscott, 2018), and future research can be conducted with regard to a cost–benefit analysis that quantifies short- and long-term implementation costs. Moreover, trust in BT is a critical factor in adopting this technology (Kraft, 2016); hence, further research can investigate the effect of trust in adopting BT in audits.

Author Contributions

Conceptualization, A.H.H., R.M.N., R.M.M. and M.S.H.; Methodology, A.H.H. and R.M.N.; Software, A.H.H.; Validation, A.H.H., R.M.N. and R.M.M.; Formal Analysis, A.H.H. and R.M.N.; Investigation, A.H.H.; Resources, A.H.H.; Data Curation, A.H.H.; Writing—Original Draft Preparation, A.H.H.; Writing—Review and Editing, A.H.H., R.M.N., R.M.M. and M.S.H.; Visualization, A.H.H. and R.M.N.; Supervision, R.M.N., R.M.M. and M.S.H.; Project Administration: A.H.H. All authors have read and agreed to the published version of the manuscript.

Funding

This research received no external funding.

Institutional Review Board Statement

This study is approved by Beirut Arab University, Institutional Review Board (IRB), approval code 2025-H-0013-BA-M-0674, approval date 30 January 2025.

Informed Consent Statement

Informed consent was obtained from all subjects involved in the study.

Data Availability Statement

Data is contained within the article.

Conflicts of Interest

The authors declare no conflict of interest.

Appendix A. Measurement of Variables

VariablesMeasuresReferences
Reflective Variables
Perception of External Control (PEC)PEC is measured by 4 items.
(1)
PEC1: I have control over using BT.
(2)
PEC2: I have the resources necessary to use BT.
(3)
PEC3: Given the resources, opportunities and knowledge it takes to BT, it would be easy for me to use the system.
(4)
PEC4: I can master BT thanks to my ICT skills.
Faqih and Jaradat (2015); Ferri et al. (2020)
Computer Self-Efficacy (CSE)CSE is measured by 4 items.
(1)
CSE1: I could use BT if someone showed me how to do it first.
(2)
CSE2: I could use BT in auditing activities if I had just the built-in help facility for assistance.
(3)
CSE3: I think that I can use BT for auditing activities if my firm will organize a good training.
(4)
CSE4: I could use BT if I had used similar application before this one.
Ferri et al. (2020)
Computer Anxiety (CA)CA is measured by 4 items.
(1)
CA1: Computers do not scare me at all.
(2)
CA2: Working with a computer makes me nervous
(3)
CA3: Computers make me feel uncomfortable.
(4)
CA4: Computers make me feel uneasy.
Venkatesh et al. (2003); Faqih and Jaradat (2015)
Perceived Ease of Use (PEOU)PEOU is measured by 4 items.
(1)
PEOU1: BT is clear and understandable.
(2)
PEOU2: Using BT does not require a lot of mental effort.
(3)
PEOU3: BT is easy to do.
(4)
PEOU4: I find it easy to use BT to do what I want to do.
Venkatesh and Davis (2000); Faqih and Jaradat (2015)
Job Relevance (JR) JR is measured by 4 items.
(1)
JR1: In auditing activities BT can be massively used.
(2)
JR2: In auditing activity, BT usage is relevant.
(3)
JR3: BT is relevant for future auditing service.
(4)
JR4: The future of auditing activities is BT.
Venkatesh and Davis (2000); Venkatesh and Bala (2008); Ferri et al. (2020)
Results Demonstrability (RES)RES is measured by 4 items.
(1)
RES1: In my opinion, the results of using BT are apparent to me.
(2)
RES2: I have no difficulty telling others about the results of using BT.
(3)
RES3: I believe I could communicate to others the consequences of using BT for auditing activities.
(4)
RES4: In my opinion, the results of BT usage will be tangible for everyone.
Venkatesh and Bala (2008); Faqih and Jaradat (2015); Ferri et al. (2020)
Output Quality (OQ)OQ is measured by 4 items.
(1)
OQ1: I expect the quality of the output I get from using BT will be high.
(2)
OQ2: By using BT, I will not have any problem with the quality of auditing activities.
(3)
OQ3: I expect BT will improve the quality of my job.
(4)
OQ4: I expect the results from using BT to be excellent.
Venkatesh and Davis (2000); Venkatesh and Bala (2008); Faqih and Jaradat (2015); Ferri et al. (2020)
Perceived Usefulness (PU)PU is measured by 2 items.
(1)
PU1: Using BT improves my performance in my job.
(2)
PU4: I find BT to be useful in my job.
Venkatesh and Davis (2000); Faqih and Jaradat (2015)
Auditors’ Intention to Adopt Blockchain Technology (INT)INT is measured by 2 items:
(1)
INT1: I intend to start use BT for auditing activities
(2)
INT2: I plan to implement BT in my auditing activities
Ferri et al. (2020)

Appendix B. Indices of Measurement Model Reliability

ConstructItemLoadingsCACRAVE
Auditors’ Intention to adopt BT (INT)INT10.9940.9880.9940.988
INT20.994
Perception of External Control (PEC)PEC10.8880.880.9170.735
PEC20.815
PEC30.851
PEC40.874
Computer Self-Efficacy (CSE)CSE10.9660.9820.9870.949
CSE20.977
CSE30.981
CSE40.972
Computer Anxiety (CA)CA10.9440.9780.9830.934
CA20.978
CA30.969
CA40.974
Job Relevance (JR)JR10.9540.9430.960.856
JR20.96
JR30.952
JR40.829
Results Demonstrability (RES)RES10.9420.9650.9750.906
RES20.967
RES30.961
RES40.936
Output Quality (OQ)OQ10.9750.9870.9910.964
OQ20.983
OQ30.988
OQ40.981
Perceived Ease of Use (PEOU)PEOU10.9470.9690.9780.916
PEOU20.949
PEOU30.972
PEOU40.960
Perceived Usefulness (PU)PU10.9900.980.990.98
PU40.990
Source: PLS3-SEM Software

References

  1. Abdullah, F., Ward, R., & Ahmed, E. (2016). Investigating the influence of the most commonly used external variables of tam on students’ perceived ease of use (PEOU) and perceived usefulness (PU) of e-portfolios. Computers in Human Behavior, 63, 75–90. [Google Scholar] [CrossRef]
  2. Abrach, D., & Feghali, K. (2023). Examination of ethical and professional conduct of lebanese external auditors. Copernican Journal of Finance & Accounting, 12(1), 9–28. [Google Scholar]
  3. Al-Ateeq, B., Sawan, N., Al-Hajaya, K., Altarawneh, M., & Al-Makhadmeh, A. (2022). Big data analytics in auditing and the consequences for audit quality: A study using the technology acceptance model (TAM). Corporate Governance and Organizational Behavior Review, 6(1), 64–78. [Google Scholar] [CrossRef]
  4. Alexandrakis, D., Chorianopoulos, K., & Tselios, N. (2020). Older adults and Web 2.0 storytelling technologies: Probing the technology acceptance model through an age-related perspective. International Journal of Human–Computer Interaction, 36(17), 1623–1635. [Google Scholar] [CrossRef]
  5. AlHadid, I., Abu-Taieh, E., Alkhawaldeh, R. S., Khwaldeh, S., Masadeh, R., Kaabneh, K., & Alrowwad, A. (2022). Predictors for e-government adoption of SANAD app services integrating UTAUT, TPB, TAM, Trust, and perceived risk. International Journal of Environmental Research and Public Health, 19(14), 8281. [Google Scholar] [CrossRef] [PubMed]
  6. Al Mamun, A., Naznen, F., Yang, M., Yang, Q., Wu, M., & Masukujjaman, M. (2023). Predicting the intention and adoption of wearable payment devices using hybrid SEM-neural network analysis. Scientific Report, 13(1), 11217. [Google Scholar] [CrossRef] [PubMed]
  7. AlNasrallah, W., & Saleem, F. (2022). Determinants of the digitalization of accounting in an emerging market: The roles of organizational support and job relevance. Sustainability, 14(11), 6483. [Google Scholar] [CrossRef]
  8. Alnemer, H. A. (2022). Determinants of digital banking adoption in the kingdom of Saudi Arabia: A technology acceptance model approach. Digital Business, 2(2), 100037. [Google Scholar] [CrossRef]
  9. Alomari, A., & Fetais, N. (2023, February 5–8). Blockchain technology adoption in the state of qatar: Qualitative risk analysis. 2nd International Conference on Civil Infrastructure and Construction (CIC 2023), Doha, Qatar. [Google Scholar]
  10. Al-Otaibi, A. A., AlZain, M. A., Soh, B., Masud, M., & Al-Amri, J. (2019). A new era with blockchain technology in Saudi Arabia. International Journal of Emerging Trends in Engineering Research, 7(12), 886–894. [Google Scholar] [CrossRef]
  11. Assaker, G. (2019). Age and gender differences in online travel reviews and user-generated-content (UGC) Adoption: Extending the technology acceptance model (TAM) with credibility theory. Journal of Hospitality Marketing & Management, 29(4), 428–449. [Google Scholar]
  12. Bhattacherjee, A., & Sanford, C. (2006). Influence processes for information technology acceptance: An elaboration likelihood model. MIS Quarterly, 30(4), 805–825. [Google Scholar] [CrossRef]
  13. Bollen, K., & Lennox, R. (1991). Conventional wisdom on measurement—A structural equation perspective. Psychological Bulletin, 110(2), 305–314. [Google Scholar] [CrossRef]
  14. Cabanillas, F. L., & Santos, M. A. D. (2016). Factors that determine the adoption of facebook commerce: The moderating effect of age. Journal of Engineering and Technology Management, 44, 1–18. [Google Scholar] [CrossRef]
  15. Cheng, H. T., Chao, T. Y. S., & Chen, T. L. (2019). Exploring the effect of age on the intention of accepting mitigation policy: A case study of residential seismic strengthening policy in an area with high seismic risk. International Journal of Disaster Risk Reduction, 41, 101331. [Google Scholar] [CrossRef]
  16. Chin, W. W. (1998). The Partial least squares approach to structural equation modelling. Modern Methods for Business Research, 295(2), 295–336. [Google Scholar]
  17. Cohen, J. (1988). Statistical power analysis for the behavioral sciences (2nd ed.). Lawrence Erlbaum Associates. [Google Scholar]
  18. Cohen, R. J., & Swerdlik, M. E. (2018). Psychological testing and assessment: An introduction to tests and measurement (9th ed.). McGraw Hill. [Google Scholar]
  19. Davis, F. D. (1989). Perceived usefulness, perceived ease of use, and user acceptance of information technology. MIS Quarterly, 13(3), 319–340. [Google Scholar] [CrossRef]
  20. Doo, M. Y., & Bonk, C. J. (2021). Cognitive instrumental processes of flipped learners: Effects of relevance for learning, quality of learning outcomes, and result demonstrability. Journal of Educational Computing Research, 59(2), 1093–1113. [Google Scholar] [CrossRef]
  21. Ebnehoseini, Z., Tara, M., Tabesh, H., Dindar, F. H., & Hasibian, S. (2020). Understanding key factors affecting on hospital electronic health record (EHR) adoption. Journal of Family Medicine and Primary Care, 9(8), 4348–4352. [Google Scholar] [PubMed]
  22. Etikan, I., Musa, S. A., & Alkassim, R. S. (2016). Comparison of convenience sampling and purposive sampling. American Journal of Theoretical and Applied Statistics, 5, 1–4. [Google Scholar] [CrossRef]
  23. Faqih, K. M., & Jaradat, M. I. R. M. (2015). Assessing the moderating effect of gender differences and individualism-collectivism at individual-level on the adoption of mobile commerce technology: TAM3 perspective. Journal of Retailing and Consumer Services, 22, 37–52. [Google Scholar] [CrossRef]
  24. Fasbender, U., Gerpott, F. H., & Rinker, L. (2022). Getting ready for the future, is it worth it? A dual pathway model of age and technology acceptance at work. Work, Aging and Retirement, 5(4), 358–375. [Google Scholar] [CrossRef]
  25. Ferri, L., Spano, R., Ginesti, G., & Theodospoulos, G. (2020). Ascertaining auditors’ intentions to use blockchain technology: Evidence from the Big 4 accountancy firms in Italy. Meditari Accountancy Research, 29(5), 1063–1087. [Google Scholar] [CrossRef]
  26. Feyisa, B. W. (2020). Determinants of agricultural technology adoption in ethiopia: A meta-analysis. Cogent Food & Agriculture, 6(1), 1855817. [Google Scholar]
  27. Fornell, C., & Bookstein, F. L. (1982). Two structural equation models: LISREL and PLS applied to consumer exit-voice theory. Journal of Marketing Research, 19, 440–452. [Google Scholar] [CrossRef]
  28. Fornell, C., & Larcker, D. F. (1981). Evaluating structural equation models with unobservable variables and measurement error. Journal of Marketing Research, 18(1), 39–50. [Google Scholar] [CrossRef]
  29. Freeze, R. D., & Raschke, R. L. (2007, June 7–9). An assessment of formative and reflective constructs in IS research. 15th European Conference on Information Systems (p. 171), St. Gallen, Switzerland. [Google Scholar]
  30. Gefen, D., Straub, D. W., & Boudreau, M. C. (2000). Structural equation modeling and regression: Guidelines for research practice. Communications of the Association for Information Systems, 4(7), 2–77. [Google Scholar] [CrossRef]
  31. Gelman, A., & Hill, J. (2007). Data analysis using regression and multilevel/hierarchical models. Cambridge University Press. [Google Scholar]
  32. Golzar, J., Noor, S., & Tajik, O. (2022). Convenience Sampling. International Journal of Education & Language Studies, 1(2), 72–77. [Google Scholar]
  33. Hadjer, L., Hassiba, N., & Abderrazek, K. (2022). The future of blockchain-based crowdfunding in the Arab countries: Prospects and challenges. Economic Researcher Review, 10(2), 54–64. [Google Scholar]
  34. Hair, J. F., Howard, M. C., & Nitzl, C. (2020). Assessing measurement model quality in PLS-SEM using confirmatory composite analysis. Journal of Business Research, 109, 101–110. [Google Scholar] [CrossRef]
  35. Hair, J. F., Hult, G. T. M., Ringle, C. M., Sarstedt, M., Danks, N. P., & Ray, S. (2021). Partial least squares structural equation modeling (PLS-SEM) using R. Springer. [Google Scholar]
  36. Hair, J. F., Risher, J. J., Sarstedt, M., & Ringle, C. M. (2019). When to use and how to report the results of PLS-SEM. European Business Review, 31(1), 2–24. [Google Scholar] [CrossRef]
  37. Hair, J. F., Sarstedt, M., Ringle, C. M., & Mena, J. A. (2011). An assessment of the use of partial least squares structural equation modeling in marketing research. Journal of Academic Marketing Research, 40, 414–433. [Google Scholar] [CrossRef]
  38. Hauk, N., Huffmeier, J., & Krumm, S. (2018). Ready to be a silver surfer? A meta-analysis on the relationship between chronological age and technology acceptance. Computers in Human Behavior, 84, 304–319. [Google Scholar] [CrossRef]
  39. Henseler, J., Ringle, C. M., & Sarstedt, M. (2016). Testing measurement invariance of composites using partial least squares. International Marketing Review, 33(3), 405–431. [Google Scholar] [CrossRef]
  40. Henseler, J., Ringle, C. M., & Sinkovics, R. R. (2009). The use of partial least squares path modeling in international marketing. Advances in International Marketing, 20, 277–319. [Google Scholar]
  41. Henseler, J., & Sarstedt, M. (2013). Goodness-of-fit indices for partial least squares path modelling. Computational Statistics, 28, 565–580. [Google Scholar] [CrossRef]
  42. Huang, F., Teo, T., & Scherer, R. (2020). Investigating the antecedents of university students’ perceived ease of using the internet for learning. Interactive Learning Environments, 30(6), 1060–1076. [Google Scholar] [CrossRef]
  43. Huvila, I., Cajander, A., Moll, J., Enwald, H., Backa, K. E., & Rexhepi, H. (2021). Technological and informational frames: Explaining age-related variation in the use of patient accessible electronic health records as technology and information. Information Technology and People, 35(8), 1–22. [Google Scholar] [CrossRef]
  44. Jaradat, M. I. R. M., & Al-Mashaqba, A. M. (2014). Understanding the adoption and usage of mobile payment services by using TAM3. International Journal of Business Information Systems, 16(3), 271–296. [Google Scholar] [CrossRef]
  45. Jariyapan, P., Mattayaphutran, S., Gillani, S. N., & Shafique, O. (2022). Factors influencing the behavioural intention to use cryptocurrency in emerging economies during the COVID-19 pandemic: Based on technology acceptance model 3, perceived risk, and financial literacy. Frontiers in Psychology, 12, 814087. [Google Scholar] [CrossRef] [PubMed]
  46. Jarvis, C. B., MacKenzie, S. B., & Podsakoff, P. M. (2003). A critical review of construct indicators and measurement model misspecification in marketing and consumer research. Journal of Consumer Research, 30(2), 199–218. [Google Scholar] [CrossRef]
  47. Joreskog, K. G. (1971). Simultaneous factor analysis in several populations. Psychometrika, 36(4), 409–426. [Google Scholar] [CrossRef]
  48. Kaewsaiha, P., & Chanchalor, S. (2020). Factors affecting the usage of learning management systems in higher education. Education and Information Technologies, 26, 2919–2939. [Google Scholar] [CrossRef]
  49. Kim, S. H. (2008). Moderating Effects of job relevance and experience on mobile wireless technology acceptance: Adoption of a smartphone by individuals. Information and Management, 45, 387–393. [Google Scholar] [CrossRef]
  50. Kraft, D. (2016). Difficulty control for blockchain-based consensus systems. Peer-to-Peer Networking and Applications, 9, 397–413. [Google Scholar] [CrossRef]
  51. Kurkinen, E. (2013, May 12–15). The effect of age on technology acceptance among field police officers. 10th International ISCRAM Conference, Baden-Baden, Germany. [Google Scholar]
  52. Laily, N., & Riadani, F. S. (2019). The factors influencing perceived ease of use of e-learning by accounting lecturer. Journal of Accounting and Business Education, 3(2), 141–150. [Google Scholar] [CrossRef]
  53. Liu, N., & Ye, Z. (2021). Empirical research on the blockchain adoption—Based on TAM. Applied Economics, 53(37), 4263–4275. [Google Scholar] [CrossRef]
  54. Mandari, H. E., Chong, Y. L., & Wye, C. K. (2017). The influence of government support and awareness on rural farmers’ intention to adopt mobile government services in tanzania. Journal of Systems and Information Technology, 19(1/2), 42–64. [Google Scholar] [CrossRef]
  55. Mateos-Aparicio, G. (2011). Partial least squares (PLS) methods: Origins, evolution, and application to social sciences. Communications in Statistics—Theory and Methods, 40(13), 2305–2317. [Google Scholar] [CrossRef]
  56. Meyer, J. (2011). Workforce age and technology adoption in small and medium-sized service firms. Small Business Economics, 37, 305–324. [Google Scholar] [CrossRef]
  57. Muhamad, W. N. W., Razali, N. A. M., Wook, M., Ishak, K. K., Zainudin, N. M., Hasbullah, N. A., & Ramli, S. (2020). Evaluation of blockchain-based data sharing acceptance among intelligence community. International Journal of Advanced Computer Science and Applications, 11(12), 1–10. [Google Scholar] [CrossRef]
  58. Niehaves, B., & Plattfaut, R. (2014). Internet adoption by the elderly: Employing IS technology acceptance theories for understanding the age-related digital divide. European Journal of Information Systems, 23, 708–726. [Google Scholar] [CrossRef]
  59. Nikou, S. A., & Economides, A. A. (2019). Factors that influence behavioral intention to use mobile based assessment: A STEM teachers’ perspective. British Journal of Educational Technology, 50(2), 587–600. [Google Scholar] [CrossRef]
  60. Nuryyev, G., Wang, Y. P., Achyldurdyyeva, J., Jaw, B. S., Yeh, Y. S., Lin, H. T., & Wu, L. F. (2020). Blockchain technology adoption behavior and sustainability of the business in tourism and hospitality SMEs: An empirical study. Sustainability, 12(3), 1256. [Google Scholar] [CrossRef]
  61. Ostrowski, P., Wrycza, S., Gajda, D., & Marcinkowski, B. (2021). Decision factors behind cisco networking hardware acceptance in business environments. Journal of Theoretical and Applied Electronic Commerce Research, 16, 1097–1119. [Google Scholar] [CrossRef]
  62. Pallant, J. (2007). SPSS survival manual: A step by step guide to data analysis using SPSS for windows (3rd ed.). Open University Press. [Google Scholar]
  63. Papadaki, M., & Karamitsos, I. (2021). Blockchain technology in the Middle East and North Africa region. Information Technology for Development, 27(3), 617–634. [Google Scholar] [CrossRef]
  64. Putra, R. D., & Samopa, F. (2018). Analysis of factors affecting the acceptance of surabaya E government service using technology acceptance model (TAM) 3: A case study of E lampid. Advances in Intelligent Systems Research, 157, 122–126. [Google Scholar]
  65. Qadir, A. M.-A., & Mahmood, D. S. (2024). Blockchain or bust: The imminent revolution in auditing and its existential impact on the profession. International Business and Accounting Research Journal, 8(1), 22–30. [Google Scholar]
  66. Riskinanto, A., Kelana, B., & Hilmawan, D. L. (2017). The moderation effect of age on adopting E payment technology. Procedia Computer Science, 124, 536–543. [Google Scholar] [CrossRef]
  67. Ross, A., & Willson, V. L. (2017). Basic and advanced statistical tests. Sense Publishers. [Google Scholar]
  68. Sabi, H. M., Uzoka, F. M. E., Langmia, K., Njeh, F. N., & Tsuma, C. K. (2018). A cross-country model of contextual factors impacting cloud computing adoption at universities in sub-Saharan Africa. Information System Frontier, 20, 1381–1404. [Google Scholar] [CrossRef]
  69. Sarstedt, M., Hair, J. F., Pick, M., Liengaard, B. D., Radomir, L., & Ringle, C. M. (2022). Progress in partial least squares structural equation modeling use in marketing research in the last decade. Psychology and Marketing, 39, 1035–1064. [Google Scholar] [CrossRef]
  70. Sarstedt, M., Ringle, C. M., Smith, D., Reams, R., & Hair, J. F. (2014). Partial least squares structural equation modeling (PLS-SEM): A useful tool for family business researchers. Journal of Family Business Strategy, 5, 105–115. [Google Scholar] [CrossRef]
  71. Setiyani, L., Effendy, F., & Slamet, A. A. (2021). Using technology acceptance Model 3 (TAM3) at Selected private technical high school: Google drive storage in e-learning. Journal of Ultimate Research and Trends in Education, 3(2), 80–89. [Google Scholar]
  72. Shumeili, G. (2010). To explain or to predict. Statistical Science, 25(3), 289–310. [Google Scholar]
  73. Simoes, M. P. A., Cavalcanti, J. A., Marques de Melo, J. F., & Reis, C. Q. (2021). Benefits of using blockchain technology as an accounting auditing instrument. Revista Ambiente Contabil, 13(1), 39–53. [Google Scholar]
  74. Sinha, S. (2019). Blockchain—Opportunities and challenges for accounting professionals. Journal of Corporate Accounting and Finance, 31(2), 65–67. [Google Scholar] [CrossRef]
  75. Slaney, K. (2017). Validating psychological constructs: Historical, philosophical and practical dimensions. Macmillan Publishers Ltd. [Google Scholar]
  76. Sun, S. L., Hwang, H. G., Dutta, B., & Peng, M. H. (2019). Exploring critical factors influencing nurses’ intention to use tablet PC in patients’ care using an integrated theoretical model. Libyan Journal of Medicine, 14(1), 1648963. [Google Scholar] [CrossRef] [PubMed]
  77. Swan, M. (2017). Anticipating the economic benefits of blockchain. Technology Innovation Management Review, 7(10), 6–13. [Google Scholar] [CrossRef]
  78. Tapscott, D., & Tapscott, A. (2018). Blockchain revolution: How the technology behind bitcoin is changing money, business, and the world. FIIB Business Review, 7(4), 275–276. [Google Scholar]
  79. Tarhini, A., Hone, K., & Liu, X. (2014). Measuring the moderating effect of gender and age on e learning acceptance in England: A structural equation modeling approach for an extended technology acceptance model. Journal of Educational Computing Research, 51(2), 163–184. [Google Scholar] [CrossRef]
  80. Tripathi, S. (2017). Determinants of cloud computing intentions to use: Role of firm’s size, managerial structure and industrial sector. Journal of International Technology and Information Management, 28(2), 51–92. [Google Scholar] [CrossRef]
  81. Unal, E., & Uzun, A. M. (2021). Understanding university students’ behavioral intention to use edmodo through the lens of an extended technology acceptance model. British Journal of Educational Technology, 52(2), 619–637. [Google Scholar] [CrossRef]
  82. Uwaifo, S. O. (2008). Computer anxiety as predictor of librarians’ perceived ease of use of automated library systems in Nigerian university libraries. African Journal of Library, Archives and Information Science, 18(2), 147–155. [Google Scholar]
  83. Venkatesh, V., & Bala, H. (2008). Technology acceptance Model 3 and a research agenda on interventions. Decisions Sciences, 39(2), 273–315. [Google Scholar] [CrossRef]
  84. Venkatesh, V., & Davis, F. D. (2000). A theoretical extension of the technology acceptance model: Four longitudinal field studies. Management Science, 46(2), 186–204. [Google Scholar] [CrossRef]
  85. Venkatesh, V., Morris, M. G., Davis, G. B., & Davis, F. D. (2003). User acceptance of information technology: Toward a unified view. MIS Quarterly, 27(3), 425–478. [Google Scholar] [CrossRef]
  86. Wilcox, J. B., Howell, R. D., & Breivik, E. (2008). Questions about formative measurement. Journal of Business Research, 61(12), 1229–1237. [Google Scholar] [CrossRef]
  87. Yang, K. C., & Shih, P. O. (2020). Cognitive age in technology acceptance: At what age are people ready to adopt and continuously use fashionable products? Telematics and Informatics, 51, 101400. [Google Scholar] [CrossRef]
  88. Yermack, D. (2017). Corporate governance and blockchains. Review of Finance, 21(1), 7–31. [Google Scholar] [CrossRef]
  89. Yuan, M. Z., Lin, J. W., Yang, C. C., Wang, I. C., & Hsu, C. H. (2021). Effects of Output quality and result demonstrability on the perceived usefulness of GPS sports watches from the perspective of Industry 4.0. Mathematical Problems in Engineering, 2, 4920167. [Google Scholar] [CrossRef]
Figure 1. Proposed Study Model. Source: Developed by the Researchers.
Figure 1. Proposed Study Model. Source: Developed by the Researchers.
Admsci 15 00061 g001
Figure 2. Research model developed by PLS-3 SEM software. Source: PLS3-SEM Software.
Figure 2. Research model developed by PLS-3 SEM software. Source: PLS3-SEM Software.
Admsci 15 00061 g002
Table 1. Descriptive Statistics for Variables.
Table 1. Descriptive Statistics for Variables.
VariableMinimumMaximumMeanSD
Perception of external control14.501.74920.86
Computer self-efficacy15.003.24471.38
Computer anxiety14.501.38180.78
Perceived ease of use14.501.70260.89
Job relevance15.002.64231.15
Results demonstrability15.002.06101.05
Output quality15.003.19281.21
Perceived usefulness15.003.09641.25
Auditors’ Intention to adopt BT15.002.17171.20
Source: PLS3-SEM Software.
Table 2. Fornell-Larcker criterion.
Table 2. Fornell-Larcker criterion.
IntentionCACSEJROQPEOUPUPECRES
Intention0.994
CA0.0380.966
CSE0.5470.1540.974
JR0.570.0680.5730.925
OQ0.5610.1230.6760.7270.982
PEOU0.6040.0750.3960.4570.320.957
PU0.590.1030.7090.7670.9150.3750.99
PEC0.5680.0640.4220.4490.3530.6630.380.857
RES0.6490.0650.5150.6250.5190.6830.5520.6070.952
Source: PLS3-SEM Software.
Table 3. Indices of Structural Model Assessment.
Table 3. Indices of Structural Model Assessment.
Endogenous
Variable
Exogenous VariablesPath
Coefficient
p-ValueVIF f 2 R 2 Q 2 _
Predict
HypothesisHypothesis
(Decision)
Perceived Ease of UsePerception of External Control0.6030.0001.2160.5490.4560.407H1aSupported
Computer Self-Efficacy0.1400.0011.2410.029H1bSupported
Computer Anxiety0.0140.7411.0240.000H1cNot Supported
Perceived UsefulnessJob Relevance0.1960.0002.5770.1070.8610.838H2aSupported
Results Demonstrability0.0400.0941.6640.007H2bNot Supported
Output Quality0.7530.0002.1511.896H2cSupported
Auditors’ Intention to adopt BTGender0.0090.8201.0090.0000.5190.504
Perceived Ease of Use0.4450.0001.1650.353H1Supported
Perceived Usefulness0.4200.0001.1900.308H2Supported
Role in Firm0.0200.6501.0370.001
Source: Developed by the Researchers using PLS3-SEM Software.
Table 4. Checking the compositional invariance and equality of composites.
Table 4. Checking the compositional invariance and equality of composites.
ConstructConfigural
Invariance
Compositional
Invariance
Partial
Measurement
Invariance
Established
Equal Mean ValueEqual VariancesFull
Measurement
Invariance
Established
Correlation
c
Quantile
5%
p-ValueDifferenceC.I.DifferenceC.I.
Auditors’ Intention to adopt BTYes110.710Yes−0.259[−0.228;
0.224]
−0.144[−0.309;
0.327]
No
Computer AnxietyYes10.6370.990Yes−0.347[−0.223;
0.217
−0.871[−0.583;
0.579]
No
Computer Self-EfficacyYes110.435Yes−0.386[−0.231;
0.228]
0.076[−0.175;
0.201]
No
GenderYes110.090Yes0.095[−0.235;
0.222]
0.02[−0.034;
0.055]
Yes
Job RelevanceYes110.515Yes−0.241[−0.236;
0.199]
−0.044[−0.207;
0.211]
No
Output Quality Yes110.347Yes−0.365[−0.216;
0.217]
0.274[−0.231;
0.263]
No
Perceived Ease of UseYes110.460Yes−0.245[−0.228;
0.209]
−0.343[−0.357;
0.356]
No
Perceived UsefulnessYes110.738Yes−0.367[−0.226;
0.207]
0.25[−0.205;
0.227]
No
Perception of External ControlYes10.9960.652Yes−0.091[−0.231;
0.207]
−0.175[−0.36;
0.377]
Yes
Results DemonstrabilityYes110.431Yes−0.299[−0.216;
0.213]
−0.318[−0.313;
0.303]
No
Role in FirmYes110.194Yes−1.399[−0.234;
0.219
−0.376[−0.211;
0.239]
No
Source: PLS3-SEM Software.
Table 5. Multi Group Analysis Tests of the path coefficients of models for G1 and G2.
Table 5. Multi Group Analysis Tests of the path coefficients of models for G1 and G2.
RelationshipG1G2Path Difference2.50%97.50%Permutation
p-Values
Welch-
Satterthwait
Test
Perceived Ease of Use → Auditors’ Intention to adopt BT0.3920.493−0.102−0.1810.1840.2650.248
Perceived Usefulness → Auditors’ Intention to adopt BT0.4330.4080.024−0.1440.1590.7590.737
Gender → Auditors’ Intention to adopt BT0.015−0.0280.043−0.1470.1610.5850.585
Role in Firm → Auditors’ Intention to adopt BT0.092−0.0560.147−0.1820.1830.1090.123
Source: PLS3-SEM Software.
Disclaimer/Publisher’s Note: The statements, opinions and data contained in all publications are solely those of the individual author(s) and contributor(s) and not of MDPI and/or the editor(s). MDPI and/or the editor(s) disclaim responsibility for any injury to people or property resulting from any ideas, methods, instructions or products referred to in the content.

Share and Cite

MDPI and ACS Style

Hamadeh, A.H.; Nouraldeen, R.M.; Mahboub, R.M.; Hashem, M.S. Auditors’ Intention to Use Blockchain Technology and TAM3: The Moderating Role of Age. Adm. Sci. 2025, 15, 61. https://doi.org/10.3390/admsci15020061

AMA Style

Hamadeh AH, Nouraldeen RM, Mahboub RM, Hashem MS. Auditors’ Intention to Use Blockchain Technology and TAM3: The Moderating Role of Age. Administrative Sciences. 2025; 15(2):61. https://doi.org/10.3390/admsci15020061

Chicago/Turabian Style

Hamadeh, Amir Hasan, Rasha Mohammad Nouraldeen, Rasha Mohamad Mahboub, and Mohamed Saleh Hashem. 2025. "Auditors’ Intention to Use Blockchain Technology and TAM3: The Moderating Role of Age" Administrative Sciences 15, no. 2: 61. https://doi.org/10.3390/admsci15020061

APA Style

Hamadeh, A. H., Nouraldeen, R. M., Mahboub, R. M., & Hashem, M. S. (2025). Auditors’ Intention to Use Blockchain Technology and TAM3: The Moderating Role of Age. Administrative Sciences, 15(2), 61. https://doi.org/10.3390/admsci15020061

Note that from the first issue of 2016, this journal uses article numbers instead of page numbers. See further details here.

Article Metrics

Back to TopTop