The Influence of Pulsed Electron Beam Processing on the Quality of Working Surfaces of Titanium Alloy Products
Abstract
1. Introduction
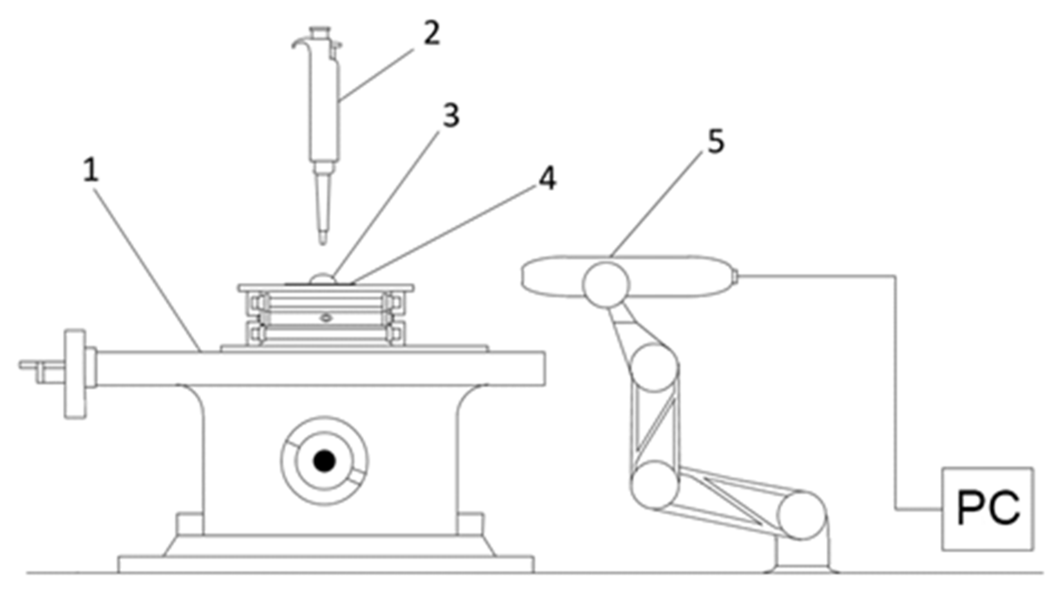
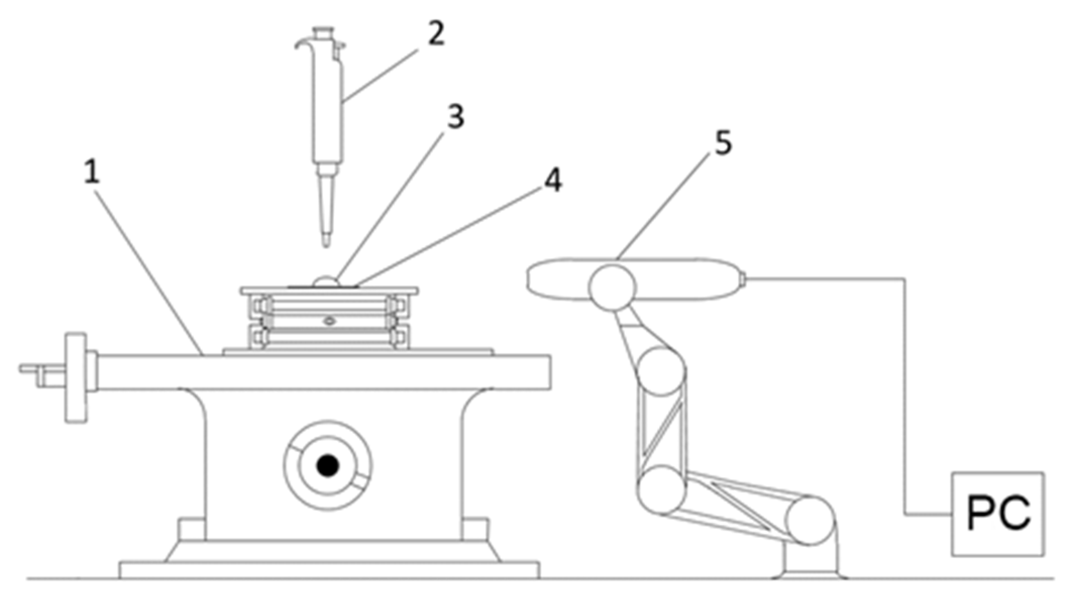
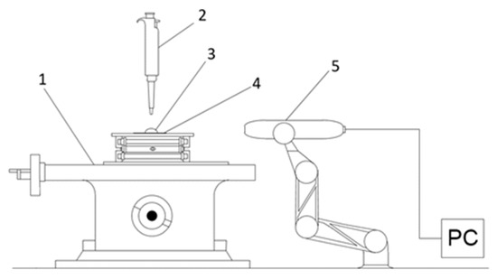
2. Materials and Methods
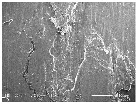
3. Results
4. Discussion
5. Conclusions
Author Contributions
Funding
Data Availability Statement
Acknowledgments
Conflicts of Interest
References
- Kollerov, M.; Spektor, V.; Skvortsova, S.; Mamonov, A.M.; Gusev, D.E.; Gurtovaya, G.V. Problems and prospects for use of titanium alloys in medicine. J. Titan. 2015, 48, 42–53. [Google Scholar]
- Jagadesh, T.; Samuel, G.L. Investigation into cutting forces and surface roughness in micro turning of titanium alloy using coated carbide tool. Procedia Mater. Sci. 2014, 5, 2450–2457. [Google Scholar] [CrossRef][Green Version]
- Geetha, M.; Singh, A.K.; Asokamani, R.; Gogia, A.K. Ti based biomaterials, the ultimate choice for orthopaedic implants—A review. Prog. Mater. Sci. 2009, 54, 397–425. [Google Scholar] [CrossRef]
- Abbas, A.T.; Sharma, N.; Anwar, S.; Luqman, M.; Tomaz, I.; Hegab, H. Multi-response optimization in high-speed machining of Ti-6Al-4V using TOPSIS-fuzzy integrated approach. Materials 2020, 13, 1104. [Google Scholar] [CrossRef]
- Pramanik, A.; Guy, L. Machining of Titanium Alloy (Ti-6Al-4V)-Theory to Application. Mach. Sci. Technol. 2015, 19, 1–49. [Google Scholar] [CrossRef]
- Nikolaeva, E.; Chapyshev, A.; Spitsyn, A. Technological Characteristics of Production of Implants from Titanium and Alloys Based. Key Eng. Mater. 2022, 910, 314–320. [Google Scholar] [CrossRef]
- Budinski, K.G. Tribological properties of titanium alloys. Wear 1991, 151, 203–217. [Google Scholar] [CrossRef]
- Alam, M.O.; Haseeb, A.S.M.A. Response of Ti–6Al–4V and Ti–24Al–11Nb alloys to dry sliding wear against hardened steel. Tribol. Int. 2002, 35, 357–362. [Google Scholar] [CrossRef]
- Kang, K.-T.; Koh, Y.-G.; Son, J.; Yeom, J.S.; Park, J.-H.; Kim, H.-J. Biomechanical evaluation of pedicle screw fixation system in spinal adjacent levels using polyetheretherketone, carbon-fiberreinforced polyetheretherketone, and traditional titanium as rod materials. Compos. B Eng. 2017, 130, 248–256. [Google Scholar] [CrossRef]
- Johnson, R.; Eberhardt, J. Thermal Oxidation: A Promising Surface Treatment for Titanium Engine Parts; Transportation Program, Oak Ridge National Laboratory: Oak Ridge, TN, USA, 2006. [Google Scholar]
- Liu, X.; Chu, P.K.; Ding, C. Surface modification of titanium, titanium alloys, and related materials for biomedical applications. Mater. Sci. Eng. R Rep. 2004, 47, 49–121. [Google Scholar] [CrossRef]
- Güleryüz, H.; Çimenoğlu, H. Effect of thermal oxidation on corrosion and corrosion–wear behaviour of a Ti–6Al–4V alloy. Biomaterials 2004, 25, 3325–3333. [Google Scholar] [CrossRef] [PubMed]
- Li, Y.; Zhao, C. Advanced interconnect technology and reliability. In Woodhead Publishing Series in Electronic and Optical Materials, CMOS Past, Present and Future; Radamson, H.H., Luo, J., Simoen, E., Zhao, C., Eds.; Woodhead Publishing: Cambridge, UK, 2018; pp. 215–247. [Google Scholar] [CrossRef]
- Revankar, G.D.; Shetty, R.; Rao, S.S.; Gaitonde, V.N. Wear resistance enhancement of titanium alloy (Ti–6Al–4V) by ball burnishing process. J. Mater. Res. Technol. 2017, 6, 13–32. [Google Scholar] [CrossRef]
- Chengwei, C.; Zhiming, Z.; Xitang, T.; Wang, Y.; Sun, X.T. Influence of rapidly solidified structures on wear behavior of Ti-6AI-4V laser alloyed with TiC. Tribol. Trans. 1995, 38, 875–878. [Google Scholar] [CrossRef]
- Soskova, N.; Vashchuk, E.S.; Budovskih, E.A.; Gromov, V.E.; Rajkov, S.V.; Ivanov, Y.F.; Losinskaya, A.A.; Pavlyukova, D.V. Electron-beam treatment of titanium VT1-0 surface after electroexplosive carburizing with zirconium oxide. Met. Work. Mater. Sci. 2013, 58, 37–41. [Google Scholar]
- Shi, L.-Y.; Wang, A.; Zang, F.-Z.; Wang, J.-X.; Pan, X.-W.; Chen, H.-J. Tantalum-coated pedicle screws enhance implant integration. Colloids Surf. B 2017, 160, 22–32. [Google Scholar] [CrossRef]
- Vishnevskij, A.A.; Kazbanov, V.V.; Batalov, M.S. Prospects for the use of titanium implants with specified osteogenic properties. Russ. J. Spine Surg. 2016, 13, 50–58. [Google Scholar]
- Lam, T.-N.; Trinh, M.-G.; Huang, C.-C.; Kung, P.-C.; Huang, W.-C.; Chang, W.; Amalia, L.; Chin, H.-H.; Tsou, N.-T.; Shih, S.-J.; et al. Investigation of bone growth in additive-manufactured pedicle screw implant by using Ti-6Al-4V and bioactive glass powder composite. Int. J. Mol. Sci. 2020, 21, 7438. [Google Scholar] [CrossRef] [PubMed]
- Galetsky, I.A.; Mishigdorzhiyn, U.L.; Semenov, A.P.; Yuzhakov, I.A.; Ulakhanov, N.S.; Burkov, A.G.; Semenov, E.D.; Tihonov, A.G.; Shustov, A.I. Methods for forming the performance properties of products from titanium alloys produced using additive technologies AT atmospheric pressure in the tip plane system. In Proceedings of the VIII International Scientific Conference Problems of Mechanics of Modern Machines, Ulan-Ude, Russia, 4–9 July 2022. [Google Scholar]
- Grishunin, V.A.; Gromov, V.E.; Ivanov, Y.F.; Yuryev, A.B.; Vorobyev, S.V. Increase of the fatigue life of the rail steel by electron beam treatment. Ferr. Metall. 2013, 56, 51–54. (In Russian) [Google Scholar] [CrossRef][Green Version]
- Komissarova, I.A.; Konovalov, S.V.; Kosinov, D.A.; Feoktistov, A.V.; Ivanov, Y.F.; Gromov, V.E. Formation and evolution of the structure and phase composition of titanium VT 1-0 during electron beam processing, current pulse action, and multi-cycle fatigue. In Anthology of Strength and Ductility of Metals and Alloys Under External Energy Influences; Gromov, V.E., Ed.; Publishing SibSIU: Novokuzneck, Russia, 2018; pp. 62–81. [Google Scholar]
- Shpanov, D.A.; Moskvin, P.V.; Petrikova, E.A.; Ivanov, Y.F.; Vorobyov, M.S. Control of the electron beam current during the pulse for alloying the surface of stainless steel with titanium and aluminum. Mater. Technol. Des. 2024, 6, 129–141. [Google Scholar] [CrossRef]
- Koval, N.N.; Teresov, A.D.; Shtejnle, A.V. Polishing the surface of the spokes of the transosseous osteosynthesis apparatus using a pulsed electron beam of submillisecond duration followed by their sharpening. Bull. Tomsk. Polytech. Univ. 2011, 318, 116–120. [Google Scholar]
- Bagautdinov, R.R.; Makarov, I.V. General recommendations on the choice of cutting modes for processing titanium alloys. A Young Sci. 2021, 382, 15–17. [Google Scholar]
- Wennerberg, A.; Albrektsson, T. Effects of titanium surface topography on bone integration: A systematic review. Clin. Oral Implant. Res. 2009, 20, 172–184. [Google Scholar] [CrossRef]
- Savilov, A.V.; Svinin, V.M.; Timofeev, S.A. Studies on Titanium Alloy Turning Rate Improvement. In Proceedings of the 5th International Conference on Industrial Engineering (ICIE 2019), Sochi, Russia, 25–29 March 2019. [Google Scholar]
- Koval, N.N.; Devyatkov, V.N.; Vorobyev, M.S. Electron Sources with Plasma Grid Emitters: Progress and Prospects. Russ. Phys. J. 2021, 63, 1651–1660. [Google Scholar] [CrossRef]
- Koval, N.N.; Devyatkov, V.N.; Vorobyov, M.S. Grid plasma cathodes: History, status, prospects. Bull. Russ. Acad. Sci. Phys. 2023, 87, S288–S293. [Google Scholar] [CrossRef]
- Devyatkov, V.N.; Koval, N.N.; Schanin, P.M.; Grigoryev, V.P.; Koval, T.V. Generation and propagation of high-current low-energy electron beams. Laser Part. Beams 2003, 21, 243. [Google Scholar] [CrossRef]
- Shin, V.I.; Vorobyov, M.S.; Moskvin, P.V.; Devyatkov, V.N.; Koval, N.N.; Mokeev, M.A. Generation of an electron beam in a source with a plasma emitter in the combined current control mode. Bull. Russ. Acad. Sci. Phys. 2023, 87, S324–S327. [Google Scholar] [CrossRef]
- Shin, V.I.; Moskvin, P.V.; Vorobyev, M.S.; Devyatkov, V.N.; Doroshkevich, S.Y.; Koval, N.N. Increasing the electrical strength of the accelerating gap in an electron source with a plasma cathode. Instrum. Exp. Tech. 2021, 64, 234–240. [Google Scholar] [CrossRef]
- Shin, V.I.; Vorobyov, M.S.; Moskvin, P.V.; Devyatkov, V.N.; Yakovlev, V.V.; Koval, N.N.; Torba, M.S.; Kartavtsov, R.A.; Vorobyov, S.A. Latitude and amplitude modulation of the beam current for controlling its power during a submillisecond pulse. Russ. Phys. J. 2023, 65, 1979–1988. [Google Scholar] [CrossRef]
- Vorobyov, M.S.; Moskvin, P.V.; Shin, V.I.; Koval, N.N.; Ashurova, K.T.; Doroshkevich, S.Y.; Devyatkov, V.N.; Torba, M.S.; Levanisov, V.A. Dynamic Power Control of a Submillisecond Pulsed Megawatt Electron Beam in a Source with a Plasma Cathode. Tech. Phys. Lett. 2021, 47, 528–531. [Google Scholar] [CrossRef]
- Vorobyov, M.S.; Koval, T.V.; Shin, V.I.; Moskvin, P.V.; Tran, M.K.A.; Koval, N.N.; Ashurova, K.; Doroshkevich, S.Y.; Torba, M.S. Controlling the Specimen Surface Temperature during Irradiation with a Submillisecond Electron Beam Produced by a Plasma-Cathode Electron Source. IEEE Trans. Plasma Sci. 2021, 49, 2550–2553. [Google Scholar] [CrossRef]
- Devyatkov, V.N.; Mokeev, M.A.; Vorobyov, M.S.; Koval, N.N.; Moskvin, P.V.; Kartavtsov, R.A.; Doroshkevich, S.Y.; Torba, M.S. Electron source with a multi-arc plasma cathode for generating a modulated beam of submillisecond duration. Tech. Phys. Lett. 2024, 50, 20–23. [Google Scholar]
- Vorobyov, M.S.; Petrikova, E.A.; Shin, V.I.; Moskvin, P.V.; Ivanov, Y.F.; Koval, N.N.; Koval, T.V.; Prokopenko, N.A.; Kartavtsov, R.A.; Shpanov, D.A. Steel surface doped with Nb via modulated electron-beam irradiation: Structure and properties. Coatings 2023, 13, 1131. [Google Scholar] [CrossRef]
- Vorobyov, M.S.; Ashurova, K.T.; Ivanov, Y.F.; Moskvin, P.V.; Petrikova, E.A.; Petyukevich, M.S.; Rygina, M.E.; Shin, V.I.; Doroshkevich, S.Y. Treatment of silumin surface by a modulated submillisecond electron beam. High Temp. Mater. Process. 2022, 26, 1–10. [Google Scholar] [CrossRef]
- Gromov, V.E.; Ivanov, Y.F.; Vorobiev, S.V.; Konovalov, S.V. Fatigue of Steels Modified by High Intensity Electron Beams; Cambridge International Science Publishing Ltd.: Cambridge, UK, 2015; p. 272. [Google Scholar]
- Valiev, R.Z.; Islamgaliev, R.K.; Alexandrov, I.V. Bulk nanostructured materials from severe plastic deformation. Prog. Mater. Sci. 2000, 45, 103–189. [Google Scholar] [CrossRef]
- Schwartz, Z.; Raz, P.; Zhao, G.; Barak, Y. Effect of Micrometer-Scale Roughness of the Surface of Ti6Al4V Pedicle Screws in Vitro and in Vivo. JBJS 2008, 90, 2485–2498. [Google Scholar] [CrossRef] [PubMed]
- Akhmadeev, Y.H.; Denisov, V.V.; Ivanov, Y.F. Electron–Ion–Plasma Modification of the Surface of Nonferrous Metals and Alloys; Koval, N.N., Ivanov, Y.F., Eds.; NTL Publishing House: Tomsk, Russia, 2016; p. 312. (In Russian) [Google Scholar]
- Jo, W.L.; Lim, Y.W.; Kwon, S.Y.; Bahk, J.-H.; Kim, J.; Shin, T.; Kim, Y.H. Non-thermal atmospheric pressure plasma treatment increases hydrophilicity and promotes cell growth on titanium alloys in vitro. Sci. Rep. 2023, 13, 14792. [Google Scholar] [CrossRef]
- Wang, M.; Peng, Z.; Li, C.; Zhang, J.; Wu, J.; Wang, F.; Li, Y.; Lan, H. Multi-Scale Structure and Directional Hydrophobicity ofTitanium Alloy Surface UsingElectrical Discharge. Micromachines 2022, 13, 937. [Google Scholar] [CrossRef]
- Toh, W.Q.; Wang, P.; Tan, X.; Nai, M.L.S.; Liu, E.; Tor, S.B. Microstructure and Wear Properties of Electron Beam Melted Ti-6Al-4V Parts: A Comparison Study against As-Cast Form. Metals 2016, 6, 284. [Google Scholar] [CrossRef]
- Köse, C.; Karaca, E. Robotic Nd:YAG Fiber Laser Welding of Ti-6Al-4V Alloy. Metals 2017, 7, 221. [Google Scholar] [CrossRef]
- Martinez, M.A.F.; Balderrama, Í.; Karam, P.S.B.H.; Oliveira, R.C.; Oliveira, F.A.; Grandini, C.R.; Vicente, F.B.; Stavropoulos, A.; Zangrando, M.S.R.; Sant’Ana, A.C.P. Surface roughness of titanium disks influences the adhesion, proliferation and differentiation of osteogenic properties derived from human. Int. J. Implant. Dent. 2020, 6, 46. [Google Scholar] [CrossRef]
- Jabbari, Y.A.; Mueller, W.D.; Al-Rasheed, A.; Zinelis, S. The Effects of Surface Roughening Techniques on Surface and Electrochemical Properties of Ti Implants. In Dental Implantology and Biomaterial; Almasri, M.A.J.A., Ed.; InTech: London, UK, 2016. [Google Scholar] [CrossRef]
- Zinelis, S. Surface and Electrochemical Characterization of Contemporary Ti Implants with Different Surface Modifications; National and Kapodistrian University of Athens: Athens, Greece, 2016. [Google Scholar]
- Albrektsson, T.; Wennerberg, A. Oral implant surfaces: Part 2—Review focusing on clinical knowledge of different surfaces. Int. J. Prosthodont. 2004, 17, 544–564. [Google Scholar] [PubMed]
- Sun, Y.; Bailey, R.; Zhang, J.; Lian, Y.; Ji, X. Effect of thermal oxidation on the dry sliding friction and wear behaviour of CP-Ti on CP-Ti tribopairs. Surf. Sci. Technol. 2023, 1, 15. [Google Scholar] [CrossRef]
- Braic, M.; Braic, V.; Vladescu, A.; Zoita, C.N.; Balaceanu, M. Solid solution or amorphous phase formation in TiZr-based ternary to quinternarymulti-principal-element films. Prog. Nat. Sci. 2014, 24, 305–312. [Google Scholar] [CrossRef]
- Shen, W.-J.; Tsai, M.-H.; Yeh, J.-W. Machining performance of sputter-deposited (Al0.34Cr0.22Nb0.11Si0.11Ti0.22)50 N50 high-entropy nitride coatings. Coatings 2015, 5, 312–325. [Google Scholar] [CrossRef]
- An, Z.; Jia, H.; Wu, Y.; Rack, P.D.; Patchen, A.D.; Liu, Y.; Ren, Y.; Li, N.; Liaw, P.K. Solid-solution CrCoCuFeNi high-entropy alloy thin films synthesized by sputter deposition. Mater. Res. Lett. 2015, 3, 203–209. [Google Scholar] [CrossRef]
- Ji, X.; Duan, H.; Zhang, H.; Ma, J. Slurry erosion resistance of laser clad NiCoCrFeAl3 high-entropy alloy coatings. Tribol. Trans. 2015, 58, 1119–1123. [Google Scholar] [CrossRef]
- Zhang, H.; Wu, W.; He, Y.; Li, M.; Guo, S. Formation of core–shell structure in high entropy alloy coating by laser cladding. Appl. Surf. Sci. 2016, 363, 543–547. [Google Scholar] [CrossRef]
- Yue, T.; Xie, H.; Lin, X.; Yang, H.; Meng, G. Microstructure of laser remelted AlCoCrCuFeNi high entropy alloy coatings produced by plasma spraying. Entropy 2013, 15, 2833–2845. [Google Scholar] [CrossRef]
- Yao, C.-Z.; Zhang, P.; Liu, M.; Li, G.R.; Ye, J.Q.; Liu, P.; Tong, Y.X. Electrochemical preparation and magnetic study of Bi–Fe–Co–Ni–Mn high entropy alloy. Electrochim. Acta 2008, 53, 8359–8365. [Google Scholar] [CrossRef]
- Liu, D.; Cheng, J.B.; Ling, H. Electrochemical behaviours of (NiCoFeCrCu)95 B5 high entropy alloy coatings. Mater. Sci. Technol. 2015, 31, 1159–1164. [Google Scholar] [CrossRef]
- Katakam, S.; Joshi, S.S.; Mridha, S.; Dahotre, N.B. Laser assisted high entropy alloy coating on aluminum: Microstructural evolution. J. Appl. Phys. 2014, 116, 104–106. [Google Scholar] [CrossRef]
















| Fe | C | Si | N | Ti | O | H | Impurities |
|---|---|---|---|---|---|---|---|
| up to 0.25 | up to 0.07 | up to 0.1 | up to 0.04 | 99.24–99.7 | up to 0.2 | up to 0.01 | 0.3 |
| Fe | C | Si | V | N | Ti | Al | Zr | O | H | Impurities |
|---|---|---|---|---|---|---|---|---|---|---|
| up to 0.6 | up to 0.1 | up to 0.1 | 3.5–5.3 | up to 0.05 | 86.45–90.9 | 5.3–6.8 | up to 0.3 | up to 0.2 | up to 0.015 | 0.3 |
![]() | Elemental Composition, wt% | |||
| O 8.43 | Al 5.41 | Ti 82.38 | V 3.79 | |
Disclaimer/Publisher’s Note: The statements, opinions and data contained in all publications are solely those of the individual author(s) and contributor(s) and not of MDPI and/or the editor(s). MDPI and/or the editor(s) disclaim responsibility for any injury to people or property resulting from any ideas, methods, instructions or products referred to in the content. |
© 2025 by the authors. Licensee MDPI, Basel, Switzerland. This article is an open access article distributed under the terms and conditions of the Creative Commons Attribution (CC BY) license (https://creativecommons.org/licenses/by/4.0/).
Share and Cite
Mishigdorzhiyn, U.; Pyatykh, A.; Savilov, A.; Ulakhanov, N.; Galetsky, I.; Demin, K.; Tikhonov, A.; Vorobyov, M.; Petrikova, E.; Mei, S. The Influence of Pulsed Electron Beam Processing on the Quality of Working Surfaces of Titanium Alloy Products. Lubricants 2025, 13, 199. https://doi.org/10.3390/lubricants13050199
Mishigdorzhiyn U, Pyatykh A, Savilov A, Ulakhanov N, Galetsky I, Demin K, Tikhonov A, Vorobyov M, Petrikova E, Mei S. The Influence of Pulsed Electron Beam Processing on the Quality of Working Surfaces of Titanium Alloy Products. Lubricants. 2025; 13(5):199. https://doi.org/10.3390/lubricants13050199
Chicago/Turabian StyleMishigdorzhiyn, Undrakh, Aleksey Pyatykh, Andrey Savilov, Nikolay Ulakhanov, Ivan Galetsky, Kirill Demin, Alexander Tikhonov, Maxim Vorobyov, Elizaveta Petrikova, and Shunqi Mei. 2025. "The Influence of Pulsed Electron Beam Processing on the Quality of Working Surfaces of Titanium Alloy Products" Lubricants 13, no. 5: 199. https://doi.org/10.3390/lubricants13050199
APA StyleMishigdorzhiyn, U., Pyatykh, A., Savilov, A., Ulakhanov, N., Galetsky, I., Demin, K., Tikhonov, A., Vorobyov, M., Petrikova, E., & Mei, S. (2025). The Influence of Pulsed Electron Beam Processing on the Quality of Working Surfaces of Titanium Alloy Products. Lubricants, 13(5), 199. https://doi.org/10.3390/lubricants13050199


