Optimization Study of the Structural Parameters of an Artificial Percolation Intake Riverbed Based on a Numerical Orthogonal Test
Abstract
1. Introduction
1.1. Research Background
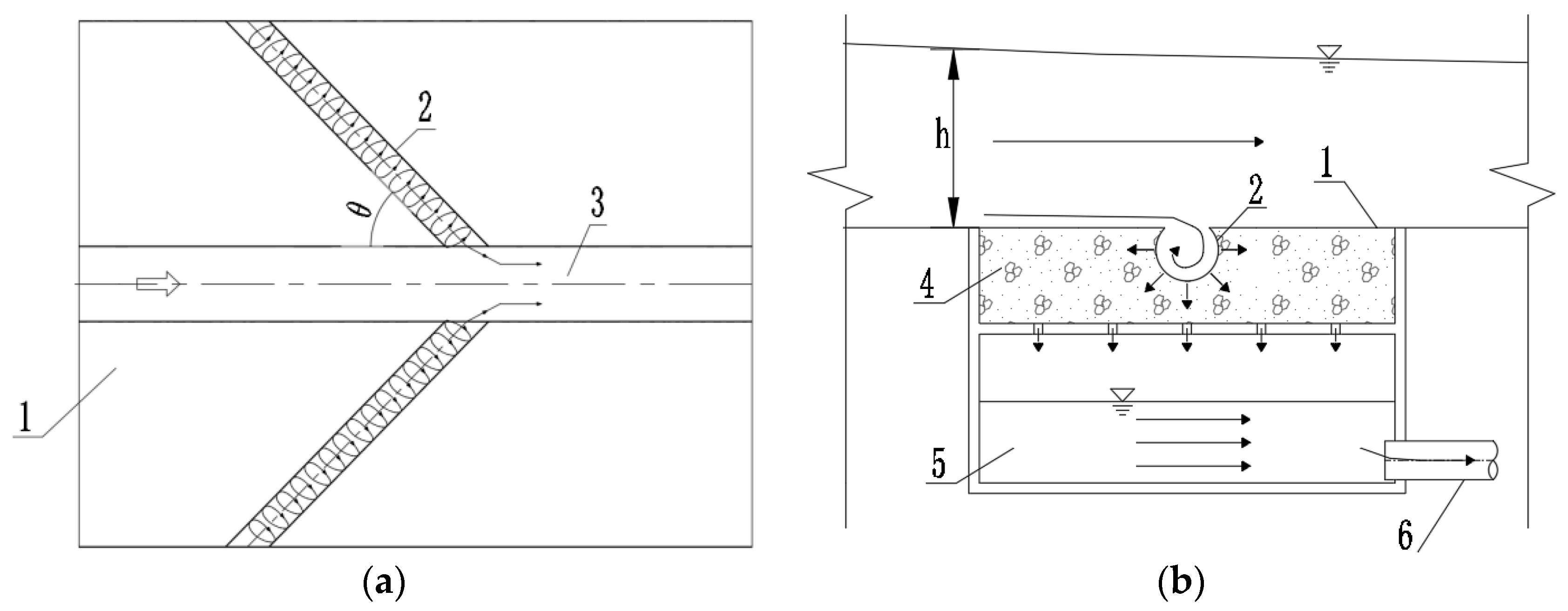
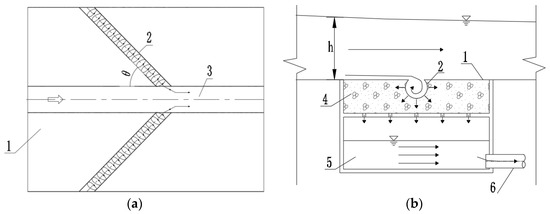
1.2. Description of the Structural Parameters of the Artificial Percolation Water Intake Riverbed
2. Numerical Modeling and Experimental Validation
2.1. Geometric Modeling and Meshing
2.2. Control Equations
2.3. Model Validation
3. Orthogonal Experimental Design
4. Analysis of Orthogonal Test Results
- From Figure 7a, it can be seen that the combination of structural parameters has an important effect on the mean circumferential flow velocity of the vortex tube. Different combination numbers represent different combinations of structural parameters, and each combination number presents different vortex tube mean circumferential flow velocities, with Combination 5 having the smallest vortex tube mean circumferential flow velocity and Combination 24 having the largest vortex tube mean circumferential flow velocity. It can also be seen that the single-width flow rate has an important effect on the mean circumferential flow rate of the vortex tube, which increases sequentially as the single-width flow rate increases from 0.3 m2/s to 0.6 m2/s and then to 0.9 m2/s under a certain combination of structural parameters of the artificial riverbed. When the single-width flow increases from 0.3 m2/s to 0.6 m2/s, the smallest increase is in Combination 15 with 15.2% and the largest increase is in Combination 5 with 57.4%. When the single-width flow rate increases from 0.6 m2/s to 0.9 m2/s, the smallest increase is in Combination 2 with 9.0% and the largest increase is in Combination 5 with 48.5%. It can be seen that the increase in flow rate will lead to an increase in the vortex tube mean circumferential flow rate; this is because with the increase in flow rate, the Reynolds number corresponding to the vortex tube flow field will also increase, the overall flow rate of the vortex tube flow field will increase, and the corresponding vortex tube mean circumferential flow rate will also increase.
- From Figure 7b, it can be seen that the combination of structural parameters has an important effect on the amount of water seepage. All combination numbers show different water seepages, with the smallest seepage at Combination 5 and the largest seepage at Combination 24. It can also be seen that the single-width flow rate has an important effect on the seepage volume, and the vortex tube seepage volume increases sequentially when the single-width flow rate increases from 0.3 m2/s to 0.6 m2/s and then to 0.9 m2/s under the condition of a certain structural parameter of the artificial riverbed. When the single-width flow increases from 0.3 m2/s to 0.6 m2/s, the smallest increase is in Combination 7 with 15.9% and the largest increase is in Combination 5 with 47.8%. When the single-width flow increases from 0.6 m2/s to 0.9 m2/s, the smallest increase is in Combination 23 with 9.3% and the largest increase is in Combination 16 with 30.9%. It can be seen that an increase in flow rate will lead to an increase in vortex tube seepage; this is because with the increase in flow rate and the overall rise in the water level of the riverbed of the artificial percolation water intake, the vortex tube flow field corresponding to the pressure will also increase, and the vortex tube flow field pressure increase will lead to vortex tube seepage and an overall increase in the amount of water.
5. Analysis of Test Results
5.1. Range Analysis
- From the above table, it can be seen that the influence of different structural parameters on the vortex tube average circumferential flow velocity Vr has different weights; according to the results of the range analysis, the influence of the primary and secondary order according to the size of the Rj is ranked. The main order of influence of different structural parameters on the Vr of the vortex tube is as follows: J > N > L > M > K. And the parameter O affects the vortex tube mean circumferential flow velocity Vr in a different order of priority under different flow conditions. When the q is 0.3 m2/s and 0.6 m2/s, the parameter O affects the Vr in the order of J > N> L > O > M > K. When the q is 0.9 m2/s, the parameter O affects the vortex tube mean circumferential flow velocity Vr in the order of J > N > L > M > O > K.
- From the above table, it can be seen that different structural parameters have different weights and sizes of influence on the vortex tube seepage Q. According to the results of the range analysis, the order of influence is ranked according to the size of the Rj. The more influential parameter is parameter M, and the less influential parameter is parameter O. The different structural parameters have a different order of influence on the vortex tube seepage under different flow conditions. When the q is 0.3 m2/s, the main order of influence of different structural parameters on the vortex tube seepage Q in terms of the magnitude of the range is M > N >J > K > L > O. When the q is 0.6 m2/s, the effects of different structural parameters on Q are in the following order of precedence: J > M > N > K > O > L. When the q is 0.9 m2/s, the effects of different structural parameters on Q are in the following order of precedence: M > L > K > J> O > N. Therefore, it can be seen that with the change in flow conditions, the influence of different structural parameters on the vortex tube seepage Q varies greatly in the order of magnitude.
5.2. Analysis of Variance
- As can be seen from Table 6, according to the ANOVA, when the Vr is used as the optimization index, each structural parameter has different degrees of influence on the Vr. Among them, the p-value of parameter J is less than 0.05 under different working conditions, so parameter J has a significant effect on the Vr. The p-values of the remaining five parameters are all greater than 0.05, which shows that the parameters K, L, M, N, and O have different degrees of influence on the vortex tube mean circumferential flow velocity Vr, but they do not reach the significant level. When the vortex tube seepage volume Q is used as the optimization index, each structural parameter has different degrees of influence on the Q. However, the p-value of each structural parameter is greater than 0.05, so it can be seen that the influence of each structural parameter on the Q does not reach a significant level.
- As can be seen from Table 6, the degree of influence of different structural parameters on the Vr varies under different flow conditions. The size of the influence degree is ranked according to the p-value, and the smaller the p-value is, the more significant the influence is. Sorting the results by p-value, when the q is 0.3 m2/s, the order of significance of the effect of different structural parameters on Vr is J > N > L > O > K > M. When the q is 0.6 m2/s, the order of significance of the effect of different structural parameters on Vr is J > N > L > O > M > K. When the single-width flow rate q is 0.9 m2/s, the order of significance of the effect of different structural parameters on Vr is J > N > L > M > O > K. It can be seen that the significance of the effect of O, M, and K parameters on Vr changes as the flow conditions change. The significance of the effect of each structural parameter on the vortex tube seepage Q is also different under different flow conditions. Sorting the results by p-value, when the q is 0.3 m2/s, then the order of significance of the effect of different structural parameters on Q is M > N > J > K > L > O. When the q is 0.6 m2/s, then the order of significance of the effect of different structural parameters on Q is N > J > M > K > O > L. When the q is 0.9 m2/s, then the order of significance of the effect of different structural parameters on Q is L > M > K > J > O > N. It can be seen that as the flow conditions change, the significance of the effect of different structural parameters on the vortex tube seepage Q varies greatly.
- As can be seen from the results of the range analysis in Section 5.1 and the ANOVA, the results of the range analysis and ANOVA are basically the same. Parameter i had the largest and most significant effect on the Vr. As i increases, the Vr gradually increases. This is because as i increases, the flow velocity increases as a whole, and, therefore, the Vr also increases as a whole.
6. Selection of Optimal Structural Parameters Under Certain Water Flow and Sand Content Conditions
6.1. Determination of the Sand Removal Effect
6.2. Determination of Seepage
7. Conclusions
- The combination of structural parameters has an important effect on the vortex tube mean circumferential flow rate Vr and vortex tube water seepage volume Q. Different combination numbers represent different combinations of structural parameters, and each combination number presents different vortex tube mean circumferential flow rates and vortex tube water seepage. It can also be seen that the single-width flow rate has an important effect on the vortex tube mean circumferential flow rate Vr and vortex tube water seepage volume Q.
- According to the results of the range analysis and ANOVA, different structural parameters have different degrees of influence on the mean circumferential flow rate of the vortex tubes Vr and the vortex tube seepage volume Q. With the change in flow conditions, the impacts of the vortex tube opening rate Ω on the vortex tube mean circumferential flow rate change, and the impacts of different structural parameters on the vortex tube seepage Q change greatly. The longitudinal slope of artificial riverbed i has the largest and most significant effect on the mean circumferential flow rate of the vortex tube, and each structural parameter has a certain effect on vortex tube seepage volume Q, but it does not reach a significant level.
- When the sand content of the water flow is 15 kg/m3 and the maximum sand grain size of the suspended mass is 2 mm, the optimal structural parameter combinations of the artificial riverbed under different working conditions are as follows: Combination 20 is the optimal structural parameter combination when q = 0.3 m2/s; Combination 24 is the optimal structural parameter combination when q = 0.6 m2/s; and Combination 24 is the optimal structural parameter combination when q = 0.9 m2/s. These optimal combinations of structural parameters in certain water flow sand content conditions can ensure the sediment does not fall in the vortex tube silt, but can also obtain a larger amount of water seepage, as well as better economic efficiency.
8. Prospect
Author Contributions
Funding
Data Availability Statement
Acknowledgments
Conflicts of Interest
References
- Zhang, M.B. Experimental Study and Application of Percolation Characteristics of Riverbed Sand and Pebble Media. Doctor’s Thesis, Taiyuan University of Technology, Taiyuan, China, 2013. [Google Scholar]
- Zhang, M.B.; Fan, G.S.; Zheng, Y. Experimental study on the technical parameters of artificial filter bed for Yellow River water containing mud. J. Hydraul. Eng. 2013, 44, 444–450. [Google Scholar]
- Wang, Q.X. Experimental study and application of spiral flow sand discharge. Sediment Res. 1990, 2, 63–70. [Google Scholar]
- Tiwari, N.K.; Sihag, P. Prediction of trapping efficiency of vortex tube. ISH J. Hydraul. Eng. 2018, 26, 59–67. [Google Scholar] [CrossRef]
- Nan, J.H.; Gao, H.; Wang, C.Q. Experimental study and numerical simulation of a new type of cyclone sand discharge channel. Adv. Eng. Sci. 2022, 54, 116–123. [Google Scholar]
- Wang, H.S.; Liu, Z.W. Research status and development trend of precipitation process. Copp. Eng. 2004, 1, 54–56. [Google Scholar]
- Qiu, X.Y. Research on a new type of water-sand separation device. J. Xinjiang Agric. Univ. 2007, 30, 68–70. [Google Scholar]
- Yang, S.D.; Qu, Z.Y.; Zhang, W.F. Experimental study on anti-clogging of drip irrigation with inorganic adsorbent treatment of Yellow River water. J. Drain. Irrig Mach Eng. 2020, 38, 517–522. [Google Scholar]
- Giulia, D.S.; Camillo, N.; Antonio, C. The hydraulic separator Multidune: Preliminary tests on fluid-dynamic features and plastic separation feasibility. Waste Manag. 2008, 28, 1560–1571. [Google Scholar]
- Floriana, L.; Monica, M.; Lorenzo, C. Separation of plastic waste via the hydraulic separator Multidune under different geometric configurations. Waste Manag. 2012, 32, 1306–1315. [Google Scholar]
- Chen, W.M.; Zhe, P.G.; Gang, R. Application of membrane separation technology in the treatment of leachate in China: A review. Waste Manag. 2021, 121, 127–140. [Google Scholar] [CrossRef]
- Tao, H.F.; Qiu, X.Y. Numerical simulation of flow field inside water-sand separation gill. Trans. Chin. Soc. Agric. Eng. 2013, 29, 38–46. [Google Scholar]
- Fan, C.L.; Bai, X.F.; Liu, X.N. Research on the sand discharge law of vortex tube water flow. Adv. Eng. Sci. 1990, 4, 21–26. [Google Scholar]
- Wang, Q.X. Experiment on the formation of spiral flow and sand discharge effect. Yellow River 1987, 5, 12–17. [Google Scholar]
- Atkinson, E. Vortex-tube sediment extractors: I, Trapping efficiency. J. Hydraul. Eng. 1994, 120, 1110–1125. [Google Scholar] [CrossRef]
- Atkinson, E. Vortex-tube sediment extractors: II, Design. J. Hydraul. Eng. 1994, 120, 1126–1138. [Google Scholar] [CrossRef]
- Zhang, K.Q.; Liu, H.F. Development and Prospect of Vortex Tube Sand Discharge Technology Research. Adv. Sci. Tech. Water Res. 2000, 2, 16–18+69. [Google Scholar]
- Zhao, T.; Li, L.; Mu, Z.W. Experimental study on water-sand separation in a large-scale turbid water hydraulic separation clear water device. J. Sichuan Univ. Eng. Sci. Ed. 2014, 46, 47–53. [Google Scholar]
- Li, L.; Qiu, X.Y. Numerical simulation of weakly rotating flow in a clear water device for hydraulic separation of turbid water. J. Hydroelectr. Eng. 2008, 2, 103–109. [Google Scholar]
- Keshavarzi, A.R.; Gheisi, A.R. Trap efficiency of vortex settling chamber for exclusion of fine suspended sediment particles in irrigation canals. Irrig Drain. 2006, 55, 419–434. [Google Scholar] [CrossRef]
- Zhang, P.F.; Deng, S.H.; Qiu, Z.Y. Characterization of flow field of liquid-liquid dynamic cyclone. Min. Mach. 2007, 4, 63–66+5. [Google Scholar]
- Cui, B.Y. Numerical Experimental Study of Hydrocyclone Flow Field and Separation Process. Doctor’s Thesis, Northeastern University, Shenyang, China, 2014. [Google Scholar]
- Li, L.; Wang, P.Y.; Wu, Y.F. Influence of overhanging plate opening on the flow field characteristics of sand discharge funnel. Adv. Water Sci. 2020, 31, 927–935. [Google Scholar]
- Nan, J.H.; Wang, C.Q.; Li, W. Experiment on sand discharge characteristics of cyclone drainage channel. Trans. Chin. Soc. Agric. Eng. 2022, 38, 127–135. [Google Scholar]
- Nan, J.H.; Dai, J.L.; Li, W. Study on the influence of body shape parameters on water and sand characteristics in cyclone drainage channels. Adv. Sci. Tech. Water Res. 2024, 44, 64–72. [Google Scholar]
- Yang, M.; Li, Y.; Sun, X.; Wang, L. Numerical Simulation Study of an Artificial Percolation Riverbed and Its Hydraulic Characteristics under Different Reynolds Numbers. Water 2024, 16, 2791. [Google Scholar] [CrossRef]
- Quan, H.; Guo, Y.; Li, R.N.; Su, Q.M.; Yi, C. Optimization design and experimental study of vortex pump based on orthogonal test. Sci. Prog. 2020, 103, 0036850419881883. [Google Scholar] [CrossRef]
- Nan, J.H.; Luo, H.; Kangning, M.A.; Huan, G. Orthogonal numerical test method and application for body shape optimization of cyclonic sand discharge channels. J. Hydroelectr. Eng. 2022, 41, 160–169. [Google Scholar]
- Wang, Y.; Huo, X. Multiobjective optimization design and performance prediction of centrifugal pump based on orthogonal test. Adv. Mater. Sci. Eng. 2018, 2018, 6218178. [Google Scholar] [CrossRef]
- Chen, J.; Zheng, Y.; Zhang, L.; He, G.; Zou, Y.; Xiao, Z. Optimization of geometric parameters of hydraulic turbine runner in turbine mode based on the orthogonal test method and CFD. Energy Rep. 2022, 8, 14476–14487. [Google Scholar] [CrossRef]
- Liu, F.; Wang, C.; He, J.L. Experimental study on optimization of twisted nosecan body shape based on orthogonal design. South-to-North Water Transf. Water Sci. Technol. 2020, 18, 166–175. [Google Scholar]
- Zhang, C.; Yan, H.; Jamil, M.T.; Yu, Y. Improvement of the flow pattern of a forebay with a side-intake Pumping station by diversion piers based on orthogonal test method. Water 2022, 14, 2663. [Google Scholar] [CrossRef]
- Shen, Z.H.; Wang, C.; Zhang, J.; Qiu, S. Study on Part-Load Cavitation in High-Specific-Speed Centrifugal Pump. Water 2024, 16, 2180. [Google Scholar] [CrossRef]
- Yang, S.Q.; Tan, S.K.; Wang, X.K. Mechanism of secondary currents in open channel flows. J. Geophys. Res. Earth Surf. 2012, 117, F04014. [Google Scholar] [CrossRef]
- Zhang, K.Q. A preliminary study on the flow structure and sand discharge mechanism of spiral flow. J. Shihezi Univ. Nat. Sci. 1984, 1, 1–6. [Google Scholar]
- Zhang, Y.; Liu, J.; Zhang, Y.Z. Analytical study of spiral flow formation and its flow structure at the bottom of a canal. China Rural Water Hydropower 2009, 11, 53–55+57. [Google Scholar]
- Liu, R.J.; Zhang, Y.W.; Wen, C.W. Research on orthogonal experimental design and analysis methods. Lab. Technol. Manag. 2010, 27, 52–55. [Google Scholar]
- Fei, X.J. Sand-holding capacity and sand transport characteristics of suspended-mass flows. Sediment Res. 2003, 3, 30–34. [Google Scholar]
- Dou, G.R. Revisiting the sediment starting flow rate. China Water Resources Society. In Proceedings of the 2001 Annual Conference of the China Water Resources Society, Beijing, China, 30–31 October 2001. [Google Scholar]







| Parameter Level | i | ih | Wb | Wg | Θ (°) | Ω |
|---|---|---|---|---|---|---|
| J | K | L | M | N | O | |
| 1 | 0.01 | 0.01 | 0.10 | 0.25 | 15 | 5 |
| 2 | 0.02 | 0.02 | 0.20 | 0.50 | 30 | 10 |
| 3 | 0.04 | 0.04 | 0.40 | 1 | 45 | 15 |
| 4 | 0.08 | 0.08 | 0.80 | 2 | 60 | 20 |
| 5 | 0.16 | 0.16 | 1.00 | 4 | 75 | 25 |
| No. | Parameter Combination | No. | Parameter Combination | No. | Parameter Combination | No. | Parameter Combination | No. | Parameter Combination |
|---|---|---|---|---|---|---|---|---|---|
| 1 | J1K1L1M1N1O1 | 6 | J2K1L2M3N4O5 | 11 | J3K1L3M5N2O4 | 16 | J4K1L4M2N5O3 | 21 | J5K1L5M4N3O2 |
| 2 | J1K2L2M2N2O2 | 7 | J2K2L3M4N5O1 | 12 | J3K2L4M1N3O5 | 17 | J4K2L5M3N1O4 | 22 | J5K2L1M5N4O3 |
| 3 | J1K3L3M3N3O3 | 8 | J2K3L4M5N1O2 | 13 | J3K3L5M2N4O1 | 18 | J4K3L1M4N2O5 | 23 | J5K3L2M1N5O4 |
| 4 | J1K4L4M4N4O4 | 9 | J2K4L5M1N2O3 | 14 | J3K4L1M3N5O2 | 19 | J4K4L2M5N3O1 | 24 | J5K4L3M2N1O5 |
| 5 | J1K5L5M5N5O5 | 10 | J2K5L1M2N3O4 | 15 | J3K5L2M4N1O3 | 20 | J4K5L3M1N4O2 | 25 | J5K5L4M3N2O1 |
| Level | Vr (m/s) | Q (m3/s) | ||||||||||
|---|---|---|---|---|---|---|---|---|---|---|---|---|
| J | K | L | M | N | O | J | K | L | M | N | O | |
| 1 | 0.52 | 0.89 | 0.98 | 0.94 | 0.89 | 0.80 | 3.34 | 3.52 | 3.99 | 3.67 | 4.10 | 3.79 |
| 2 | 0.77 | 0.84 | 0.76 | 0.85 | 1.05 | 0.89 | 3.70 | 3.96 | 3.85 | 3.66 | 4.01 | 3.49 |
| 3 | 0.89 | 0.82 | 0.92 | 0.85 | 0.75 | 0.85 | 3.64 | 3.65 | 3.58 | 4.22 | 3.65 | 3.71 |
| 4 | 0.97 | 0.93 | 0.87 | 0.86 | 0.80 | 0.95 | 3.85 | 3.80 | 3.65 | 3.78 | 3.53 | 3.88 |
| 5 | 1.16 | 0.84 | 0.79 | 0.83 | 0.84 | 0.84 | 4.10 | 3.69 | 3.56 | 3.30 | 3.33 | 3.76 |
| Rj | 0.64 | 0.11 | 0.22 | 0.12 | 0.30 | 0.15 | 0.76 | 0.44 | 0.43 | 0.92 | 0.77 | 0.39 |
| rank | 1 | 6 | 3 | 5 | 2 | 4 | 3 | 4 | 5 | 1 | 2 | 6 |
| Level | Vr (m/s) | Q (m3/s) | ||||||||||
|---|---|---|---|---|---|---|---|---|---|---|---|---|
| J | K | L | M | N | O | J | K | L | M | N | O | |
| 1 | 0.67 | 1.10 | 1.24 | 1.21 | 1.13 | 1.01 | 4.41 | 4.58 | 4.96 | 4.76 | 5.34 | 4.93 |
| 2 | 0.98 | 1.08 | 0.94 | 1.08 | 1.36 | 1.13 | 4.65 | 4.98 | 4.93 | 4.80 | 5.32 | 4.54 |
| 3 | 1.10 | 1.09 | 1.13 | 1.04 | 0.96 | 1.09 | 4.71 | 4.79 | 4.64 | 5.42 | 4.63 | 4.82 |
| 4 | 1.27 | 1.18 | 1.15 | 1.08 | 1.02 | 1.21 | 4.86 | 5.07 | 4.79 | 4.84 | 4.49 | 4.97 |
| 5 | 1.51 | 1.07 | 1.07 | 1.11 | 1.06 | 1.08 | 5.54 | 4.75 | 4.84 | 4.34 | 4.40 | 4.90 |
| Rj | 0.84 | 0.11 | 0.30 | 0.17 | 0.40 | 0.20 | 1.12 | 0.49 | 0.32 | 1.09 | 0.94 | 0.43 |
| rank | 1 | 6 | 3 | 5 | 2 | 4 | 1 | 4 | 6 | 2 | 3 | 5 |
| Level | Vr (m/s) | Q (m3/s) | ||||||||||
|---|---|---|---|---|---|---|---|---|---|---|---|---|
| J | K | L | M | N | O | J | K | L | M | N | O | |
| 1 | 0.79 | 1.29 | 1.43 | 1.43 | 1.31 | 1.21 | 5.51 | 5.29 | 5.77 | 5.32 | 5.59 | 5.30 |
| 2 | 1.12 | 1.25 | 1.09 | 1.26 | 1.57 | 1.35 | 5.11 | 5.35 | 5.00 | 6.06 | 5.59 | 5.28 |
| 3 | 1.33 | 1.27 | 1.32 | 1.24 | 1.18 | 1.24 | 5.43 | 5.36 | 5.48 | 5.17 | 5.40 | 5.53 |
| 4 | 1.48 | 1.40 | 1.39 | 1.29 | 1.18 | 1.39 | 5.62 | 5.40 | 5.81 | 5.31 | 5.30 | 5.45 |
| 5 | 1.81 | 1.31 | 1.29 | 1.31 | 1.28 | 1.33 | 5.55 | 5.81 | 5.14 | 5.35 | 5.33 | 5.64 |
| Rj | 1.02 | 0.15 | 0.34 | 0.19 | 0.39 | 0.17 | 0.51 | 0.52 | 0.81 | 0.90 | 0.29 | 0.37 |
| rank | 1 | 6 | 3 | 4 | 2 | 5 | 4 | 3 | 2 | 1 | 6 | 5 |
| q (m2/s) | Level | J | K | L | M | N | O |
|---|---|---|---|---|---|---|---|
| 0.3 | P (Vr) | 0.001 | 0.967 | 0.713 | 0.971 | 0.467 | 0.934 |
| P (Q) | 0.302 | 0.806 | 0.734 | 0.128 | 0.136 | 0.881 | |
| 0.6 | P (Vr) | 0.002 | 0.992 | 0.768 | 0.963 | 0.442 | 0.943 |
| P (Q) | 0.129 | 0.859 | 0.967 | 0.219 | 0.071 | 0.908 | |
| 0.9 | P (Vr) | 0.004 | 0.988 | 0.765 | 0.965 | 0.586 | 0.966 |
| P (Q) | 0.681 | 0.637 | 0.066 | 0.081 | 0.897 | 0.855 |
| No. | 0.3 | 0.6 | 0.9 |
|---|---|---|---|
| S (kg/m3) | |||
| q (m2/s) | |||
| Combination 1 | 3.28 | 4.74 | 5.71 |
| Combination 2 | 3.29 | 5.07 | 6.29 |
| Combination 3 | 3.71 | 5.87 | 7.53 |
| Combination 4 | 4.53 | 7.24 | 9.55 |
| Combination 5 | 4.98 | 7.45 | 9.75 |
| Combination 6 | 10.83 | 18.19 | 24.80 |
| Combination 7 | 7.40 | 11.00 | 13.45 |
| Combination 8 | 7.09 | 10.82 | 13.52 |
| Combination 9 | 7.07 | 11.20 | 14.36 |
| Combination 10 | 10.83 | 17.90 | 24.11 |
| Combination 11 | 22.40 | 36.57 | 48.91 |
| Combination 12 | 25.19 | 38.71 | 51.01 |
| Combination 13 | 15.27 | 24.76 | 31.02 |
| Combination 14 | 18.01 | 28.07 | 35.77 |
| Combination 15 | 20.10 | 31.92 | 41.85 |
| Combination 16 | 38.96 | 62.28 | 81.91 |
| Combination 17 | 71.89 | 80.36 | 99.31 |
| Combination 18 | 53.01 | 88.05 | 119.51 |
| Combination 19 | 37.88 | 61.28 | 77.80 |
| Combination 20 | 37.46 | 61.40 | 78.83 |
| Combination 21 | 63.23 | 110.48 | 149.09 |
| Combination 22 | 95.68 | 155.06 | 207.89 |
| Combination 23 | 115.04 | 182.23 | 245.13 |
| Combination 24 | 138.32 | 197.68 | 260.19 |
| Combination 25 | 79.09 | 133.06 | 174.17 |
| No. | 0.3 | 0.6 | 0.9 |
|---|---|---|---|
| S (kg/m3) | |||
| q (m2/s) | |||
| Combination 6 | 24.80 | ||
| Combination 10 | 17.90 | 24.11 | |
| Combination 11 | 22.40 | 36.57 | 48.91 |
| Combination 12 | 25.19 | 38.71 | 51.01 |
| Combination 13 | 15.27 | 24.76 | 31.02 |
| Combination 14 | 18.01 | 28.07 | 35.77 |
| Combination 15 | 20.10 | 31.92 | 41.85 |
| Combination 16 | 38.96 | 62.28 | 81.91 |
| Combination 17 | 71.89 | 80.36 | 99.31 |
| Combination 18 | 53.01 | 88.05 | 119.51 |
| Combination 19 | 37.88 | 61.28 | 77.80 |
| Combination 20 | 37.46 | 61.40 | 78.83 |
| Combination 21 | 63.23 | 110.48 | 149.09 |
| Combination 22 | 95.68 | 155.06 | 207.89 |
| Combination 23 | 115.04 | 182.23 | 245.13 |
| Combination 24 | 138.32 | 197.68 | 260.19 |
| Combination 25 | 79.09 | 133.06 | 174.17 |
| No. | q = 0.3 m2/s (kg/m3) | q = 0.6 m2/s (kg/m3) | q = 0.9 m2/s (kg/m3) |
|---|---|---|---|
| Combination 6 | 5.00 | ||
| Combination 10 | 4.92 | 5.74 | |
| Combination 11 | 3.23 | 4.28 | 4.99 |
| Combination 12 | 4.12 | 5.37 | 6.17 |
| Combination 13 | 3.84 | 4.93 | 5.71 |
| Combination 14 | 3.74 | 4.83 | 5.62 |
| Combination 15 | 3.26 | 4.15 | 4.81 |
| Combination 16 | 3.87 | 4.97 | 6.51 |
| Combination 17 | 3.57 | 4.35 | 5.43 |
| Combination 18 | 3.13 | 4.10 | 4.82 |
| Combination 19 | 3.71 | 4.74 | 5.28 |
| Combination 20 | 4.95 | 6.11 | 6.80 |
| Combination 21 | 3.37 | 4.52 | 4.94 |
| Combination 22 | 3.90 | 5.12 | 5.90 |
| Combination 23 | 4.30 | 6.00 | 6.56 |
| Combination 24 | 4.85 | 6.95 | 7.64 |
| Combination 25 | 4.07 | 5.10 | 5.95 |
Disclaimer/Publisher’s Note: The statements, opinions and data contained in all publications are solely those of the individual author(s) and contributor(s) and not of MDPI and/or the editor(s). MDPI and/or the editor(s) disclaim responsibility for any injury to people or property resulting from any ideas, methods, instructions or products referred to in the content. |
© 2024 by the authors. Licensee MDPI, Basel, Switzerland. This article is an open access article distributed under the terms and conditions of the Creative Commons Attribution (CC BY) license (https://creativecommons.org/licenses/by/4.0/).
Share and Cite
Yang, M.; Wang, L.; Sun, X.; Li, Y.; Zheng, L. Optimization Study of the Structural Parameters of an Artificial Percolation Intake Riverbed Based on a Numerical Orthogonal Test. Water 2024, 16, 3110. https://doi.org/10.3390/w16213110
Yang M, Wang L, Sun X, Li Y, Zheng L. Optimization Study of the Structural Parameters of an Artificial Percolation Intake Riverbed Based on a Numerical Orthogonal Test. Water. 2024; 16(21):3110. https://doi.org/10.3390/w16213110
Chicago/Turabian StyleYang, Ming, Lianle Wang, Xihuan Sun, Yongye Li, and Lijian Zheng. 2024. "Optimization Study of the Structural Parameters of an Artificial Percolation Intake Riverbed Based on a Numerical Orthogonal Test" Water 16, no. 21: 3110. https://doi.org/10.3390/w16213110
APA StyleYang, M., Wang, L., Sun, X., Li, Y., & Zheng, L. (2024). Optimization Study of the Structural Parameters of an Artificial Percolation Intake Riverbed Based on a Numerical Orthogonal Test. Water, 16(21), 3110. https://doi.org/10.3390/w16213110
