Design Method of Acoustic Metamaterials for Negative Refractive Index Acoustic Lenses Based on the Transmission-Line Theory
Abstract
1. Introduction
2. Methods
2.1. Distributed Transmission-Line Model and the Design Theory
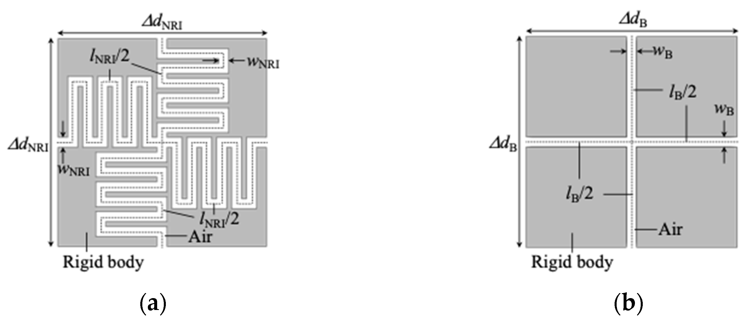
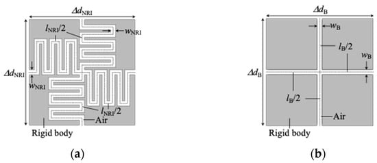
2.2. Proposed Structure
2.3. Acoustic NRI Lens Design
3. Results and Discussion
4. Conclusions
Author Contributions
Funding
Data Availability Statement
Conflicts of Interest
References
- Ding, Y.; Liu, Z.; Qiu, C.; Shi, J. Metamaterial with Simultaneously Negative Bulk Modulus and Mass Density. Phys. Rev. Lett. 2007, 99, 093904. [Google Scholar] [CrossRef] [PubMed]
- Zhang, S.; Yin, L.; Fang, N. Focusing Ultrasound with an Acoustic Metamaterial Network. Phys. Rev. Lett. 2009, 102, 194301. [Google Scholar] [CrossRef] [PubMed]
- Lee, S.H.; Park, C.M.; Seo, Y.M.; Wang, Z.G.; Kim, C.K. Composite Acoustic Medium with Simultaneously Negative Density and Modulus. Phys. Rev. Lett. 2010, 104, 054301. [Google Scholar] [CrossRef] [PubMed]
- Zhu, X.; Liang, B.; Kan, W.; Zou, X.-Y.; Cheng, J. Acoustic Cloaking by a Superlens with Single-Negative Materials. Phys. Rev. Lett. 2011, 106, 014301. [Google Scholar] [CrossRef]
- Zhu, J.; Christensen, J.; Jung, J.; Martin-Moreno, L.; Yin, X.; Fok, L.; Zhang, X.; Garcia-Vidal, F.J. A holey-structured metamaterial for acoustic deep-subwavelength imaging. Nat. Phys. 2010, 7, 52–55. [Google Scholar] [CrossRef]
- Liu, F.; Huang, X.; Chen, C.T. Dirac cones at k = 0 in acoustic crystals and zero refractive index acoustic meterials. Appl. Phys. Lett. 2012, 100, 071911. [Google Scholar] [CrossRef]
- Cheng, Y.; Zhou, C.; Wei, Q.; Wu, D.; Liu, X. Acoustic subwavelength imaging of subsurface objects with acoustic resonant metalens. Appl. Phys. Lett. 2013, 103, 224104. [Google Scholar] [CrossRef]
- Hladky-Hennion, A.-C.; Vasseur, J.O.; Haw, G.; Croënne, C.; Haumesser, L.; Norris, A.N. Negative refraction of acoustic waves using a foam-like metallic structure. Appl. Phys. Lett. 2013, 102, 144103. [Google Scholar] [CrossRef]
- Zhou, X.; Assouar, M.B.; Oudich, M. Acoustic superfocusing by solid phononic crystals. Appl. Phys. Lett. 2014, 105, 233506. [Google Scholar] [CrossRef]
- Su, H.; Zhou, X.; Xu, X.; Hu, G. Experimental study on acoustic subwavelength imaging of holey-structured metamaterials by resonant tunneling. J. Acoust. Soc. Am. 2014, 135, 1686–1691. [Google Scholar] [CrossRef]
- Park, J.J.; Park, C.M.; Lee, K.J.B.; Lee, S.H. Acoustic superlens using membrane-based metamaterials. Appl. Phys. Lett. 2015, 106, 051901. [Google Scholar] [CrossRef]
- Yang, X.; Yin, J.; Yu, G.; Peng, L.; Wang, N. Acoustic superlens using Helmholtz-resonator-based metamaterials. Appl. Phys. Lett. 2015, 107, 193505. [Google Scholar] [CrossRef]
- Kaina, N.; Lemoult, F.; Fink, M.; Lerosey, G. Negative refractive index and acoustic superlens from multiple scattering in single negative metamaterials. Nature 2015, 525, 77–81. [Google Scholar] [CrossRef] [PubMed]
- Dubois, M.; Shi, C.; Zhu, X.; Wang, Y.; Zhang, X. Observation of acoustic Dirac-like cone and double zero refractive index. Nat. Commun. 2017, 8, 14871. [Google Scholar] [CrossRef]
- Chen, M.; Jiang, H.; Zhang, H.; Li, D.; Wang, Y. Design of an acoustic superlens using single-phase metamaterials with a star-shaped lattice structure. Sci. Rep. 2018, 8, 1861. [Google Scholar] [CrossRef]
- Cummer, S.A.; Schurig, D. One path to acoustic cloaking. New J. Phys. 2007, 9, 45. [Google Scholar] [CrossRef]
- Chen, H.; Chan, C.T. Acoustic cloaking in three dimensions using acoustic metamaterials. Appl. Phys. Lett. 2007, 91, 183518. [Google Scholar] [CrossRef]
- Norris, A. Acoustic cloaking theory. Proc. R. Soc. A Math. Phys. Eng. Sci. 2008, 464, 2411–2434. [Google Scholar] [CrossRef]
- Torrent, D.; Sánchez-Dehesa, J. Acoustic cloaking in two dimensions: A feasible approach. New J. Phys. 2008, 10, 063015. [Google Scholar] [CrossRef]
- Zhang, S.; Xia, C.; Fang, N. Broadband Acoustic Cloak for Ultrasound Waves. Phys. Rev. Lett. 2011, 106, 024301. [Google Scholar] [CrossRef]
- Zigoneanu, L.; Popa, B.-I.; Cummer, S.A. Three-dimensional broadband omnidirectional acoustic ground cloak. Nat. Mater. 2014, 13, 352–355. [Google Scholar] [CrossRef] [PubMed]
- Bi, Y.; Lu, W.; Ji, P.; Yang, J. Design and demonstration of an underwater acoustic carper cloak. Sci. Rep. 2017, 7, 705. [Google Scholar] [CrossRef] [PubMed]
- Kan, W.; Liang, B.; Zhu, X.; Li, R.; Zou, X.; Wu, H.; Yang, J.; Cheng, J. Acoustic Illusion near Boundaries of Arbitrary Curved Geometry. Sci. Rep. 2013, 3, 1427. [Google Scholar] [CrossRef] [PubMed]
- Kan, W.; Liang, B.; Li, R.; Jiang, X.; Zou, X.-Y.; Yin, L.-L.; Cheng, J. Three-dimensional broadband acoustic illusion cloak for sound-hard boundaries of curved geometry. Sci. Rep. 2016, 6, 36936. [Google Scholar] [CrossRef] [PubMed]
- Caloz, C.; Itoh, T. Application of the transmission line theory of left-handed (LH) materials to the realization of a microstrip “LH line”. IEEE Antennas Propag. Soc. Int. Symp. 2002, 2, 412–415. [Google Scholar] [CrossRef]
- Oliner, A.A. A periodic-structure negative-refractive-index medium without resonant elements. IEEE AP-S/URSI Int. Symp. Dig. 2002, 41, 10012635372. [Google Scholar]
- Eleftheriades, G.; Iyer, A.; Kremer, P. Planar negative refractive index media using periodically L-C loaded transmission lines. IEEE Trans. Microw. Theory Tech. 2002, 50, 2702–2712. [Google Scholar] [CrossRef]
- Sanada, A.; Caloz, C.; Itoh, T. Characteristics of the composite right/left-handed transmission lines. IEEE Microw. Wirel. Compon. Lett. 2004, 14, 68–70. [Google Scholar] [CrossRef]
- Sanada, A.; Caloz, C.; Itoh, T. Planar Distributed Structures with Negative Refractive Index. IEEE Trans. Microw. Theory Tech. 2004, 52, 1252–1263. [Google Scholar] [CrossRef]
- Nagayama, T.; Sanada, A. Planar Distributed Full-Tensor Anisotropic Metamaterials for Transformation Electromagnetics. IEEE Trans. Microw. Theory Technol. 2015, 63, 3851–3861. [Google Scholar] [CrossRef]
- Nagayama, T.; Sanada, A. Broadband transmission-line illusions based on transformation electromagnetic. EPJ Appl. Metamater. 2019, 6, 23. [Google Scholar] [CrossRef]
- Nagayama, T.; Fukushima, S.; Watanabe, T. Design Method for Negative Refractive Index Metamaterials by Using a Distributed Transmission-Line Model. In Proceedings of the 2020 IEEE International Symposium on Radio-Frequency Integration Technology (RFIT), Hiroshima, Japan, 2–4 September 2020; pp. 58–60. [Google Scholar] [CrossRef]
- Fang, N.; Xi, D.; Xu, J.; Ambati, M.; Srituravanich, W.; Sun, C.; Zhang, X. Ultrasonic metamaterials with negative modulus. Nat. Mater. 2006, 5, 452–456. [Google Scholar] [CrossRef] [PubMed]
- Bongard, F.; Lissek, H.; Mosig, J.R. Acoustic transmission line metamaterial with negative/zero/positive refractive index. Phys. Rev. B 2010, 82, 094306. [Google Scholar] [CrossRef]
- Liang, Z.; Li, J. Extreme Acoustic Metamaterial by Coiling Up Space. Phys. Rev. Lett. 2012, 108, 114301. [Google Scholar] [CrossRef]
- Xie, Y.; Popa, B.-I.; Zigoneanu, L.; Cummer, S.A. Measurement of a Broadband Negative Index with Space-Coiling Acoustic Metamaterials. Phys. Rev. Lett. 2013, 110, 175501. [Google Scholar] [CrossRef]
- Naify, C.J.; Layman, C.N.; Martin, T.P.; Nicholas, M.; Calvo, D.C.; Orris, G.J. Experimental realization of a variable index transmission line metamaterial as an acoustic leaky-wave antenna. Appl. Phys. Lett. 2013, 102, 203508. [Google Scholar] [CrossRef]
- Kim, W.-G.; Kang, H.S.; Jung, K.-I.; Yoon, S.W.; Lee, K.I. Experimental verification of zeroth-order resonance phenomenon in an acoustic composite right/left-handed metamaterial resonator. Jpn. J. Appl. Phys. 2019, 58, 080907. [Google Scholar] [CrossRef]
- Pendry, J.B. Negative Refraction Makes a Perfect Lens. Phys. Rev. Lett. 2000, 85, 3966–3969. [Google Scholar] [CrossRef]
- Caloz, C.; Sanada, A.; Itoh, T. Surface plasmons at the interface between right-handed and left-handed 2D metamaterials. IEEE AP-S Int. Symp. Dig. 2003, 3, 363–366. [Google Scholar] [CrossRef]
- Smith, D.R.; Schurig, D.; Rosenbluth, M.; Schultz, S.; Ramakrishna, S.A.; Pendry, J.B. Limitations on subdiffraction imaging with a negative refractive index slab. Appl. Phys. Lett. 2003, 82, 1506–1508. [Google Scholar] [CrossRef]
- Luo, C.; Johnson, S.G.; Joannopoulos, J.D.; Pendry, J.B. Subwavelength imaging in photonic crystals. Phys. Rev. B 2003, 68, 045115. [Google Scholar] [CrossRef]
- Veres, I.A.; Berer, T.; Matsuda, O.; Burgholzer, P. Focusing and subwavelength imaging of surface acoustic waves in a solid-air phononic crystal. J. Appl. Phys. 2012, 112, 053504. [Google Scholar] [CrossRef]
- Ma, F.; Huang, Z.; Liu, C.; Wu, J.H. Acoustic focusing and imaging via phononic crystal and acoustic metamaterials. J. Appl. Phys. 2022, 131, 011103. [Google Scholar] [CrossRef]







Publisher’s Note: MDPI stays neutral with regard to jurisdictional claims in published maps and institutional affiliations. |
© 2022 by the authors. Licensee MDPI, Basel, Switzerland. This article is an open access article distributed under the terms and conditions of the Creative Commons Attribution (CC BY) license (https://creativecommons.org/licenses/by/4.0/).
Share and Cite
Takegami, I.; Nagayama, T.; Fukushima, S.; Watanabe, T. Design Method of Acoustic Metamaterials for Negative Refractive Index Acoustic Lenses Based on the Transmission-Line Theory. Crystals 2022, 12, 1655. https://doi.org/10.3390/cryst12111655
Takegami I, Nagayama T, Fukushima S, Watanabe T. Design Method of Acoustic Metamaterials for Negative Refractive Index Acoustic Lenses Based on the Transmission-Line Theory. Crystals. 2022; 12(11):1655. https://doi.org/10.3390/cryst12111655
Chicago/Turabian StyleTakegami, Ibuki, Tsutomu Nagayama, Seiji Fukushima, and Toshio Watanabe. 2022. "Design Method of Acoustic Metamaterials for Negative Refractive Index Acoustic Lenses Based on the Transmission-Line Theory" Crystals 12, no. 11: 1655. https://doi.org/10.3390/cryst12111655
APA StyleTakegami, I., Nagayama, T., Fukushima, S., & Watanabe, T. (2022). Design Method of Acoustic Metamaterials for Negative Refractive Index Acoustic Lenses Based on the Transmission-Line Theory. Crystals, 12(11), 1655. https://doi.org/10.3390/cryst12111655

