Textile Wastewater Coupled Treatment Implementing Enhanced Ozonation with Fenton-like Processes and Phytoremediation
Abstract
1. Introduction
2. Results and Discussion
2.1. Physicochemical Characterization of the Wastewater Initial Sample
2.2. Ozonation/Fenton-like Process with PMPCu
2.2.1. Preliminary Tests
2.2.2. Influence of Ozone Flow
2.2.3. Influence of the Initial pH
2.2.4. Effect of the Added Catalyst
2.2.5. Influence of Mass Added to the PMPCu Process
2.2.6. UV–Vis Spectroscopy Analysis of Dye Degradation
2.3. Experimental Process of Phytoremediation with WTOFL
2.3.1. Evaluation of Chlorophylls and Carotenes in M. aquaticum
2.3.2. Determination of Copper in Post-Treatment Water
2.3.3. Characterization of Copper Particles in Pumice
3. Material and Methods
3.1. Collection and Physicochemical Characterization of the Wastewater Sample
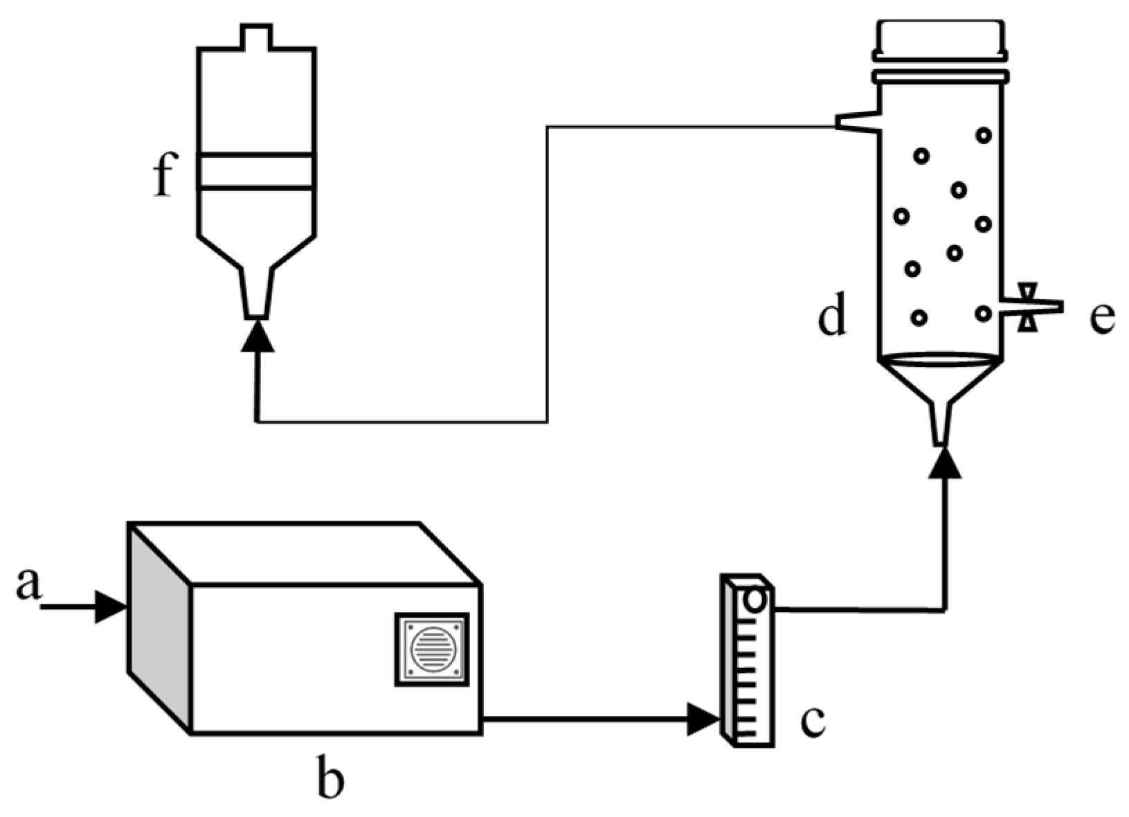
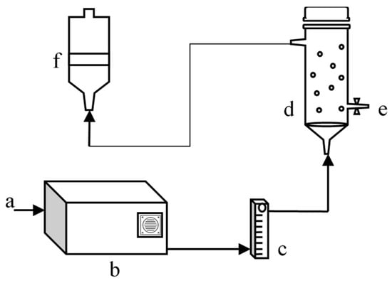
3.2. Ozonation–Fenton-like Process
3.3. Preparation and Characterization of Copper Particles in Pumice
3.4. Experimental Process of Phytoremediation
3.4.1. Preliminary Tests
3.4.2. Phytoremediation Kinetic
3.5. Collect, Acclimatization, and Determination of the Health Status of M. aquaticum
4. Conclusions
Author Contributions
Funding
Data Availability Statement
Acknowledgments
Conflicts of Interest
References
- Ghaly, A.E.; Ananthashankar, R.; Alhattab, M.; Ramakrishnan, V.V. Production, Characterization and Treatment of Textile Effluents: A Critical Review. J. Chem. Eng. Process Technol. 2014, 5, 1–19. [Google Scholar] [CrossRef]
- Malik, S.N.; Ghosh, P.C.; Vaidya, A.N.; Mudliar, S.N. Catalytic ozone pretreatment of complex textile effluent using Fe2+ and zero valent iron nanoparticles. J. Hazard. Mater. 2018, 357, 363–375. [Google Scholar] [CrossRef] [PubMed]
- Nakhate, P.H.; Gadipelly, C.R.; Joshi, N.T.; Marathe, K.V. Engineering aspects of catalytic ozonation for purification of real textile industry wastewater at the pilot scale. J. Ind. Eng. Chem. 2019, 69, 77–89. [Google Scholar] [CrossRef]
- Ghuge, S.P.; Saroha, A.K. Catalytic ozonation of dye industry effluent using mesoporous bimetallic Ru-Cu/SBA-15 catalyst. Process Saf. Environ. Prot. 2018, 118, 125–132. [Google Scholar] [CrossRef]
- Qu, R.; Xu, B.; Meng, L.; Wang, L.; Wang, Z. Ozonation of indigo enhanced by carboxylated carbon nanotubes: Performance optimization, degradation products, reaction mechanism and toxicity evaluation. Water Res. 2015, 68, 316–327. [Google Scholar] [CrossRef]
- Turhan, K.; Durukan, I.; Ozturkcan, S.A.; Turgut, Z. Decolorization of textile basic dye in aqueous solution by ozone. Dye. Pigment. 2012, 92, 897–901. [Google Scholar] [CrossRef]
- Benkhaya, S.; El Harfi, S.; El Harfi, A. Classifications, properties and applications of textile dyes: A review. Appl. J. Environ. Eng. Sci. 2017, 3, 311–320. [Google Scholar]
- Chandanshive, V.V.; Kadam, S.K.; Khandare, R.V.; Kurade, M.B.; Jeon, B.; Jadhav, J.P.; Govindwar, S.P. In situ phytoremediation of dyes from textile wastewater using garden ornamental plants, effect on soil quality and plant growth. Chemosphere 2018, 210, 968–976. [Google Scholar] [CrossRef] [PubMed]
- Temesgen, F.; Gabbiye, N.; Sahu, O. Biosorption of reactive red dye (RRD) on activated surface of banana and orange peels: Economical alternative for textile effluent. Surf. Interfaces 2018, 12, 151–159. [Google Scholar] [CrossRef]
- Sood, S.; Kumar, S.; Umar, A.; Kaur, A.; Mehta, S.K.; Kansal, S.K. TiO2 quantum dots for the photocatalytic degradation of indigo carmine dye. J. Alloys Compd. 2015, 650, 193–198. [Google Scholar] [CrossRef]
- Shayesteh, H.; Rahbar-Kelishami, A.; Norouzbeigi, R. Evaluation of natural and cationic surfactant modified pumice for congo red removal in batch mode: Kinetic, equilibrium, and thermodynamic studies. J. Mol. Liq. 2016, 221, 1–11. [Google Scholar] [CrossRef]
- Ghuge, S.P.; Saroha, A.K. Catalytic ozonation for the treatment of synthetic and industrial ef fl uents—Application of mesoporous materials: A review. J. Environ. Manag. 2018, 211, 83–102. [Google Scholar] [CrossRef] [PubMed]
- Hassaan, M.A.; El Nemr, A.; Madkour, F.F. Advanced oxidation processes of Mordant Violet 40 dye in freshwater and seawater. Egypt. J. Aquat. Res. 2017, 43, 1–9. [Google Scholar] [CrossRef]
- Zhong, H.; Duan, L.; Ye, P.; Li, X.; Xu, A.; Peng, Q. Synthesis of cobalt–nitrogen-doped mesoporous carbon from chitosan and its performance for pollutant degradation as Fenton-like catalysts. Res. Chem. Intermed. 2019, 45, 907–918. [Google Scholar] [CrossRef]
- Bilińska, L.; Blus, K.; Gmurek, M.; Ledakowicz, S. Coupling of electrocoagulation and ozone treatment for textile wastewater reuse. Chem. Eng. J. 2019, 358, 992–1001. [Google Scholar] [CrossRef]
- Liang, J.; Ning, X.; Sun, J.; Song, J.; Hong, Y.; Cai, H. An integrated permanganate and ozone process for the treatment of textile dyeing wastewater: Ef fi ciency and mechanism. J. Clean. Prod. 2018, 204, 12–19. [Google Scholar] [CrossRef]
- Liu, Y.; Chen, Z.; Gong, W.; Dou, Y.; Wang, S.; Wang, W. Structural characterizations of zinc-copper silicate polymer (ZCSP) and its mechanisms of ozonation for removal of p-chloronitrobenzene in aqueous solution. Sep. Purif. Technol. 2017, 172, 251–257. [Google Scholar] [CrossRef]
- Goyes, R.E.P.; Uribe, J.M.; González, I.; Torres-Palma, R.A. Tratamiento de aguas residuales provenientes de la industria textil mediante oxidación electroquímica. Rev. Colomb. Mater. 2013, 4, 93–108. [Google Scholar] [CrossRef]
- Torres-Blancas, T.; Roa-Morales, G.; Barrera-Díaz, C.; Ureña-Nuñez, F.; Cruz-Olivares, J.; Balderas-Hernández, P.; Natividad, R. Ozonation of Indigo Carmine Enhanced by Fe / Pimenta dioica L. Merrill Particles. Int. J. Photoenergy 2015, 2015, 608412. [Google Scholar] [CrossRef]
- Asghar, A.; Raman, A.A.A.; Daud, W.M.A.W. Advanced oxidation processes for in-situ production of hydrogen peroxide/hydroxyl radical for textile wastewater treatment: A review. J. Clean. Prod. 2015, 87, 826–838. [Google Scholar] [CrossRef]
- Wang, N.; Zheng, T.; Zhang, G.; Wang, P. A review on Fenton-like processes for organic wastewater treatment. J. Environ. Chem. Eng. 2016, 4, 762–787. [Google Scholar] [CrossRef]
- Bokare, A.D.; Choi, W. Review of iron-free Fenton-like systems for activating H2O2 in advanced oxidation processes. J. Hazard. Mater. 2014, 275, 121–135. [Google Scholar] [CrossRef] [PubMed]
- Bashiri, H.; Rafiee, M. Kinetic Monte Carlo simulation of 2,4,6-thrichloro phenol ozonation in the presence of ZnO nanocatalyst. J. Saudi Chem. Soc. 2016, 20, 474–479. [Google Scholar] [CrossRef]
- Hu, E.; Wu, X.; Shang, S.; Tao, X.; Jiang, S.; Gan, L. Catalytic ozonation of simulated textile dyeing wastewater using mesoporous carbon aerogel supported copper oxide catalyst. J. Clean. Prod. 2015, 112, 4710–4718. [Google Scholar] [CrossRef]
- Yuan, L.; Shen, J.; Chen, Z.; Liu, Y. Pumice-catalyzed ozonation degradation of p-chloronitrobenzene in aqueous solution. Appl. Catal. B Environ. 2012, 117–118, 414–419. [Google Scholar] [CrossRef]
- Asgari, G.; Roshani, B.; Ghanizadeh, G. The investigation of kinetic and isotherm of fluoride adsorption onto functionalize pumice stone. J. Hazard. Mater. 2012, 217–218, 123–132. [Google Scholar] [CrossRef]
- Helard, D.; Indah, S.; Sari, C.M.; Mariesta, H. The Adsorption and Regeneration of Natural Pumice as Low-Cost Adsorbent for Nitrate Removal From Water. J. Geosci. Eng. Environ. Technol. 2018, 3, 86–93. [Google Scholar] [CrossRef]
- Indah, S.; Helard, D.; Edwin, T.; Pratiwi, R. Utilization of pumice from Sungai Pasak, West Sumatera, Indonesia as low-cost adsorbent in removal of manganese from aqueous solution. AIP Conf. Proc. 2017, 1823, 020072. [Google Scholar]
- Heibati, B.; Rodriguez-Couto, S.; Turan, N.G.; Ozgonenel, O.; Albadarin, A.B.; Asif, M.; Tyagi, I.; Agarwal, S.; Gupta, V.K. Removal of noxious dye—Acid Orange 7 from aqueous solution using natural pumice and Fe-coated pumice stone. J. Ind. Eng. Chem. 2015, 31, 124–131. [Google Scholar] [CrossRef]
- Deganello, F.; Liotta, L.F.; Macaluso, A.; Venezia, A.M.; Deganello, G. Catalytic reduction of nitrates and nitrites in water solution on pumice-supported Pd-Cu catalysts. Appl. Catal. B Environ. 2000, 24, 265–273. [Google Scholar] [CrossRef]
- Kitis, M.; Karakaya, E.; Yigit, N.O.; Civelekoglu, G.; Akcil, A. Heterogeneous catalytic degradation of cyanide using copper-impregnated pumice and hydrogen peroxide. Water Res. 2005, 39, 1652–1662. [Google Scholar] [CrossRef] [PubMed]
- Rahmani, A.R.; Jorfi, S.; Asgari, G.; Zamani, F.; Almasi, H.; Masoumi, Z. A comparative study on the removal of pentachlorophenol using copper-impregnated pumice and zeolite. J. Environ. Chem. Eng. 2018, 6, 3342–3348. [Google Scholar] [CrossRef]
- Venkatesh, S.; Venkatesh, K.; Quaff, A.R. Dye decomposition by combined ozonation and anaerobic treatment: Cost effective technology. J. Appl. Res. Technol. 2017, 15, 340–345. [Google Scholar] [CrossRef]
- Odoh, C.K.; Zabbey, N.; Sam, K.; Eze, C.N. Status, progress and challenges of phytoremediation—An African scenario. J. Environ. Manag. 2019, 237, 365–378. [Google Scholar] [CrossRef] [PubMed]
- Ahila, K.G.; Ravindran, B.; Muthunarayanan, V.; Nguyen, D.D.; Nguyen, X.C.; Chang, S.W.; Nguyen, V.K.; Thamaraiselvi, C. Phytoremediation potential of freshwater macrophytes for treating dye-containing wastewater. Sustainability 2021, 13, 329. [Google Scholar] [CrossRef]
- Menone, M.L.; Metcalfe, C. (Eds.) The Ecotoxicology of Aquatic Macrophytes; Springer Nature: Cham, Switzerland, 2023; ISBN 9783031278327. [Google Scholar]
- Ghuge, S.P.; Saroha, A.K. Ozonation of Reactive Orange 4 dye aqueous solution using mesoporous Cu/SBA-15 catalytic material. J. Water Process Eng. 2018, 23, 217–229. [Google Scholar] [CrossRef]
- Torres-Blancas, T.; Roa-Morales, G.; Ureña-Núñez, F.; Barrera-Díaz, C.; Dorazco-González, A.; Natividad, R. Ozonation enhancement by Fe–Cu biometallic particles. J. Taiwan Inst. Chem. Eng. 2017, 74, 225–232. [Google Scholar] [CrossRef]
- Yuan, L.; Shen, J.; Chen, Z.; Guan, X. Role of Fe/pumice composition and structure in promoting ozonation reactions. Appl. Catal. B Environ. 2016, 180, 707–714. [Google Scholar] [CrossRef]
- Rane, N.R.; Patil, S.M.; Chandanshive, V.V.; Kadam, S.K.; Khandare, R.V.; Jadhav, J.P.; Govindwar, S.P. Ipomoea hederifolia rooted soil bed and Ipomoea aquatica rhizofiltration coupled phytoreactors for efficient treatment of textile wastewater. Water Res. 2016, 96, 1–11. [Google Scholar] [CrossRef]
- Chandanshive, V.V.; Rane, N.R.; Gholave, A.R.; Patil, S.M.; Jeon, B.; Govindwar, S.P. Efficient decolorization and detoxi fi cation of textile industry ef fl uent by Salvinia molesta in lagoon treatment. Environ. Res. 2016, 150, 88–96. [Google Scholar] [CrossRef]
- Vafaei, F.; Movafeghi, A.; Khataee, A.R.; Zarei, M.; Salehi Lisar, S.Y. Potential of Hydrocotyle vulgaris for phytoremediation of a textile dye: Inducing antioxidant response in roots and leaves. Ecotoxicol. Environ. Saf. 2013, 93, 128–134. [Google Scholar] [CrossRef]
- Kagalkar, A.N.; Jagtap, U.B.; Jadhav, J.P.; Bapat, V.A.; Govindwar, S.P. Biotechnological strategies for phytoremediation of the sulfonated azo dye Direct Red 5B using Blumea malcolmii Hook. Bioresour. Technol. 2009, 100, 4104–4110. [Google Scholar] [CrossRef] [PubMed]
- Watharkar, A.D.; Jadhav, J.P. Detoxification and decolorization of a simulated textile dye mixture by phytoremediation using Petunia grandiflora and, Gailardia grandiflora: A plant-plant consortial strategy. Ecotoxicol. Environ. Saf. 2014, 103, 1–8. [Google Scholar] [CrossRef]
- Liu, F.; Zhang, S.; Luo, P.; Zhuang, X.; Chen, X.; Wu, J. Purification and reuse of non-point source wastewater via Myriophyllum-based integrative biotechnology: A review. Bioresour. Technol. 2018, 248, 3–11. [Google Scholar] [CrossRef] [PubMed]
- Arshid, S.; Wani, A.A.; Ganie, A.H.; Khuroo, A.A. On correct identification, range expansion and management implications of Myriophyllum aquaticum in Kashmir Himalaya, India. Check List 2011, 7, 299–302. [Google Scholar] [CrossRef]
- Colzi, I.; Lastrucci, L.; Rangoni, M.; Coppi, A.; Gonnelli, C. Using Myriophyllum aquaticum (Vell.) Verdc. to remove heavy metals from contaminated water: Better dead or alive? J. Environ. Manag. 2018, 213, 320–328. [Google Scholar] [CrossRef]
- Luo, P.; Liu, F.; Liu, X.; Wu, X.; Yao, R.; Chen, L.; Li, X.; Xiao, R.; Wu, J. Phosphorus removal from lagoon-pretreated swine wastewater by pilot-scale surface flow constructed wetlands planted with Myriophyllum aquaticum. Sci. Total Environ. 2017, 576, 490–497. [Google Scholar] [CrossRef] [PubMed]
- Souza, F.A.; Dziedzic, M.; Cubas, S.A.; Maranho, L.T. Restoration of polluted waters by phytoremediation using Myriophyllum aquaticum (Vell.) Verdc., Haloragaceae. J. Environ. Manag. 2013, 120, 5–9. [Google Scholar] [CrossRef]
- Cui, J.; Wang, W.; Li, J.; Du, J.; Chang, Y.; Liu, X.; Hu, C.; Cui, J.; Liu, C.; Yao, D. Removal effects of Myriophyllum aquaticum on combined pollutants of nutrients and heavy metals in simulated swine wastewater in summer. Ecotoxicol. Environ. Saf. 2021, 213, 112032. [Google Scholar] [CrossRef] [PubMed]
- Harguinteguy, C.A.; Cofré, M.N.; Fernández-Cirelli, A.; Pignata, M.L. The macrophytes Potamogeton pusillus L. and Myriophyllum aquaticum (Vell.) Verdc. as potential bioindicators of a river contaminated by heavy metals. Microchem. J. 2016, 124, 228–234. [Google Scholar] [CrossRef]
- Inchaurrondo, N.; di Luca, C.; Žerjav, G.; Grau, J.M.; Pintar, A.; Haure, P. Catalytic ozonation of an azo-dye using a natural aluminosilicate. Catal. Today 2019, 361, 24–29. [Google Scholar] [CrossRef]
- Wang, J.; Chen, H. Catalytic ozonation for water and wastewater treatment: Recent advances and perspective. Sci. Total Environ. 2020, 704, 135249. [Google Scholar] [CrossRef]
- Nawrocki, J. Catalytic ozonation in water: Controversies and questions. Discussion paper. Appl. Catal. B Environ. 2013, 142–143, 465–471. [Google Scholar] [CrossRef]
- Wang, Y.; Yu, G. Challenges and pitfalls in the investigation of the catalytic ozonation mechanism: A critical review. J. Hazard. Mater. 2022, 436, 129–157. [Google Scholar] [CrossRef]
- Porras, J.; Giannakis, S.; Torres-Palma, R.A.; Fernandez, J.J.; Bensimon, M.; Pulgarin, C. Fe and Cu in humic acid extracts modify bacterial inactivation pathways during solar disinfection and photo-Fenton processes in water. Appl. Catal. B Environ. 2018, 235, 75–83. [Google Scholar] [CrossRef]
- Rekhate, C.V.; Srivastava, J.K. Recent advances in ozone-based advanced oxidation processes for treatment of wastewater- A review. Chem. Eng. J. Adv. 2020, 3, 100031. [Google Scholar] [CrossRef]
- Matavos-Aramyan, S.; Moussavi, M. Advances in Fenton and Fenton Based Oxidation Processes for Industrial Effluent Contaminants Control-A Review. Int. J. Environ. Sci. Nat. Resour. 2017, 2, 555594. [Google Scholar] [CrossRef]
- Van, H.T.; Nguyen, L.H.; Hoang, T.K.; Tran, T.P.; Vo, A.T.; Pham, T.T.; Nguyen, X.C. Using FeO-constituted iron slag wastes as heterogeneous catalyst for Fenton and ozonation processes to degrade Reactive Red 24 from aqueous solution. Sep. Purif. Technol. 2019, 224, 431–442. [Google Scholar] [CrossRef]
- Volkov, V.V.; Chelli, R.; Righini, R.; Perry, C.C. Indigo chromophores and pigments: Structure and dynamics. Dye. Pigment. 2020, 172, 107761. [Google Scholar] [CrossRef]
- Ikehata, K.; Li, Y. Ozone-Based Processes. In Advanced Oxidation Processes for Waste Water Treatment; Academic Press: Cambridge, MA, USA, 2018; pp. 115–134. [Google Scholar] [CrossRef]
- Rosales-Landeros, C.; Barrera-Díaz, C.E.; Amaya-Chávez, A.; Roa-Morales, G. Evaluación Fisicoquímica y Toxicológica De Un Sistema Acoplado de Electrooxidación—Ozonación Para La. Universidad Autónoma del Estado de México: Toluca, Mexico, 2018. [Google Scholar]
- Chowdhury, M.F.; Khandaker, S.; Sarker, F.; Islam, A.; Rahman, M.T.; Awual, M.R. Current treatment technologies and mechanisms for removal of indigo carmine dyes from wastewater: A review. J. Mol. Liq. 2020, 318, 114061. [Google Scholar] [CrossRef]
- Lichtenthaler, H.K. Chlorophylls and carotenoids: Pigments of photosynthetic biomembranes. Methods Enzym. 1987, 148, 350–382. [Google Scholar]
- Harguinteguy, C.A.; Schreiber, R.; Pignata, M.L. Myriophyllum aquaticum as a biomonitor of water heavy metal input related to agricultural activities in the Xanaes River (Córdoba, Argentina). Ecol. Indic. 2013, 27, 8–16. [Google Scholar] [CrossRef]
- Krayem, M.; Deluchat, V.; Hourdin, P.; Fondaneche, P.; Lecavelier Des Etangs, F.; Kazpard, V.; Moesch, C.; Labrousse, P. Combined effect of copper and hydrodynamic conditions on Myriophyllum alterni fl orum biomarkers. Chemosphere 2018, 199, 427–434. [Google Scholar] [CrossRef] [PubMed]
- Romero-Hernández, J.A.; Amaya-Chávez, A.; Balderas-Hernández, P.; Roa-Morales, G.; González-Rivas, N.; Balderas-Plata, M.A. Tolerance and hyperaccumulation of a mixture of heavy metals (Cu, Pb, Hg, and Zn) by four aquatic macrophytes. Int. J. Phytoremediat. 2017, 19, 239–245. [Google Scholar] [CrossRef] [PubMed]
- Angı, A.; Sanlı, D.; Erkey, C.; Birer, Ö. Catalytic activity of copper (II) oxide prepared via ultrasound assisted Fenton-like reaction. Ultrason. Sonochem. 2014, 21, 854–859. [Google Scholar] [CrossRef]
- Ghidan, A.Y.; Al-antary, T.M.; Awwad, A.M. Green synthesis of copper oxide nanoparticles using Punica granatum peels extract: Effect on green peach Aphid. Environ. Nanotechnol. Monit. Manag. 2016, 6, 95–98. [Google Scholar] [CrossRef]
- Reddy, K.R. Green synthesis, morphological and optical studies of CuO nanoparticles. J. Mol. Struct. 2017, 1150, 553–557. [Google Scholar] [CrossRef]
- Yulizar, Y.; Bakri, R.; Apriandanu, D.O.B.; Hidayat, T. ZnO/CuO nanocomposite prepared in one-pot green synthesis using seed bark extract of Theobroma cacao. Nano Struct. Nano Objects 2018, 16, 300–305. [Google Scholar] [CrossRef]
- Suárez-Cerda, J.; Espinoza-Gómez, H.; Alonso-Núñez, G.; Rivero, I.; Gochi-Ponce, Y.; Flores-López, L. A green synthesis of copper nanoparticles using native cyclodextrins as stabilizing agents. J. Saudi Chem. Soc. 2017, 21, 341–348. [Google Scholar] [CrossRef]
- Nagar, N.; Devra, V. Green synthesis and characterization of copper nanoparticles using Azadirachta indica leaves. Mater. Chem. Phys. 2018, 213, 44–51. [Google Scholar] [CrossRef]
- Zhu, Y.; Zhu, R.; Xi, Y.; Zhu, J.; Zhu, G.; He, H. Strategies for enhancing the heterogeneous Fenton catalytic reactivity: A review. Appl. Catal. B Environ. 2019, 255, 117739. [Google Scholar] [CrossRef]
- Paździor, K.; Bilińska, L.; Ledakowicz, S. A review of the existing and emerging technologies in the combination of AOPs and biological processes in industrial textile wastewater treatment. Chem. Eng. J. 2019, 376, 120597. [Google Scholar] [CrossRef]
- Oller, I.; Malato, S.; Sánchez-Pérez, J.A. Combination of Advanced Oxidation Processes and biological treatments for wastewater decontamination—A review. Sci. Total Environ. 2011, 409, 4141–4166. [Google Scholar] [CrossRef]
- Mahbub, P.; Duke, M. Scalability of advanced oxidation processes (AOPs) in industrial applications: A review. J. Environ. Manag. 2023, 345, 118861. [Google Scholar] [CrossRef]
- American Public Health Association; American Water Works Association; Water Environment Federation. Standard Methods for the Examination of Water and Wastewater, 22nd ed.; American Public Health Association: Washington, DC, USA, 2012; ISBN 9780875530130. [Google Scholar]
- Hernández-Jiménez, A.; Roa-Morales, G.; Reyes-Pérez, H.; Balderas-Hernández, P.; Barrera-Díaz, C.E.; Bernabé-Pineda, M. Voltammetric Determination of Metronidazole Using a Sensor Based on Electropolymerization of α-Cyclodextrin over a Carbon Paste Electrode. Electroanalysis 2016, 28, 704–710. [Google Scholar] [CrossRef]
- Radić, S.; Stipaničev, D.; Cvjetko, P.; Marijanović Rajčić, M.; Sirac, S.; Pevalek-Kozlina, B.; Pavlica, M. Duckweed Lemna minor as a tool for testing toxicity and genotoxicity of surface waters. Ecotoxicol. Environ. Saf. 2011, 74, 182–187. [Google Scholar] [CrossRef] [PubMed]
- Yang, C.-M.; Chang, K.-W.; Yin, M.-H.; Huang, H.-M. Method and Determination of the Chlorophyll and their Derivates. Taiwania 1998, 43, 116–122. [Google Scholar]
- Cano-Rodríguez, C.T.; Amaya-Chávez, A.; Roa-Morales, G.; Barrera-Díaz, C.E.; Ureña-Núñez, F. An integrated electrocoagulation-phytoremediation process for the treatment of mixed industrial wastewater. Int. J. Phytoremediat. 2010, 12, 772–784. [Google Scholar] [CrossRef] [PubMed]
- Murashige, T.; Skoog, F. A Revised Medium for Rapid Growth and Bio Assays with Tobacco Tissue Cultures. Physiol. Plant. 1962, 15, 473–497. [Google Scholar] [CrossRef]














| Process | Catalyst | Optimum Conditions | Remotion Efficiency | Reference |
|---|---|---|---|---|
| Catalytic ozonation | Cu catalyst supported in SBA-15 mesoporous | [RO4 azo] = 100 mg/L [O3] = 5 g/m3 [Cu]/SBA-15 = 2% pH = 9.0 | Color = 100% TOC = 86% | [37] |
| Catalyst CuO-Cu2O/MCA | [RB-5] = 800 mg/L [O3] = 8 mg/min [CuO-Cu2O/MCA] = 3 g pH = 10.6 | Color = 100% COD = 46% | [24] | |
| Zero-valent nanoparticles Fe (nZVI) | [Textile effluent] = 1300 PCU [O3] = 0.1 g/h [Fe nZVI] = 0.7 g/L pH = 6.3 | Color = 73.5% COD = 87% | [2] | |
| Bimetallic particles from Fe-Cu | [IC]0 = 500 mg/L [O3]0 = 0.005 g/L [P Fe-Cu] = 1000 mg/L pH = 3.0 | Degradation achieved IC = 97% TOC = 92% Reaction time 60 min. | [38] | |
| Modified pumice with Fe | [p-CNB]0 = 100 µg/L [O3]0 = 0.9 mg/L [Pumita-Fe]0 = 0.5 g/L pH = 3.0 | Degradation achieved p-CNB = 90.8% Stable for 5 cycles Reaction time 15 min. | [39] | |
| Phytoremediation | Ipomoea aquatica | [ADMI]0 = 138 ± 1.74 Vol0 = 510 L biomass0 = 75% coverage | Color removal = 94% Removal of BOD = 84% Exposure time 72 h | [40] |
| Salvinia molesta | [4-color blend]0 = 100 m/g Vol0 = 500 mL biomass0 = 60 g | Color removal = 81% Removal of COD = 69% Exposure time 72 h | [41] | |
| Hydrocotyle vulgaris | [Basic red 46]0 = 5, 10, 15, and 20 m/g Vol0 = 400 mL biomass0 = 2, 4, 6, and 8 g | Color removal = 89% Exposure time 7 days. | [42] | |
| B. malcolmii | [Mixture of 5 dyes]0 = 100 m/g Vol0 = 100 mL biomass0 = 8.03 g | Color removal= 96% Exposure time 3 days. | [43] | |
| P. grandiflora and G. grandiflora | [Mixture of 5 dyes]0 = 50 m/g Vol0 = 10 mL biomass0 = 3 seedlings | Color removal = 96% Removal of COD = 73% Exposure time 36 h. | [44] |
| Parameters | Average |
|---|---|
| pH | 5.96 ± 0.61 |
| Absorbance max. λ671 | 1.65 ± 0.25 |
| turbidity UFA | 1501.33 ± 73 |
| conductivity (mS/cm) | 1.23 ± 0.48 |
| COD (mg/L) | 1831.27 ± 339 |
| Kinetics Models | pH 3 | pH 9 | ||||||
|---|---|---|---|---|---|---|---|---|
| Ozone | PN | PCu | PkMPCu | Ozone | PN | PCu | PMPCu | |
| Zero-order | ||||||||
| A0 | 2.0 | 1.8 | 2.0 | |||||
| k | 0.020 | 0.023 | 0.027 | |||||
| R2 | 0.99 | 0.99 | 0.98 | |||||
| First-order | ||||||||
| InA0 | 0.48 | 0.41 | 0.23 | 0.28 | 0.70 | |||
| k | 0.031 | 0.036 | 0.029 | 0.034 | 0.021 | |||
| R2 | 0.99 | 0.95 | 0.99 | 0.98 | 0.99 | |||
| pH 3.0 Treatments | Final Color Removal Percentage |
|---|---|
| Ozone alone | 82.15 ± 0.82% |
| Ozone + PMPCu 1 g/L | 86.79 ± 1.3% |
| Ozone + PMPCu 5 g/L | 72.66 ± 2.3% |
| Ozone + PMPCu 7.5 g/L | 75.69 ± 3.8% |
| Ozone + PCu 0.1 g/L | 81.16 ± 2.2% |
| Ozone + PN | 84.97 ± 0.29% |
| Parameters | Final Conditions | |
|---|---|---|
| After Treatment WOFL | After Phytoremediation | |
| pH | 2.68 ± 0.31 | 7.83 ± 0.02 |
| Absorbance max. λ671 | 0.195 ± 0.019 | 0.034 ± 0.006 |
| Turbidity UFA | 580 ± 40.31 | 4.70 ± 0.01 |
| Conductivity (mS/cm) | 1.043 ± 0.12 | ND |
| COD (mg/L) | 436 | ND |
Disclaimer/Publisher’s Note: The statements, opinions and data contained in all publications are solely those of the individual author(s) and contributor(s) and not of MDPI and/or the editor(s). MDPI and/or the editor(s) disclaim responsibility for any injury to people or property resulting from any ideas, methods, instructions or products referred to in the content. |
© 2025 by the authors. Licensee MDPI, Basel, Switzerland. This article is an open access article distributed under the terms and conditions of the Creative Commons Attribution (CC BY) license (https://creativecommons.org/licenses/by/4.0/).
Share and Cite
Reyes-Pérez, J.A.; Amaya-Chávez, A.; Roa-Morales, G.; Balderas-Hernández, P.; Pavón Silva, T.B.; Torres-Blancas, T.; Barrera-Díaz, C.E. Textile Wastewater Coupled Treatment Implementing Enhanced Ozonation with Fenton-like Processes and Phytoremediation. Catalysts 2025, 15, 43. https://doi.org/10.3390/catal15010043
Reyes-Pérez JA, Amaya-Chávez A, Roa-Morales G, Balderas-Hernández P, Pavón Silva TB, Torres-Blancas T, Barrera-Díaz CE. Textile Wastewater Coupled Treatment Implementing Enhanced Ozonation with Fenton-like Processes and Phytoremediation. Catalysts. 2025; 15(1):43. https://doi.org/10.3390/catal15010043
Chicago/Turabian StyleReyes-Pérez, Jazmin A., Araceli Amaya-Chávez, Gabriela Roa-Morales, Patricia Balderas-Hernández, Thelma B. Pavón Silva, Teresa Torres-Blancas, and Carlos E. Barrera-Díaz. 2025. "Textile Wastewater Coupled Treatment Implementing Enhanced Ozonation with Fenton-like Processes and Phytoremediation" Catalysts 15, no. 1: 43. https://doi.org/10.3390/catal15010043
APA StyleReyes-Pérez, J. A., Amaya-Chávez, A., Roa-Morales, G., Balderas-Hernández, P., Pavón Silva, T. B., Torres-Blancas, T., & Barrera-Díaz, C. E. (2025). Textile Wastewater Coupled Treatment Implementing Enhanced Ozonation with Fenton-like Processes and Phytoremediation. Catalysts, 15(1), 43. https://doi.org/10.3390/catal15010043

