The Circular Economy: A Study on the Use of Airbnb for Sustainable Coastal Development in the Vietnam Mekong Delta
Abstract
1. Introduction
2. Literature Review
3. Study Area and Methods
3.1. Study Area
3.2. Method
4. Results
4.1. Social Demographics and Descriptive Results of the Respondents
4.2. Reliability Analysis
4.3. Exploratory Factor Analysis (EFA)
4.4. Confirmatory Factor Analysis (CFA)
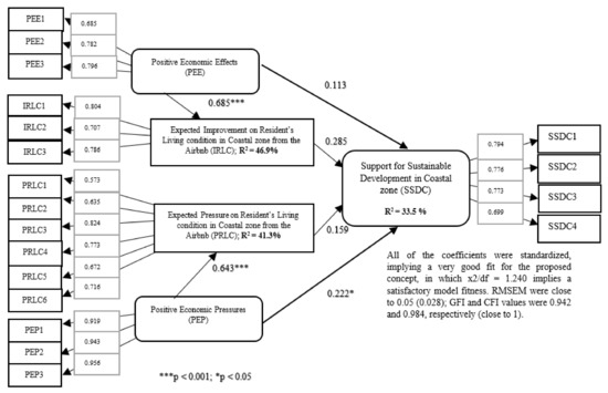
4.5. Relationships between Proposed Constructs
5. Discussion
6. Conclusions
Author Contributions
Funding
Institutional Review Board Statement
Informed Consent Statement
Data Availability Statement
Conflicts of Interest
Appendix A. Questionnaire on the Residents’ Attitudes toward Circular Economy in the Vietnam Mekong Delta
| Gender | □ M □ F |
| Age | □ ≤25 □ 26–35 □ 36–45 □ ≥45 |
| Hometown | □ An Giang, Kien Giang, Bac Lieu, Ca Mau |
| □ Tra Vinh, Hau Giang, Soc Trang, Dong Thap | |
| □ Long An, Tien Giang, Ben Tre, Vinh Long | |
| Ethnic groups | □ Kinh |
| □ Hoa □ Khmer □ Cham | |
| □ Other | |
| Monthly Salary (USD) | □ No income □ <150 USD □ 151–349 USD □ 350–500 USD □ 551–699 USD □ 700–899 USD □ >900 USD |
| Occupation | Agri-aqua production |
| Tourism | |
| Family business | |
| Airbnb | |
| Government office | |
| Others |
| Items | Description | Strongly Disagree (SD) | Mildly Disagree (MD) | Neutral (N) | Mildly Agree (MA) | Strongly Agree (SA) |
|---|---|---|---|---|---|---|
| PEE1 | 1. The sharing economy will promote coastal development through ecotourism in the VMD. | |||||
| PEE2 | 2. The sharing economy will create employment opportunities such as tour guide, food services, housekeeper, etc. | |||||
| PEE3 | 3. The sharing economy will generate extra income from shared accommodations for the VMD residents. | |||||
| IRLC1 | 4. Airbnb will enhance local cultural exchange if local cultural values are incorporated such as home decor, souvenirs, and activities with local residents. | |||||
| IRLC2 | 5. Airbnb will improve residents’ knowledge when participating in operating the Airbnb model in the VMD. | |||||
| IRLC3 | 6. Airbnb will assist in conserving local ecosystems through linking to ecotourism in the VMD. | |||||
| IRLC4 | 7. Airbnb will reduce environmental impacts (e.g., energy efficiency, food waste) on the VMD community. | |||||
| PRLC1 | 8. Airbnb will allow strangers to cause disturbances in my daily life. | |||||
| PRLC2 | 9. Airbnb will cause conflicts between coastal accommodation services and Airbnb hosts, leading to a highly competitive market. | |||||
| PRLC3 | 10. Airbnb will increase noise pollution, affecting the local environment in the VMD community. | |||||
| PRLC4 | 11. Airbnb will cause social problems, including alcoholism, that negatively affect the VMD community. | |||||
| PRLC5 | 12. Airbnb will increase crime/robberies in the VMD. | |||||
| PRLC6 | 13. Airbnb will cause difficulties in communication due to diverse cultures and different languages. | |||||
| PEE1 | 14. The sharing economy will increase infrastructure costs. | |||||
| PEE2 | 15. The sharing economy will increase the cost of preserving ecosystem value. | |||||
| PEE3 | 16. The sharing economy will lead to uniformity of the ecological structure. |
| Items | Description | Strongly Disagree (SD) | Mildly Disagree (MD) | Neutral (N) | Mildly Agree (MA) | Strongly Agree (SA) |
|---|---|---|---|---|---|---|
| SSDC1 | 17. I prefer to take full advantage of the coastal ecosystem to improve coastal sustainable development. | |||||
| SSDC2 | 18. I am happy to introduce local culture to tourists. | |||||
| SSDC3 | 19. I expect the ecological value of the coastal zones to be preserved. | |||||
| SSDC4 | 20. I am willing to be involved in the interconnection of the sharing economy to foster ecotourist-based coastal sustainable development. |
References
- Su, M.; Peng, B. Integrating values of ecosystem services into decision making in coastal management in Xiamen. Ocean Coast. Manag. 2018, 207, 104590. [Google Scholar] [CrossRef]
- Gracia, A.; Rangel-Buitrago, N.; Oakley, J.A.; Williams, A.T. Use of ecosystems in coastal erosion management. Ocean Coast. Manag. 2018, 156, 277–289. [Google Scholar] [CrossRef]
- Ciftcioglu, G.C. Participatory and deliberative assessment of the landscape and natural resource social values of marine and coastal ecosystem services: The case of Kyrenia (Girne) region from Northern Cyprus. Environ. Sci. Pollut. Res. 2021, 28, 27742–27756. [Google Scholar] [CrossRef] [PubMed]
- McLeod, E.; Chmura, G.L.; Bouillon, S.; Salm, R.; Bjork, M.; Duarte, C.M.; Lovelock, C.E.; Schlesinger, W.H.; Silliman, B.R. A blueprint for blue carbon: Toward an improved understanding of the role of vegetated coastal habitats in sequestering CO2. Front. Ecol. Environ. 2011, 9, 552–560. [Google Scholar] [CrossRef]
- The World Bank. COVID-19 to Add as Many as 150 Million Extreme Poor by 2021. Available online: https://www.worldbank.org/en/news/press-release/2020/10/07/covid-19-to-add-as-many-as-150-million-extreme-poor-by-2021 (accessed on 2 April 2021).
- Zhai, T.; Wang, J.; Fang, Y.; Qin, Y.; Huang, L.; Chen, Y. Assessing ecological risks caused by human activities in rapid urbanization coastal areas: Towards an integrated approach to determining key areas of terrestrial-oceanic ecosystems preservation and restoration. Sci. Total Environ. 2020, 708, 135153. [Google Scholar] [CrossRef]
- Li, Y.; Zhang, X.; Zhao, X.; Ma, S.; Cao, H.; Cao, J. Assessing spatial vulnerability from rapid urbanization to inform coastal urban regional planning. Ocean Coast. Manag. 2016, 123, 53–65. [Google Scholar] [CrossRef]
- Meseguer-Sánchez, V.; Gálvez-Sánchez, F.J.; López-Martínez, G.; Molina-Moreno, V. Corporate social responsibility and sustainability. A bibliometric analysis of their interrelations. Sustainability 2021, 13, 1636. [Google Scholar] [CrossRef]
- Vărzaru, A.A.; Bocean, C.G.; Nicolescu, M.M. Rethinking Corporate Responsibility and Sustainability in Light of Economic Performance. Sustainability 2021, 13, 2660. [Google Scholar] [CrossRef]
- United Nations. The Sustainable Development Goals Report; United Nations Publ.: New York, NY, USA, 2017. [Google Scholar] [CrossRef]
- Hysa, E.; Kruja, A.; Rehman, N.U.; Laurenti, R. Circular economy innovation and environmental sustainability impact on economic growth: An integrated model for sustainable development. Sustainability 2020, 12, 4831. [Google Scholar] [CrossRef]
- Andersen, M.S. An introductory note on the environmental economics of the circular economy. Sustain. Sci. 2007, 2, 133–140. [Google Scholar] [CrossRef]
- Fancourt, M.; Walker, S.; Sassen, M. Commodities and Biodiversity in the Greater Mekong Impacts of Commodity Development on Biodiversity and Ecosystem Services in the Greater Mekong. UNEP-WCMC, Commodities and Biodiversity Project; UNEP-WCMC: Cambridge, UK, 2015; p. 99. [Google Scholar] [CrossRef]
- GSO (General Statistics Office). Statistical Yearbook. Statistical Publishing House, Ha Noi. 2018. Available online: https://www.gso.gov.vn/en/data-and-statistics/2019/10/statistical-yearbook-of-vietnam-2018/ (accessed on 20 December 2019).
- Vu, H.M.; Lam, T.M.; Prabhakaran, S. Perceptions of key stakeholders towards sustainable tourism development: A case study in Mekong Delta, Vietnam. J. Asian Financ. Econ. Bus. 2021, 8, 717–726. [Google Scholar] [CrossRef]
- Nguyen, C.D.; Ngo, T.L.; Do, N.M.; Nguyen, N.T. Key factors affecting sustainable tourism in the region of South-Central Coast of Vietnam. J. Asian Financ. Econ. Bus. 2020, 7, 977–993. [Google Scholar] [CrossRef]
- Phuong, H.N. Advantages and challenges for tourism in the Mekong Delta, Vietnam. Int. J. Sci. Technol. Res. 2019, 8, 1364–1368. [Google Scholar]
- Milton, C. Vietnam Homestays Fill Gaps and Provide Opportunities Vietnam Homestays Fill Gaps and Provide Opportunities. 3 June 2019. Available online: https://www.airdna.co/blog/vietnam-homestays-provide-opportunities (accessed on 28 December 2019).
- Dang, K.N.; Le, T.D.; Van Nguyen, S.; Verdegem, M.C.J. Development of “VAC” Integrated Farming Systems in the Mekong Delta, Vietnam—A View of a System and a Participatory Approach. Tuoitre. 2005; pp. 101–125. Available online: https://www.researchgate.net/publication/230594787_Development_of_VAC_Integrated_Farming_Systems_in_the_Mekong_Delta_Vietnam_-A_View_of_a_System_and_a_Participatory_Approach (accessed on 15 January 2020).
- Van Huong, N.; Huu Cuong, T.; Thi Nang Thu, T.; Lebailly, P. Efficiency of different integrated agriculture aquaculture systems in the Red River Delta of Vietnam. Sustainability 2018, 10, 493. [Google Scholar] [CrossRef]
- Prabhala, V.A.; Baddipadiga, B.P.; Fajri, P.; Ferdowsi, M. An overview of direct current distribution system architectures benefits. Energies 2018, 11, 2463. [Google Scholar] [CrossRef]
- Pantzar, M.; Shove, E. Understanding innovation in practice: A discussion of the production and re-production of Nordic Walking. Technol. Anal. Strat. Manag. 2010, 22, 447–461. [Google Scholar] [CrossRef]
- Guttentag, D. Progress on Airbnb: A literature review. J. Hosp. Tour. Technol. 2019, 10, 814–844. [Google Scholar] [CrossRef]
- Lalicic, L.; Weber-Sabil, J. Stakeholder engagement in sustainable tourism planning through serious gaming. Tour. Geogr. 2021, 23, 185–205. [Google Scholar] [CrossRef]
- Boar, A.; Bastida, R.; Marimon, F. A systematic literature review. Relationships between the sharing economy, sustainability and sustainable development goals. Sustainability 2020, 12, 6744. [Google Scholar] [CrossRef]
- Pouri, M.J.; Hilty, L.M. ICT-enabled sharing economy and environmental sustainability—A resource-oriented approach. In Advances and New Trends in Environmental Informatics; Bungartz, H.J., Kranzlmüller, D., Weinberg, V., Weismüller, J., Wohlgemuth, V., Eds.; Springer: Cham, Switzerland, 2018. [Google Scholar] [CrossRef]
- Sampantamit, T.; Ho, L.; Van Echelpoel, W.; Lachat, C.; Goethals, P. Links and trade-offs between fisheries and environmental protection in relation to the sustainable development goals in Thailand. Water 2020, 12, 399. [Google Scholar] [CrossRef]
- Liu, X.; Chen, H. Sharing economy: Promote its potential to sustainability by regulation. Sustainability 2020, 12, 919. [Google Scholar] [CrossRef]
- Committee of the Regions. European Entrepreneurial Region Encouraging Entrepreneurship at Local and Regional Level Examples of Good Practices from EER Regions. 2015. Available online: https://cor.europa.eu/en/engage/Documents/EER/encouraging-entrepreneurship.pdf (accessed on 14 February 2021).
- Hakobyan, S. Export competitiveness of developing countries and US trade policy. World Econ. 2016, 40, 1405–1429. [Google Scholar] [CrossRef]
- Acquier, A.; Daudigeos, T.; Pinkse, J. Promises and paradoxes of the sharing economy: An organizing framework. Technol. Forecast. Soc. Chang. 2017, 125, 116. [Google Scholar] [CrossRef]
- Curtis, S.K.; Lehner, M. Defining the sharing economy for sustainability. Sustainability 2019, 11, 567. [Google Scholar] [CrossRef]
- Kozak, M. Agritourism and rural areas development. Nat. Probl. Tour. 2009, 2, 12. [Google Scholar]
- Jokela, S.; Minoia, P. Nordic home-sharing utopia: A critical analysis of Airbnb in Helsinki. Scand. J. Hosp. Tour. 2020, 20, 227–245. [Google Scholar] [CrossRef]
- Chang, C.; Li, S. Study of price determinants of sharing economy-based accommodation services: Evidence from airbnb.com. J. Theor. Appl. Electron. Commer. Res. 2020, 16, 35. [Google Scholar] [CrossRef]
- Zheng, S.; Wu, X. Research on the development of Shanghai tourism industry under the sharing economy mode. Mod. Manag. 2019, 9, 24–30. [Google Scholar] [CrossRef]
- Phuc, D.T. Sustainable Tourism: Shaping a Better Future, 2020. What Is the Solution for Sustainable Development of Floadting Market Tourism in the Vietnamese Mekong Delta? Available online: https://tourist.bus.ku.ac.th/files/2ndTouristConferenceProceedings.pdf (accessed on 5 February 2020).
- Cong, L.C.; Van Chi, T.T. The sustainability of marine tourism development in the South Central Coast, Vietnam. Tour. Plan. Dev. 2020, 1–19. [Google Scholar] [CrossRef]
- Salman, A.; Jaafar, M.; Mohamad, D.; Malik, S. Ecotourism development in Penang Hill: A multi-stakeholder perspective towards achieving environmental sustainability. Environ. Sci. Pollut. Res. 2021, 1–14. [Google Scholar] [CrossRef]
- Ramaano, A.I. Potential of ecotourism as a mechanism to buoy community livelihoods: The case of Musina Municipality, Limpopo, South Africa. J. Bus. Socio-Econ. Dev. 2021. [Google Scholar] [CrossRef]
- Martínez, Y.C.; Baños, M.R.; Monroy, H.C. Ecotourism as a path to sustainable development in an isolated Magic Town. J. Tour. Anal. 2018, 25, 23–38. [Google Scholar] [CrossRef]
- Saidmamatov, O.; Matyakubov, U.; Rudenko, I.; Filimonau, V.; Day, J.; Luthe, T. Employing ecotourism opportunities for sustainability in the aral sea region: Prospects and challenges. Sustainability 2020, 12, 9249. [Google Scholar] [CrossRef]
- Butler, E.C.; Childs, A.-R.; Saayman, A.; Potts, W.M. Can fishing tourism contribute to conservation and sustainability via ecotourism? A case study of the fishery for giant African Threadfin Polydactylus quadrifilis on the Kwanza Estuary, Angola. Sustainability 2020, 12, 4221. [Google Scholar] [CrossRef]
- Stone, L.S.; Stone, T.M. Community-based tourism enterprises: Challenges and prospects for community participation; Khama Rhino Sanctuary Trust, Botswana. J. Sustain. Tour. 2011, 19, 97–114. [Google Scholar] [CrossRef]
- Stronza, A.L.; Hunt, C.; Fitzgerald, L.A. Ecotourism for conservation? Annu. Rev. Environ. Resour. 2019, 44, 229–253. [Google Scholar] [CrossRef]
- Towner, N. Surfing tourism and local stakeholder collaboration. J. Ecotourism 2018, 17, 268–286. [Google Scholar] [CrossRef]
- Wondirad, A.; Tolkach, D.; King, B. Stakeholder collaboration as a major factor for sustainable ecotourism development in developing countries. Tour. Manag. 2020, 78, 104024. [Google Scholar] [CrossRef]
- Volgger, M.; Pforr, C.; Stawinoga, A.E.; Taplin, R.; Matthews, S. Who adopts the Airbnb innovation? An analysis of international visitors to Western Australia. Tour. Recreat. Res. 2017, 43, 305–320. [Google Scholar] [CrossRef]
- Guttentag, D.; Smith, S.; Potwarka, L.; Havitz, M. Why tourists choose Airbnb: A motivation-based segmentation study. J. Travel Res. 2017, 57, 342–359. [Google Scholar] [CrossRef]
- Wirtz, J.; So, K.K.F.; Mody, M.A.; Liu, S.Q.; Chun, H.H. Platforms in the peer-to-peer sharing economy. J. Serv. Manag. 2019, 30, 452–483. [Google Scholar] [CrossRef]
- Cadoret, A. Conflicts and acceptability of visitation management measures for a marine protected area: The case of Porquerolles, Port-Cros National Park. Ocean Coast. Manag. 2021, 204, 105547. [Google Scholar] [CrossRef]
- Martin, C.J. The sharing economy: A pathway to sustainability or a nightmarish form of neoliberal capitalism? Ecol. Econ. 2016, 121, 149–159. [Google Scholar] [CrossRef]
- Heinrichs, H. Sharing Economy: A potential new pathway to sustainability. GAIA Ecol. Perspect. Sci. Soc. 2013, 22, 228–231. [Google Scholar] [CrossRef]
- Belk, R. You are what you can access: Sharing and collaborative consumption online. J. Bus. Res. 2014, 67, 1595–1600. [Google Scholar] [CrossRef]
- Cohen, B.; Muñoz, P. Sharing cities and sustainable consumption and production: Towards an integrated framework. J. Clean. Prod. 2016, 134, 87–97. [Google Scholar] [CrossRef]
- Wang, G.; Dou, W.; Zhou, N. Consumption attitudes and adoption of new consumer products: A contingency approach. Eur. J. Mark. 2008, 42, 238–254. [Google Scholar] [CrossRef]
- Allan, D.; Berg, C. The Sharing Economy, How Over-Regulation Could Destroy an Economic Revolution; Institute of Public Affairs: Melbourne, Australia, 2014; Available online: https://www.academia.edu/10374868/The_sharing_economy_How_over_regulation_could_destroy_an_economic_revolution (accessed on 25 June 2020).
- Cockayne, D.G. Sharing and neoliberal discourse: The economic function of sharing in the digital on-demand economy. Geoforum 2016, 77, 73–82. [Google Scholar] [CrossRef]
- Gurran, N.; Zhang, Y.; Shrestha, P. ‘Pop-up’ tourism or ‘invasion’? Airbnb in coastal Australia. Ann. Tour. Res. 2020, 81, 102845. [Google Scholar] [CrossRef]
- Jia, L.; Liu, X.; Liu, Y. Impact of different stakeholders of bike-sharing industry on users’ intention of civilized use of bike-sharing. Sustainability 2018, 10, 1437. [Google Scholar] [CrossRef]
- DiNatale, S.; Lewis, R.; Parker, R. Short-term rentals in small cities in Oregon: Impacts and regulations. Land Use Policy 2018, 79, 407–423. [Google Scholar] [CrossRef]
- Palos-Sanchez, P.R.; Correia, M.B. The collaborative economy based analysis of demand: Study of Airbnb case in Spain and Portugal. J. Theor. Appl. Electron. Commer. Res. 2018, 13, 85–98. [Google Scholar] [CrossRef]
- Lee, S.; Kim, D.-Y. The effect of hedonic and utilitarian values on satisfaction and loyalty of Airbnb users. Int. J. Contemp. Hosp. Manag. 2018, 30, 1332–1351. [Google Scholar] [CrossRef]
- Wu, X.; Shen, J. A Study on Airbnb’s trust mechanism and the effects of cultural values—Based on a survey of chinese consumers. Sustainability 2018, 10, 3041. [Google Scholar] [CrossRef]
- Mody, M.; Suess, C.; Lehto, X. Going back to its roots: Can hospitableness provide hotels competitive advantage over the sharing economy? Int. J. Hosp. Manag. 2019, 76, 286–298. [Google Scholar] [CrossRef]
- Kadi, J.; Plank, L.; Seidl, R. Airbnb as a tool for inclusive tourism? Tour. Geogr. 2019, 1–23. [Google Scholar] [CrossRef]
- Zamani, E.D.; Choudrie, J.; Katechos, G.; Yin, Y. Trust in the sharing economy: The AirBnB case. Ind. Manag. Data Syst. 2019, 119, 1947–1968. [Google Scholar] [CrossRef]
- Ert, E.; Fleischer, A.; Magen, N. Trust and reputation in the sharing economy: The role of personal photos in Airbnb. Tour. Manag. 2016, 55, 62–73. [Google Scholar] [CrossRef]
- Cheng, M.; Zhang, G.; Wong, I.A. Spanning across the boundary of Airbnb host community: A network perspective. Int. J. Hosp. Manag. 2020, 89, 102541. [Google Scholar] [CrossRef]
- Masud, M.M.; Aldakhil, A.M.; Nassani, A.A.; Azam, M.N. Community-based ecotourism management for sustainable development of marine protected areas in Malaysia. Ocean Coast. Manag. 2017, 136, 104–112. [Google Scholar] [CrossRef]
- Pizzi, S.; Rosati, F.; Venturelli, A. The determinants of business contribution to the 2030 Agenda: Introducing the SDG reporting score. Bus. Strateg. Environ. 2021, 30, 404–421. [Google Scholar] [CrossRef]
- Alizadeh, T.; Farid, R.; Sarkar, S. Towards understanding the socioeconomic patterns of sharing economy in Australia: An investigation of Airbnb listings in sydney and melbourne metropolitan regions. Disruptive Urban 2020, 53–71. [Google Scholar] [CrossRef]
- McBain, R. The practice of engagement: Research into current employee engagement practice. Strateg. HR Rev. 2007, 6, 16–19. [Google Scholar] [CrossRef]
- Davidson, N.M.; Finck, M.; Infranca, J. The Cambridge Handbook on the Law of the Sharing Economy. SSRN Electr. J. 2018, 3, 38–51. [Google Scholar] [CrossRef]
- Tussyadiah, I.P.; Pesonen, J. Drivers and barriers of peer-to-peer accommodation stay—An exploratory study with American and Finnish travellers. Curr. Issues Tour. 2018, 21, 703–720. [Google Scholar] [CrossRef]
- Resnick, P.; Zeckhauser, R. Trust among strangers in internet transactions: Empirical analysis of eBay’s reputation system. Adv. Appl. Microecon. 2004, 11, 127–157. [Google Scholar] [CrossRef]
- Gurran, N.; Phibbs, P. When tourists move in: How should urban planners respond to Airbnb? J. Am. Plan. Assoc. 2017, 83, 80–92. [Google Scholar] [CrossRef]
- Gia, B.H. Some solutions for sustainable agricultural tourism development in the Mekong Delta in Vietnam. E3S Web Conf. 2021, 234, 00063. [Google Scholar] [CrossRef]
- Trading Economics. India GDP from Manufacturing|2019|Data|Chart|Calendar|Forecast, Trading Economics. Available online: https://tradingeconomics.com/india/gdp-from-manufacturing (accessed on 20 February 2021).
- Huysveld, S.; Schaubroeck, T.; De Meester, S.; Sorgeloos, P.; Van Langenhove, H.; Van Linden, V.; Dewulf, J. Resource use analysis of Pangasius aquaculture in the Mekong Delta in Vietnam using exergetic life cycle assessment. J. Clean. Prod. 2013, 51, 225–233. [Google Scholar] [CrossRef]
- Loc, H.H.; Irvine, K.N.; Diep, N.T.H.; Quyen, N.T.K.; Tue, N.N.; Shimizu, Y. The legal aspects of Ecosystem Services in agricultural land pricing, some implications from a case study in Vietnam’s Mekong Delta. Ecosyst. Serv. 2018, 29, 360–369. [Google Scholar] [CrossRef]
- Hair, J.F.; Hult, G.T.M.; Ringle, C.; Sarstedt, M. A Primer on Partial Least Squares Structural Equation Modeling (PLS-SEM); Sage Publications: New York, NY, USA, 2017. [Google Scholar]
- Pham, N.T.; Nguyen, C.T.; Vu, D.T.; Nakamura, K. Mapping of dengue vulnerability in the Mekong Delta region of Vietnam using a water-associated disease index and remote sensing approach. APN Sci. Bull. 2018, 8. [Google Scholar] [CrossRef][Green Version]
- Nunnally, J.C. McGraw-Hill Series in Psychology. Psychometric Theory; McGraw-Hill Higher Education: New York, NY, USA, 1967; Available online: https://psycnet.apa.org/record/2003-00036-000 (accessed on 15 February 2021).
- Anderson, R.B.; Giberson, R.J. Aboriginal entrepreneurship and economic development in canada: Thoughts on current theory and practice. Int. Res. Bus. Discipl. 2003, 4, 141–167. [Google Scholar] [CrossRef]
- Ha, T.T.T.; Bush, S.R. Transformations of Vietnamese shrimp aquaculture policy: Empirical evidence from the Mekong Delta. Environ. Plan. C Gov. Policy 2010, 28, 1101–1119. [Google Scholar] [CrossRef]





| Demographics | Item | Subjects (n = 303) | |
|---|---|---|---|
| Frequency | Percentage (%) | ||
| Gender | Male | 161 | 53.1 |
| Female | 142 | 46.9 | |
| Age | Less than 25 | 42 | 13.9 |
| 26–35 | 64 | 21.1 | |
| 36–45 | 89 | 29.4 | |
| More than 46 | 108 | 35.6 | |
| Income (USD) | No Income | 12 | 4 |
| <150 | 23 | 7.6 | |
| 151–349 | 26 | 8.6 | |
| 350–500 | 69 | 22.8 | |
| 551–699 | 45 | 14.9 | |
| 700–899 | 113 | 37.3 | |
| >900 | 15 | 5 | |
| Ethnic Group | Kinh | 199 | 65.7 |
| Hoa | 28 | 9.2 | |
| Khmer | 15 | 5 | |
| Cham | 40 | 13.2 | |
| Others | 21 | 6.9 | |
| Occupation | Agri–aquaculture | 149 | 49.2 |
| Tourism | 27 | 8.9 | |
| Family Business | 78 | 25.7 | |
| Airbnb | 14 | 4.6 | |
| Government Office | 11 | 3.6 | |
| Others | 24 | 7.9 | |
| Construct | Strongly Disagree (%) | Disagree (%) | Neutral (%) | Agree (%) | Strongly Agree (%) | Mean | Std. Deviation | Factor Loading | Composite Reliability | Average Extracted Variance |
|---|---|---|---|---|---|---|---|---|---|---|
| Expected Positive Economic Effects (PEE) | 0.804 | 0.58 | ||||||||
| PEE1 | 0.30% | 4.00% | 12.90% | 32.30% | 50.50% | 4.29 | 0.861 | 0.757 | ||
| PEE2 | 0.30% | 3.30% | 13.50% | 27.10% | 55.80% | 4.35 | 0.859 | 0.749 | ||
| PEE3 | 0.30% | 3.60% | 10.90% | 31.00% | 54.10% | 4.35 | 0.84 | 0.721 | ||
| Positive Improvement on Residents’ Living Condition from Airbnb (IRLC) | 4.27 | 0.801 | 0.574 | |||||||
| IRLC1 | 0.00% | 3.30% | 13.20% | 35.30% | 48.20% | 4.28 | 0.817 | 0.699 | ||
| IRLC2 | 0.00% | 3.30% | 14.90% | 34.00% | 47.90% | 4.26 | 0.832 | 0.778 | ||
| IRLC3 | 0.00% | 3.60% | 13.90% | 35.60% | 46.90% | 4.26 | 0.83 | 0.76 | ||
| IRLC4 | 3.60% | 4.60% | 14.20% | 35.00% | 42.60% | 4.08 | 1.037 | x | ||
| Pressures on Residents’ Living Conditions from Airbnb (PRLC) | 0.861 | 0.508 | ||||||||
| PRLC1 | 18.50% | 35.00% | 30.00% | 13.50% | 3.00% | 2.48 | 1.035 | 0.649 | ||
| PRLC2 | 17.20% | 34.70% | 29.70% | 14.50% | 3.00% | 2.52 | 1.029 | 0.66 | ||
| PRLC3 | 16.80% | 41.30% | 24.40% | 26.40% | 1.00% | 2.46 | 1.028 | 0.701 | ||
| PRLC4 | 21.10% | 30.00% | 31.00% | 15.50% | 2.30% | 2.48 | 1.06 | 0.766 | ||
| PRLC5 | 21.10% | 33.70% | 28.10% | 13.90% | 3.30% | 2.45 | 1.072 | 0.69 | ||
| PRLC6 | 19.80% | 32.00% | 31.40% | 13.50% | 3.30% | 2.49 | 1.057 | 0.769 | ||
| Positive Economic Pressures (PEP) | 0.804 | 0.555 | ||||||||
| PEE1 | 4.30% | 40.30% | 32.00% | 18.20% | 5.30% | 2.8 | 0.964 | 0.802 | ||
| PEE2 | 10.20% | 34.00% | 34.00% | 16.50% | 5.30% | 2.73 | 1.027 | 0.761 | ||
| PEE3 | 5.90% | 33.30% | 38.60% | 17.80% | 4.30% | 2.81 | 0.943 | 0.573 | ||
| Support for Sustainable Development in Coastal Zones (SSDC) | 0.8 | 0.501 | ||||||||
| SSDC1 | 0.00% | 4.60% | 14.50% | 34.70% | 46.20% | 4.22 | 0.863 | 0.658 | ||
| SSDC2 | 0.00% | 4.30% | 17.20% | 30.70% | 47.90% | 4.22 | 0.881 | 0.739 | ||
| SSDC3 | 0.70% | 4.00% | 11.90% | 35.30% | 48.20% | 4.26 | 0.867 | 0.725 | ||
| SSDC4 | 0.30% | 5.60% | 10.60% | 37.60% | 45.90% | 4.23 | 0.876 | 0.689 |
Publisher’s Note: MDPI stays neutral with regard to jurisdictional claims in published maps and institutional affiliations. |
© 2021 by the authors. Licensee MDPI, Basel, Switzerland. This article is an open access article distributed under the terms and conditions of the Creative Commons Attribution (CC BY) license (https://creativecommons.org/licenses/by/4.0/).
Share and Cite
He, J.; Mai, T.H.T. The Circular Economy: A Study on the Use of Airbnb for Sustainable Coastal Development in the Vietnam Mekong Delta. Sustainability 2021, 13, 7493. https://doi.org/10.3390/su13137493
He J, Mai THT. The Circular Economy: A Study on the Use of Airbnb for Sustainable Coastal Development in the Vietnam Mekong Delta. Sustainability. 2021; 13(13):7493. https://doi.org/10.3390/su13137493
Chicago/Turabian StyleHe, Jianjia, and Thi Hoai Thuong Mai. 2021. "The Circular Economy: A Study on the Use of Airbnb for Sustainable Coastal Development in the Vietnam Mekong Delta" Sustainability 13, no. 13: 7493. https://doi.org/10.3390/su13137493
APA StyleHe, J., & Mai, T. H. T. (2021). The Circular Economy: A Study on the Use of Airbnb for Sustainable Coastal Development in the Vietnam Mekong Delta. Sustainability, 13(13), 7493. https://doi.org/10.3390/su13137493

