Experimental Investigation of the Impact of Loading Conditions on the Change in Thin NiTi Wire Resistance during Cyclic Stretching
Abstract
1. Introduction
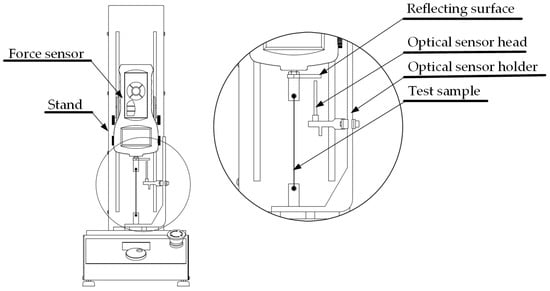
2. Materials and Methods
3. Results
4. Discussion
5. Conclusions
Author Contributions
Funding
Institutional Review Board Statement
Informed Consent Statement
Data Availability Statement
Conflicts of Interest
References
- Mohd Jani, J.; Leary, M.; Subic, A.; Gibson, M.A. A Review of Shape Memory Alloy Research, Applications and Opportunities. Mater. Des. 2014, 56, 1078–1113. [Google Scholar] [CrossRef]
- Pieczyska, E.A.; Tobushi, H.; Gadaj, S.P.; Nowacki, W.K. Superelastic Deformation Behaviors Based on Phase Transformation Bands in TiNi Shape Memory Alloy. Mater. Trans. 2006, 47, 670–676. [Google Scholar] [CrossRef]
- Strittmatter, J.; Gümpel, P.; Hiefer, M. Intelligent Materials in Modern Production—Current Trends for Thermal Shape Memory Alloys. Procedia Manuf. 2019, 30, 347–356. [Google Scholar] [CrossRef]
- Praveen, N.; Mallik, U.S.; Shivasiddaramaih, A.G.; Suresh, R.; Shivaramu, L.; Prasad, C.D.; Gupta, M. Design and Analysis of Shape Memory Alloys Using Optimization Techniques. Adv. Mater. Process. Technol. 2024, 10, 2186–2198. [Google Scholar] [CrossRef]
- Courant, R.; Maas, J. Design and Characterization of an Efficient Multistable Push-Pull Linear Actuator Using Magnetic Shape Memory Alloys. IEEE Access 2024, 12, 107855–107871. [Google Scholar] [CrossRef]
- Abel, E.; Luo, H.; Pridham, M.; Slade, A. Issues Concerning the Measurement of Transformation Temperatures of NiTi Alloys. Smart Mater. Struct. 2004, 13, 1110–1117. [Google Scholar] [CrossRef]
- Kciuk, M.; Kuchcik, W.; Pilch, Z.; Klein, W. A Novel SMA Drive Based on the Graham Clock Escapement and Resistance Feedback. Sens. Actuators A Phys. 2019, 285, 406–413. [Google Scholar] [CrossRef]
- Tobushi, H.; Pieczyska, E.; Ejiri, Y.; Sakuragi, T. Thermomechanical Properties of Shape-Memory Alloy and Polymer and Their Composites. Mech. Adv. Mater. Struct. 2009, 16, 236–247. [Google Scholar] [CrossRef]
- Li, B.; Shen, Y.; An, Q. Structural Origin of Reversible Martensitic Transformation and Reversible Twinning in NiTi Shape Memory Alloy. Acta Mater. 2020, 199, 240–252. [Google Scholar] [CrossRef]
- Otsuka, K.; Ren, X. Physical Metallurgy of Ti–Ni-Based Shape Memory Alloys. Prog. Mater. Sci. 2005, 50, 511–678. [Google Scholar] [CrossRef]
- Frenzel, J.; Wieczorek, A.; Opahle, I.; Maaß, B.; Drautz, R.; Eggeler, G. On the Effect of Alloy Composition on Martensite Start Temperatures and Latent Heats in Ni–Ti-Based Shape Memory Alloys. Acta Mater. 2015, 90, 213–231. [Google Scholar] [CrossRef]
- Wang, X.; Kustov, S.; Verlinden, B.; Van Humbeeck, J. Fundamental Development on Utilizing the R-Phase Transformation in NiTi Shape Memory Alloys. Shape Mem. Superelasticity 2015, 1, 231–239. [Google Scholar] [CrossRef]
- Šittner, P.; Landa, M.; Lukáš, P.; Novák, V. R-Phase Transformation Phenomena in Thermomechanically Loaded NiTi Polycrystals. Mech. Mater. 2006, 38, 475–492. [Google Scholar] [CrossRef]
- Šittner, P.; Sedlák, P.; Landa, M.; Novák, V.; Lukáš, P. In Situ Experimental Evidence on R-Phase Related Deformation Processes in Activated NiTi Wires. Mater. Sci. Eng. A 2006, 438–440, 579–584. [Google Scholar] [CrossRef]
- Pu, Z.; Chen, C.; Du, D.; Xi, R.; Jiang, H.; Wang, K.; Sun, L.; Wang, X.; Chang, B. Accelerated Improvement in Tensile Superelasticity of Electron Beam Directed Energy Deposition Manufactured NiTi Alloys by Artificial Thermal Cycling Combined with Low Temperature Aging Treatment. Virtual Phys. Prototyp. 2024, 19, e2352782. [Google Scholar] [CrossRef]
- Zhang, J.J.; Yin, Y.H.; Zhu, J.Y. Electrical Resistivity-Based Study of Self-Sensing Properties for Shape Memory Alloy-Actuated Artificial Muscle. Sensors 2013, 13, 12958–12974. [Google Scholar] [CrossRef]
- Orgéas, L.; Favier, D. Stress-Induced Martensitic Transformation of a NiTi Alloy in Isothermal Shear, Tension and Compression. Acta Mater. 1998, 46, 5579–5591. [Google Scholar] [CrossRef]
- Sławski, S.; Kciuk, M.; Klein, W. Assessment of SMA Electrical Resistance Change during Cyclic Stretching with Small Elongation. Sensors 2021, 21, 6804. [Google Scholar] [CrossRef]
- Wu, X.D.; Fan, Y.Z.; Wu, J.S. A Study on the Variations of the Electrical Resistance for NiTi Shape Memory Alloy Wires during the Thermo-Mechanical Loading. Mater. Des. 2000, 21, 511–515. [Google Scholar] [CrossRef]
- Antonucci, V.; Faiella, G.; Giordano, M.; Mennella, F.; Nicolais, L. Electrical Resistivity Study and Characterization during NiTi Phase Transformations. Thermochim. Acta 2007, 462, 64–69. [Google Scholar] [CrossRef]
- Novák, V.; Šittner, P.; Dayananda, G.N.; Braz-Fernandes, F.M.; Mahesh, K.K. Electric Resistance Variation of NiTi Shape Memory Alloy Wires in Thermomechanical Tests: Experiments and Simulation. Mater. Sci. Eng. A 2008, 481–482, 127–133. [Google Scholar] [CrossRef]
- Njovana, M.T.; Kgwadi, M.; Sheikh, S.M. Characterisation of Low-Cost Stretchable Strain Sensors for Wearable Devices. Mod. Electron. Mater. 2024, 10, 37–49. [Google Scholar] [CrossRef]
- Amjadi, M.; Kyung, K.U.; Park, I.; Sitti, M. Stretchable, Skin-Mountable, and Wearable Strain Sensors and Their Potential Applications: A Review. Adv. Funct. Mater. 2016, 26, 1678–1698. [Google Scholar] [CrossRef]
- Resendes, T.; Freitas Rodrigues, P.; Cruz, F.; Gatões, D.; Santos, V.M.; Ramos, A.S.; Vieira, M.T. Advanced Medical Monitoring: 3D Printed Prosthetics with Integrated Strain Sensor. Prog. Addit. Manuf. 2024, 9, 1–11. [Google Scholar] [CrossRef]
- Jain, A.K.; Sharma, A.K.; Khandekar, S.; Bhattacharya, B. Shape Memory Alloy-Based Sensor for Two-Phase Flow Detection. IEEE Sens. J. 2020, 20, 14209–14217. [Google Scholar] [CrossRef]
- Hunek, M.; Pliva, Z. Design and Optimisation of NiTi Pressure Gauge. In Proceedings of the 2017 IEEE International Workshop of Electronics, Control, Measurement, Signals and Their Application to Mechatronics, ECMSM 2017, Donostia, Spain, 24–26 May 2017; Institute of Electrical and Electronics Engineers Inc.: Piscataway, NJ, USA, 2017. [Google Scholar]
- Dynalloy, I. Makers of Dynamic Alloys; Dynalloy, Inc.: Irvine, CA, USA, 2018. [Google Scholar]
- Zeng, Z.; Cong, B.Q.; Oliveira, J.P.; Ke, W.C.; Schell, N.; Peng, B.; Qi, Z.W.; Ge, F.G.; Zhang, W.; Ao, S.S. Wire and Arc Additive Manufacturing of a Ni-Rich NiTi Shape Memory Alloy: Microstructure and Mechanical Properties. Addit. Manuf. 2020, 32, 101051. [Google Scholar] [CrossRef]
- Yang, J.; Heogh, W.; Ju, H.; Kang, S.; Jang, T.S.; Jung, H.D.; Jahazi, M.; Han, S.C.; Park, S.J.; Kim, H.S.; et al. Functionally Graded Structure of a Nitride-Strengthened Mg2Si-Based Hybrid Composite. J. Magnes. Alloys 2024, 12, 1239–1256. [Google Scholar] [CrossRef]
- Zhang, L.; Ren, D.; Ji, H.; Ma, A.; Daniel, E.F.; Li, S.; Jin, W.; Zheng, Y. Study on the Corrosion Behavior of NiTi Shape Memory Alloys Fabricated by Electron Beam Melting. NPJ Mater. Degrad. 2022, 6, 79. [Google Scholar] [CrossRef]
- Chmielewska, A.; Dobkowska, A.; Kijeńska-Gawrońska, E.; Jakubczak, M.; Krawczyńska, A.; Choińska, E.; Jastrzębska, A.; Dean, D.; Wysocki, B.; Święszkowski, W. Biological and Corrosion Evaluation of in Situ Alloyed NiTi Fabricated through Laser Powder Bed Fusion (LPBF). Int. J. Mol. Sci. 2021, 22, 13209. [Google Scholar] [CrossRef]
- Zhang, J.; Liu, Y.; Ren, Y.; Huan, Y.; Hao, S.; Yu, C.; Shao, Y.; Ru, Y.; Jiang, D.; Cui, L. In Situ Synchrotron X-Ray Diffraction Study of Deformation Behavior and Load Transfer in a Ti2Ni-NiTi Composite. Appl. Phys. Lett. 2014, 105, 41910. [Google Scholar] [CrossRef]
- Losertová, M.; Štencek, M.; Matýsek, D.; Štefek, O.; Drápala, J. Microstructure Evolution of Heat Treated NiTi Alloys. In IOP Conference Series: Materials Science and Engineering; IOP Publishing: Bristol, UK, 2017; Volume 266, p. 012008. [Google Scholar]
- Sławski, S.; Kciuk, M.; Klein, W. Change in Electrical Resistance of SMA (NiTi) Wires during Cyclic Stretching. Sensors 2022, 22, 3584. [Google Scholar] [CrossRef] [PubMed]
- Ferčec, J.; Anžel, I.; Rudolf, R. Stress Dependent Electrical Resistivity of Orthodontic Wire from the Shape Memory Alloy NiTi. Mater. Des. 2014, 55, 699–706. [Google Scholar] [CrossRef]
- Chen, Y.; Tyc, O.; Kadeřávek, L.; Molnárová, O.; Heller, L.; Šittner, P. Temperature and Microstructure Dependence of Localized Tensile Deformation of Superelastic NiTi Wires. Mater. Des. 2019, 174, 107797. [Google Scholar] [CrossRef]













Disclaimer/Publisher’s Note: The statements, opinions and data contained in all publications are solely those of the individual author(s) and contributor(s) and not of MDPI and/or the editor(s). MDPI and/or the editor(s) disclaim responsibility for any injury to people or property resulting from any ideas, methods, instructions or products referred to in the content. |
© 2024 by the authors. Licensee MDPI, Basel, Switzerland. This article is an open access article distributed under the terms and conditions of the Creative Commons Attribution (CC BY) license (https://creativecommons.org/licenses/by/4.0/).
Share and Cite
Hartwich, J.; Duda, S.; Sławski, S.; Kciuk, M.; Woźniak, A.; Gembalczyk, G. Experimental Investigation of the Impact of Loading Conditions on the Change in Thin NiTi Wire Resistance during Cyclic Stretching. Materials 2024, 17, 4577. https://doi.org/10.3390/ma17184577
Hartwich J, Duda S, Sławski S, Kciuk M, Woźniak A, Gembalczyk G. Experimental Investigation of the Impact of Loading Conditions on the Change in Thin NiTi Wire Resistance during Cyclic Stretching. Materials. 2024; 17(18):4577. https://doi.org/10.3390/ma17184577
Chicago/Turabian StyleHartwich, Jonasz, Sławomir Duda, Sebastian Sławski, Marek Kciuk, Anna Woźniak, and Grzegorz Gembalczyk. 2024. "Experimental Investigation of the Impact of Loading Conditions on the Change in Thin NiTi Wire Resistance during Cyclic Stretching" Materials 17, no. 18: 4577. https://doi.org/10.3390/ma17184577
APA StyleHartwich, J., Duda, S., Sławski, S., Kciuk, M., Woźniak, A., & Gembalczyk, G. (2024). Experimental Investigation of the Impact of Loading Conditions on the Change in Thin NiTi Wire Resistance during Cyclic Stretching. Materials, 17(18), 4577. https://doi.org/10.3390/ma17184577

