Scenario-Based Uncertainty Modeling for Power Management in Islanded Microgrid Using the Mixed-Integer Distributed Ant Colony Optimization
Abstract
1. Introduction
- The DL allocation problem was tackled for the first time as a stochastic optimization problem within a scenario-based uncertainty framework.
- A roulette wheel mechanism was utilized to generate 10,000 scenarios for generation and demand imbalance rather than a set of a few highly probable deterministic mismatch scenarios, as in [28].
- The DL allocation problem was tackled considering technical, environmental, and economic objectives to provide comprehensive outlook on the optimal IMG operation during off-peak hours.
- A robust, adaptive, and derivative-free method, the general backward/forward sweep (GBFS), was used to provide load-flow solution. GBFS offers more accurate representation of DG power updates compared to the load-flow method in [28].
- The proposed optimization technique, MIDACO, has been utilized for first time in a stochastic optimization with uncertainty in microgrids. The proposed technique offers a massive parallelization framework to handle the calculation burden of uncertainties. Furthermore, it offers competitive selection criteria for the non-dominated solution compared to other acclaimed metaheuristics.
- The advantage of DL-based EMS against battery-based EMS is further demonstrated via cost benefit analysis to provide yearly hot water demand for the microgrid.
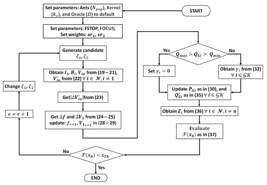
2. Methodology
2.1. Droop Control and Dump-Load-Based Energy Management System
2.2. Scenario-Based Stochastic Uncertainty Modeling
2.2.1. Stochastic Load and Wind Modeling
2.2.2. Scenario Generation, Reduction, and Aggregation
2.3. The Proposed Optimization Algorithm
2.4. The Proposed Load-Flow Method
2.4.1. Backward/Forward Sweep Stage
2.4.2. The Update Stage
3. Optimization Problem Formulation
3.1. Objective Function for Dynamic Damping Factors in GBFS
3.2. Objective Function for Dump Load Stochastic Optimization
3.2.1. Total Microgrid Cost
3.2.2. Maximum Voltage Error
3.2.3. Frequency Deviation
3.2.4. Total Energy Loss
3.3. Constraints for Dump Load Stochastic Optimization
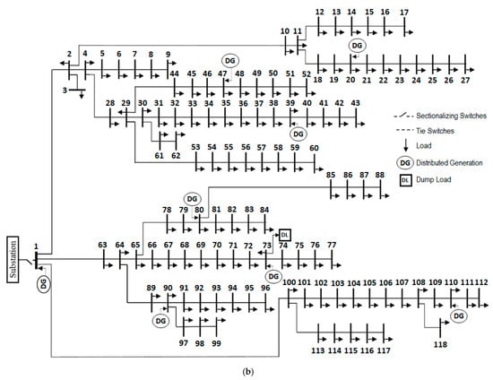
4. Results and Discussion
4.1. Multi-Objective Optimization
4.2. Comparison with Other Metaheuristics
4.3. Cost Benefit Analysis
5. Conclusions
Author Contributions
Funding
Data Availability Statement
Conflicts of Interest
Appendix A
| Acronym | Definition | Acronym | Definition |
|---|---|---|---|
| ACO | Ant Colony Optimization | MIDACO | Mixed-Integer Distributed Ant Colony Optimization |
| ACOmi | Mixed-Integer Ant Colony Optimization | MINLP | Mixed-Integer Nonlinear Programming |
| BEMS | Battery-based Energy Management System | MOGA | Multi-Objective Genetic Algorithm |
| BESS | Battery Energy Storage System | MOPSO | Multi-Objective Particle Swarm Optimization |
| BFS | Backward/Forward Sweep | MPPT | Maximum Power Point Tracking |
| CBA | Cost Benefit Analysis | MOGA | Multi-Objective Genetic Algorithm |
| DCIMG | Droop Controlled Islanded Microgrid | MOPSO | Multi-Objective Particle Swarm Optimization |
| DG | Distributed Generation | MVE | Maximum Voltage Error |
| DL | Dump Load | NGT | Natural Gas Turbine |
| DLEMS | Dump-Load-based Energy Management System | Ni-Cd | Nickel-Cadmium |
| EMS | Energy Management System | NSGA-II | Non-Dominated Sorting Genetic Algorithm |
| ELC | Electronic Load Controller | OPM | Oracle Penalty Method |
| ESS | Energy Storage System | Probability Density Function | |
| GBFS | General Backward/Forward Sweep | p.u. | Per Unit |
| IBDG | Inverter-Based Distributed Generation | RES | Renewable Energy Resources |
| IMG | Islanded Microgrid | RWM | Roulette Wheel Mechanism |
| LCOE | Levelized Cost of Energy | SBFS | Special Backward/Forward Sweep |
| Li-ion | Lithium-ion | TEL | Total Energy Loss |
| MCS | Monte Carlo Simulation | TMC | Total Microgrid Cost |
| MG | Microgrid | VB | Virtual Bus |
| MGCC | Microgrid Central Controller | WT | Wind Turbine |
| Symbol | Definition | Symbol | Definition |
|---|---|---|---|
| , , | Operating, reference, and steady state frequency | Average reactive power correction factor in the system | |
| − | Voltage and Frequency | −, − | Active power-Frequency, Reactive power-Voltage |
| , | Operational and reference voltage at bus | Reactive power error vector | |
| , | Generated and reference active power at bus | A Boolean constant to enable reactive power correction | |
| , | Generated and reference reactive power at bus | Desired reactive power at bus | |
| Wind speed probability density function | , | The objective function’s utopia and nadir values | |
| , | Weibull distribution shape factor and scale index | Matrix of weights for each sub-problem | |
| Wind speed | , | Solution weighted and average distance | |
| , | Average and standard deviation for wind speed | The balance function | |
| Wind speed state | The target function | ||
| Probability of occurrence for a wind speed state | , | Dynamic damping factors for GBFS | |
| , | Upper and lower limits for wind speed state | GBFS decision variable | |
| Mean wind speed during wind state | GBFS objective function | ||
| Rated wind turbine power | Total microgrid cost at scenario during off-peak hour | ||
| , | Cut off and cut-in wind speeds for the wind turbine | , , , | Fuel, maintenance, emissions, and technical costs at scenario during off-peak hour , respectively |
| Wind site average speed | , | Reactive and frequency costs at the scenario during the off-peak hour , respectively | |
| Rated wind turbine speed | , | Active and reactive powers generated by dispatchable DG unit at the scenario during the off-peak hour | |
| , | Load’s active and reactive random powers in scenario | , , | Fuel, maintenance, and emissions cost coefficients, respectively |
| Wind turbine’s active random power in scenario | Emissions rate by the dispatchable DG | ||
| A set of all random variables in the stochastic problem | Fuel consumption efficiency by the dispatchable DG | ||
| Convolved normalized probability for a scenario | Reactive power coefficient of the dispatchable DG | ||
| The objective function of the MINLP problem | Frequency penalty cost coefficient | ||
| Objective function value during scenario | Steady State frequency during scenario at off-peak hour | ||
| The expected value for the objective function | Voltage at bus considering scenario during the off-peak hour | ||
| , | Virtual bus generated active and reactive powers | Maximum voltage error considering scenario during the off-peak hour | |
| , | Voltage and frequency droop coefficients at bus | , , | Active power, voltage, and branch current at the virtual bus considering scenario during the off-peak hour , respectively |
| , | Equivalent voltage and frequency droop coefficients | Frequency deviation considering scenario during the off-peak hour | |
| Optimum droop settings for dump load allocation | Off-peak time duration at each scenario | ||
| , | Dump load’s active and reactive powers | , | Active and reactive power losses considering scenario during the off-peak hour , respectively |
| , , | The microgrid total number of loads, wind turbines, and generating units, respectively. | Branch current at scenario during the off-peak hour | |
| Number of uncertain variables in scenario | Number of reduced scenarios in the stochastic problem | ||
| All system buses set | , | Reactive and frequency costs at the scenario during the off-peak hour , respectively | |
| Dispatchable DG buses of the microgrid as a subset of | Dump load problem decision variable | ||
| , | Total microgrid’s active and reactive power losses | Dump load expected objective function | |
| , | The virtual bus’s voltage and frequency deviations | Dump load constraint handling function at scenario during the off-peak hour | |
| Tolerance threshold value for convergence criteria | , | Water heating costs using dump load and battery energy management systems, respectively | |
| Load-flow method iteration counter | Battery storage costs | ||
| , | Apparent power and current inject at bus | Total yearly hot water costs | |
| Branch current flowing from bus to bus | Total yearly volume of hot water | ||
| Maximum limit for branch current | , | Power required for electric and gas boilers, respectively | |
| , , | Impedance, resistance, and reactance seen by | , | Levelized cost of energy for renewable and non-renewable sourced electric boilers |
| New voltage value for bus after forward sweep | Levelized cost of energy for gas boilers | ||
| The damped system voltage vector | , | Levelized cost of energy for Li-ion and Ni-Cd batteries, respectively | |
| , | Frequency at iterations and , respectively | , | Inlet and set-point temperature for water heating boiler |
| , | Voltage at iterations and , respectively | , | Specific heat and density for water, respectively. |
| Reactive power correction vector | , | Efficiency of electric and gas boilers, respectively |
References
- Fontenot, H.; Dong, B. Modeling and control of building-integrated microgrids for optimal energy management—A review. Appl. Energy 2019, 254, 113689. [Google Scholar] [CrossRef]
- Kumar, K.P.; Saravanan, B. Recent techniques to model uncertainties in power generation from renewable energy sources and loads in microgrids—A review. Renew. Sustain. Energy Rev. 2017, 71, 348–358. [Google Scholar] [CrossRef]
- IEEE Std 1547-2018; IEEE Standard for Interconnection and Interoperability of Distributed Energy Resources with Associated Electric Power Systems Interfaces. IEEE Std 1547–2018 (Revision of IEEE Std 1547–2003); IEEE: Piscataway, NJ, USA, 2019; pp. 1–138. [CrossRef]
- Guerrero, J.M.; Vasquez, J.C.; Matas, J.; de Vicuna, L.G.; Castilla, M. Hierarchical Control of Droop-Controlled AC and DC Microgrids—A General Approach Toward Standardization. IEEE Trans. Ind. Electron. 2011, 58, 158–172. [Google Scholar] [CrossRef]
- Ssekulima, E.B.; Anwar, M.B.; Al Hinai, A.; El Moursi, M.S. Wind speed and solar irradiance forecasting techniques for enhanced renewable energy integration with the grid: A review. IET Renew. Power Gener. 2016, 10, 885–989. [Google Scholar] [CrossRef]
- El-Bidairi, K.S.; Nguyen, H.D.; Mahmoud, T.S.; Jayasinghe, S.; Guerrero, J.M. Optimal sizing of Battery Energy Storage Systems for dynamic frequency control in an islanded microgrid: A case study of Flinders Island, Australia. Energy 2020, 195, 117059. [Google Scholar] [CrossRef]
- Elrayyah, A.; Cingoz, F.; Sozer, Y. Smart Loads Management Using Droop-Based Control in Integrated Microgrid Systems. IEEE J. Emerg. Sel. Top. Power Electron. 2017, 5, 1142–1153. [Google Scholar] [CrossRef]
- Singh, S.; Jagota, S.; Singh, M. Energy management and voltage stabilization in an islanded microgrid through an electric vehicle charging station. Sustain. Cities Soc. 2018, 41, 679–694. [Google Scholar] [CrossRef]
- Haidar, A.M.; Muttaqi, K.M.; Sutanto, D. Technical challenges for electric power industries due to grid-integrated electric vehicles in low voltage distributions: A review. Energy Convers. Manag. 2014, 86, 689–700. [Google Scholar] [CrossRef]
- Faisal, M.; Hannan, M.A.; Ker, P.J.; Hussain, A.; Mansor, M.B.; Blaabjerg, F. Review of Energy Storage System Technologies in Microgrid Applications: Issues and Challenges. IEEE Access 2018, 6, 35143–35164. [Google Scholar] [CrossRef]
- Singh, R.R.; Kumar, B.A.; Shruthi, D.; Panda, R.; Raj, C.T. Review and experimental illustrations of electronic load controller used in standalone Micro-Hydro generating plants. Eng. Sci. Technol. Int. J. 2018, 21, 886–900. [Google Scholar] [CrossRef]
- Gyawali, N.; Paudel, B.; Subedi, B. Improved active power sharing strategy for ELC Controlled Synchronous Generators Based Islanded Micro Grid application. In Proceedings of the 9th International Conference on SKIMA, Kathmandu, Nepal, 15–17 December 2015; pp. 1–5. [Google Scholar] [CrossRef]
- Roodsari, B.N.; Nowicki, E.; Freere, P. A New Electronic Load Controller for the Self-excited Induction Generator to Decrease Stator Winding Stress. Energy Procedia 2014, 57, 1455–1464. [Google Scholar] [CrossRef]
- Kalla, U.K.; Singh, B.; Murthy, S.S. Modified electronic load controller for constant frequency operation with voltage regulation of small hydro driven single-phase SEIG. In Proceedings of the IEEE IASAM, Addison, TX, USA, 18–22 October 2015; pp. 1–8. [Google Scholar] [CrossRef]
- Nehrir, M.; Lameres, B.; Venkataramanan, G.; Gerez, V.; Alvarado, L. An approach to evaluate the general performance of stand-alone wind/photovoltaic generating systems. IEEE Trans. Energy Convers. 2000, 15, 433–439. [Google Scholar] [CrossRef]
- Doolla, S.; Bhatti, T. Load Frequency Control of an Isolated Small-Hydro Power Plant with Reduced Dump Load. IEEE Trans. Power Syst. 2006, 21, 1912–1919. [Google Scholar] [CrossRef]
- Roodsari, B.N.; Nowicki, E.P. Analysis and Experimental Investigation of the Improved Distributed Electronic Load Controller. IEEE Trans. Energy Convers. 2018, 33, 905–914. [Google Scholar] [CrossRef]
- Sun, Q.; Huang, B.; Li, D.; Ma, D.; Zhang, Y. Optimal Placement of Energy Storage Devices in Microgrids via Structure Preserving Energy Function. IEEE Trans. Ind. Inform. 2016, 12, 1166–1179. [Google Scholar] [CrossRef]
- Gupta, Y.; Doolla, S.; Chatterjee, K.; Pal, B.C. Optimal DG Allocation and Volt–Var Dispatch for a Droop-Based Microgrid. IEEE Trans. Smart Grid 2021, 12, 169–181. [Google Scholar] [CrossRef]
- Dzamarija, M.; Keane, A. Autonomous Curtailment Control in Distributed Generation Planning. IEEE Trans. Smart Grid 2016, 7, 1337–1345. [Google Scholar] [CrossRef]
- Chen, C.; Duan, S.; Cai, T.; Liu, B.; Hu, G. Optimal Allocation and Economic Analysis of Energy Storage System in Microgrids. IEEE Trans. Power Electron. 2011, 26, 2762–2773. [Google Scholar] [CrossRef]
- Abdelaziz, M.M.A.; Farag, H.E.; El-Saadany, E.F. Optimum Reconfiguration of Droop-Controlled Islanded Microgrids. IEEE Trans. Power Syst. 2016, 31, 2144–2153. [Google Scholar] [CrossRef]
- Marzband, M.; Parhizi, N.; Savaghebi, M.; Guerrero, J.M. Distributed Smart Decision-Making for a Multimicrogrid System Based on a Hierarchical Interactive Architecture. IEEE Trans. Energy Convers. 2016, 31, 637–648. [Google Scholar] [CrossRef]
- Maulik, A.; Das, D. Optimal Operation of Droop-Controlled Islanded Microgrids. IEEE Trans. Sustain. Energy 2018, 9, 1337–1348. [Google Scholar] [CrossRef]
- Jithendranath, J.; Das, D. Scenario-based multi-objective optimisation with loadability in islanded microgrids considering load and renewable generation uncertainties. IET Renew. Power Gener. 2019, 13, 785–800. [Google Scholar] [CrossRef]
- Uniyal, A.; Sarangi, S. Optimal allocation of ELC in microgrid using droop controlled load flow. IET Gener. Transm. Distrib. 2019, 13, 4566–4578. [Google Scholar] [CrossRef]
- Uniyal, A.; Sarangi, S.; Rawat, M.S. Optimal Dump Load Allocations in High RBDG Penetrated Microgrid for Voltage and Frequency Regulation. Arab. J. Sci. Eng. 2021, 46, 1511–1528. [Google Scholar] [CrossRef]
- Kreishan, M.Z.; Zobaa, A.F. Allocation of Dump Load in Islanded Microgrid Using the Mixed-Integer Distributed Ant Colony Optimization. IEEE Syst. J. 2022, 16, 2568–2579. [Google Scholar] [CrossRef]
- Schlüter, M.; Egea, J.A.; Antelo, L.T.; Alonso, A.A.; Banga, J.R. An Extended Ant Colony Optimization Algorithm for Integrated Process and Control System Design. Ind. Eng. Chem. Res. 2009, 48, 6723–6738. [Google Scholar] [CrossRef]
- Wozniak, M.; Sikora, A.; Zielonka, A.; Kaur, K.; Hossain, M.S.; Shorfuzzaman, M. Heuristic Optimization of Multipulse Rectifier for Reduced Energy Consumption. IEEE Trans. Ind. Inform. 2022, 18, 5515–5526. [Google Scholar] [CrossRef]
- Schlüter, M.; Egea, J.A.; Banga, J.R. Extended ant colony optimization for non-convex mixed integer nonlinear programming. Comput. Oper. Res. 2009, 36, 2217–2229. [Google Scholar] [CrossRef]
- Schlüter, M.; Gerdts, M. The oracle penalty method. J. Glob. Optim. 2010, 47, 293–325. [Google Scholar] [CrossRef]
- Schlueter, M.; Munetomo, M. MIDACO Solver User Manual 6.0, Hokkaido University, Sapporo, Japan, Technical Report. 2018. Available online: http://www.midaco-solver.com/data/other/MIDACO_User_Manual.pdf (accessed on 21 June 2022).
- Schlueter, M.; Munetomo, M. Parallelization strategies for evolutionary algorithms for MINLP. In Proceedings of the IEEE CEC, Cancun, Mexico, 20–23 June 2013; pp. 635–641. [Google Scholar] [CrossRef]
- Schlüter, M.; Gerdts, M.; Rückmann, J.-J. A numerical study of MIDACO on 100 MINLP benchmarks. Optimization 2012, 61, 873–900. [Google Scholar] [CrossRef]
- Schlueter, M. MIDACO software performance on interplanetary trajectory benchmarks. Adv. Space Res. 2014, 54, 744–754. [Google Scholar] [CrossRef]
- Price, W.W.; Chiang, H.D.; Clark, H.K.; Concordia, C.; Lee, D.C.; Hsu, J.C.; Ihara, S.; King, C.A.; Lin, C.J.; Mansour, Y.; et al. Load representation for dynamic performance analysis (of power systems). IEEE Trans. Power Syst. 1993, 8, 472–482. [Google Scholar] [CrossRef]
- Niknam, T.; Kavousifard, A.; Aghaei, J. Scenario-based multiobjective distribution feeder reconfiguration considering wind power using adaptive modified particle swarm optimisation. IET Renew. Power Gener. 2012, 6, 236–247. [Google Scholar] [CrossRef]
- Aien, M.; Hajebrahimi, A.; Fotuhi-Firuzabad, M. A comprehensive review on uncertainty modeling techniques in power system studies. Renew. Sustain. Energy Rev. 2016, 57, 1077–1089. [Google Scholar] [CrossRef]
- Kreishan, M.Z.; Zobaa, A.F. Optimal Allocation and Operation of Droop-Controlled Islanded Microgrids: A Review. Energies 2021, 14, 4653. [Google Scholar] [CrossRef]
- Probability Methods Subcommittee. IEEE Reliability Test System. IEEE Trans. Power Appar. Syst. 1979, PAS-98, 2047–2054. [Google Scholar] [CrossRef]
- Atwa, Y.M.; El-Saadany, E.F.; Salama, M.M.A.; Seethapathy, R.; Assam, M.; Conti, S. Adequacy Evaluation of Distribution System Including Wind/Solar DG During Different Modes of Operation. IEEE Trans. Power Syst. 2011, 26, 1945–1952. [Google Scholar] [CrossRef]
- Hajipour, E.; Bozorg, M.; Fotuhi-Firuzabad, M. Stochastic Capacity Expansion Planning of Remote Microgrids with Wind Farms and Energy Storage. IEEE Trans. Sustain. Energy 2015, 6, 491–498. [Google Scholar] [CrossRef]
- Amjady, N.; Aghaei, J.; Shayanfar, H.A. Stochastic Multiobjective Market Clearing of Joint Energy and Reserves Auctions Ensuring Power System Security. IEEE Trans. Power Syst. 2009, 24, 1841–1854. [Google Scholar] [CrossRef]
- Jangamshetti, S.; Rau, V. Site matching of wind turbine generators: A case study. IEEE Trans. Energy Convers. 1999, 14, 1537–1543. [Google Scholar] [CrossRef]
- Justus, C.G. Winds and Wind System Performance; Franklin Institute Press: Philadelphia, PA, USA, 1978. [Google Scholar]
- Johnson, G.L. Wind Energy Systems; Prentice-Hall, Inc.: Englewood Cliffs, NJ, USA, 1985. [Google Scholar]
- Fajber, R.; Monahan, A.H.; Merryfield, W.J. At What Time of Day Do Daily Extreme Near-Surface Wind Speeds Occur? J. Clim. 2014, 27, 4226–4244. [Google Scholar] [CrossRef]
- Mohammadi, S.; Soleymani, S.; Mozafari, B. Scenario-based stochastic operation management of MicroGrid including Wind, Photovoltaic, Micro-Turbine, Fuel Cell and Energy Storage Devices. Int. J. Electr. Power Energy Syst. 2014, 54, 525–535. [Google Scholar] [CrossRef]
- Atwa, Y.; El-Saadany, E. Probabilistic approach for optimal allocation of wind-based distributed generation in distribution systems. IET Renew. Power Gener. 2011, 5, 79–88. [Google Scholar] [CrossRef]
- Schlueter, M.; Yam, C.H.; Watanabe, T.; Oyama, A. Parallelization impact on many-objective optimization for space trajectory design. Int. J. Mach. Learn. Comput. 2016, 6, 9–14. [Google Scholar] [CrossRef]
- Kreishan, M.Z.; Zobaa, A.F. Mixed-Integer Distributed Ant Colony Optimization of Dump Load Allocation with Improved Islanded Microgrid Load Flow. Energies 2023, 16, 213. [Google Scholar] [CrossRef]
- Teng, J.-H. A direct approach for distribution system load flow solutions. IEEE Trans. Power Deliv. 2003, 18, 882–887. [Google Scholar] [CrossRef]
- Pesaran, M.H.A.; Huy, P.D.; Ramachandaramurthy, V.K. A review of the optimal allocation of distributed generation: Objectives, constraints, methods, and algorithms. Renew. Sustain. Energy Rev. 2017, 75, 293–312. [Google Scholar] [CrossRef]
- Gupta, Y.; Nellikkath, R.; Chatterjee, K.; Doolla, S. Volt–Var Optimization and Reconfiguration: Reducing Power Demand and Losses in a Droop-Based Microgrid. IEEE Trans. Ind. Appl. 2021, 57, 2769–2781. [Google Scholar] [CrossRef]
- Shoeb, A.; Shahnia, F.; Shafiullah, G. A Multilayer and Event-Triggered Voltage and Frequency Management Technique for Microgrid’s Central Controller Considering Operational and Sustainability Aspects. IEEE Trans. Smart Grid 2018, 10, 5136–5151. [Google Scholar] [CrossRef]
- Manna, D.; Goswami, S.K.; Chattopadhyay, P.K. Jadavpur University Droop control for micro-grid operations including generation cost and demand side management. CSEE J. Power Energy Syst. 2017, 3, 232–242. [Google Scholar] [CrossRef]
- Gabbar, H.A.; Zidan, A. Optimal scheduling of interconnected micro energy grids with multiple fuel options. Sustain. Energy Grids Netw. 2016, 7, 80–89. [Google Scholar] [CrossRef]
- Ma, J.; Summers, K.; Wen, F. Joint energy and reserve market design with explicit consideration on frequency quality. Energy Convers. Econ. 2021, 2, 25–34. [Google Scholar] [CrossRef]
- Nutkani, I.U.; Loh, P.C.; Blaabjerg, F. Cost-based droop scheme with lower generation costs for microgrids. IET Power Electron. 2014, 7, 1171–1180. [Google Scholar] [CrossRef]
- Khaledian, A.; Ahmadian, A.; Aliakbar-Golkar, M. Optimal droop gains assignment for real-time energy management in an islanding microgrid: A two-layer techno-economic approach. IET Gener. Transm. Distrib. 2017, 11, 2292–2304. [Google Scholar] [CrossRef]
- IEEE Std 1547.7-2013; IEEE Guide for Conducting Distribution Impact Studies for Distributed Resource Interconnection. IEEE: Piscataway, NJ, USA, 2014; pp. 1–137. [CrossRef]
- Baran, M.E.; Wu, F. Optimal capacitor placement on radial distribution systems. IEEE Trans. Power Deliv. 1989, 4, 725–734. [Google Scholar] [CrossRef]
- Abdelaziz, A.; Ali, E.; Abd-Elazim, S. Optimal sizing and locations of capacitors in radial distribution systems via flower pollination optimization algorithm and power loss index. Eng. Sci. Technol. Int. J. 2016, 19, 610–618. [Google Scholar] [CrossRef]
- Mahfoud, R.J.; Sun, Y.; Alkayem, N.F.; Alhelou, H.H.; Siano, P.; Shafie-Khah, M. A Novel Combined Evolutionary Algorithm for Optimal Planning of Distributed Generators in Radial Distribution Systems. Appl. Sci. 2019, 9, 3394. [Google Scholar] [CrossRef]
- Kreishan, M.Z.; Zobaa, A.F. Dump Load Allocation in Islanded Microgrid with Robust Backward\Forward Sweep and MIDACO. In Proceedings of the 57th International UPEC, Istanbul, Turkey, 30 August–2 September 2022; pp. 1–6. [Google Scholar] [CrossRef]
- Deb, K. Multi-Objective Optimization using Evolutionary Algorithms; John Wiley & Sons: Hoboken, NJ, USA, 2001; Volume 16. [Google Scholar]
- Coello, C.A.C.; Toscano-Pulido, G.T.; Lechuga, M.S. Handling multiple objectives with particle swarm optimization. IEEE Trans. Evol. Comput. 2004, 8, 256–279. [Google Scholar] [CrossRef]
- Sierra, M.R.; Coello, C.A.C. Improving PSO-Based Multi-objective Optimization Using Crowding, Mutation and ∈-Dominance. In Proceedings of the 3rd ICEMO Conference, Guanajuato, Mexico, 9–11 March 2005; pp. 505–519. [Google Scholar] [CrossRef]
- Deb, K.; Pratap, A.; Agarwal, S.; Meyarivan, T. A fast and elitist multiobjective genetic algorithm: NSGA-II. IEEE Trans. Evol. Comput. 2002, 6, 182–197. [Google Scholar] [CrossRef]
- Deb, K.; Agrawal, S. A Niched-Penalty Approach for Constraint Handling in Genetic Algorithms. In Proceedings of the ICANNGA Conference, Portorož, Slovenia; 1999; pp. 235–243. [Google Scholar] [CrossRef]
- Hansen, K. Decision-making based on energy costs: Comparing levelized cost of energy and energy system costs. Energy Strategy Rev. 2019, 24, 68–82. [Google Scholar] [CrossRef]
- Li, Z.; Xu, Y.; Feng, X.; Wu, Q. Optimal Stochastic Deployment of Heterogeneous Energy Storage in a Residential Multienergy Microgrid with Demand-Side Management. IEEE Trans. Ind. Inform. 2021, 17, 991–1004. [Google Scholar] [CrossRef]
- Mostafa, M.H.; Aleem, S.H.E.A.; Ali, S.G.; Ali, Z.M.; Abdelaziz, A.Y. Techno-economic assessment of energy storage systems using annualized life cycle cost of storage (LCCOS) and levelized cost of energy (LCOE) metrics. J. Energy Storage 2020, 29, 101345. [Google Scholar] [CrossRef]











| NGT | WT | Others | |||
|---|---|---|---|---|---|
| Parameter | Value | Parameter | Value | Parameter | Value |
| (MW) | 0.20 | (m/s) | 10.5 | 0.3 | |
| (MW) | 2.00 | (MW) | 0.5 | ($/Hz) | 100 |
| 0.37 | (m/s) | 4.5 | - | - | |
| (Tonne/MWh) | 0.2016 | (m/s) | 22.0 | - | - |
| (USD/Tonne) | 40.7 | (m/s) | 10.5473 | - | - |
| (USD/MWh) | 20.5 | (m/s) | 3.7282 | - | - |
| (USD/MWh) | 3.0 | - | - | - | - |
| DG Unit | DG Type | No. of Units | Bus No. | ||
|---|---|---|---|---|---|
| DG1 | NGT | 1 | 1 | −0.05 | −0.05 |
| DG2 | NGT | 1 | 6 | −1 | −1 |
| DG3 | NGT | 1 | 15 | −0.1 | −0.1 |
| DG4 | WT | 1 | 30 | - | - |
| DG5 | WT | 1 | 55 | - | - |
| DG Unit | DG Type | No. of Units | Bus No. | ||
|---|---|---|---|---|---|
| DG1 | NGT | 2 | 1 | −0.05 | −0.05 |
| DG2 | NGT | 2 | 20 | −1 | −1 |
| DG3 | NGT | 2 | 39 | −0.1 | −0.1 |
| DG4 | NGT | 2 | 47 | −1 | −1 |
| DG5 | NGT | 2 | 73 | −0.2 | −0.2 |
| DG6 | WT | 2 | 80 | - | - |
| DG7 | WT | 2 | 90 | - | - |
| DG8 | WT | 2 | 110 | - | - |
| Test System | 69 | 118 | ||
| Allocation Case | No DL | With DL | No DL | With DL |
| - | 30 | - | 73 | |
| (p.u.) | - | 1.2831 | - | 1.7670 |
| (p.u.) | - | 0.4004 | - | 0.2389 |
| - | 0.0014 | - | 0.0003 | |
| TMC (USD) | 6991.7 | 831.30 | 7635.6 | 941.61 |
| MVE (p.u.) | 0.0937 | 0.0245 | 0.1024 | 0.0324 |
| (p.u.) | 0.1901 | 0.0022 | 0.2405 | 0.0005 |
| TEL (kWh) | 200 | 228.9 | 1472.8 | 1270.3 |
| Time (s) | - | 638 | - | 872 |
| Method | MOGA | NSGA-II | MOPSO | MIDACO | ||||
|---|---|---|---|---|---|---|---|---|
| Bus System | 69 | 118 | 69 | 118 | 69 | 118 | 69 | 118 |
| 30 | 79 | 28 | 62 | 49 | 69 | 30 | 73 | |
| (p.u.) | 1.5624 | 2.0357 | 1.2834 | 1.7750 | 1.6615 | 2.3868 | 1.2831 | 1.7670 |
| (p.u.) | 0.9545 | 0.4547 | 0.6879 | 0.4463 | 0.6033 | 1.1205 | 0.4004 | 0.2389 |
| (p.u.) | 0.0014 | 0.0003 | 0.0015 | 0.0003 | 0.0014 | 0.0003 | 0.0014 | 0.0003 |
| TMC (USD) | 896.36 | 957.71 | 834.00 | 944.68 | 916.69 | 972.57 | 831.30 | 941.61 |
| MVE (p.u.) | 0.0262 | 0.0387 | 0.0254 | 0.0419 | 0.0250 | 0.0330 | 0.0245 | 0.0324 |
| (p.u.) | 0.0021 | 0.0005 | 0.0022 | 0.0005 | 0.0020 | 0.0004 | 0.0022 | 0.0005 |
| TEL (p.u.) | 0.4951 | 3.1302 | 0.4616 | 2.9582 | 0.5296 | 3.0059 | 0.4578 | 2.5405 |
| MAXEVAL | 400 | 400 | 200 | 200 | 400 | 400 | 10,000 | 10,000 |
| Time a (s) | 9763 | 12,061 | 12,203 | 12,843 | 7617 | 9214 | 638 | 872 |
| Cost Coefficients | Technical Characteristics | ||
|---|---|---|---|
| Parameter | Value | Parameter | Value |
| (USD/MWh) | 33.42 | (°C) | 10 |
| (USD/MWh) | 70.06 | (°C) | 60 |
| (USD/MWh) | 57.13 | (J/Kg. °C) | 4200 |
| (USD/MWh) | 658.61 | (Kg/m3) | 997 |
| (USD/MWh) | 691.06 | 0.99 | |
| - | - | 0.80 | |
| EMS Method | Using DL | Using Li-ion | Using Ni-Cd | |||
|---|---|---|---|---|---|---|
| Test system | 69 | 118 | 69 | 118 | 69 | 118 |
| (MW) | 0.6416 | 0.8835 | 0.6416 | 0.8835 | 0.6416 | 0.8835 |
| (MW) | 5.3584 | 8.6165 | - | - | - | - |
| (USD/day) | 3175 | 5065.90 | - | - | - | - |
| (MW) | - | - | 7.4251 | 11.7563 | 7.4251 | 11.7563 |
| (USD/day) | - | - | 6774.07 | 10,028.1 | 6940.61 | 10,257.4 |
| (USD/day) | - | - | 3380.5 | 4655.1 | 3547.1 | 4884.4 |
| (m3/day) | 817.06 | 1293.67 | 817.06 | 1293.67 | 817.06 | 1293.67 |
| ($/year) | 1,159,667.99 | 1,850,319.83 | 2,474,229.79 | 3,662,771.75 | 2,535,058.14 | 3,746,532.52 |
| Saving method | - | Using DL instead of Li-ion | Using DL instead of Ni-Cd | |||
| Net savings (USD/year) | - | - | 1,314,561.79 | 1,812,452.0 | 1,375,390.14 | 1,896,212.69 |
Disclaimer/Publisher’s Note: The statements, opinions and data contained in all publications are solely those of the individual author(s) and contributor(s) and not of MDPI and/or the editor(s). MDPI and/or the editor(s) disclaim responsibility for any injury to people or property resulting from any ideas, methods, instructions or products referred to in the content. |
© 2023 by the authors. Licensee MDPI, Basel, Switzerland. This article is an open access article distributed under the terms and conditions of the Creative Commons Attribution (CC BY) license (https://creativecommons.org/licenses/by/4.0/).
Share and Cite
Kreishan, M.Z.; Zobaa, A.F. Scenario-Based Uncertainty Modeling for Power Management in Islanded Microgrid Using the Mixed-Integer Distributed Ant Colony Optimization. Energies 2023, 16, 4257. https://doi.org/10.3390/en16104257
Kreishan MZ, Zobaa AF. Scenario-Based Uncertainty Modeling for Power Management in Islanded Microgrid Using the Mixed-Integer Distributed Ant Colony Optimization. Energies. 2023; 16(10):4257. https://doi.org/10.3390/en16104257
Chicago/Turabian StyleKreishan, Maen Z., and Ahmed F. Zobaa. 2023. "Scenario-Based Uncertainty Modeling for Power Management in Islanded Microgrid Using the Mixed-Integer Distributed Ant Colony Optimization" Energies 16, no. 10: 4257. https://doi.org/10.3390/en16104257
APA StyleKreishan, M. Z., & Zobaa, A. F. (2023). Scenario-Based Uncertainty Modeling for Power Management in Islanded Microgrid Using the Mixed-Integer Distributed Ant Colony Optimization. Energies, 16(10), 4257. https://doi.org/10.3390/en16104257
