Next Article in Journal
Techno-Economic Assessment of Calcium Looping for Thermochemical Energy Storage with CO2 Capture
Previous Article in Journal
Comprehensive Model for Real Battery Simulation Responsive to Variable Load
Previous Article in Special Issue
Experimental Study on Dynamic Combustion Characteristics in Swirl-Stabilized Combustors
 
 
Font Type:
Arial Georgia Verdana
Font Size:
Aa Aa Aa
Line Spacing:
Column Width:
Background:
Article

Analysis of Propellant Weight under Re-Entry Conditions for a Reusable Launch Vehicle Using Retropropulsion

Department of Aerospace Engineering, Inha University, Incheon 21999, Korea
*
Author to whom correspondence should be addressed.
Energies 2021, 14(11), 3210; https://doi.org/10.3390/en14113210
Submission received: 21 April 2021 / Revised: 21 May 2021 / Accepted: 28 May 2021 / Published: 31 May 2021
(This article belongs to the Special Issue Propulsion and Combustion in Aerospace Systems)

Abstract

In this study, a minimum amount of required propellant was calculated by analyzing the sequence with various re-entry conditions. This study aims to obtain data related to variation in trajectory and required propellant weight according to various re-entry scenarios. The drag coefficient at various altitudes, velocities, and thrust was calculated through numerical simulations to raise the reliability of the results. The calculation results were compared to the optimal values extracted from the genetic algorithm. It was observed that the duration of the entry-burn phase is dominant to the total required propellant weight. As a general tendency, high entry-burn starting altitude, high ending Mach number, and low landing-burn starting thrust make the required propellant weight low. However, if the entry-burn ending condition is set to the Mach number, it is necessary to select an appropriate re-entry condition. Additionally, from comparisons with the optimized results, it was confirmed that accurate calculation of the drag coefficient is important to succeed a soft landing of RLV.

1. Introduction

With increasing interest in space development and exploration, the satellite market, as well as the demand for space launch vehicles essential for satellite launch, has also been growing. The increase in the demand for launch vehicles has led to a request to reduce the launch cost. Among the various methods proposed for reducing the launch cost, the most considerable cost reduction can be achieved using the vehicle reuse technology, which recovers and reuses vehicles. Currently, the Falcon 9 launch vehicle, developed by SpaceX in the United States, is the only successful commercialization and in operation. The Falcon 9 heavy launch vehicle aims to reduce the launch cost by up to 50 million USD [1].
To apply the reuse technology, it is necessary to grasp the operation concept of a reusable launch vehicle (RLV). An RLV using retropropulsion technology was launched with an extra propellant for retropropulsion. Because this leads to a weight loss of the payload or reduction in the satellite target orbit, it is vital to minimize the amount of propellant required for retropropulsion by establishing an optimal re-entry operation concept and method. In advanced countries, trajectory optimization and re-entry technology for RLVs are being actively researched.
Trajectory optimization is mainly targeted at space vehicles in space shuttles. Various techniques in terms of control were proposed, and performance analyses have been performed according to changes in the optimization method [2,3,4,5,6,7,8,9]. In terms of the re-entry technology, the flow characteristics during re-entry have also been widely studied. These studies were mainly related to Mars re-entry, and relatively recent studies have been conducted on Falcon 9. Berry et al. [9] and McDaniel et al. [10] observed the deceleration effect upon entering Mars according to various variables such as nozzle position, angle, and injection pressure. They analyzed the nozzle conditions capable of deceleration by retropropulsion. Based on previous studies, Edquist et al. [11,12] proposed a supersonic retropropulsion technology for landing on Mars with a heavier payload and analyzed the acting force through transient computational simulations by applying the actual shape of Falcon 9 to the vehicle. Brandt [13] observed the nozzle flow and pressure distribution generated during retropropulsion, assuming the falling of the space launch vehicle. Horvath et al. [14] observed the heat distribution of the flow around a launch vehicle by photographing infrared rays. Ecker et al. [15] numerically analyzed the thermal load upon the re-entry of a vehicle.
However, to develop a space launch vehicle that applies the reuse technology, it is necessary to obtain accurate data regarding the results obtained from various re-entry scenarios and estimate the amount of propellant required. In this regard, for ease of interpretation, most previous studies have assumed that the drag coefficient acting on the vehicle upon re-entry is an approximately constant value. However, when the vehicle re-enters, the drag and force acting on the vehicle vary depending on the altitude and velocity as well as whether the retropropulsion is on or off [15]. This can significantly affect the velocity increment and altitude change. Therefore, higher reliability can be secured by accurately calculating and applying the generated force, including drag, to the aircraft according to the flight conditions when falling.
In this study, the re-entry operation concept was established as fundamental research on the re-entry vehicle reuse technology. The minimum required propellant weight was calculated by analyzing the sequence for each re-entry condition. By applying the specifications to the test vehicle on which the flight test was performed, controllable variables were selected among various re-entry conditions. From the sequence analysis, the re-entry conditions under which landing with the minimum propellant weight was achieved were derived. The drag force was accurately derived according to the altitude and Mach number and applied through computational simulations. The calculated trajectory results and propellant weight were compared to the optimized values extracted from the optimization process using the genetic algorithm.

2. Sequence for Computing Minimum Propellant Weight

2.1. Operational Concept of RLV

For the development of an RLV, it is necessary to establish an operational concept and a re-entry sequence. The re-entry sequence for Falcon 9, the only commercial RLV currently in operation, comprises boostback-burn, entry-burn, free-fall flight, and landing-burn phases. In the boostback-burn phase, a falling direction of the vehicle is altered to head toward the recovery point. In the entry-burn phase, retropropulsion is performed with a maximum thrust to obtain the maximum deceleration effect at high altitudes. In the free-fall flight phase after the entry-burn phase, natural deceleration by drag occurs. Finally, the landing-burn phase is aimed at soft landing. The operational concept of RLV is typically divided into ground and ocean landings. The boostback-burn phase is omitted in ocean landing because the first stage is recovered on the ocean barge near the expected fall point.
Figure 1 shows the basic operational concept. In this study, detailed re-entry sequences were established by referring to the ocean landing of the Falcon 9 vehicle.
A Korean engine test vehicle, which has a thrust of 75 tonf, was selected as the launch vehicle for the analysis. The initial altitude and velocity of the basic sequence ① were based on the flight results of the test vehicle. However, while the exact maximum altitude and range were disclosed, the flight velocity remained unknown. Thus, the velocity at the maximum altitude was estimated through a 3 Degree of Freedom (DOF) motion analysis. The maximum altitude was calculated as 209 km and the velocity at the maximum altitude was 1042.7 m/s.
The retropropulsion is the only factor that the energy consumption occurs in the re-entry sequence. The retropropulsion is operated twice generally: Entry-burn and Landing-burn. The energy(propellant) consumption is determined by thrust and duration of each retropropulsion phase, and the duration is controlled by the starting and ending condition of each phase. Various parameters can be regarded as the starting and ending conditions, but the parameters related to vehicle operation directly are altitude and velocity. As a result, in this study, the required propellant weight was calculated with the starting altitude and ending Mach number of the entry-burn phase and the landing-burn starting thrust as the re-entry condition variables. The RLV can land without the entry-burn phase through a natural deceleration with drag force theoretically, but it is impractical in that it may cause harmful damage to the vehicle by aerodynamic heating. For that reason, it makes sense to achieve adequate deceleration through entry burning. The variable values about re-entry condition were selected by referring to the re-entry data of the Falcon 9 vehicle released online, which is based on the entry-burn starting altitude of 60 km and the entry-burn ending Mach number of 3.0. The landing-burn starting thrust was set to 1–10 tonf. Table 1 shows the values for each variable. The starting altitude of the landing-burn phase for sequence ④ in Figure 1 was set to an altitude of 3 km by referring to various Falcon 9 re-entry sequences published online [16,17,18].
Table 2 presents the basic input values, including the specifications of the test vehicle [19,20] and the physical properties of kerosene combustion gas. The combustion gas properties derived through the NASA CEA program were set to remain constant by fixing the combustion gas temperature regardless of the thrust.

2.2. Procedure of Re-Entry Sequence

The trajectory calculation only considered the falling motion of the vehicle. Because the effect of the angle of attack was relatively insignificant, it was assumed to be zero in the related previous studies [15]. The equations of motion can be expressed as Equations (1)–(4), which represent the velocity, flight path angle, altitude, and propellant mass, respectively. The flight path angle is the angle between the horizontal and velocity vectors, which describes whether the vehicle is climbing or descending. The U.S. Standard Atmosphere data were applied to the density and temperature changes with altitude [21].
d V d t = T ˜ cos α D m d + m p g sin γ
d γ d t = T ˜ sin α + L ( m d + m p ) V g cos γ V + V cos γ r
d h d t = V sin γ
d m p d t = T ˜ u e

2.2.1. Entire Calculation Process

In this study, the bisection method was used to find a minimum propellant weight. The bisection method is a successive approximation method that finds the root of continuous function through repeatedly bisecting the interval. The method solves the equation f(x) = 0 numerically, where f(x) is a function defined over the interval [a, b] and where f(a) and f(b) have opposite signs. At each iteration, the method divides the interval by midpoint c = (a + b)/2 and solve the equation to obtain a solution f(c). If f(a) and f(c) have opposite signs, the method sets c as the new value for b, and if f(b) and f(c) have opposite signs, then the method sets c as the new a. If convergence is satisfied, the iteration stops and the method return the output value c.
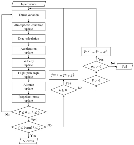
For using the bisection method, the function and interval should be set. The entire calculation process composed of the entry-burn and free-flight phase module and the landing-burn modules was used as the function. The lower and upper bound of the propellant weight was applied to the interval of the function. The return value of the calculation process is set to +1 or −1 according to the success or failure of landing. The criterion of convergence is that an error between the propellant weight that is set to each interval (a, b) is lower than tolerance value. Figure 2 shows the entire calculation process with the bisection method.

2.2.2. Entry-Burn and Free-Fall Flight Modules

The entry-burn module aims to obtain the residual propellant amount after passing through the entry-burn and free-fall flight phases with the re-entry condition from a given initial propellant amount. Figure 3 shows the calculation process of the entry-burn and free-fall flight modules.
Table 3 and Table 4 present the fixed input values and variables of the entry-burn module, respectively. The free fall starts from the initial velocity and altitude, as presented in Table 4, where the initial flight path angle is set to zero to assume a state horizontal to the ground. Based on the atmospheric density and temperature according to the altitude, the drag acting on the vehicle is calculated. The entry-burn phase starts when altitude reaches the value listed in Table 4. In the entry-burn phase, the engine thrust maintains a maximum thrust of 75 tonf to achieve maximum deceleration. In the free-fall flight phase after the entry-burn phase, natural deceleration is performed by drag. Therefore, both thrust and drag are considered within the entry-burn phase when calculating the acceleration of the vehicle. However, only drag is acted except at the entry-burn phase so that the natural deceleration is performed by drag. The drag is calculated based on the atmospheric density and the vehicle’s velocity, and the drag coefficient is calculated by conducting computational simulations. The changes in velocity, flight path angle, altitude, and propellant mass are updated through the calculated acceleration. The calculation process is repeated until a landing-burn starting altitude of 3 km is satisfied. If the landing-burn starting altitude is satisfied, the calculation ends, and the output value is obtained.

2.2.3. Landing-Burn Module

The calculation process for the landing-burn module is illustrated in Figure 4. This module aims to allow the vehicle to land softly, which ensures that the altitude and velocity simultaneously meet the value of zero. The landing-burn module executes the calculation by applying the output value of the entry-burn module as an input value. The thrust in the landing-burn phase varies through the quadratic function according to the analysis result obtained for the Falcon 9 vehicle [22]. However, in this study, an appropriate thrust throttling rate that satisfies the minimum propellant weight is calculated by assuming that the thrust takes the form of a linear equation considering the calculation cost. The analysis process of the landing-burn module presented in Figure 4 can be described as follows.
The acceleration is calculated using the initial thrust and drag at the initial altitude and velocity. The changes in the velocity, altitude, and propellant weight are sequentially updated, and an iterative calculation is performed until either the velocity or altitude meets zero. Let us assume that the velocity is zero, whereas the altitude exceeds zero. In this case, the acceleration should be lowered so that the velocity decreases slowly, which can be satisfied by reducing the thrust throttling rate. In contrast, when the altitude is zero but the velocity is higher, the thrust throttling rate should be increased to reduce the velocity more rapidly, which is possible only when the residual propellant is present, because it simultaneously increases the propellant’s consumption. Therefore, if the altitude is zero and the velocity is higher, but there is no remaining propellant, it is judged as a landing failure. Finally, if the velocity and altitude meet the value of zero simultaneously, it is judged as a landing success, in which the remaining propellant weight and thrust throttling rate are obtained. Table 5 shows the input and output variables of the landing-burn module.

3. Calculation of Drag Coefficient through CFD

In most previous studies, the drag coefficient of the vehicle was considered constant. However, in the re-entry sequence, the altitude and velocity continuously change and retropropulsion is performed for deceleration. Because the vehicle is operated at supersonic velocity in the entry-burn and free-fall flight phases, a strong shockwave is generated in front of the nozzle exit. At this moment, if a flow is injected from the nozzle for retropropulsion, a very complex flowfield is formed owing to the interaction between the shock wave and nozzle flow, which induces a change in the force acting on the surface and the drag coefficient. Therefore, to apply an accurate drag value, it is necessary to consider the drag coefficient with the altitude, velocity, and presence or absence of the thrust. In this study, numerical simulations were performed to calculate the drag coefficient under various conditions, including the entry-burn, free-fall flight, and landing-burn phases. The geometry of the test launch vehicle was applied, and detailed specifications were referred to from previous studies [19,20].

3.1. Numerical Techniques and Validation

The numerical simulations were performed using a commercial program (Star-CCM+ 14.02). A two-dimensional axisymmetric steady-state RANS equation with a density-based coupled solver was applied. Turbulence modeling was performed using the Spalart–Allmaras model, which can simulate high-velocity external flows. The advection upstream splitting method (AUSM+) was applied for the inviscid convective term and 2nd-order central discretization was applied for the diffusion term. In addition, spatial discretization maintained the 3rd-order accuracy by applying the Monotonic Upwind Scheme for Conservation Laws (MUSCL), and the gas was considered an ideal gas. Sutherland’s law was used to compute the dynamic viscosity, and the specific heat at constant pressure was calculated from the polynomial function of temperature. The combustion gas of kerosene and oxygen fuel was applied as a gas component with air. For an accurate analysis of the turbulent flow and boundary layer, the wall condition was set to an isothermal no-slip condition, and the Y+ value at the wall was set to close to 1. It was confirmed that the continuity residual decreased to less than 10−3, and thus, stably converged. Figure 5 presents the mesh domain and boundary types.
To validate the numerical technique used in this study, the numerical results were compared with those obtained previously [23], with the aim of analyzing the effect of retropropulsion on Mars entry. Most retropropulsion technologies for RLV are sought to enter planets such as Mars and Earth. In addition, as many research results have been published, it is thought to be suitable for validation.
The geometry [23] of reference simulation is a 2.6% scale model of the Apollo capsule. The model’s base diameter is 101.6 mm and the nozzle exit diameter is 12.7 mm; the freestream and retropropulsion conditions are listed in Table 6.
The Mach number contour and Mach number distribution on the centerline are presented in Figure 6, and the result can be considered to be consistent with that obtained for the reference study [23] when the mesh size around the nozzle is 0.5 mm. Therefore, the numerical technique and mesh presented above were used to analyze the drag in the re-entry sequence.

3.2. Drag Analysis Results

3.2.1. Entry-Burn Phase

The entry-burn phase proceeded at a high altitude and supersonic velocity, and the vehicle in this phase generated maximum thrust to achieve maximum deceleration. Therefore, the freestream condition was set to an altitude of 50–70 km and a Mach number of 4–7 to observe the tendency of the change in thrust and drag coefficient. The thrust of the vehicle was fixed at 75 tonf, which is the maximum vacuum thrust of the test launch vehicle.
Figure 7 shows the force coefficients at different altitudes and Mach numbers in the entry-burn phase. C d , C T , and C A F are the drag, thrust, and total axial force coefficients, respectively, as defined by Equations (5)–(7). As the acting directions of the nozzle thrust and the external drag force coincide when the retropropulsion is on, the total axial force acting on the vehicle is expressed as the sum of the drag and thrust.
C d = D 1 2 ρ u 2 S
C T = T ˜ 1 2 ρ u 2 S
C A F = D + T ˜ 1 2 ρ u 2 S = C d + C T
As the Mach number increases at the same altitude and the altitude decreases at the same Mach number, the dynamic pressure increases, and thus, the thrust and drag coefficient decrease. In addition, the magnitude of the thrust is at least 100 times the drag force, and the drag is negligible when the thrust is generated under high altitude and high-velocity conditions, such as the entry-burn phase. Thus, only thrust was considered in the acceleration calculation in the entry-burn phase, ignoring drag.

3.2.2. Free-Fall Flight

The altitude in the free-fall flight phase is lower than that in the entry-burn phase. Because the dynamic pressure increases as the altitude decreases, the drag force also increases and natural deceleration can be performed. In addition, as the starting and ending conditions differ according to the initial input, obtaining data for a broader range of freestream conditions is necessary. Therefore, the freestream conditions were set to an altitude of 10–50 km and a Mach number of 2–6, and the total axial force was equal to the drag because there is no thrust.
Figure 8 presents the flowfield of the free-fall flight phase, where (a) and (b) indicate the Mach number and Cp contour at an altitude of 40 km and Mach number of 3.0, respectively. Cp indicates a dimensionless pressure coefficient by dividing the pressure by the dynamic pressure and has the same tendency as the drag coefficient. Figure 8a shows that at the constant altitude, the pressure coefficient around the nozzle decreases as the Mach number increases. However, as shown in Figure 8b, at the same Mach number, the pressure coefficient field is similarly formed regardless of the altitude.
Figure 9a shows the axial force coefficient as a function of the altitude and Mach number, which is the same to the drag coefficient in free-fall flight phase. As the Mach number increases at the same altitude, the total axial force coefficient decreases by 0.1–0.3. In addition, as the altitude increases at the same Mach number, the total axial force coefficient increases by a maximum value of 0.1, as presented previously [24]. Hence, the total axial force coefficient in the free-fall flight phase was calculated using Equation (8), which was derived by curve fitting, as shown in Figure 9b.
C A F = 0.9383 + 3.711 10 7 h 0.1346 M + 2.845 10 11 h 2 2.522 10 7 M h + 0.01143 M 2

3.2.3. Landing-Burn Phase

The velocity of the vehicle exceeds the supersonic velocity in the entry-burn and free-fall flight phases but decelerates to subsonic velocity when it enters the landing-burn phase. Both thrust and drag must be considered simultaneously because the drag force is significant owing to the low altitude and high density in the landing-burn phase. The freestream conditions were set to an altitude of 1–4 km and a Mach number of 0.3–0.9. A landing-burn starting altitude of up to 4 km was considered to improve the reliability by referring to the launch data of the Falcon 9 vehicle [16], although it was set to 3 km in this study. Four thrust values between 1 and 20 tonf were selected, based on 10 tonf which is approximately 1/6th the thrust in the entry-burn phase as referred to from Falcon 9. The drag in each condition was derived according to the Mach number.
Figure 10a shows the drag coefficient according to the Mach number for each altitude, where the thrust is 5 and 10 tonf, respectively. The drag coefficient was calculated by dividing the drag force by dynamic pressure and reference area, and the drag force is obtained by integrating the pressure over the outer surface of the vehicle. At the same Mach number, the drag coefficient is constant regardless of the altitude but decreases as the Mach number increases. However, as the thrust increases, the drag coefficient variation changes, even if the Mach number is equal. Figure 10b shows the result of the drag coefficient according to the Mach number for different thrusts at an altitude of 2 km. As the thrust increases, the drag coefficient is higher at Mach numbers of 0.3 and 0.45. However, at Mach numbers of 0.75 and 0.9, the drag coefficient increases as the thrust decreases. Figure 11 shows the pressure, Mach number, and temperature fields for thrust values of 1 and 20 tonf at Mach numbers of 0.3 and 0.9, respectively.
From the pressure field shown in Figure 11, the pressure variation induced by the nozzle flow mainly occurs near the outer surface of the nozzle. At a Mach number of 0.3, the pressure around the nozzle is higher at a thrust value of 20 tonf. However, at a Mach number of 0.9, the pressure is larger when at a thrust value of 1 tonf. As shown in Figure 11b, when the Mach number is 0.9, the pressure and Mach number drastically change based on the point where the nozzle flow and freestream flow meet, similar to the supersonic flow. In addition, as the nozzle thrust increases to 20 tonf, the distribution of the high-temperature nozzle flow expands to the rear end of the vehicle. Accordingly, the influence of the high-temperature flow in the vicinity of the nozzle is relatively small, which makes the temperature and pressure around the nozzle lower. However, when the Mach number is 0.3, as shown in Figure 11a, the change induced in the flowfield by the nozzle flow is relatively small, which expands the nozzle flow and increases the temperature around the nozzle as the nozzle thrust increases from 1 tonf to 20 tonf. Therefore, when the Mach number is small, the drag force increases owing to the high temperature and pressure around the nozzle as the nozzle thrust increases.
As a result of the analysis, it was confirmed that the flight Mach number and nozzle thrust had a dominant effect on the drag coefficient in the landing-burn phase, which is a subsonic velocity region, and the effect of altitude was insignificant. Therefore, the drag coefficient for the Mach number and thrust can be derived through curve fitting as shown in Figure 12 and Equation (9), which was used to calculate the landing-burn phase.
C d = 0.459 0.9947 M + 1.78810 6 T + 0.7253 M 2 2.514 10 6 M T 7.033 10 13 T 2

4. Result and Discussion

The re-entry sequence was analyzed under various re-entry conditions, and the required amount of propellant was calculated. In addition, the amount of propellant with different values of landing-burn starting thrust was analyzed and the landing-burn starting thrust for the minimum propellant weight was derived.

4.1. Code Validation Using Flight Data of Falcon 9

The analysis program was validated by comparing the previous analysis results [22] with the actual re-entry data of the Falcon 9 FT vehicle [16]. The specifications and initial conditions of the vehicles used in the previous studies are listed in Table 7. The initial condition was assumed to be the start time of the entry-burn phase.
The iteration process for determining the minimum required propellant weight was omitted, and the remaining propellant weight obtained after landing was compared for the same total propellant weight. To calculate the drag coefficient of the vehicle, computational simulations were performed under two altitude and velocity conditions based on the actual re-entry data [16]. Because the geometry of the Falcon 9 vehicle is not axisymmetric and has nine engines, a 3D analysis with 1/4 symmetric geometry was performed. The numerical approach described in Section 3.1 was applied, and two freestream conditions were selected from the actual vehicle data [16]. The computational grid and freestream conditions are presented in Figure 13 and Table 8, respectively. The flowfield under Cases 1 and 2’s conditions is shown in Figure 14, and the calculated drag coefficients under each condition are 1.56 and 1.65, respectively. In a previous study [15], the drag coefficient was calculated as 1.56–1.61, which is similar to the drag coefficient analyzed in this study. In previous studies [16,22], it was assumed that the drag coefficient remained constant. Therefore, the average value of the drag coefficient calculated through the computational simulations were set to a constant value for the code validation.
A comparison of the results with those obtained previously [22] is presented in Figure 15. The thrust variation in the landing-burn phase took the form of a linear equation instead of a second-order one. This caused a slight difference in the altitude and acceleration; however, most of the results were consistent with those obtained previously. After landing, the remaining propellant amount was found to be approximately 8 tons; thus, it was thought that the program could thoroughly simulate the existing vehicle analysis data.
The actual re-entry data used for the validation were the Falcon 9 FT vehicle’s flight data obtained for the NROL-76 mission in May 2017. The altitude and velocity data were extracted from the launch webcast provided by SpaceX [16]. The entry-burn starting conditions included an altitude of 63.5 km and velocity of 1406 m/s; the vehicle specifications are listed in Table 7. Because the data from the actual vehicle provides only the velocity and altitude, the comparison was performed only for the corresponding value, as presented in Figure 16. The entry-burn starting point to the landing trajectory is generally consistent and the landing time is similar. However, there is a slight difference between the free-fall flight and landing-burn phases, which is induced by assuming that the drag coefficient is constant and the thrust in the landing-burn phase has a linear variation. Even if the drag coefficient is applied as an average value for the entire operating time, it is not a significant problem for obtaining the overall trajectory because the drag coefficient is not required in the entry-burn phase and is almost constant in the free-fall flight phase. However, to obtain more accurate results about propellant weight, it is crucial to consider the drag coefficient variation, especially in the landing-burn phase, which takes up about 20% of total propellant consumption, as shown in Figure 15f. Through the validation of the analysis program, the calculation process of the re-entry sequence was found to be valid.

4.2. Analysis Results under Different Re-Entry Conditions

4.2.1. Entry-Burn Starting Altitude

As shown in Table 1, the entry-burn starting altitude was set to 40, 60, and 80 km, and the entry-burn ending Mach number was fixed at 3.0 as a representative value. Figure 17 shows the result obtained by varying the landing-burn start thrust from 1 to 10 tonf at an entry-burn start altitude of 60 km and an end Mach number of 3.0. As shown in Figure 17a,c, a small change occurs in the velocity and altitude in the landing-burn phase; however, the overall tendency with different landing-burn start thrust values remains the same. Therefore, the results obtained for different entry-burn starting altitudes are presented for only one starting thrust (10 tonf).
Figure 18 presents the trajectory analysis results for each entry-burn starting altitude when the landing-burn starting thrust is 10 tonf. The changes in velocity, altitude, acceleration, and axial force are shown in Figure 18a–d. The dash-dotted line and dotted line represent the end of the entry-burn phase and the start of the landing-burn phase, respectively.
In the case of the acceleration rate shown in Figure 18c, the positive value indicates deceleration and the negative value indicates acceleration. As shown in Figure 18a, the velocity and altitude decrease in the entry-burn phase because the deceleration in Figure 18c increases rapidly by the thrust of the retropropulsion in the entry-burn phase. After entering the free-fall flight phase, the velocity increases. However, as shown in Figure 18d, the drag increases rapidly owing to the increased dynamic pressure by decreasing altitude. This leads to an increase in positive acceleration, so that the velocity decreases again. When entering the landing-burn phase, the deceleration changes due to the thrust variation; thus, the velocity and altitude change, and finally, the vehicle lands. As shown in Figure 18a, as the entry-burn starting altitude decreases, the initial free-fall distance and duration before the entry-burn starts increase, and accordingly, the entry-burn starting velocity increases and the start time of the entry-burn phase is delayed. However, as the entry-burn starting altitude decreases, the vehicle reaches the end altitude of the free-fall flight phase faster, resulting in shorter total duration for landing. Additionally in Figure 18a, when the entry-burn starting altitude is 60 or 80 km, the velocity increases again after the end of the entry-burn phase. However, at the entry-burn starting altitude of 40 km, the velocity does not increase in the free-fall flight phase because of the large drag force acting on the vehicle at low altitudes. As shown in Figure 18d, when the entry-burn starting altitude is 60 or 80 km, the drag increases after a certain period from the end of the entry-burn phase, whereas at the altitude of 40 km, the drag is already increased in the entry-burn phase. As a result, in the case of an entry-burn starting altitude of 40 km, as shown in Figure 18c, because the acceleration at the end of the entry-burn is already a positive value that acts in the direction of decreasing speed, the velocity continuously decreases in the free-fall flight phase. The drag acted earlier at the low entry-burn starting altitude, but the value of drag is greater when the entry-burn starting altitude is higher. As shown in Figure 18d, as the entry-burn starting altitude increases, the maximum drag in the free-fall flight phase also increases. When the entry-burn starting altitude is high, the duration and distance of the free-fall flight phase increase, increasing the maximum speed within the free-fall flight phase. Thus, as the entry-burn start altitude increases, the velocity at the same altitude increases, resulting in an increase in drag.
Figure 19 shows the required total propellant weight, duration of the entry-burn and landing-burn phases, and the amount of propellant consumed according to the landing-burn starting thrust at each entry-burn starting altitude. The Mach number at the end of the entry-burn is fixed at 3.0. The results indicate two main features. First, as shown in Figure 19a, as the entry-burn starting altitude increases (Figure 19a), the total propellant weight decreases regardless of the landing-burn start thrust. Second, as shown in Figure 19b, the durations of both the entry-burn and landing-burn phases decrease as the entry-burn start altitude increases. However, because the propellant consumption in the landing-burn phase is constant regardless of the entry-burn starting altitude shown in Figure 19c, the required total propellant weight is dominantly influenced by the propellant consumption of the entry-burn phase. As the entry-burn starting altitude increases, the required propellant weight decreases owing to the reduction in duration at the entry-burn phase. Second, as shown in Figure 19a, at a constant entry-burn starting altitude, the total propellant weight decreases with the landing-burn starting thrust.

4.2.2. Entry-Burn Ending Mach Number

In this section, the trajectory and required propellant weight according to each re-entry condition are analyzed by changing both the entry-burn ending Mach number and the entry-burn starting altitude. Figure 20 shows the velocity, altitude, acceleration, thrust, and drag values according to the entry-burn start altitude for different entry-burn ending Mach numbers. The dash-dotted line and dotted line indicate the entry-burn end and the landing-burn start, respectively. In addition, because the results are similar regardless of the landing-burn starting thrust, only the result corresponding to the starting thrust of 10 tonf is presented.
As shown in Figure 20, as the entry-burn ending Mach number increases, the duration of the entry-burn phase and time taken to land decrease, regardless of the entry-burn starting altitude. For the same entry-burn starting altitude, as the entry-burn ending Mach number increases, the decreasing rate of altitude in the free-fall flight phase increases. The altitude and velocity at the end of the entry-burn phase are high; thus, the free-fall flight phase rapidly descends. However, at an entry-burn starting altitude of 40 km, the decreasing rate of altitude is similar regardless of the entry-burn ending Mach number. At the end of the entry-burn phase, the altitude is too low, which generates significant drag. This has a dominant effect on descent.
At a constant entry-burn ending Mach number, increasing the entry-burn starting altitude decreases the entry-burn starting velocity, which induces the entry-burn ending Mach number to quickly satisfy the entry-burn duration. However, when the entry-burn starting altitude is 40 km, the drag increases within the entry-burn phase regardless of the entry-burn ending Mach number. Thus, the acceleration at the end of the entry-burn decreases the velocity as a positive value. After the entry-burn phase, the velocity does not increase in the free-fall flight phase and decreases continuously.
In the landing-burn phase, the thrust is set to increase linearly. The landing-burn starting Mach number increases with the entry-burn starting altitude and ending Mach number, and a faster deceleration is required for landing over the same distance. Therefore, as the entry-burn starting altitude and end Mach number are higher, both the thrust throttling rate in the landing-burn phase and landing-burn ending thrust increase.
Figure 21 shows the required propellant weight and the time duration for the landing-burn phase according to the landing-burn starting thrust for each entry-burn ending Mach number and starting altitude. As the entry-burn ending Mach number increases, the total propellant weight decreases regardless of the entry-burn starting altitude.
In addition, as the entry-burn starting altitude increases at the same entry-burn ending Mach number, the propellant weight tends to decrease, which results from a reduction in the time duration for the landing-burn phase. However, when the entry-burn ending Mach number has values of 3.0 and 4.0, the difference between different ending Mach numbers for the same initial thrust decreases as the entry-burn starting altitude increases. At an entry-burn starting altitude of 80 km and the entry-burn ending Mach number is 3.0, the total propellant weight is minimal, which is related to the entry-burn duration.
Figure 22 shows the sequence analysis results for each entry-burn ending Mach number at the entry-burn starting altitudes of 60 and 80 km. The figure includes average values for the landing-burn starting thrust at the entry-burn starting altitude of 60 km and a ratio of the value of 80 km to that of 60 km. The ratio value of 1.0 means that the results at 60 km and 80 km are equal, and if the value is above 1.0, the result of 80 km is smaller than that of 60 km. As the entry-burn ending Mach number increases, the entry-burn duration decreases regardless of the entry-bury starting altitude. It leads to a reduction of the propellant consumption at the entry-burn phase, resulting in a decrease in the amount of propellant. In addition, when the entry-burn ending Mach number is 2.0 and 3.0, the entry-burn duration and propellant consumption at the entry-burn starting altitude of 60 km is larger than those at the entry-burn starting altitude of 80 km. However, when the entry-burn ending Mach number is 4.0, the result values increase as the entry-burn starting altitude increases, which is confirmed by the fact that the ratio is above 1 when the entry-burn ending Mach number is 4.0. This opposite trend appears because the entry-burn termination condition is set for the Mach number.
The air temperature decreases as the altitude changes from an altitude of 50 km. At an entry-burn starting altitude of 80 km, the atmospheric temperature in the entry-burn phase continuously increases as RLV falls because the entry-burn ending altitude is more than 50 km regardless of the entry-burn ending Mach number. However, when the entry-burn starting altitude is 60 km and the entry-burn ending Mach number is less than 4.0, the ending altitude is less than 50 km. The atmospheric temperature increases and then decreases again during the entry-burn phase as RLV enters stratospheric region. A decrease in the air temperature leads to a decrease in the speed of sound; thus, the velocity must decrease much more to reach the entry-burn ending Mach number. Accordingly, when the entry-burn end Mach number is 2.0 and 3.0, and the entry-burn start altitude is 60 km, a large deceleration is required, which increases the entry-burn duration. However, when the entry-burn ending Mach number is 4.0, both the entry-burn starting and ending altitudes are 50 km or more. In addition, at a higher entry-burn start altitude of 80 km, the atmospheric temperature is lower and requires a more significant deceleration. Therefore, the duration of the entry-burn phase increases, and eventually, the consumption of the propellant in the entry-burn phase increases, increasing the total amount of propellant required.
However, the required propellant weight decreases generally as the entry-burn starting altitude or the entry-burn ending Mach number increases, except in some instances of the ending Mach number of 4.0 at the starting altitude of 80 km for the entry-burn phase. As the entry-burn starting altitude and ending Mach number are higher, the duration of the entry-burn phase decreases. Consequently, it is confirmed that the duration of the entry-burn phase has a dominant effect on the total amount of propellant required. In addition, for the same entry-burn starting altitude and entry-burn ending Mach number, as the landing-burn start thrust decreases, the landing-burn duration decreases due to high thrust throttling rate, resulting in a decrease in the required total propellant weight. However, because there is a limitation on the thrust throttling rate, the landing-burn starting thrust should be adjusted within controllable range.

4.3. Optimization

Based on the results in Section 4.2, a simple optimization procedure was performed to find a minimum value of the required propellant weight for soft landing. In this study, Genetic Algorithm (GA) technique was used to optimization. Genetic algorithm (GA) is the stochastic optimization process that mimics biological evolution. It can solve constrained and unconstrained problems based on natural selection processes. In the optimization process, the algorithm randomly selects individual solutions from the current population and uses them as the parent solution to generate the next generation of solutions. Only the superior populations survive and evolves to the next generation, and the optimal solution is sought. The genetic algorithm is robust and not sensitive to initial guess. Since the algorithm do not require a single point as initial condition but explore a broad solution space simultaneously and adaptively, it shows good performance to nonlinear complex global optimization problem. Therefore, in this study, the genetic algorithm is suitable to find optimal values of variables for landing with a minimum propellant weight.

4.3.1. Objective Function and Variables

The aim of the optimization process is to find the optimal re-entry condition that can land with a minimum propellant weight. Therefore, an objective function of GA is represented as follows.
min m p = f ( X )
u ( X ) = 0     &   h ( X ) = 0
X l b X i X u b
where X represent the set of variables, and X l b , X u b are the lower and upper bound of variables respectively.
The re-entry conditions given in Table 1 were set to variables of GA with the initial propellant weight. However, the entry-burn ending Mach number was excluded from the variables according to the analysis results. From the results in Section 4.2.2, it was confirmed that the minimum propellant weight is always calculated at the maximum value in the setting range of the entry-burn Mach number, unlike the entry-burn starting altitude. The variables and lower-upper bound of each variable are presented in Table 9.

4.3.2. Optimization Results

The optimal values of each variable for soft landing are given in Table 10. There is no significant difference between calculation results and optimal values, which means that the current calculation process can provide optimal results within a given range of variables.
In addition, trajectory analysis with the optimal values of variables was conducted according to various cases of the drag coefficient. Three cases of the drag coefficient were applied to the analysis: general constant value, function obtained from CFD results, and constant value averaged from the calculation results with function. The first case is the general constant value was set to 1.5, which is an approximate value used for validation. The function obtained from CFD results, as the second case, indicate Equations (8) and (9). In addition, a time-averaged value of the drag coefficient over time calculated from the second case is the final case of the analysis.
The comparison results of the three cases are presented in Figure 23. The results of every case in Figure 23 were calculated with same initial propellant weight of 2.665 ton which is the optimal value. The variation of the drag coefficient of each case is shown in Figure 23a. The drag coefficient of Case 1 and 3 keep constant over time, but Case 2 have complex variation. Figure 23b,c present the variation of the propellant weight and trajectory. Despite the launch vehicle has the same propellant weight for the re-entry, the total duration to landing and residual propellant weight after landing are different according to how the drag coefficient is calculated. Furthermore, as described in Section 4.1, the trajectory results show a difference in the free-fall flight and landing-burn phases according to the method calculating the drag coefficient, which indicates that inaccurate calculation of the drag coefficient can induce a landing fail of RLV. As a result, it is important that the optimization of the re-entry conditions should be performed with accurate calculation of the drag coefficient.

5. Conclusions

As a fundamental study on the re-entry technology, the re-entry sequence of a space launch vehicle was established in this study. The trajectory and required amount of propellant were analyzed under various re-entry conditions, and the results were compared to the values from the optimization process using GA. To increase the reliability of the results, the drag coefficient according to the altitude, velocity, and thrust was calculated through computational simulations. The results of the drag analysis indicated that the drag force in the entry-burn phase was negligible and the ratio of the thrust and drag exceeded 99:1. However, as the drag coefficient varied under the re-entry conditions in the free-fall and landing-burn phases, the drag coefficient was derived as a function of altitude and velocity for the configuration of launcher applied in this study. The test launch vehicle (TLV) in Korea was applied to the calculation of the re-entry sequence.
From the trajectory analysis, the required propellant weight according to the entry-burn starting altitude and ending Mach number with different landing-burn starting thrust values were obtained. The entry-burn ending Mach number was set to 2.0–4.0, and the entry-burn starting altitude and landing-burn starting thrust were set to 40–80 km and 1–10 tonf, respectively. As a result of the analysis, a higher entry-burn starting altitude and ending Mach number decreases the total duration for landing and propellant consumption in the entry-burn phase, resulting in a reduction in the total propellant weight. The propellant consumption in the landing-burn phase shows a slight change according to the re-entry conditions, which indicates that the propellant consumption of the entry-burn phase is dominant for the total propellant weight. In addition, for the same entry-burn starting altitude and ending Mach number, as the landing-burn starting thrust decreases, the landing-burn duration also decreases, resulting in a decrease in the total propellant weight.
For TLV, the minimum propellant weight for soft landing is approximately 2.67 t at the entry-burn starting altitude of 60 km and Mach number of 4.0. However, just as the condition such as the entry-burn ending Mach number of 4.0, the total propellant weight may increase as the entry-burn starting altitude increases from 60 km to 80 km, which is due to the change in the sound speed depending on the altitude. As a result, it is necessary to select an appropriate re-entry condition if the entry-burn ending condition is set to the Mach number.
Finally, the optimization process using GA was conducted to compare the calculation results. The re-entry conditions except the entry-burn ending Mach number were set to variables for the optimization. From the comparison, it was confirmed that the calculation results and optimized value are very similar, which indicates that the current calculation process can provide the output results close to the optimal values. In addition, trajectory analysis with the optimal values of variables was conducted according to the method that the drag coefficient is calculated. Two constant values of the drag coefficient were applied to the trajectory analysis and compared to the optimized result, and it was observed that the results including trajectory and propellant weight are different according to how to calculate the drag coefficient. Therefore, it is important that the optimization of the re-entry conditions should be performed with accurate calculation of the drag coefficient.

Author Contributions

Conceptualization, Y.K. and H.-J.L.; data curation, Y.K.; methodology, Y.K. and H.-J.L.; software, Y.K.; supervision, T.-S.R.; validation, Y.K. and H.-J.L.; writing—original draft, Y.K.; writing—review and editing, H.-J.L. and T.-S.R. All authors have read and agreed to the published version of the manuscript.

Funding

This research received no external funding.

Institutional Review Board Statement

Not applicable.

Informed Consent Statement

Not applicable.

Data Availability Statement

The data presented in this study are available on request from the corresponding author.

Acknowledgments

This research was supported by through the Space Core Technology Development Program of the National Research Foundation (NRF) funded by the Ministry of Science and ICT (MICT) of the Republic of Korea (Grant No. NRF-2018M1A3A3A02065851).

Conflicts of Interest

The authors declare no conflict of interest.

Nomenclature

T Atmospheric temperature
P Atmospheric pressure
M Mach number
m d Dry weight
m p Propellant weight
m p , ini Initial propellant weight
u e Nozzle exit velocity
C d Drag coefficient
C T Thrust coefficient
C A F Axial force coefficient
ρ Density
D Drag
T Thrust
L Lift
g Gravitational acceleration
V Velocity
γ Flight path angle
h Altitude
S Cross-sectional area

References

  1. Lu, P. Entry guidance and trajectory control for reusable launch vehicle. J. Guid. Control Dyn. 1997, 20, 143–149. [Google Scholar] [CrossRef]
  2. Mease, K.; Teufel, P.; Schönenberger, H.; Chen, D.; Bharadwaj, S. Re-entry trajectory planning for a reusable launch vehicle. In Proceedings of the 24th Atmospheric Flight Mechanics Conference, Portland, OR, USA, 9–11 August 1999; p. 4160. [Google Scholar]
  3. Cormier, T.; Scott, A.; Ledsinger, L.; McCormick, D.; Way, D.; Olds, J. Comparison of collaborative optimization to conventional design techniques for a conceptual RLV. In Proceedings of the 8th Symposium on Multidisciplinary Analysis and Optimization, Long Beach, CA, USA, 6–8 September 2000; p. 4885. [Google Scholar]
  4. Chen, G.; Wan, Z.-m.; Xu, M.; Chen, S.-l. Genetic algorithm optimization of RLV reentry trajectory. In Proceedings of the AIAA/CIRA 13th International Space Planes and Hypersonics Systems and Technologies Conference, Capua, Italy, 16–20 May 2005; p. 3269. [Google Scholar]
  5. Chen, G.; Wan, Z.-m.; Xu, M.; Chen, S.-l. RLV reentry trajectory multi-objective optimization design based on NSGA2 algorithm. In Proceedings of the AIAA Atmospheric Flight Mechanics Conference and Exhibit, Reno, NV, USA, 10–13 January 2005; p. 6131. [Google Scholar]
  6. Zhang, D.; Liu, Y. RLV reentry trajectory optimization through hybridization of an improved GA and a SQP algorithm. In Proceedings of the AIAA Guidance, Navigation, and Control Conference, Portland, OR, USA, 8–11 August 2011; p. 6658. [Google Scholar]
  7. Kumar, G.N.; Penchalaiah, D.; Sarkar, A.; Talole, S. Hypersonic boost glide vehicle trajectory optimization using genetic algorithm. IFAC-PapersOnLine 2018, 51, 118–123. [Google Scholar] [CrossRef]
  8. Zhou, H.; Wang, X.; Cui, N. A novel reentry trajectory generation method using improved particle swarm optimization. IEEE Trans. Veh. Technol. 2019, 68, 3212–3223. [Google Scholar] [CrossRef]
  9. Berry, S.A.; Rhode, M.N.; Edquist, K.T. Supersonic Retropropulsion Experimental Results from NASA Ames 9× 7 Foot Supersonic Wind Tunnel. J. Spacecr. Rocket 2014, 51, 724–734. [Google Scholar] [CrossRef]
  10. McDaniel, J.C.; Codoni, J.R.; Reed, E.M.; Alkandry, H.; Boyd, I.D. Propulsion deceleration studies using planar laser-induced iodine fluorescence and computational fluid dynamics. J. Spacecr. Rocket. 2013, 50, 771–780. [Google Scholar] [CrossRef]
  11. Edquist, K.; Korzun, A.; Studak, J.; Dyakonov, A.; Shidner, J.; Kipp, D.; Tigges, M.; Prakash, R.; Trumble, K.; Dupzyk, I. Development of supersonic retro-propulsion for future Mars entry, descent, and landing systems. In Proceedings of the 10th AIAA/ASME Joint Thermophysics and Heat Transfer Conference, Chicago, IL, USA, 28 June–1 July 2010; p. 5046. [Google Scholar]
  12. Edquist, K.T.; Korzun, A.M.; Bibb, K.; Schauerhamer, D.G.; Ma, E.C.; McCloud, P.L.; Palmer, G.E.; Monk, J.D. Comparison of navier-stokes flow solvers to falcon 9 supersonic retropropulsion flight data. In Proceedings of the AIAA SPACE and Astronautics Forum and Exposition, Orlando, FL, USA, 12–14 September 2017; p. 5296. [Google Scholar]
  13. Brandt, M.N. Supersonic Retro-Propulsion Computational Fluid Dynamics Analysis Applied to Future Mars Mission. Master’s Thesis, Embry-Riddle Aeronautical University, Daytona Beach, FL, USA, 2015. [Google Scholar]
  14. Horvath, T.J.; Aubuchon, V.V.; Rufer, S.; Campbell, C.; Schwartz, R.; Mercer, C.D.; Tack, S.; Spisz, T.S.; Gibson, D.; Osei-Wusu, K. Advancing supersonic retro-propulsion technology readiness: Infrared observations of the SpaceX Falcon 9 first stage. In Proceedings of the AIAA SPACE and Astronautics Forum and Exposition, Orlando, FL, USA, 12–14 September 2017; p. 5294. [Google Scholar]
  15. Ecker, T.; Karl, S.; Dumont, E.; Stappert, S.; Krause, D. Numerical study on the thermal loads during a supersonic rocket retropropulsion maneuver. J. Spacecr. Rocket. 2020, 57, 131–146. [Google Scholar] [CrossRef]
  16. NROL-76 Launch Webcast. Available online: https://www.youtube.com/watch?v=EzQpkQ1etdA (accessed on 1 May 2017).
  17. Koreasat-5A Webcast. Available online: https://www.youtube.com/watch?v=Ynn2pl4ULS0 (accessed on 30 October 2017).
  18. CRS-12 Launch Webcast. Available online: https://www.youtube.com/watch?v=vLxWsYx8dbo (accessed on 15 August 2017).
  19. Introduction of TLV. Available online: https://www.kari.re.kr/kslvii/modedg/contentsView.do?ucont_id=CTX000005&srch_menu_nix=b1lD3n75 (accessed on 13 March 2018).
  20. Yeoung-Min, H.; Jong-Gyu, K.; Kwang-Jin, L.; Seonghyeon, S.; Seong-Ku, K.; Chul-Sung, R.; Hwan-Seok, C. Basic Design of Combustion Chamber for 75 ton Liquid Rocket Engine; The Korean Society of Propulsion Engineers: Gyeongju, Korea, 2009; pp. 125–129. [Google Scholar]
  21. Atmosphere, U.S. US Standard Atmosphere; National Oceanic and Atmospheric Administration: Washington, DC, USA, 1976.
  22. Woong-Rae, R.; Jeong-Yong, K.; Byeong-Joo, M.; Sang-Wook, K.; Sang-Ryool, L. GTO Launch Mission Analysis of Reusable Launch Vehicle; The Korean Society for Aeronautical and Space Sciences: Seoul, Korea, 2018; pp. 158–160. [Google Scholar]
  23. Bakhtian, N.; Aftosmis, M. Analysis of inviscid simulations for the study of supersonic retropropulsion. In Proceedings of the 29th AIAA Applied Aerodynamics Conference, Honolulu, HI, USA, 27–30 June 2011; p. 3194. [Google Scholar]
  24. Shahid, F.; Hussain, M.; Baig, M.M.; ul Haq, I. Variation in aerodynamic coefficients with altitude. Results Phys. 2017, 7, 1261–1273. [Google Scholar] [CrossRef]
Figure 1. Basic re-entry sequence.
Figure 1. Basic re-entry sequence.
Energies 14 03210 g001
Figure 2. Calculation process of the minimum required propellant weight.
Figure 2. Calculation process of the minimum required propellant weight.
Energies 14 03210 g002
Figure 3. Calculation process of the entry-burn and free-fall flight modules.
Figure 3. Calculation process of the entry-burn and free-fall flight modules.
Energies 14 03210 g003
Figure 4. Calculation process of the landing-burn module.
Figure 4. Calculation process of the landing-burn module.
Energies 14 03210 g004
Figure 5. Mesh and boundary condition and mesh configurations.
Figure 5. Mesh and boundary condition and mesh configurations.
Energies 14 03210 g005
Figure 6. Validation results. (a) Geomery and mesh; (b) Mach number contour; (c) Mach number distribuation on axis.
Figure 6. Validation results. (a) Geomery and mesh; (b) Mach number contour; (c) Mach number distribuation on axis.
Energies 14 03210 g006
Figure 7. Thrust and drag coefficient in the entry-burn phase.
Figure 7. Thrust and drag coefficient in the entry-burn phase.
Energies 14 03210 g007
Figure 8. Mach number and pressure coefficient contour in the free-fall flight phase. (a) Flowfields at altitude of 40 km; (b) Flowfields at Mach number of 3.0.
Figure 8. Mach number and pressure coefficient contour in the free-fall flight phase. (a) Flowfields at altitude of 40 km; (b) Flowfields at Mach number of 3.0.
Energies 14 03210 g008
Figure 9. Results with Mach number and altitude for free-fall flight phase. (a) CAF values obtained by CFD; (b) CAF prediction curve.
Figure 9. Results with Mach number and altitude for free-fall flight phase. (a) CAF values obtained by CFD; (b) CAF prediction curve.
Energies 14 03210 g009
Figure 10. Drag coefficient in the landing-burn phase. (a) Cd with different altitude and Mach number; (b) Cd with different thrust at altitude of 2 km.
Figure 10. Drag coefficient in the landing-burn phase. (a) Cd with different altitude and Mach number; (b) Cd with different thrust at altitude of 2 km.
Energies 14 03210 g010
Figure 11. Flowfield at different Mach numbers and thrust values. (a) Flowfields at Mach number of 0.3; (b) Flowfields at Mach number of 0.9.
Figure 11. Flowfield at different Mach numbers and thrust values. (a) Flowfields at Mach number of 0.3; (b) Flowfields at Mach number of 0.9.
Energies 14 03210 g011
Figure 12. Cd prediction using different Mach numbers and thrust values.
Figure 12. Cd prediction using different Mach numbers and thrust values.
Energies 14 03210 g012
Figure 13. Mesh of validation case.
Figure 13. Mesh of validation case.
Energies 14 03210 g013
Figure 14. Mach number contour of validation cases.
Figure 14. Mach number contour of validation cases.
Energies 14 03210 g014
Figure 15. Validation of trajectory data obtained from a previous study [22]. (a) Velocity; (b) Altitude; (c) Acceleartion rate; (d) Thrust; (e) Drag; (f) Total mass.
Figure 15. Validation of trajectory data obtained from a previous study [22]. (a) Velocity; (b) Altitude; (c) Acceleartion rate; (d) Thrust; (e) Drag; (f) Total mass.
Energies 14 03210 g015
Figure 16. Validation with the actual re-entry data. (a) Velocity; (b) Altitude.
Figure 16. Validation with the actual re-entry data. (a) Velocity; (b) Altitude.
Energies 14 03210 g016
Figure 17. Trajectory data with different landing-burn starting thrust values (altitude of entry-burn start: 60 km). (a) Thrust; (b) Velocity; (c) Altitude.
Figure 17. Trajectory data with different landing-burn starting thrust values (altitude of entry-burn start: 60 km). (a) Thrust; (b) Velocity; (c) Altitude.
Energies 14 03210 g017
Figure 18. Results obtained by entry-burn starting altitude variation. (a)Velocity; (b) Altitude; (c) Acceleration rate; (d) Thrust and Drag.
Figure 18. Results obtained by entry-burn starting altitude variation. (a)Velocity; (b) Altitude; (c) Acceleration rate; (d) Thrust and Drag.
Energies 14 03210 g018
Figure 19. Required propellant weight according to the landing-burn starting thrust. (a) Total propellant weight; (b) Duration; (c) Propellant consumption.
Figure 19. Required propellant weight according to the landing-burn starting thrust. (a) Total propellant weight; (b) Duration; (c) Propellant consumption.
Energies 14 03210 g019
Figure 20. Simulation results with ending Mach number of entry-burn phase. (a) Entry-burn starting altitude of 80 km; (b) Entry-burn starting altitude of 60 km; (c) Entry-burn starting altitude of 40 km.
Figure 20. Simulation results with ending Mach number of entry-burn phase. (a) Entry-burn starting altitude of 80 km; (b) Entry-burn starting altitude of 60 km; (c) Entry-burn starting altitude of 40 km.
Energies 14 03210 g020
Figure 21. Propellant weightwith different landing-burn starting thrust values. (a) Entry-burn ending Mach number of 2.0; (b) Entry-burn ending Mach number of 3.0; (c) Entry-burn ending Mach number of 4.0.
Figure 21. Propellant weightwith different landing-burn starting thrust values. (a) Entry-burn ending Mach number of 2.0; (b) Entry-burn ending Mach number of 3.0; (c) Entry-burn ending Mach number of 4.0.
Energies 14 03210 g021
Figure 22. Summary of results with Entry-burn starting altitude of 60 and 80 km. (a) Total propellant weight; (b) Entry-burn duration; (c) Entry-burn propellant consumption.
Figure 22. Summary of results with Entry-burn starting altitude of 60 and 80 km. (a) Total propellant weight; (b) Entry-burn duration; (c) Entry-burn propellant consumption.
Energies 14 03210 g022
Figure 23. Trajectory results according to cases of the drag coefficient (Case 1: General constant value, Case 2: Function from CFD results, Case 3: Constant value averaged from calculation result with function). (a) Drag coefficient; (b) Propellant weight; (c) Range-Altitude.
Figure 23. Trajectory results according to cases of the drag coefficient (Case 1: General constant value, Case 2: Function from CFD results, Case 3: Constant value averaged from calculation result with function). (a) Drag coefficient; (b) Propellant weight; (c) Range-Altitude.
Energies 14 03210 g023
Table 1. Parameters for controlling the re-entry condition.
Table 1. Parameters for controlling the re-entry condition.
ParametersValues
Entry-burn starting altitude [km]40, 60, 80
Entry-burn ending Mach number2.0, 3.0, 4.0
Landing-burn starting thrust [tonf]1.0–10.0
Table 2. Specification and gas properties.
Table 2. Specification and gas properties.
ParametersValues
Specification of Launch VehicleMax. Diameter [m]2.6
Length [m]25.8
Nozzle exit diameter [m]1.048
Nozzle expansion ratio12.0
Nozzle exit Mach number3.35
Dry weight [t]5.3
Gas Properties of Combustion GasSpecific heat [J/kg-K]4838.0
Molecular weight [kg/kmol]376.20
Dynamic viscosity [Pa-s]1.0706 × 10−4
Thermal conductivity [W/m-K]1.1441
Table 3. Input data for the entry-burn and free-flight modules.
Table 3. Input data for the entry-burn and free-flight modules.
ParameterValue
Initial velocity [m/s]1042.7
Initial altitude [km]209.0
Initial flight path angle [deg]0.0
Dry weight [t]5.3
Entry-burn thrust [tonf]75.0
Landing-burn starting altitude [km]3.0
Table 4. Input and output parameters of the entry-burn and free-flight modules.
Table 4. Input and output parameters of the entry-burn and free-flight modules.
InputEntry-burn starting altitude
Entry-burn ending Mach number
Total propellant weight
OutputEntry-burn residual propellent weight
Landing-burn starting velocity
Landing-burn starting flight path angle
Table 5. Input and output parameters of the landing-burn modules.
Table 5. Input and output parameters of the landing-burn modules.
InputEntry-burn residual propellent weight
Landing-burn starting velocity
Landing-burn starting flight path angle
Landing-burn starting thrust
OutputLanding-burn residual propellant weight
Landing-burn thrust throttling rate
Landing-burn ending thrust
Table 6. Boundary condition of reference [23].
Table 6. Boundary condition of reference [23].
ParametersValues
FreestreamMach number3.48
Static pressure [Pa]4170
Static temperature [K]8.24
JetMach number3.48
Static pressure [Pa]4170
Static temperature [K]8.24
Table 7. Specification and initial condition of Falcon 9 [22].
Table 7. Specification and initial condition of Falcon 9 [22].
ParameterValue
Entry-burn starting altitude [km]70.0
Entry-burn starting velocity [m/s]2294.0
Dry weight [t]22.2
Total propellant weight [t]36.0
Entry-burn thrust [tonf]279.6
Landing-burn starting altitude [km]3.3
Table 8. Boundary conditions for validation [16].
Table 8. Boundary conditions for validation [16].
Altitude [km]MP [Pa]T [K]
Case 131.24.7020 021227.7
Case 220.32.79105 510216.8
Table 9. Variables and constraints.
Table 9. Variables and constraints.
VariablesLower BoundUpper Bound
Initial propellant weight [t]2.03.0
Entry-burn starting altitude [km]40.080.0
Landing-burn initial thrust [tonf]1.010.0
Table 10. Optimization results.
Table 10. Optimization results.
VariablesCalculation ResultsOptimal Values
Initial propellant weight [t]2.672.665
Entry-burn starting altitude [km]60.061.02
Landing-burn initial thrust [tonf]1.01.01
Publisher’s Note: MDPI stays neutral with regard to jurisdictional claims in published maps and institutional affiliations.

Share and Cite

MDPI and ACS Style

Kim, Y.; Lee, H.-J.; Roh, T.-S. Analysis of Propellant Weight under Re-Entry Conditions for a Reusable Launch Vehicle Using Retropropulsion. Energies 2021, 14, 3210. https://doi.org/10.3390/en14113210

AMA Style

Kim Y, Lee H-J, Roh T-S. Analysis of Propellant Weight under Re-Entry Conditions for a Reusable Launch Vehicle Using Retropropulsion. Energies. 2021; 14(11):3210. https://doi.org/10.3390/en14113210

Chicago/Turabian Style

Kim, Yongchan, Hyoung-Jin Lee, and Tae-Seong Roh. 2021. "Analysis of Propellant Weight under Re-Entry Conditions for a Reusable Launch Vehicle Using Retropropulsion" Energies 14, no. 11: 3210. https://doi.org/10.3390/en14113210

APA Style

Kim, Y., Lee, H.-J., & Roh, T.-S. (2021). Analysis of Propellant Weight under Re-Entry Conditions for a Reusable Launch Vehicle Using Retropropulsion. Energies, 14(11), 3210. https://doi.org/10.3390/en14113210

Note that from the first issue of 2016, this journal uses article numbers instead of page numbers. See further details here.

Article Metrics

Back to TopTop