Kinetic Evaluation of Lime for Medium-Temperature Desulfurization in Oxy-Fuel Conditions by Dry Sorbent Injection
Abstract
:1. Introduction
- Medium temperature dry lime (Ca(OH)) injection in the economizer;
- Temperatures below 450 C, where decomposition of lime does not take place;
- Mainly oxy-fuel conditions (60% CO) with some air-fired (10% CO) experiments for comparison;
- Effect of residence time, which would determine the degree of changes required in order to retrofit a plant with the new FGD unit.
- Effect of water vapor.
- Type of lime.
2. Method
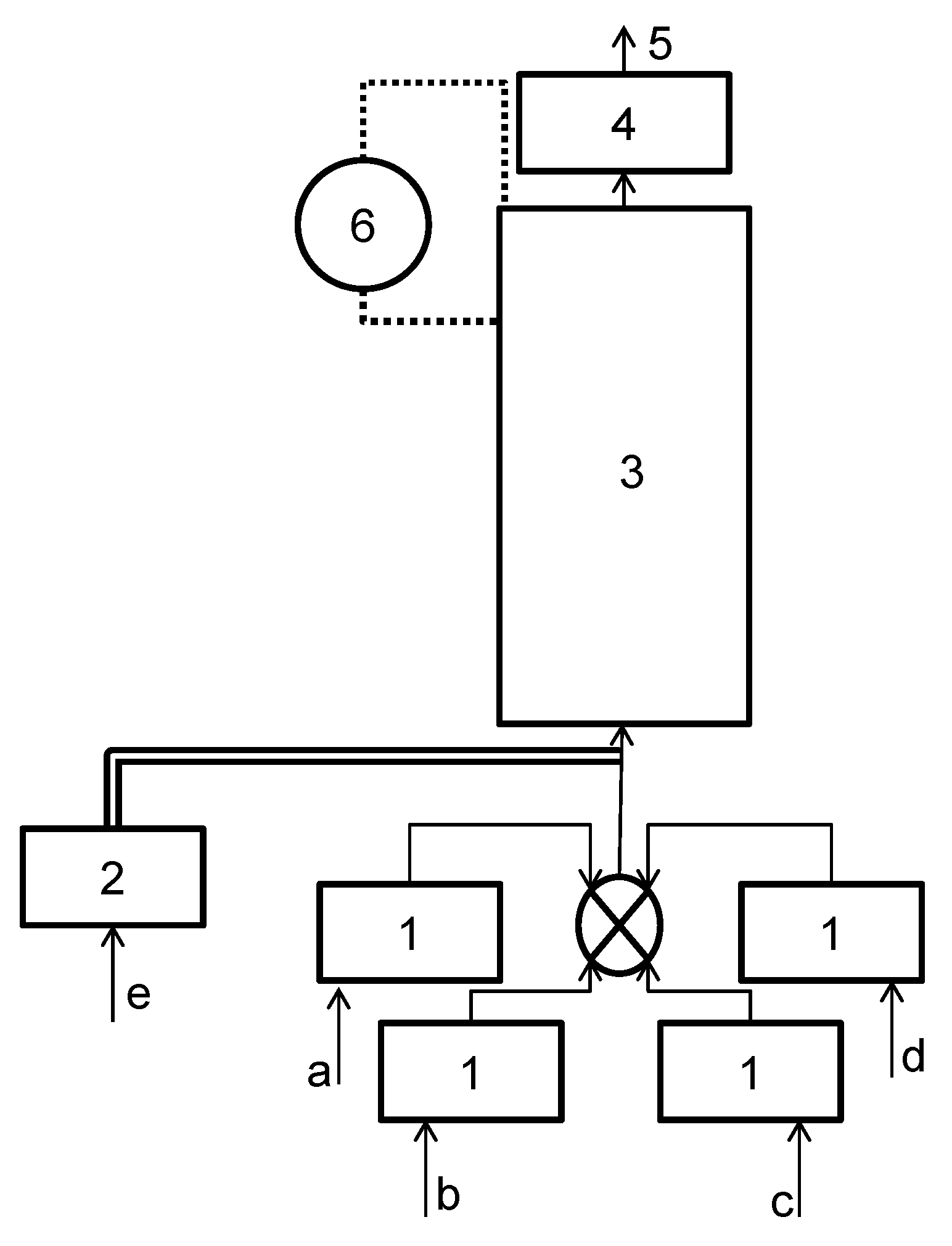
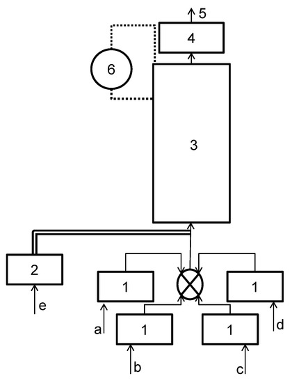
2.1. Experimental Setup for Continuous Runs
2.2. Experimental Conditions for Continuous Runs
2.3. Data Analysis
2.4. Thermodynamic Analysis and Characterization
3. Results
3.1. Thermodynamics and Characterization
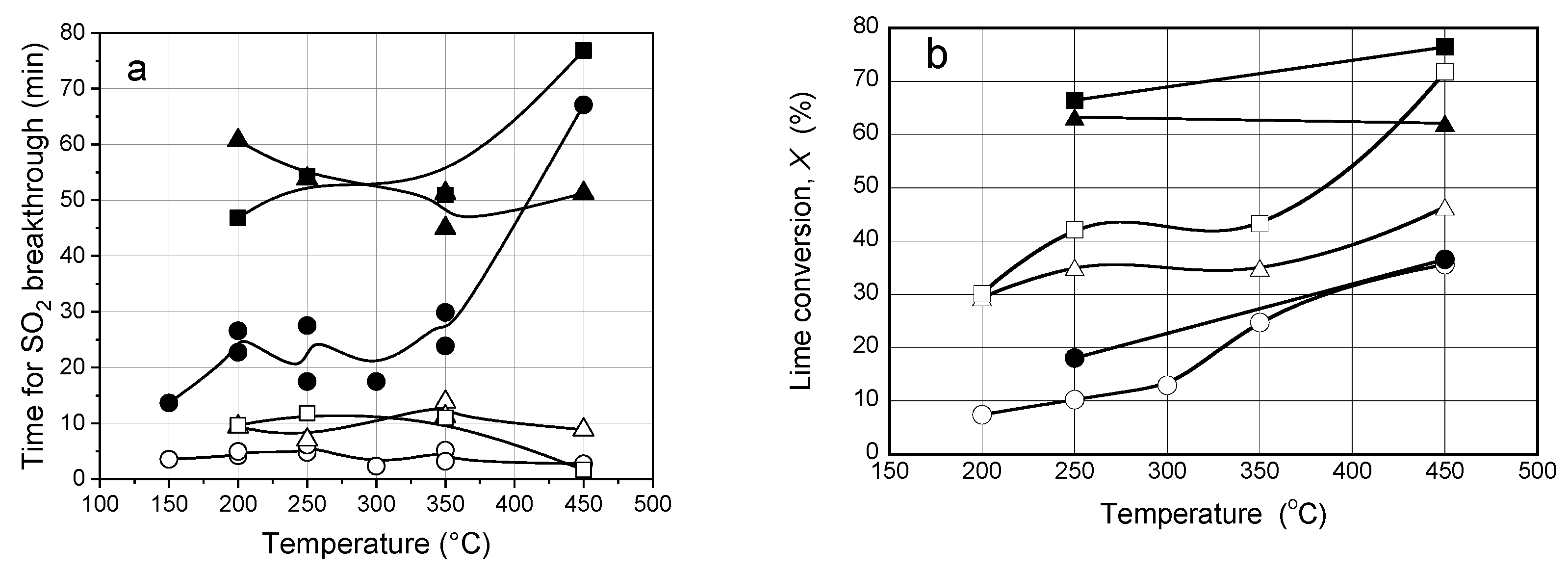
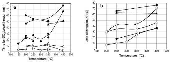
3.2. Continuous Runs—Base-Case Experiments—Effect of Temperature
3.3. Conversion, Yield and Selectivity
3.4. The Effect of CO for Lime A
3.5. Effect of Water Vapor for Lime A
4. Discussion
5. Conclusions
Author Contributions
Funding
Acknowledgments
Conflicts of Interest
Abbreviations
| DSI | Dry sorbent injection |
| FGD | Flue gas desulfurization |
| TGA | Thermal gravimetric analysis |
| dTG | Derivative of TGA |
| DSC | Differential scanning calorimetry |
References
- Soud, H.N.; Takeshita, M. FGD Handbook, IEACR/65, 2nd ed.; IEA Coal Research: London, UK, 1994; pp. 467–506. [Google Scholar]
- Miller, B.G. Formation and Control of Sulfur Oxides. Clean Coal Eng. Technol. 2011, 1, 467–506. [Google Scholar]
- Wang, C.B.; Zhang, Y.; Jia, L.F.; Tan, Y.W. Effect of water vapor on the pore structure and sulphation of CaO. Fuel 2014, 130, 60–65. [Google Scholar] [CrossRef]
- Stewart, M.C.; Symonds, R.T.; Manovic, V.; Macchi, A.; Anthony, E.J. Effects of steam on the sulfation of limestone and NOX formation in an air- and oxy-fired pilot-scale circulating fluidized bed combustor. Fuel 2012, 92, 107–115. [Google Scholar] [CrossRef]
- Wang, C.B.; Jia, L.F.; Tan, Y.W.; Anthony, E.J. The effect of water on the sulphation of limestone. Fuel 2010, 89, 2628–2632. [Google Scholar] [CrossRef]
- Allen, D.; Hayhurst, A.N. Reaction between gaseous sulfur dioxide and solid calcium oxide mechanism and kinetics. J. Chem. Soc. Faraday Trans. 1996, 92, 1227–1238. [Google Scholar] [CrossRef]
- Anthony, E.J.; Granatstein, D.L. Sulfation phenomena in fluidized bed combustion systems. Prog. Energy Combust. Sci. 2001, 27, 215–236. [Google Scholar] [CrossRef]
- Low, M.J.D.; Goodsel, A.J.; Takezawa, N. Reactions of Gaseous Pollutants with Solids. 1. Infrared Study of Sorption of SO2 on CaO. Environ. Sci. Technol. 1971, 5, 1191–1195. [Google Scholar] [CrossRef]
- Hartman, M.; Coughlin, R.W. Reaction of Sulfur-Dioxide with Limestone and Influence of Pore Structure. Ind. Eng. Chem. Process. Des. Dev. 1974, 13, 248–253. [Google Scholar] [CrossRef]
- Suyadal, Y.; Erol, M.; Oguz, H. Deactivation model for dry desulphurization of simulated flue gas with calcined limestone in a fluidized-bed reactor. Fuel 2005, 84, 1705–1712. [Google Scholar] [CrossRef]
- Munoz Guillena, M.J.; Linares Solano, A.; de Lecea, C.S.M. High temperature SO2 retention by CaO. Appl. Surf. Sci. 1996, 99, 111–117. [Google Scholar] [CrossRef]
- Liu, C.F.; Shih, S.M.; Lin, R.B. Kinetics of the reaction of Ca(OH)2/fly ash sorbent with SO2 at low temperatures. Chem. Eng. Sci. 2002, 57, 93–104. [Google Scholar] [CrossRef]
- Liu, C.F.; Shih, S.M.; Huang, T.B. Effect of SO2 on the Reaction of Calcium Hydroxide with CO2 at Low Temperatures. Ind. Eng. Chem. Res. 2010, 4, 9052–9057. [Google Scholar] [CrossRef]
- Karatepe, N.; Ersoy-Mericboyu, A.; Yavuz, R.; Kucukbayrak, S. Kinetic model for desulphurization at low temperatures using hydrated sorbent. Thermochim. Acta 1999, 335, 127–134. [Google Scholar] [CrossRef]
- Irabien, A.; Cortabitarte, F.; Viguri, J.; Ortiz, M.I. Kinetic-Model for Desulfurization at Low-Temperatures Using Calcium Hydroxide. Chem. Eng. Sci. 1990, 45, 3427–3433. [Google Scholar] [CrossRef]
- Izquierdo, J.F.; Fite, C.; Cunill, F.; Iborra, M.; Tejero, J. Kinetic study of the reaction between sulfur dioxide and calcium hydroxide at low temperature in a fixed-bed reactor. J. Hazard Mater. 2000, 76, 113–123. [Google Scholar] [CrossRef]
- Klingspor, J.; Strömberg, A.-M.; Karlsson, H.T.; Bjerle, I. Similarities between lime and limestone in wet-dry scrubbing. Chem. Eng. Process. 1984, 18, 239–247. [Google Scholar] [CrossRef]
- Lee, K.T.; Koon, O.W. Modified shrinking unreacted-core model for the reaction between sulfur dioxide and coal fly ash/CaO/CaSO4 sorbent. Chem. Eng. J. 2009, 146, 57–62. [Google Scholar] [CrossRef]
- Lee, K.T.; Mohamed, A.R.; Bhatia, S.; Chu, K.H. Removal of sulfur dioxide by fly ash/CaO/CaSO4 sorbents. Chem. Eng. J. 2005, 114, 171–177. [Google Scholar] [CrossRef]
- Fernández, I.; Garea, A.; Irabien, A. SO2 reaction with Ca(OH)2 at medium temperatures (300–425 ∘C): Kinetic behaviour. Chem. Eng. Sci. 1998, 53, 1869–1881. [Google Scholar] [CrossRef]
- Fernández, I.; Garea, A.; Irabien, A. Flue-gas desulfurization at medium temperatures. Kinetic model validation from thermogravimetric data. Fuel 1998, 77, 749–755. [Google Scholar] [CrossRef]
- Hünlich, T.; Jeschar, R.; Scholz, R. Sorption Kinetics of SO2 from Combustion Waste Gases at Low-Temperatures. Zement-Kalk-Gips 1991, 4, 228–237. [Google Scholar]
- Svoboda, K.; Lin, W.; Hannes, J.; Korbee, R.; van den Bleek, C.M. Low-temperature flue gas desulfurization by alumina-CaO regenerable sorbents. Fuel 1994, 73, 114–1150. [Google Scholar] [CrossRef]
- García-Martínez, J.; Bueno-López, A.; García-García, A.; Linares-Solano, A. SO2 retention at low temperatures by Ca(OH)2-derived CaO: A model for CaO regeneration. Fuel 2002, 81, 305–313. [Google Scholar] [CrossRef]
- Muñoz-Guillena, M.J.; Linares-Solano, A.; de Lecea, C.S.M. A study of CaO-SO2 interaction. Appl. Surf. Sci. 1994, 81, 409–415. [Google Scholar] [CrossRef]
- Muñoz-Guillena, M.J.; Linares-Solano, A.; de Lecea, C.S.M. A study of CaO-SO2 interaction in the presence of O2. Appl. Surf. Sci. 1994, 81, 417–425. [Google Scholar] [CrossRef]
- Muñoz-Guillena, M.J.; Linares-Solano, A.; de Lecea, C.S.M. A new parameter to characterize limestones as SO2 sorbents. Appl. Surf. Sci. 1995, 89, 197–203. [Google Scholar] [CrossRef]
- Miller, B.G. Anatomy of a Coal-Fired Power Plant; Butterworth-Heinemann: Oxford, UK, 2011. [Google Scholar]
- Li, G.G.; Keener, T.C.; Wang, J. A Two-Stage Reactor for Studying Sorbent Reactivities in Flue Gas Desulfurization Systems Utilizing a Fabric Filter Collector. Environ. Technol. 1998, 19, 475–482. [Google Scholar] [CrossRef]
- Li, G.; Keener, T.; Stein, A.; Khang, S. CO2 reaction with Ca(OH)2 during SO2 removal with convective pass sorbent injection and high temperature filtration. Environ. Eng. Policy 2000, 2, 47–56. [Google Scholar]
- Li, G.G.; Keener, T.C.; Stein, A.W. Continuous Sorbent Reactions in a High-Temperature Fabric Filter Following Convective Pass Ca(OH)2 Injection for SO2 Removal. J. Air Waste Waste Manag. Assoc. 1999, 49, 1292–1303. [Google Scholar] [CrossRef]
- Chen, J.; Yao, H.; Zhang, L. A study on the calcination and sulphation behaviour of limestone during oxy-fuel combustion. Fuel 2012, 102, 386–395. [Google Scholar] [CrossRef]
- Wang, W.; Sanku, M.; Karlsson, H.; Hulteberg, C.; Karlsson, H.T.; Balfe, M. Medium Temperature Desulfurization for Oxyfuel and Regenerative Calcium Cycle. Energy Procedia 2017, 114, 271–284. [Google Scholar] [CrossRef]
- Perez-Ramirez, J.; Berger, R.J.; Mul, G.; Kapteijn, F.; Moulijn, J.A. The six-flow reactor technology—A review on fast catalyst screening and kinetic studies. Catal Today 2000, 60, 93–109. [Google Scholar] [CrossRef]
- Himmelblau, D.M.; Riggs, J.B. Basic Principles and Calculations in Chemical Engineering, 5th ed.; Prentice-Hall: Upper Saddle River, NJ, USA, 1989. [Google Scholar]








| Lime A | Lime B | Lime C | |
|---|---|---|---|
| Standard Type | Sorbacal SP * | Sorbacal SPS * | |
| Species/Property | Weight Percent | ||
| Ca(OH) | 85.1 | 85.4 | 85.5 |
| CaCO | 3.8 | 8.5 | 8.7 |
| Inert | 11.1 | 6.1 | 5.8 |
| Surface area (m/g) | 17 | 44 | 43 |
| Pore volume (mL/g) | 0.08 | 0.23 | 0.21 |
| Pore diameter (nm) | 19 | 22 | 20 |
| Lime Type | Temperature (C) | Time (h) | |
|---|---|---|---|
| Lime A | 450 | 2.0 | |
| 350 | 1.3 | 1.0 * | |
| 300 | 2.2 | ||
| 250 | 0.8 | 0.8 * | |
| 200 | 1.2 | 1.0 * | |
| 150 | 1.2 | ||
| Lime B | 450 | 2.0 | |
| 350 | 2.0 | 1.5 * | |
| 250 | 2.0 | ||
| 200 | 4.0 | ||
| Lime C | 450 | 1.8 | |
| 350 | 2.0 | ||
| 250 | 2.5 | ||
| 200 | 1.8 | ||
| Temperature (C) | CO Concentration (%) | Time (h) |
|---|---|---|
| 450 | 10 | 2.5 |
| 0 | 3.5 * | |
| 350 | 10 | 1.8 |
| 0 | 1.7 | |
| 150 | 10 | 5.5 |
| Temperature (C) | CO Concentration (%) | Time (h) |
|---|---|---|
| 450 | 60 | 2.2 |
| 0 | 3.3 | |
| 350 | 60 | 1.8 |
| 0 | 2.3 |
© 2019 by the authors. Licensee MDPI, Basel, Switzerland. This article is an open access article distributed under the terms and conditions of the Creative Commons Attribution (CC BY) license (http://creativecommons.org/licenses/by/4.0/).
Share and Cite
Sanku, M.G.; Karlsson, H.K.; Hulteberg, C.; Wang, W.; Stallmann, O.; Karlsson, H.T. Kinetic Evaluation of Lime for Medium-Temperature Desulfurization in Oxy-Fuel Conditions by Dry Sorbent Injection. Energies 2019, 12, 2645. https://doi.org/10.3390/en12142645
Sanku MG, Karlsson HK, Hulteberg C, Wang W, Stallmann O, Karlsson HT. Kinetic Evaluation of Lime for Medium-Temperature Desulfurization in Oxy-Fuel Conditions by Dry Sorbent Injection. Energies. 2019; 12(14):2645. https://doi.org/10.3390/en12142645
Chicago/Turabian StyleSanku, Meher G., Hanna K. Karlsson, Christian Hulteberg, Wuyin Wang, Olaf Stallmann, and Hans T. Karlsson. 2019. "Kinetic Evaluation of Lime for Medium-Temperature Desulfurization in Oxy-Fuel Conditions by Dry Sorbent Injection" Energies 12, no. 14: 2645. https://doi.org/10.3390/en12142645
APA StyleSanku, M. G., Karlsson, H. K., Hulteberg, C., Wang, W., Stallmann, O., & Karlsson, H. T. (2019). Kinetic Evaluation of Lime for Medium-Temperature Desulfurization in Oxy-Fuel Conditions by Dry Sorbent Injection. Energies, 12(14), 2645. https://doi.org/10.3390/en12142645

