Monitoring of Air-Dispersed Formaldehyde and Carbonyl Compounds as Vapors and Adsorbed on Particulate Matter by Denuder-Filter Sampling and Gas Chromatographic Analysis
Abstract
1. Introduction
2. Materials and Methods
2.1. Sampling
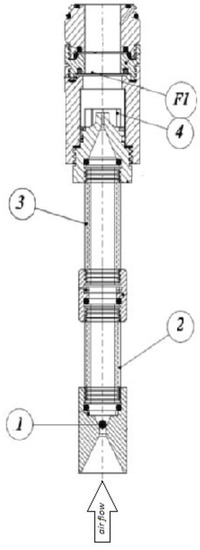
2.1.1. Sampling Equipment
2.1.2. Coating of the Annular Denuder
2.1.3. Preparation of the Glass Fiber Filters
2.1.4. Gravimetric Determinations
2.2. Sampler Desorption and Analysis
2.2.1. Online xyz Autosampler
2.2.2. PTV-GC/MS/63Ni ECD/TSD Instrument
2.3. Vapor Generation
2.4. Particles Generation
2.5. Quantitative Analysis
2.6. Sampling Sites
3. Results and Discussion
3.1. Performance of Denuder-Filter Sampler
3.2. Selection of the Analytical System
3.3. Monitoring of CCs Concentration
4. Conclusions
Author Contributions
Funding
Conflicts of Interest
References
- Pope, C.A.; Dockery, D.W. Health effects of fine particulate air pollution: Lines that connect. J. Air Waste Manag. Assoc. 2006, 56, 709–742. [Google Scholar] [CrossRef]
- Lopez, A.D.; Mathers, C.D.; Ezzati, M.; Jamison, D.T.; Murray, C.J.L. Global and regional burden of disease and risk factors, 2001: Systematic analysis of population health data. Lancet 2006, 367, 1747–1757. [Google Scholar] [CrossRef]
- LoPachin, R.M.; Terrence, G. Molecular Mechanisms of Aldehyde Toxicity: A Chemical Perspective. Chem. Res. Toxicol. 2014, 27, 1081–1091. [Google Scholar] [CrossRef]
- Pearson, R.G. Hard and soft acids and bases—The evolution of a chemical concept. Coord. Chem. Rev. 1990, 100, 403–425. [Google Scholar] [CrossRef]
- Woodruff, T.J.; Wells, E.M.; Holt, E.W.; Burgin, D.E.; Axelrad, D.A. Estimating risk from ambient concentrations of acrolein across the United States. Environ. Health Perspect. 2007, 115, 410–415. [Google Scholar] [CrossRef] [PubMed]
- LoPachin, R.M.; Gavin, T.; DeCaprio, A.; Barber, D.S. Application of the hard and soft, acids and bases (HSAB) theory to toxicant-target interactions. Chem. Res. Toxicol. 2012, 25, 239–251. [Google Scholar] [CrossRef]
- Fritz, K.S.; Petersen, D.R. An overview of the chemistry and biology of reactive aldehydes. Free Radic. Biol. Med. 2013, 59, 85–91. [Google Scholar] [CrossRef]
- Strum, M.; Scheffe, R. National review of ambient air toxics observations. J. Air Waste Manag. Assoc. 2016, 66, 120–133. [Google Scholar] [CrossRef]
- Rousová, J.; Chintapalli, M.R.; Lindahl, A.; Casey, J.; Kubátová, A. Simultaneous determination of trace concentrations of aldehydes and carboxylic acids in particulate matter. J. Chromatogr. A 2018, 1544, 49–61. [Google Scholar] [CrossRef]
- Wang, G.; Wang, H.; Yu, Y.; Gao, S.; Feng, J.; Gao, S.; Wang, L. Chemical characterization of water-soluble components of PM10 and PM2.5 atmospheric aerosols in five locations of Nanjing, China. Atmos. Environ. 2003, 37, 2893–2902. [Google Scholar] [CrossRef]
- Kavanti, U.P.; Schadweiler, M.C.; Ledbetter, A.D.; McGee, J.K.; Walsh, L.; Gilmour, P.S.; Highfill, J.W.; Davies, D.; Pinkerton, K.E.; Richards, J.H.; et al. Consistent Pulmonary and Systemic Responses from Inhalation of Fine Concentrated Ambient Particles: Roles of Rat Strains Used and Physicochemical Properties. Environ. Health Perspect. 2005, 113, 1561–1568. [Google Scholar] [CrossRef] [PubMed]
- Prieto-Blanco, M.C.; Iglesias, M.P.; López-Mahía, P.; Lorenzo, S.M.; Rodríguez, D.P. Simultaneous determination of carbonyl compounds and polycyclic aromatic hydrocarbons in atmospheric particulate matter by liquid chromatography-diode array detection-fluorescence detection. Talanta 2010, 80, 2083–2092. [Google Scholar] [CrossRef]
- Rissler, J.; Swietlicki, E.; Bengtsson, A.; Boman, C.; Pagels, J.; Sandstr¨om, T.; Blomberg, A.; Löndahl, J. Experimental determination of deposition of diesel exhaust particles in the human respiratory tract. J. Aerosol Sci. 2012, 48, 18–33. [Google Scholar] [CrossRef]
- O’Brien, P.J.; Diraki, A.G.; Shangari, N. Aldehyde sources, metabolism, molecular toxicity mechanisms, and possible effects on human health. Crit. Rev. Toxicol. 2005, 35, 609–662. [Google Scholar] [CrossRef] [PubMed]
- Penconek, A.; Moskal, A. Deposition of diesel exhaust particles from various fuels in a cast of human respiratory system under two breathing patterns. J. Aerosol Sci. 2013, 63, 48–59. [Google Scholar] [CrossRef]
- Moskal, A.; Makowski, Ł.; Sosnowski, T.R.; Gradoń, L. Deposition of fractal-like aerosol aggregates in a model of human nasal cavity. Inhal. Toxicol. 2006, 18, 725–731. [Google Scholar] [CrossRef] [PubMed]
- Alföldy, B.; Giechaskiel, B.; Hofmann, W.; Drossinos, Y. Size-distribution dependent lung deposition of diesel exhaust particles. J. Aerosol Sci. 2009, 40, 652–663. [Google Scholar] [CrossRef]
- Kirchstetter, T.W.; Singer, B.C.; Harley, R. Impact of Oxygenated Gasoline Use on California Light-Duty Vehicle Emissions. Environ. Sci. Technol. 1996, 30, 661–670. [Google Scholar] [CrossRef]
- Grosjean, D.; Grosjean, E.; Lino, F.R.; Moreira, L.F.R. Speciated Ambient Carbonyls in Rio de Janeiro, Brazil. Environ. Sci. Technol. 2002, 36, 1389–1395. [Google Scholar] [CrossRef]
- Arb.ca.gov. Air Toxics Hot Spots Program. 2018. Available online: https://www.arb.ca.gov/fuels/carefinery/crseam/appendixi.pdf (accessed on 5 November 2018).
- Ec.europa.eu. Scientific Committee on Consumer Safety. 2018. Available online: https://ec.europa.eu/health/scientific_committees/consumer_safety/docs/sccs_o_164.pdf (accessed on 5 November 2018).
- Sistla, G.; Aleksic, N. A comparison of PAMS and air toxics measurements. Atmos. Environ. 2007, 41, 5719–5731. [Google Scholar] [CrossRef]
- Toda, K.; Yunoki, S.; Yanaga, A.; Takeuchi, M.; Ohira, S.; Dasgupta, P.K. Formaldehyde content of atmospheric aerosol. Environ. Sci. Technol. 2014, 48, 6636–6643. [Google Scholar] [CrossRef] [PubMed]
- Risse, U.; Flammenkamp, E.; Kettrup, A. Denuder sampling system for the determination of gaseous and particle-bound organic health hazardous substances. Fresenius J. Anal. Chem. 1994, 350, 454–460. [Google Scholar] [CrossRef]
- Andraca-Ayala, G.; Ruiz-Suarez, L.G. Partitioning of formaldehyde between gas phase and particles (PM2.5) in México City. Atmósfera 2005, 8, 189–203. [Google Scholar]
- Kiss, G.; Varga, B.; Varga Puchony, Z.; Gelencsér, A.; Krivácsy, Z.; Hlavay, J. Sample preparation of atmospheric aerosol for the determination of carbonyl compounds. Talanta 1999, 48, 755–762. [Google Scholar] [CrossRef]
- Szulejko, J.E.; Kim, K.H. Derivatization techniques for determination of carbonyls in air. Trends Anal. Chem. 2015, 64, 29–41. [Google Scholar] [CrossRef]
- Dugheri, S.; Bonari, A.; Pompilio, I.; Colpo, M.; Mucci, N.; Montalti, M.; Arcangeli, G. Development of an innovative gas chromatography-mass spectrometry method for assessment of formaldehyde in the workplace atmosphere. Acta Chrom. 2017, 29, 511–514. [Google Scholar] [CrossRef]
- Dugheri, S.; Bonari, A.; Pompilio, I.; Colpo, M.; Mucci, N.; Arcangeli, G. An Integrated Air Monitoring Approach for Assessment of Formaldehyde in the Workplace. Saf. Health Work 2018, 9, 479–485. [Google Scholar] [CrossRef]
- Dugheri, S.; Mucci, N.; Pompilio, I.; Cappelli, G.; Bossi, C.; Bonari, A.; Arcangeli, G. Development of a new large volume injection method using a programmed temperature vaporization injector for the simultaneous gas chromatographic determination of airborne formaldehyde and ten other carbonyl pollutants. Chin. J. Chromatogr. 2018, in press. [Google Scholar]
- Scheepers, P.; Graumans, M.; Beckmann, G.; van Dael, M.; Anzion, R.; Melissen, M.; Pinckaers, N.; van Wel, L.; de Werdt, L.M.A.; Gelsing, V.; et al. Changes in Work Practices for Safe Use of Formaldehyde in a University-Based Anatomy Teaching and Research Facility. Int. J. Environ. Res. Public Health 2018, 15, 2049. [Google Scholar] [CrossRef]
- Huynh, C.K.; Vu-Duc, T. Intermethod comparisons of active sampling procedures and analysis of aldehydes at environmental levels. Anal. Bioanal. Chem. 2002, 372, 654–657. [Google Scholar] [CrossRef]
- Hafkenscheid, T.L.; van Oosten, J.A. Results from interlaboratory comparisons of aldehyde-2,4 dinitrophenylhydrazone analysis. Anal. Bioanal. Chem. 2002, 372, 658–663. [Google Scholar] [CrossRef] [PubMed]
- Sun, H.; Chan, K.Y.; Fung, Y.S. Determination of gaseous and particulate carbonyls in air by gradient-elution micellar electrokinetic capillary chromatography. Electrophoresis 2008, 29, 3971–3979. [Google Scholar] [CrossRef] [PubMed]
- Sun, H.; Lai, J.P.; Fung, Y.S. Simultaneous determination of gaseous and particulate carbonyls in air by coupling micellar electrokinetic capillary chromatography with molecular imprinting solid-phase extraction. J. Chromatogr. A 2014, 1358, 303–308. [Google Scholar] [CrossRef]
- Li, Y.; Sun, H.; Lai, J.; Chang, X.; Zhang, P.; Chen, S. Determination of carbonyl pollutants adsorbed on ambient particulate matter of type PM2.5 by using magnetic molecularly imprinted microspheres for sample pretreatment and capillary electrophoresis for separation and quantitation. Mikrochim. Acta 2018, 185, 122. [Google Scholar] [CrossRef] [PubMed]
- Williams, E.L.; Grosjean, D. Removal of atmospheric oxidants with annular denuders. Environ. Sci. Technol. 1990, 24, 811–814. [Google Scholar] [CrossRef]
- Possanzini, M.; Di Palo, V. Performance of a 2,4-DNPH coated annular denuder/HPLC system for formaldehyde monitoring in air. Chromatographia 1999, 49, 161–165. [Google Scholar] [CrossRef]
- Ho, S.S.H.; Ip, H.S.S.; Ho, K.F.; Dai, W.T.; Cao, J.; Ng, L.P.T. Concerns on the use of ozone scrubbers for gaseous carbonyl measurement by DNPH-coated silica gel cartridge. Air Qual. Res. 2013, 13, 1151–1160. [Google Scholar] [CrossRef]
- Pieraccini, G.; Bartolucci, G.; Pacenti, M.; Dugheri, S.; Boccalon, P.; Focardi, L. Gas chromatographic determination of glutaraldehyde in the workplace atmosphere after derivatization with O-(2, 3, 4, 5, 6-pentafluorobenzyl) hydroxylamine on a solid-phase microextraction fibre. J. Chromatogr. A 2002, 955, 117–124. [Google Scholar] [CrossRef]
- Crider, W.L.; Barkley, N.P.; Knott, M.J.; Slater, R.W., Jr. Hydrogen flame chemiluminescence detector for sulfate in aqueous solutions. Anal. Chim Acta 1969, 47, 237–241. [Google Scholar] [CrossRef]
- Possanzini, M.; Febo, A.; Liberti, A. New design of a high-performance denuder for the sampling of atmospheric pollutants. Atmos. Environ. 1983, 17, 2605–2610. [Google Scholar] [CrossRef]
- Risse, U.; Flammenkamp, E.; Kettrup, A. Determination of aromatic hydrocarbons in air using diffusion denuders. Fresenius J. Anal. Chem. 1996, 356, 390–395. [Google Scholar] [CrossRef] [PubMed]
- Gormley, P.G.; Kennedy, M. Diffusion from a stream flowing through a cylindrical tube. Proc. R. Irish Acad. Sect. A Math. Phys. Sci. 1948, 52, 163–169. [Google Scholar]
- Possanzini, M.; Ciccioli, P.; Di Palo, V.; Draisci, R. Determination of low boiling aldehydes in air and exhaust gases by using annular denuders combined with HPLC techniques. Chromatographia 1987, 23, 829–834. [Google Scholar] [CrossRef]
- Ferm, M. Method for determination of atmospheric ammonia. Atmos. Environ. 1979, 13, 1385–1393. [Google Scholar] [CrossRef]
- Chi, Y.; Feng, Y.; Wen, S.; Lü, H.; Yu, Z.; Zhang, W.; Sheng, G.; Fu, J. Determination of carbonyl compounds in the atmosphere by DNPH derivatization and LC–ESI-MS/MS detection. Talanta 2007, 72, 539–545. [Google Scholar] [CrossRef] [PubMed]
- Kolliker, S.; Oehme, M. Structure Elucidation of 2,4-Dinitrophenylhydrazone Derivatives of Carbonyl Compounds in Ambient Air by HPLC/MS and Multiple MS/MS Using Atmospheric Chemical Ionization in the Negative Ion Mode. Anal. Chem. 1998, 70, 1979–1985. [Google Scholar] [CrossRef]
- Van den Bergh, V.; Coeckelberghs, H.; Vankerckhoven, H.; Compernolle, F.; Vinckier, C. Study of the carbonyl products of terpene/OH radical reactions: Detection of the 2, 4-DNPH derivatives by HPLC-MS. Anal. Bioanal. Chem. 2004, 379, 484–494. [Google Scholar] [CrossRef]
- Grutter, M.; Flores, E.; Andraca-Ayala, G.; Baez, A. Formaldehyde levels in downtown Mexico City during 2003. Atmos. Environ. 2005, 39, 1027–1034. [Google Scholar] [CrossRef]
- Possanzini, M.; Di Palo, V.; Petricca, M.; Fratarcangeli, R.; Brocco, D. Measurements of lower c arbonyls in Rome ambient air. Atmos. Environ. 1996, 30, 3757–3764. [Google Scholar] [CrossRef]
- Ho, S.S.H.; Ho, K.F.; Lee, S.C.; Cheng, Y.; Yu, J.Z.; Lam, K.M.; Feng, N.S.Y.; Huang, Y. Carbonyl emissions from vehicular exhausts sources in Hong Kong. J. Air Waste Manag. Assoc. 2012, 62, 221–234. [Google Scholar] [CrossRef] [PubMed]
- Scheepers, P.T.; Van Wel, L.; Beckmann, G.; Anzion, R. Chemical Characterization of the Indoor Air Quality of a University Hospital: Penetration of Outdoor Air Pollutants. Int. J. Environ. Res. Public Health 2017, 14, 497. [Google Scholar] [CrossRef] [PubMed]


| Flowrate (L/min) | Time of Exposure (min) | FA | C2-C3 CCs | ||||
|---|---|---|---|---|---|---|---|
| m1 | m2 | E% | m1 | m2 | E% | ||
| 1.0 | 60 | 34.99 | - | 99.9 | 34.2 | 0.82 | 97.7 |
| CC | GC/TSD | GC/MS | GC/ECD | |||||||||
|---|---|---|---|---|---|---|---|---|---|---|---|---|
| LOD (ng/mL) | m | y | SE | LOD (ng/mL) | m | y | SE | LOD (ng/mL) | m | y | SE | |
| Formaldehyde | 0.07 | 71.4 | 0.087 | 0.08 | 0.63 | 0.81 | 0.083 | 0.0846 | 0.003 | 154.3 | 0.076 | 0.078 |
| Acetaldehyde | 0.13 | 3.72 | 0.079 | 0.082 | 1.06 | 0.48 | 0.088 | 0.083 | 0.006 | 80.5 | 0.084 | 0.077 |
| Acrolein | 0.26 | 1.81 | 0.081 | 0.075 | 0.76 | 0.61 | 0.077 | 0.077 | 0.006 | 81.5 | 0.087 | 0.076 |
| Hexaldehyde | 0.76 | 0.63 | 0.083 | 0.076 | 0.83 | 0.55 | 0.081 | 0.072 | 0.031 | 15.58 | 0.079 | 0.082 |
| Acetone | 0.43 | 1.21 | 0.089 | 0.085 | 0.8 | 0.62 | 0.079 | 0.085 | 0.016 | 30 | 0.083 | 0.077 |
| Propionaldehyde | 0.13 | 3.83 | 0.079 | 0.087 | 0.43 | 1.14 | 0.088 | 0.076 | 0.006 | 84.5 | 0.083 | 0.086 |
| Butyraldehyde | 0.56 | 0.88 | 0.088 | 0.076 | 0.36 | 1.41 | 0.091 | 0.078 | 0.006 | 84 | 0.076 | 0.092 |
| Isovaleraldehyde | 0.6 | 0.87 | 0.082 | 0.092 | 0.63 | 0.77 | 0.086 | 0.076 | 0.013 | 41.31 | 0.091 | 0.088 |
| Valeraldehyde | 0.72 | 0.66 | 0.081 | 0.078 | 0.53 | 0.9 | 0.084 | 0.075 | 0.003 | 167 | 0.082 | 0.085 |
| Crotonaldehyde | 1.03 | 0.51 | 0.092 | 0.082 | 0.53 | 0.91 | 0.088 | 0.072 | 0.006 | 75 | 0.078 | 0.072 |
| Benzaldehyde | 1.06 | 0.48 | 0.077 | 0.092 | 0.96 | 0.49 | 0.075 | 0.081 | 0.332 | 1.44 | 0.083 | 0.076 |
| m-Tolualdehyde | 1.23 | 0.39 | 0.083 | 0.075 | 1.26 | 0.39 | 0.082 | 0.083 | 0.412 | 1.14 | 0.086 | 0.071 |
| p-Tolualdehyde | 1.28 | 0.37 | 0.073 | 0.086 | 1.24 | 0.41 | 0.087 | 0.084 | 0.423 | 1.2 | 0.082 | 0.087 |
| o-Tolualdehyde | 1.36 | 0.34 | 0.075 | 0.081 | 1.36 | 0.38 | 0.092 | 0.081 | 0.465 | 1.09 | 0.092 | 0.077 |
| 2,5-Dimethylbenzaldehyde | 1.74 | 0.29 | 0.086 | 0.081 | 1.72 | 0.29 | 0.081 | 0.084 | 0.515 | 0.97 | 0.084 | 0.083 |
| CC | FA | AA | ACR | HEX | AC | PRP | BUT | Iso-VAL | VAL | CRO | BENZ | m-TOL | p- + o-TOL | 2,5-DMB | |
|---|---|---|---|---|---|---|---|---|---|---|---|---|---|---|---|
| Sampling Site | |||||||||||||||
| Background (average) | p | 0.3 ± 0.1 | 0.5 ± 0.2 | 0.03 ± 0.01 | 0.12 ± 0.03 | 0.2 ± 0.1 | 0.07 ± 0.02 | 0.05 ± 0.02 | 0.1 ± 0.02 | 0.04 ± 0.01 | 0.03 ± 0.01 | 0.3 ± 0.08 | 0.03 ± 0.01 | 0.12 ± 0.02 | 0.06 ± 0.01 |
| v | 2.4 ± 0.6 | 2.4 ± 1.0 | 0.17 ± 0.05 | 0.09 ± 0.02 | 1.2 ± 0.4 | 0.33 ± 0.11 | 0.35 ± 0.07 | 0.6 ± 0.2 | 0.36 ± 0.11 | 0.17 ± 0.04 | 0.2 ± 0.03 | 0.02 ± 0.01 | 0.08 ± 0.01 | 0.04 ± 0.01 | |
| VE-d, V.delle Oblate, pt.I | p | 1.5 ± 0.9 | 1.0 ± 0.5 | 0.04 ± 0.01 | 0.22 ± 0.05 | 0.5 ± 0.2 | 0.13 ± 0.02 | 0.15 ± 0.03 | 0.2 ± 0.04 | 0.1 ± 0.03 | 0.1 ± 0.03 | 0.9 ± 0.1 | 0.05 ± 0.02 | 0.15 ± 0.03 | 0.17 ± 0.03 |
| v | 7.1 ± 1.3 | 4.8 ± 1.7 | 0.26 ± 0.07 | 0.13 ± 0.02 | 2.3 ± 0.3 | 0.67 ± 0.18 | 0.96 ± 0.17 | 1.1 ± 0.3 | 0.9 ± 0.2 | 0.8 ± 0.2 | 0.6 ± 0.08 | 0.03 ± 0.01 | 0.05 ± 0.01 | 0.13 ± 0.02 | |
| VE-d, V.delle Oblate, pt.II | p | 1.6 ± 0.8 | 0.9 ± 0.5 | 0.07 ± 0.01 | 0.25 ± 0.06 | 0.6 ± 0.2 | 0.1 ± 0.15 | 0.1 ± 0.04 | 0.2 ± 0.04 | 0.2 ± 0.07 | 0.2 ± 0.04 | 1.0 ± 0.2 | 0.10 ± 0.03 | 0.19 ± 0.03 | 0.25 ± 0.05 |
| v | 9.0 ± 1.8 | 4.3 ± 2.0 | 0.33 ± 0.06 | 0.17 ± 0.02 | 3.1 ± 0.7 | 0.5 ± 0.1 | 0.8 ± 0.20 | 1.2 ± 0.2 | 1.0 ± 0.3 | 1.0 ± 0.2 | 0.6 ± 0.1 | 0.08 ± 0.02 | 0.11 ± 0.02 | 0.15 ± 0.03 | |
| VE-d V.delle Oblate, pt.III | p | 2.2 ± 0.8 | 0.6 ± 0.3 | 0.05 ± 0.02 | 0.22 ± 0.08 | 0.4 ± 0.2 | 0.11 ± 0.05 | 0.02 ± 0.01 | 0.2 ± 0.03 | 0.1 ± 0.03 | 0.1 ± 0.03 | 0.8 ± 0.2 | 0.16 ± 0.04 | 0.27 ± 0.04 | 0.31 ± 0.05 |
| v | 10.1 ± 2.1 | 4.0 ± 1.3 | 0.35 ± 0.07 | 0.15 ± 0.04 | 3.0 ± 0.8 | 0.79 ± 0.19 | 1.0 ± 0.2 | 1.1 ± 0.1 | 1.1 ± 0.4 | 1.0 ± 0.3 | 0.7 ± 0.2 | 0.10 ± 0.03 | 0.13 ± 0.02 | 0.19 ± 0.03 | |
| VE-d, V.Pieraccini, pt.I | p | 4.0 ± 1.2 | 2.0 ± 0.7 | 0.09 ± 0.02 | 0.45 ± 0.12 | 0.7 ± 0.1 | 0.15 ± 0.06 | 0.20 ± 0.06 | 0.25 ± 0.05 | 0.3 ± 0.09 | 0.2 ± 0.04 | 1.0 ± 0.4 | 0.45 ± 0.07 | 0.18 ± 0.02 | 0.39 ± 0.04 |
| v | 18.7 ± 2.0 | 9.1 ± 2.0 | 0.71 ± 0.17 | 0.33 ± 0.10 | 4.5 ± 1.1 | 0.95 ± 0.19 | 1.1 ± 0.3 | 1.55 ± 0.32 | 1.5 ± 0.3 | 1.1 ± 0.2 | 0.8 ± 0.1 | 0.30 ± 0.05 | 0.12 ± 0.01 | 0.21 ± 0.03 | |
| VE-d, V.Pieraccini, pt.II | p | 2.5 ± 1.0 | 1.4 ± 0.5 | 0.09 ± 0.03 | 0.41 ± 0.14 | 0.7 ± 0.2 | 0.1 ± 0.03 | 0.1 ± 0.04 | 0.2 ± 0.03 | 0.2 ± 0.02 | 0.15 ± 0.03 | 0.9 ± 0.2 | 0.12 ± 0.02 | 0.17 ± 0.02 | 0.27 ± 0.02 |
| v | 13.1 ± 2.2 | 6.2 ± 1.3 | 0.41 ± 0.12 | 0.24 ± 0.09 | 3.4 ± 0.7 | 0.7 ± 0.1 | 0.9 ± 0.22 | 1.3 ± 0.27 | 1.2 ± 0.1 | 0.85 ± 0.14 | 0.6 ± 0.1 | 0.10 ± 0.01 | 0.13 ± 0.02 | 0.23 ± 0.02 | |
| VE-d, V.Pieraccini, pt.III | p | 2.2 ± 1.2 | 0.9 ± 0.4 | 0.07 ± 0.02 | 0.38 ± 0.11 | 0.6 ± 0.2 | 0.08 ± 0.03 | 0.15 ± 0.03 | 0.1 ± 0.04 | 0.2 ± 0.04 | 0.1 ± 0.04 | 0.9 ± 0.3 | 0.19 ± 0.04 | 0.25 ± 0.04 | 0.38 ± 0.06 |
| v | 13.1 ± 2.4 | 5.7 ± 1.2 | 0.33 ± 0.13 | 0.28 ± 0.09 | 2.9 ± 0.8 | 0.52 ± 0.12 | 0.65 ± 0.11 | 1.1 ± 0.3 | 1.4 ± 0.3 | 0.7 ± 0.2 | 0.7 ± 0.2 | 0.13 ± 0.02 | 0.15 ± 0.02 | 0.22 ± 0.05 | |
| VE-d, V.Caccini, pt.I | p | 1.6 ± 0.7 | 0.6 ± 0.3 | 0.08 ± 0.01 | 0.26 ± 0.07 | 0.8 ± 0.2 | 0.06 ± 0.02 | 0.2 ± 0.08 | 0.1 ± 0.02 | 0.25 ± 0.06 | 0.1 ± 0.04 | 0.9 ± 0.3 | 0.22 ± 0.04 | 0.18 ± 0.03 | 0.17 ± 0.03 |
| v | 9.0 ± 1.4 | 4.2 ± 1.1 | 0.42 ± 0.11 | 0.16 ± 0.04 | 3.5 ± 1.1 | 0.54 ± 0.11 | 1.0 ± 0.3 | 1.3 ± 0.3 | 1.15 ± 0.4 | 0.9 ± 0.3 | 0.6 ± 0.2 | 0.16 ± 0.05 | 0.12 ± 0.02 | 0.13 ± 0.02 | |
| VE-d, V.Caccini, pt.II | p | 1.5 ± 0.7 | 0.5 ± 0.2 | 0.11 ± 0.03 | 0.23 ± 0.04 | 0.4 ± 0.2 | 0.05 ± 0.02 | 0.15 ± 0.03 | 0.2 ± 0.02 | 0.1 ± 0.03 | 0.15 ± 0.02 | 0.8 ± 0.2 | 0.16 ± 0.03 | 0.11 ± 0.01 | 0.23 ± 0.04 |
| v | 7.4 ± 1.7 | 2.6 ± 0.6 | 0.49 ± 0.05 | 0.14 ± 0.03 | 1.9 ± 0.7 | 0.45 ± 0.13 | 0.85 ± 0.13 | 1.3 ± 0.2 | 1.1 ± 0.3 | 0.65 ± 0.14 | 0.5 ± 0.1 | 0.12 ± 0.03 | 0.09 ± 0.01 | 0.17 ± 0.02 | |
| VE-d, V.Caccini, pt.III | p | 1.2 ± 1.0 | 0.5 ± 0.3 | 0.07 ± 0.02 | 0.25 ± 0.05 | 0.4 ± 0.2 | 0.1 ± 0.03 | 0.3 ± 0.08 | 0.1 ± 0.02 | 0.1 ± 0.03 | 0.2 ± 0.09 | 0.6 ± 0.1 | 0.07 ± 0.01 | 0.12 ± 0.02 | 0.35 ± 0.06 |
| v | 5.3 ± 1.3 | 2.2 ± 0.4 | 0.43 ± 0.12 | 0.16 ± 0.03 | 1.8 ± 0.6 | 0.5 ± 0.1 | 1.5 ± 0.3 | 1.5 ± 0.3 | 0.8 ± 0.2 | 1.0 ± 0.2 | 0.5 ± 0.1 | 0.04 ± 0.01 | 0.08 ± 0.02 | 0.15 ± 0.02 | |
| VE-d, V. delle Gore, pt.I | p | 1.7 ± 0.8 | 0.5 ± 0.3 | 0.03 ± 0.01 | 0.29 ± 0.07 | 0.3 ± 0.1 | 0.03 ± 0.01 | 0.07 ± 0.02 | 0.1 ± 0.03 | 0.1 ± 0.02 | 0.17 ± 0.03 | 0.5 ± 0.2 | 0.05 ± 0.02 | 0.16 ± 0.03 | 0.18 ± 0.03 |
| v | 7.9 ± 2.0 | 3.1 ± 0.3 | 0.27 ± 0.07 | 0.22 ± 0.06 | 1.6 ± 0.4 | 0.17 ± 0.04 | 0.43 ± 0.10 | 0.8 ± 0.1 | 0.6 ± 0.18 | 0.63 ± 0.23 | 0.4 ± 0.1 | 0.03 ± 0.01 | 0.14 ± 0.03 | 0.12 ± 0.02 | |
| VE-d, V. delle Gore, pt.II | p | 1.5 ± 0.3 | 0.7 ± 0.3 | 0.07 ± 0.01 | 0.23 ± 0.04 | 0.3 ± 0.1 | 0.07 ± 0.02 | 0.08 ± 0.02 | 0.1 ± 0.04 | 0.1 ± 0.04 | 0.1 ± 0.04 | 0.5 ± 0.08 | 0.05 ± 0.01 | 0.12 ± 0.02 | 0.11 ± 0.01 |
| v | 7.3 ± 2.1 | 3.2 ± 1.0 | 0.33 ± 0.09 | 0.16 ± 0.03 | 1.6 ± 0.5 | 0.43 ± 0.09 | 0.52 ± 0.14 | 0.8 ± 0.25 | 0.7 ± 0.21 | 1.0 ± 0.3 | 0.3 ± 0.1 | 0.03 ± 0.02 | 0.08 ± 0.01 | 0.09 ± 0.01 | |
| VE-d, V. delle Gore, pt.III | p | 1.2 ± 0.4 | 0.8 ± 0.3 | 0.08 ± 0.02 | 0.35 ± 0.11 | 0.3 ± 0.1 | 0.08 ± 0.02 | 0.1 ± 0.05 | 0.2 ± 0.04 | 0.13 ± 0.03 | 0.1 ± 0.04 | 0.5 ± 0.1 | 0.06 ± 0.03 | 0.13 ± 0.02 | 0.18 ± 0.02 |
| v | 7.6 ± 1.8 | 4.4 ± 1.3 | 0.42 ± 0.14 | 0.26 ± 0.09 | 1.9 ± 0.7 | 0.42 ± 0.11 | 0.7 ± 0.1 | 0.9 ± 0.2 | 0.67 ± 0.13 | 1.0 ± 0.2 | 0.3 ± 0.04 | 0.04 ± 0.02 | 0.07 ± 0.01 | 0.12 ± 0.01 | |
| Roadside, A (average) | p | 2.2 ± 0.9 | 1.0 ± 0.4 | 0.07 ± 0.03 | 0.24 ± 0.07 | 0.2 ± 0.1 | 0.05 ± 0.02 | 0.1 ± 0.03 | 0.1 ± 0.04 | 0.05 ± 0.01 | 0.11 ± 0.02 | 0.4 ± 0.1 | 0.05 ± 0.02 | 0.11 ± 0.02 | 0.11 ± 0.02 |
| v | 10.0 ± 2.4 | 4.6 ± 1.2 | 0.33 ± 0.11 | 0.14 ± 0.05 | 1.4 ± 0.6 | 0.45 ± 0.10 | 0.6 ± 0.14 | 0.8 ± 0.15 | 0.55 ± 0.11 | 0.59 ± 0.11 | 0.2 ± 0.03 | 0.04 ± 0.01 | 0.09 ± 0.02 | 0.09 ± 0.01 | |
| Roadside, B (average) | p | 1.8 ± 0.3 | 0.7 ± 0.2 | 0.05 ± 0.03 | 0.24 ± 0.08 | 0.2 ± 0.1 | 0.06 ± 0.02 | 0.1 ± 0.02 | 0.08 ± 0.03 | 0.1 ± 0.04 | 0.08 ± 0.03 | 0.4 ± 0.1 | 0.04 ± 0.02 | 0.12 ± 0.03 | 0.16 ± 0.02 |
| v | 8.5 ± 1.6 | 3.4 ± 1.3 | 0.25 ± 0.09 | 0.17 ± 0.04 | 1.4 ± 0.4 | 0.34 ± 0.07 | 0.5 ± 0.07 | 0.92 ± 0.23 | 0.6 ± 0.13 | 0.42 ± 0.12 | 0.3 ± 0.08 | 0.03 ± 0.02 | 0.08 ± 0.02 | 0.14 ± 0.02 | |
| Roadside, C (average) | p | 1.0 ± 0.4 | 0.6 ± 0.2 | 0.06 ± 0.02 | 0.20 ± 0.08 | 0.3 ± 0.1 | 0.03 ± 0.01 | 0.11 ± 0.02 | 0.1 ± 0.03 | 0.04 ± 0.02 | 0.08 ± 0.02 | 0.4 ± 0.1 | 0.05 ± 0.01 | 0.17 ± 0.01 | 0.17 ± 0.03 |
| v | 6.3 ± 2.2 | 3.0 ± 1.1 | 0.44 ± 0.10 | 0.15 ± 0.04 | 1.4 ± 0.5 | 0.27 ± 0.08 | 0.49 ± 0.12 | 0.77 ± 0.23 | 0.54 ± 0.14 | 0.52 ± 0.10 | 0.3 ± 0.03 | 0.03 ± 0.01 | 0.13 ± 0.02 | 0.13 ± 0.01 | |
| Roadside, D (average) | p | 1.0 ± 0.5 | 0.6 ± 0.3 | 0.03 ± 0.01 | 0.21 ± 0.06 | 0.2 ± 0.1 | 0.09 ± 0.02 | 0.06 ± 0.01 | 0.05 ± 0.01 | 0.05 ± 0.02 | 0.1 ± 0.03 | 0.4 ± 0.1 | 0.05 ± 0.02 | 0.11 ± 0.02 | 0.18 ± 0.02 |
| v | 6.2 ± 1.8 | 3.2 ± 1.3 | 0.27 ± 0.06 | 0.15 ± 0.03 | 1.3 ± 0.3 | 0.41 ± 0.13 | 0.44 ± 0.13 | 0.55 ± 0.12 | 0.55 ± 0.16 | 0.7 ± 0.21 | 0.2 ± 0.07 | 0.04 ± 0.02 | 0.09 ± 0.01 | 0.12 ± 0.01 | |
| CC | FA | AA | ACR | HEX | AC | PRP | BUT | Iso-VAL | VAL | CRO | BENZ | m-TOL | p-/o-TOL | 2,5-DMB | |
|---|---|---|---|---|---|---|---|---|---|---|---|---|---|---|---|
| Sampling Site | |||||||||||||||
| Secretariat | p | 1.4 ± 0.2 | 0.7 ± 0.2 | 0.08 ± 0.03 | 0.17 ± 0.1 | 0.3 ± 0.1 | 0.07 ± 0.08 | 0.14 ± 0.03 | 0.3 ± 0.1 | 0.2 ± 0.1 | 0.08 ± 0.04 | 0.8 ± 0.2 | 0.03 ± 0.01 | 0.17 ± 0.02 | 0.37 ± 0.15 |
| v | 11.2 ± 0.4 | 4.0 ± 0.5 | 0.42 ± 0.05 | 0.12 ± 0.1 | 1.4 ± 0.4 | 0.43 ± 0.10 | 1.1 ± 0.3 | 1.5 ± 0.3 | 1.6 ± 0.3 | 0.82 ± 0.15 | 0.6 ± 0.1 | 0.02 ± 0.01 | 0.13 ± 0.02 | 0.13 ± 0.02 | |
| Pathology Lab. | p | 1.6 ± 0.4 | 0.8 ± 0.3 | 0.05 ± 0.02 | 0.20 ± 0.07 | 0.7 ± 0.3 | 0.11 ± 0.08 | 0.15 ± 0.07 | 0.2 ± 0.1 | 0.2 ± 0.1 | 0.3 ± 0.1 | 0.7 ± 0.2 | 0.13 ± 0.03 | 0.27 ± 0.1 | 0.18 ± 0.05 |
| v | 12.3 ± 0.6 | 4.4 ± 0.7 | 0.45 ± 0.06 | 0.12 ± 0.06 | 2.2 ± 0.5 | 0.79 ± 0.11 | 0.85 ± 0.1 | 1.0 ± 0.3 | 1.2 ± 0.3 | 1.3 ± 0.3 | 0.5 ± 0.1 | 0.09 ± 0.02 | 0.13 ± 0.08 | 0.12 ± 0.04 | |
| Offices | p | 1.2 ± 0.3 | 0.5 ± 0.2 | 0.07 ± 0.02 | 0.15 ± 0.1 | 0.7 ± 0.2 | 0.05 ± 0.03 | 0.18 ± 0.06 | 0.17 ± 0.1 | 0.11 ± 0.1 | 0.09 ± 0.02 | 0.5 ± 0.2 | 0.10 ± 0.02 | 0.12 ± 0.06 | 0.16 ± 0.04 |
| v | 8.7 ± 0.8 | 3.1 ± 0.4 | 0.33 ± 0.04 | 0.12 ± 0.07 | 1.7 ± 0.3 | 0.45 ± 0.09 | 0.82 ± 0.1 | 0.83 ± 0.2 | 0.79 ± 0.1 | 0.71 ± 0.2 | 0.4 ± 0.1 | 0.07 ± 0.03 | 0.08 ± 0.03 | 0.14 ± 0.03 | |
© 2019 by the authors. Licensee MDPI, Basel, Switzerland. This article is an open access article distributed under the terms and conditions of the Creative Commons Attribution (CC BY) license (http://creativecommons.org/licenses/by/4.0/).
Share and Cite
Dugheri, S.; Mucci, N.; Cappelli, G.; Bonari, A.; Garzaro, G.; Marrubini, G.; Bartolucci, G.; Campagna, M.; Arcangeli, G. Monitoring of Air-Dispersed Formaldehyde and Carbonyl Compounds as Vapors and Adsorbed on Particulate Matter by Denuder-Filter Sampling and Gas Chromatographic Analysis. Int. J. Environ. Res. Public Health 2019, 16, 1969. https://doi.org/10.3390/ijerph16111969
Dugheri S, Mucci N, Cappelli G, Bonari A, Garzaro G, Marrubini G, Bartolucci G, Campagna M, Arcangeli G. Monitoring of Air-Dispersed Formaldehyde and Carbonyl Compounds as Vapors and Adsorbed on Particulate Matter by Denuder-Filter Sampling and Gas Chromatographic Analysis. International Journal of Environmental Research and Public Health. 2019; 16(11):1969. https://doi.org/10.3390/ijerph16111969
Chicago/Turabian StyleDugheri, Stefano, Nicola Mucci, Giovanni Cappelli, Alessandro Bonari, Giacomo Garzaro, Giorgio Marrubini, Gianluca Bartolucci, Marcello Campagna, and Giulio Arcangeli. 2019. "Monitoring of Air-Dispersed Formaldehyde and Carbonyl Compounds as Vapors and Adsorbed on Particulate Matter by Denuder-Filter Sampling and Gas Chromatographic Analysis" International Journal of Environmental Research and Public Health 16, no. 11: 1969. https://doi.org/10.3390/ijerph16111969
APA StyleDugheri, S., Mucci, N., Cappelli, G., Bonari, A., Garzaro, G., Marrubini, G., Bartolucci, G., Campagna, M., & Arcangeli, G. (2019). Monitoring of Air-Dispersed Formaldehyde and Carbonyl Compounds as Vapors and Adsorbed on Particulate Matter by Denuder-Filter Sampling and Gas Chromatographic Analysis. International Journal of Environmental Research and Public Health, 16(11), 1969. https://doi.org/10.3390/ijerph16111969

