Intelligent Dental Handpiece: Real-Time Motion Analysis for Skill Development
Abstract
1. Introduction
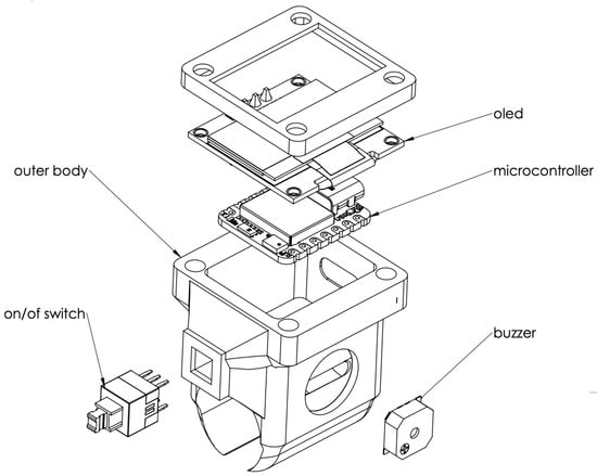
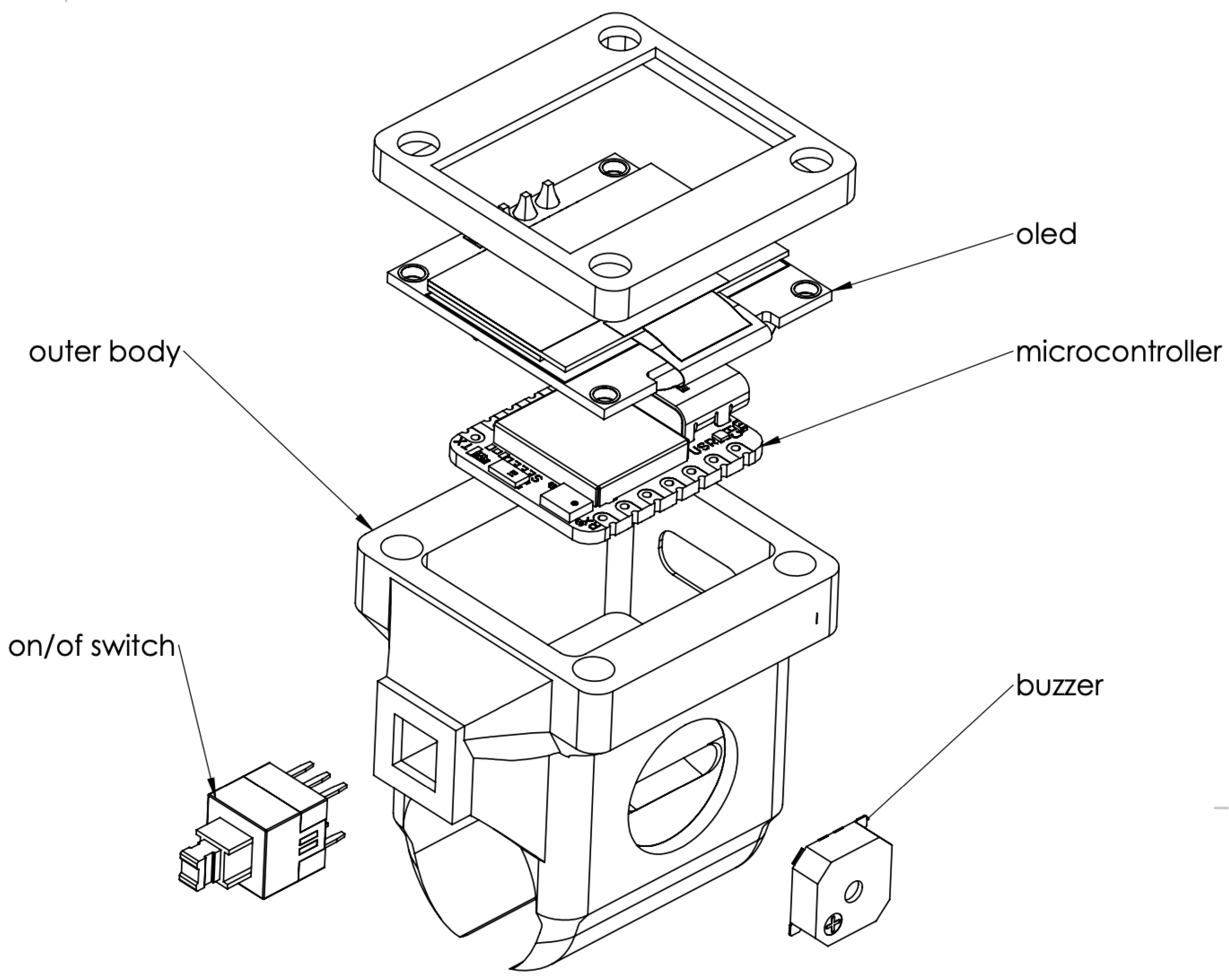
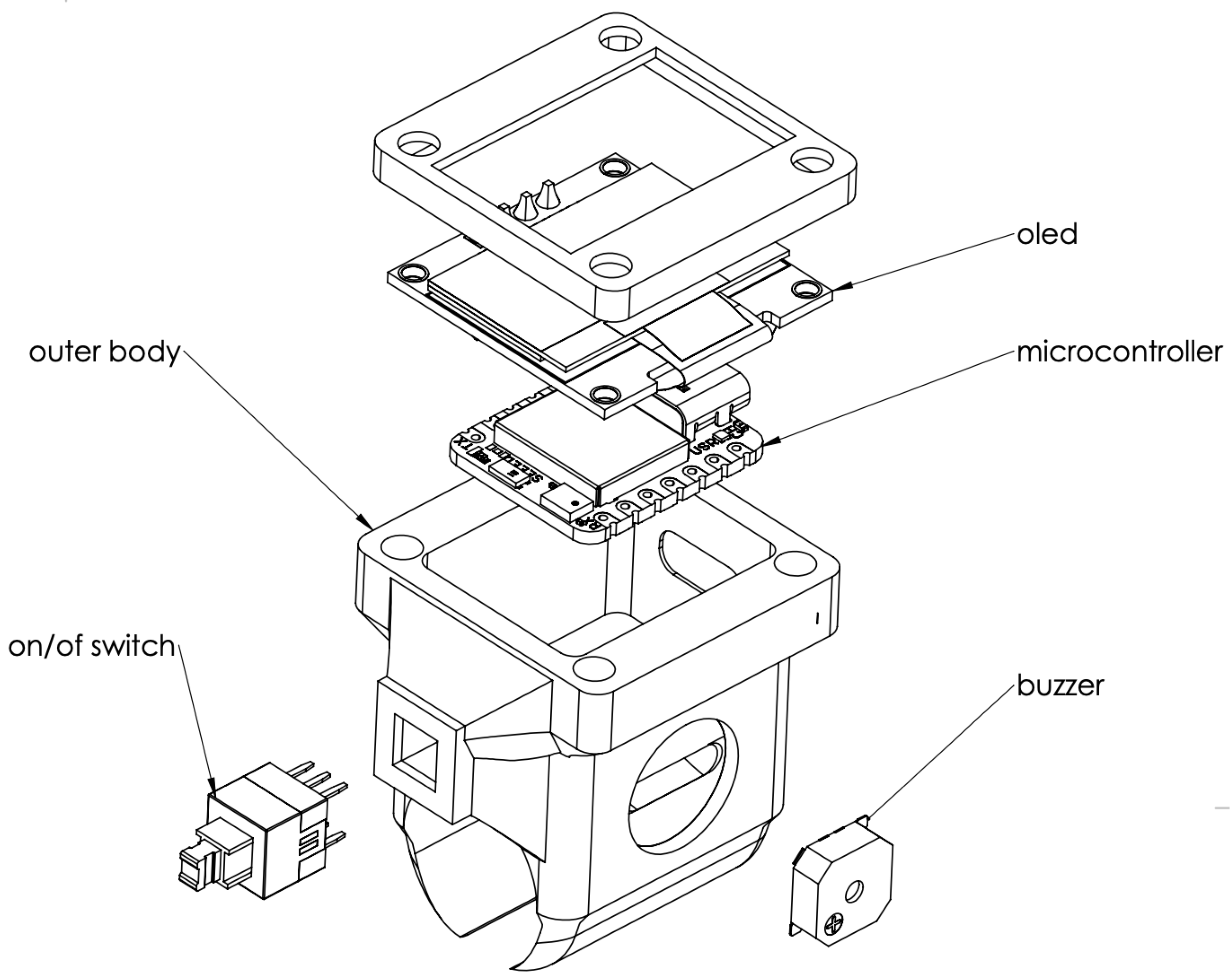
2. Prototype Design
- Air-turbine drill handpiece manufactured by NSK (Nakanishi Inc., Tochigi, Japan);
- Microcontroller: XIAO nRF52840 manufactured by XIAO (Birmingham, UK);
- IMU: LSM6DS3TR-C manufactured by XIAO STMicroelectronics (Plan-les-Ouates, Switzerland);
- OLED: 0.96-inch SSD1306 (128×64 resolution) manufactured by Solomon Systech (Hong Kong, China);
- Buzzer;
- On/Off switch;
- PCB.
3. Methodology
3.1. Data Preprocessing
3.1.1. Feature Selection
3.1.2. Time Column Normalization
3.1.3. Categorical Encoding
3.1.4. Data Splitting
3.2. Machine Learning Models
3.2.1. Random Forest
3.2.2. SVM (Kernel-Based)
3.2.3. Logistic Regression
3.2.4. Neural Network (NN)
3.3. Hyperparameter Optimization Framework
3.3.1. Randomized Search Methodology
3.3.2. Cross-Validation Strategy
- Cross-Validation Method: 5-fold stratified cross-validation ();
- Primary Optimization Metric: classification accuracy;
- Secondary Metrics: precision, recall, and F1-score (monitored for balanced performance);
- Random State: fixed at 42 for full reproducibility;
- Training/Test Split: 80%/20% with stratified sampling.
- Split dataset into training (80%) and test (20%) sets with stratification.
- For each hyperparameter combination sampled
- (a)
- Divide training set into five stratified folds;
- (b)
- Train model on four folds, validate on the remaining fold;
- (c)
- Rotate validation fold and repeat (five iterations total);
- (d)
- Calculate mean and standard deviation of accuracy across folds.
- Select hyperparameters yielding highest mean cross-validation accuracy.
- Retrain model on entire training set with optimal parameters.
- Evaluate final model on held-out test set.
3.3.3. Model-Specific Parameter Search Spaces
Logistic Regression
- C (Inverse Regularization Strength): Log-uniform distribution ;
- Penalty Type: Categorical {L1, L2};
- Solver: Categorical {liblinear, lbfgs, saga}.
Random Forest
- n_estimators: Discrete uniform ;
- max_depth: Discrete uniform ;
- min_samples_split: Discrete uniform ;
- min_samples_leaf: Discrete uniform ;
- max_features: Continuous uniform .
- criterion: Categorical {gini, entropy}.
Support Vector Machine—Linear Kernel
- C: Log-uniform .
- class_weight: Categorical {None, balanced}
Support Vector Machine—RBF Kernel
- C: Log-uniform ;
- gamma: Log-uniform ;
- class_weight: Categorical {None, balanced}.
Support Vector Machine—Polynomial Kernel
- C: Log-uniform ;
- degree: Discrete uniform ;
- gamma: Log-uniform ;
- coef0: Continuous uniform ;
- class_weight: Categorical {None, balanced}.
Neural Network
4. Experiments
4.1. Experimental Setup
4.2. Performance Metrics
5. Results and Discussion
5.1. Linear SVM Classifier Performance Analysis
5.2. Logistic Regression Performance Analysis
5.3. Random Forest Classifier Performance Analysis
5.4. Kernel Function Evaluation
5.4.1. SVM RBF Kernel Performance
5.4.2. SVM Polynomial Kernel Performance
5.5. Neural Network Performance
5.6. Comparative Analysis of Model Performance
5.6.1. Overall Performance Metrics (Accuracy, Precision, Recall, F1-Score)
5.6.2. Class-Wise Discrimination (ROC AUC and Precision-Recall Curves)
5.6.3. Probability Calibration
5.6.4. Comprehensive Kernel Function Comparison
5.6.5. Cross-Validation Stability Analysis
5.6.6. Feature Importance and Interpretability
5.6.7. Computational Efficiency
5.6.8. Consolidated Performance Metrics
5.7. Key Findings and Performance Analysis
6. Conclusions
Future Work
Author Contributions
Funding
Institutional Review Board Statement
Informed Consent Statement
Data Availability Statement
Acknowledgments
Conflicts of Interest
References
- Park, C. A comprehensive narrative review exploring the current landscape of digital complete denture technology and advancements. Heliyon 2025, 11, e41870. [Google Scholar] [CrossRef] [PubMed]
- Shalash, O. Design and Development of Autonomous Robotic Machine for Knee Arthroplasty. Ph.D. Thesis, University of Strathclyde, Glasgow, UK, 2018. [Google Scholar]
- Bandiaky, O.N.; Lopez, S.; Hamon, L.; Clouet, R.; Soueidan, A.; Le Guehennec, L. Impact of haptic simulators in preclinical dental education: A systematic review. J. Dent. Educ. 2024, 88, 366–379. [Google Scholar] [CrossRef] [PubMed]
- Khaled, A.; Shalash, O.; Ismaeil, O. Multiple objects detection and localization using data fusion. In Proceedings of the 2023 2nd International Conference on Automation, Robotics and Computer Engineering (ICARCE), Wuhan, China, 14–16 December 2023; pp. 1–6. [Google Scholar]
- Roy, E.; Bakr, M.M.; George, R. The need for virtual reality simulators in dental education: A review. Saudi Dent. J. 2017, 29, 41–47. [Google Scholar] [CrossRef]
- Elkholy, M.; Shalash, O.; Hamad, M.S.; Saraya, M.S. Empowering the grid: A comprehensive review of artificial intelligence techniques in smart grids. In Proceedings of the 2024 International Telecommunications Conference (ITC-Egypt), Cairo, Egypt, 22–25 July 2024; pp. 513–518. [Google Scholar]
- Shalash, O.; Rowe, P. Computer-assisted robotic system for autonomous unicompartmental knee arthroplasty. Alex. Eng. J. 2023, 70, 441–451. [Google Scholar] [CrossRef]
- Abouelfarag, A.; Elshenawy, M.A.; Khattab, E.A. Accelerating sobel edge detection using compressor cells over FPGAs. In Computer Vision: Concepts, Methodologies, Tools, and Applications; IGI Global: Hershey, PA, USA, 2018; pp. 1133–1154. [Google Scholar]
- Said, H.; Mohamed, S.; Shalash, O.; Khatab, E.; Aman, O.; Shaaban, R.; Hesham, M. Forearm intravenous detection and localization for autonomous vein injection using contrast-limited adaptive histogram equalization algorithm. Appl. Sci. 2024, 14, 7115. [Google Scholar] [CrossRef]
- Métwalli, A.; Shalash, O.; Elhefny, A.; Rezk, N.; El Gohary, F.; El Hennawy, O.; Akrab, F.; Shawky, A.; Mohamed, Z.; Hassan, N.; et al. Enhancing hydroponic farming with Machine Learning: Growth prediction and anomaly detection. Eng. Appl. Artif. Intell. 2025, 157, 111214. [Google Scholar] [CrossRef]
- Fawzy, H.; Elbrawy, A.; Amr, M.; Eltanekhy, O.; Khatab, E.; Shalash, O. A systematic review: Computer vision algorithms in drone surveillance. J. Robot. Integr. 2025. [Google Scholar]
- Mirmotalebi, S.; Alvandi, A.; Molaei, S.; Rouhbakhsh, A.; Amadeh, A.; Ahmadi, A.; Rouhbakhshmeghrazi, A. Machine Learning Approaches for Motion Detection Based on IMU Devices. In Proceedings of the 7th International Conference on Applied Researches in Science and Engineering, Online, 31 May 2023. [Google Scholar]
- Kumari, N.; Yadagani, A.; Behera, B.; Semwal, V.B.; Mohanty, S. Human motion activity recognition and pattern analysis using compressed deep neural networks. Comput. Methods Biomech. Biomed. Eng. Imaging Vis. 2024, 12, 2331052. [Google Scholar] [CrossRef]
- Vásconez, J.P.; Barona López, L.I.; Valdivieso Caraguay, Á.L.; Benalcázar, M.E. Hand Gesture Recognition Using EMG-IMU Signals and Deep Q-Networks. Sensors 2022, 22, 9613. [Google Scholar] [CrossRef]
- Wang, P.T.; Sheu, J.S.; Shen, C.F. Real-time Hand Movement Trajectory Tracking with Deep Learning. Sens. Mater. 2023, 35, 4117–4129. [Google Scholar] [CrossRef]
- Salah, Y.; Shalash, O.; Khatab, E. A lightweight speaker verification approach for autonomous vehicles. Robot. Integr. Manuf. Control 2024, 1, 15–30. [Google Scholar] [CrossRef]
- Wei, Y.; Peng, Z. Application of Simodont virtual simulation system for preclinical teaching of access and coronal cavity preparation. PLoS ONE 2024, 19, e0315732. [Google Scholar] [CrossRef] [PubMed]
- Elsayed, H.; Tawfik, N.S.; Shalash, O.; Ismail, O. Enhancing human emotion classification in human-robot interaction. In Proceedings of the 2024 International Conference on Machine Intelligence and Smart Innovation (ICMISI), Alexandria, Egypt, 12–14 May 2024; pp. 1–6. [Google Scholar]
- Caleya, A.M.; Martín-Vacas, A.; Mourelle-Martínez, M.R.; de Nova-Garcia, M.J.; Gallardo-López, N.E. Implementation of virtual reality in preclinical pediatric dentistry learning: A comparison between Simodont® and conventional methods. Dent. J. 2025, 13, 51. [Google Scholar] [CrossRef] [PubMed]
- Simodont Dental Trainer. Home—Simodont Dental Trainer. Available online: https://www.simodontdentaltrainer.com/ (accessed on 15 October 2025).
- Virteasy Dental Simulator. Home—Virteasy Dental Simulator. Available online: https://virteasy.com/ (accessed on 15 October 2025).
- Moog Inc.; ACTA (Academic Centre for Dentistry Amsterdam). Simodont Dental Trainer. Available online: https://acta.nl/en (accessed on 15 October 2025).
- Forsslund Systems. Forsslund Systems Dental Trainer. Available online: https://forsslundsystems.com/ (accessed on 15 October 2025).
- University of Illinois at Chicago. PerioSim Project. Available online: https://periopsim.com (accessed on 15 October 2025).
- Wang, Y.; Zhao, S.; Li, T.; Zhang, Y.; Wang, X.; Liu, H.; Chen, J.; Sun, Q.; Zhou, Y.; Hou, J. Development of a virtual reality dental training system. Comput. Biol. Med. 2016, 75, 1–9. [Google Scholar]
- Hsieh, Y.; Hsieh, L.; Chien, C.; Lin, Y.; Lee, J.; Chang, C.; Wang, C.; Huang, T.; Chen, M.; Wu, S. Development of an interactive dental simulator. J. Dent. Educ. 2015, 79, 504–512. [Google Scholar]
- Tse, B.; Harwin, W.; Barrow, A.; Quinn, B.; San Diego, J.; Cox, M. Design and development of a haptic dental training system-haptel. In Proceedings of the EuroHaptics 2010, Amsterdam, The Netherlands, 8–10 July 2010; pp. 101–108. [Google Scholar]
- Pisla, D.; Bulbucan, V.; Hedesiu, M.; Vaida, C.; Zima, I.; Mocan, R.; Tucan, P.; Dinu, C.; Pisla, D.; TEAM Project Group. A vision-guided robotic system for safe dental implant surgery. J. Clin. Med. 2024, 13, 6326. [Google Scholar] [CrossRef]
- Slaczka, D.M.; Shah, R.; Liu, C.; Zou, F.; Karunanayake, G.A. Endodontic access cavity training using artificial teeth and Simodont® dental trainer: A comparison of student performance and acceptance. Int. Endod. J. 2024. [Google Scholar] [CrossRef]
- Lin, P.Y.; Tsai, Y.H.; Chen, T.C.; Hsieh, C.Y.; Ou, S.F.; Yang, C.W.; Liu, C.H.; Lin, T.F.; Wang, C.Y. The virtual assessment in dental education: A narrative review. J. Dent. Sci. 2024, 19, S102–S115. [Google Scholar] [CrossRef]
- Sallam, M.; Salah, Y.; Osman, Y.; Hegazy, A.; Khatab, E.; Shalash, O. Artificial Intelligence Operated Dental Handpiece for Dental Students Practice: A Step Towards Precision and Automation. Mendeley Data, V1. 2025. Available online: https://www.selectdataset.com/dataset/c8a8892e12a65a80ebcc0a75a8f8c910 (accessed on 15 October 2025).
- Ogasawara, E.; Martinez, L.C.; De Oliveira, D.; Zimbrão, G.; Pappa, G.L.; Mattoso, M. Adaptive normalization: A novel data normalization approach for non-stationary time series. In Proceedings of the 2010 International Joint Conference on Neural Networks (IJCNN), Barcelona, Spain, 18–23 July 2010; pp. 1–8. [Google Scholar]
- Potdar, K.; Pardawala, T.S.; Pai, C.D. A comparative study of categorical variable encoding techniques for neural network classifiers. Int. J. Comput. Appl. 2017, 175, 7–9. [Google Scholar] [CrossRef]
- Breiman, L. Random forests. Mach. Learn. 2001, 45, 5–32. [Google Scholar] [CrossRef]
- Cortes, C.; Vapnik, V. Support-vector networks. Mach. Learn. 1995, 20, 273–297. [Google Scholar] [CrossRef]
- Vapnik, V.N. The Nature of Statistical Learning Theory; Springer: Berlin/Heidelberg, Germany, 1995. [Google Scholar]
- Cox, D.R. The regression analysis of binary sequences. J. R. Stat. Soc. Ser. B (Methodol.) 1958, 20, 215–242. [Google Scholar] [CrossRef]
- Hosmer, D.W., Jr.; Lemeshow, S.; Sturdivant, R.X. Applied Logistic Regression; JohnWiley & Sons: Hoboken, NJ, USA, 2013. [Google Scholar]
- McCulloch, W.S.; Pitts, W. A logical calculus of the ideas immanent in nervous activity. Bull. Math. Biophys. 1943, 5, 115–133. [Google Scholar] [CrossRef]
- Schmidhuber, J. Deep learning in neural networks: An overview. Neural Netw. 2015, 61, 85–117. [Google Scholar] [CrossRef]
- Bergstra, J.; Bengio, Y. Random search for hyper-parameter optimization. J. Mach. Learn. Res. 2012, 13, 281–305. [Google Scholar]
- Hutter, F.; Hoos, H.H.; Leyton-Brown, K. Sequential model-based optimization for general algorithm configuration. In International Conference on Learning and Intelligent Optimization; Springer: Berlin/Heidelberg, Germany, 2011; pp. 507–523. [Google Scholar]
- Kohavi, R. A study of cross-validation and bootstrap for accuracy estimation and model selection. Int. Jt. Conf. Artif. Intell. (IJCAI) 1995, 14, 1137–1145. [Google Scholar]
- Probst, P.; Boulesteix, A.L.; Bischl, B. Tunability: Importance of hyperparameters of machine learning algorithms. J. Mach. Learn. Res. 2019, 20, 1–32. [Google Scholar]
- Nair, V.; Hinton, G.E. Rectified linear units improve restricted Boltzmann machines. In Proceedings of the 27th International Conference on Machine Learning (ICML), Haifa, Israel, 21–24 June 2010; pp. 807–814. [Google Scholar]
- Srivastava, N.; Hinton, G.; Krizhevsky, A.; Sutskever, I.; Salakhutdinov, R. Dropout: A simple way to prevent neural networks from overfitting. J. Mach. Learn. Res. 2014, 15, 1929–1958. [Google Scholar]
- Kingma, D.P.; Ba, J. Adam: A method for stochastic optimization. In Proceedings of the 3rd International Conference on Learning Representations (ICLR), San Diego, CA, USA, 7–9 May 2015. [Google Scholar]
- Prechelt, L. Early stopping—But when? In Neural Networks: Tricks of the Trade; Springer: Berlin/Heidelberg, Germany, 1998; pp. 55–69. [Google Scholar]
- Hastie, T.; Tibshirani, R.; Friedman, J. The Elements of Statistical Learning: Data Mining, Inference, and Prediction; Springer: Berlin/Heidelberg, Germany, 2009. [Google Scholar]
- Fawcett, T. An introduction to ROC analysis. Pattern Recognit. Lett. 2006, 27, 861–874. [Google Scholar] [CrossRef]
- Sokolova, M.; Lapalme, G. A systematic analysis of performance measures for classification tasks. Inf. Process. Manag. 2009, 45, 427–437. [Google Scholar] [CrossRef]
- Sasaki, Y. The Truth of the F-Measure; Technical Report; School of Computer Science, University of Manchester: Manchester, UK, 2007. [Google Scholar]



































| Tool Name | Key Features | Target Applications | Haptics Enabled |
|---|---|---|---|
| Simodont Dental Trainer [19,20] | High-fidelity 3D virtual simulation, realistic tactile feedback, performance tracking, wide library of clinical scenarios | Cavity preparation, crown prep, endodontics, preclinical skill development | Yes |
| Virteasy Dental (HRV Simulation) [21] | Immersive VR training, customizable scenarios, scoring system | Operative dentistry, prosthodontics, implantology | Yes |
| Moog Simodont (Legacy) [22] | Precision haptics, touchscreen interface, adjustable tools | Basic dental training, skill acquisition | Yes |
| IDEA Dental Handpiece Simulator | Integrated motion tracking in handpiece, real-time feedback | Dexterity training, performance analysis in handpiece control | No (focuses on movement data) |
| Forsslund Systems Haptic Dental Trainer [23] | Dual-handed training, procedural simulation with haptic arms | Crown prep, caries removal, ergonomics training | Yes |
| PerioSim [24] | 3D tooth and gum models, periodontal probing with force feedback | Periodontal diagnostics and treatments | Yes |
| VRDTS (Virtual Reality Dental Training System) [25] | Real-time 3D visuals, force feedback, performance tracking | Cavity preparation, caries removal, preclinical operative dentistry | Yes |
| IDSS (Intelligent Dental Simulation System) [26] | Haptic-enabled training with AI-based assessment, tissue feedback, and real-time scoring | Caries removal, crown prep, endodontics, general operative dentistry | Yes |
| Intelligent Dental Handpiece (IDH) | Real-time motion tracking, IMU-based feedback, machine learning classification, cloud analytics | Dexterity training, motion classification, skill assessment | No (focuses on motion sensing and feedback) |
| Model | Search Iterations | CV Folds | Parameters Tuned | Total Evaluations |
|---|---|---|---|---|
| Logistic Regression | 20 | 5 | 3 | 100 |
| Random Forest | 30 | 5 | 6 | 150 |
| SVM (Linear Kernel) | 15 | 5 | 2 | 75 |
| SVM (RBF Kernel) | 20 | 5 | 3 | 100 |
| SVM (Polynomial Kernel) | 20 | 5 | 5 | 100 |
| Neural Network | – | – | Fixed Arch. | – |
| Total Cross-Validation Runs: | 525 | |||
| Kernel | Test Acc | CV Score | Train (s) | Infer (ms) | Errors | Calibration |
|---|---|---|---|---|---|---|
| Linear | 99.6% | 0.999 ± 0.001 | 0.14 | 0.01 | 1 | Excellent |
| Polynomial | 99.6% | 0.998 ± 0.002 | 0.16 | 0.03 | 3 | Good |
| RBF | 99.19% | 0.995 ± 0.003 | 0.23 | 0.05 | 6 | Poor |
| Model | CV Mean | CV Std Dev | Coeff. of Variation |
|---|---|---|---|
| Random Forest | 1.0000 | ±0.0000 | 0.00% |
| Logistic Regression | 0.9987 | ±0.0007 | 0.07% |
| Linear SVM | 0.9990 | ±0.0008 | 0.08% |
| SVM Polynomial | 0.9976 | ±0.0017 | 0.17% |
| SVM RBF | 0.9946 | ±0.0029 | 0.29% |
| Metric | LR | RF | SVM-L | SVM-P | SVM-R | NN |
|---|---|---|---|---|---|---|
| Train (s) | 0.91 | 0.27 | 0.14 | 0.16 | 0.23 | 20.54 |
| Test Acc | 1.000 | 1.000 | 0.996 | 0.996 | 0.9919 | 0.9852 |
| Precision | 1.000 | 1.000 | 0.996 | 0.996 | 0.9919 | 0.9852 |
| Recall | 1.000 | 1.000 | 0.996 | 0.996 | 0.9919 | 0.9852 |
| F1 | 1.000 | 1.000 | 0.996 | 0.996 | 0.9919 | 0.9852 |
| CV Score | 0.9987 ± 0.001 | 1.000 ± 0.000 | 0.999 ± 0.001 | 0.998 ± 0.002 | 0.995 ± 0.003 | N/A |
| Infer (ms) | 0.01 | 0.02 | 0.01 | 0.03 | 0.05 | 0.36 |
| Errors | 0 | 0 | 1 | 3 | 6 | 11 |
Disclaimer/Publisher’s Note: The statements, opinions and data contained in all publications are solely those of the individual author(s) and contributor(s) and not of MDPI and/or the editor(s). MDPI and/or the editor(s) disclaim responsibility for any injury to people or property resulting from any ideas, methods, instructions or products referred to in the content. |
© 2025 by the authors. Licensee MDPI, Basel, Switzerland. This article is an open access article distributed under the terms and conditions of the Creative Commons Attribution (CC BY) license (https://creativecommons.org/licenses/by/4.0/).
Share and Cite
Sallam, M.; Salah, Y.; Osman, Y.; Hegazy, A.; Khatab, E.; Shalash, O. Intelligent Dental Handpiece: Real-Time Motion Analysis for Skill Development. Sensors 2025, 25, 6489. https://doi.org/10.3390/s25206489
Sallam M, Salah Y, Osman Y, Hegazy A, Khatab E, Shalash O. Intelligent Dental Handpiece: Real-Time Motion Analysis for Skill Development. Sensors. 2025; 25(20):6489. https://doi.org/10.3390/s25206489
Chicago/Turabian StyleSallam, Mohamed, Yousef Salah, Yousef Osman, Ali Hegazy, Esraa Khatab, and Omar Shalash. 2025. "Intelligent Dental Handpiece: Real-Time Motion Analysis for Skill Development" Sensors 25, no. 20: 6489. https://doi.org/10.3390/s25206489
APA StyleSallam, M., Salah, Y., Osman, Y., Hegazy, A., Khatab, E., & Shalash, O. (2025). Intelligent Dental Handpiece: Real-Time Motion Analysis for Skill Development. Sensors, 25(20), 6489. https://doi.org/10.3390/s25206489

