Optical and Acoustic Sensor-Based 3D Ball Motion Estimation for Ball Sport Simulators †
Abstract
:1. Introduction
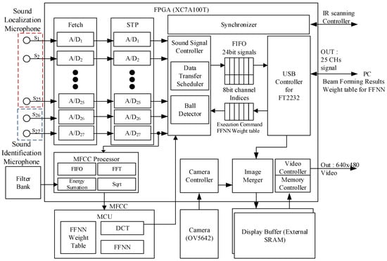
2. System Overview
3. D Ball Motion Estimation
3.1. Sound-Based Ball Firing Detection
3.2. Sound Source Localization
3.2.1. Estimation of 2D Sound Source Position
3.2.2. Estimation of Prediction Plane Depth and 3D Localization
3.3. IR Scanning for Motion Analysis
4. Experimentation
4.1. Experimental Setup
4.2. Calibration
4.3. 3D Ball Motion Estimation
5. Conclusions
Author Contributions
Acknowledgments
Conflicts of Interest
References
- Golfzone. Available online: https://www.golfzongolf.com/ (accessed on 21 April 2018).
- Lee, S.-J.; Kwon, H.-J.; Kim, H.-G. Screen Baseball Game Apparatus without Temporal and Spatial limitations. U.S. Patent 9604114B2, 19 May 2015. [Google Scholar]
- Sports Entertainment Specialists Soccer Simulator. Available online: http://www.sportsentertainmentspecialists.com/MultiSportSimulators/soccer.html (accessed on 11 April 2018).
- Kim, J.; Kim, M. Smart vision system for soccer training. In Proceedings of the 2015 International Conference on Information and Communication Technology Convergence (ICTC), Jeju, Korea, 28–30 October 2015; pp. 257–262. [Google Scholar]
- Jung, J.; Park, H.; Kang, S.; Lee, S.; Hahn, M. Measurement of initial motion of a flying golf ball with multi-exposure images for screen-golf. IEEE Trans. Consum. Electron. 2010, 56, 516–523. [Google Scholar] [CrossRef]
- Kim, H.-G.; Kim, J.-Y. Acoustic Event Detection in Multichannel Audio Using Gated Recurrent Neural Networks with High-Resolution Spectral Features. ETRI J. 2017, 39, 832–840. [Google Scholar] [CrossRef]
- Zhao, X.; Wang, D. Analyzing noise robustness of MFCC and GFCC features in speaker identification. In Proceedings of the 2013 IEEE International Conference on Acoustics, Speech and Signal Processing, Vancouver, BC, Canada, 26–31 May 2013; pp. 7204–7208. [Google Scholar]
- Khunarsa, P.; Lursinsap, C.; Raicharoen, T. Impulsive Environment Sound Detection by Neural Classification of Spectrogram and Mel-Frequency Coefficient Images. In Advances in Neural Network Research and Applications; Zeng, Z., Wang, J., Eds.; Springer: Berlin/Heidelberg, Germany, 2010; pp. 337–346. [Google Scholar]
- Schmidt, H.; Baggeroer, A.B.; Kuperman, W.A.; Scheer, E.K. Environmentally tolerant beamforming for high-resolution matched field processing: Deterministic mismatch. J. Acoust. Soc. Am. 1990, 88, 1851–1862. [Google Scholar] [CrossRef]
- Riley, H.B.; Tague, J.A. Matched field source detection and localization in high noise environments: A novel reduced-rank signal processing approach. In Proceedings of the 1993 IEEE International Conference on Acoustics, Speech, and Signal Processing, Minneapolis, MN, USA, 27–30 April 1993; pp. 293–296. [Google Scholar]
- Kim, Y. Can we hear the shape of a noise source/ulcorner. Trans. Korean Soc. Noise Vib. Eng. 2004, 7, 586–603. [Google Scholar]
- Kim, Y.-H. Acoustic Holography. In Springer Handbook of Acoustics; Rossing, T.D., Ed.; Springer: New York, NY, USA, 2014; pp. 1115–1137. [Google Scholar]
- Tamai, Y.; Sasaki, Y.; Kagami, S.; Mizoguchi, H. Three ring microphone array for 3D sound localization and separation for mobile robot audition. In Proceedings of the 2005 IEEE/RSJ International Conference on Intelligent Robots and Systems, Edmonton, AB, Canada, 2–6 August 2005; pp. 4172–4177. [Google Scholar]
- Loesch, B.; Uhlich, S.; Yang, B. Multidimensional localization of multiple sound sources using frequency domain ICA and an extended state coherence transform. In Proceedings of the 2009 IEEE/SP 15th Workshop on Statistical Signal Processing, Cardiff, UK, 31 August–3 September 2009; pp. 677–680. [Google Scholar]
- Valin, J.-M.; Michaud, F.; Hadjou, B.; Rouat, J. Localization of Simultaneous Moving Sound Sources for Mobile Robot Using a Frequency-Domain Steered Beamformer Approach. In Proceedings of the IEEE International Conference on Robotics and Automation, New Orleans, LA, USA, 26 April–1 May 2004; pp. 1033–1038. [Google Scholar]
- Seo, D.-H.; Choi, J.-W.; Kim, Y.-H. Impulsive sound source localization using peak and RMS estimation of the time-domain beamformer output. Mech. Syst. Signal Process. 2014, 49, 95–105. [Google Scholar] [CrossRef]
- Christensen, J.J.; Hald, J. Beamforming-Brüel and Kjær Technical Review, 1st ed.; B & K Publication: Nærum, Denmark, 2004. [Google Scholar]
- Heilmann, G.; Meyer, A.; Döbler, D. Time-domain Beamforming Using 3D-Microphone Arrays. 2018. Available online: https://pdfs.semanticscholar.org/dc81/f928af402713b430d5cb021a09799ecbd1c1.pdf (accessed on 21 April 2018).
- Real Yagu Zone. Available online: http://www.realyagu.com/en/html/index.php (accessed on 11 April 2018).
- Seo, S.W.; Kim, M. A low cost high-speed infrared scanning system for flying ball detection. In Proceedings of the 2016 International Conference on Information and Communication Technology Convergence (ICTC), Jeju, Korea, 19–21 October 2016; pp. 189–191. [Google Scholar]
- Paulraj, M.P.; Yaacob, S.B.; Nazri, A.; Kumar, S. Classification of vowel sounds using MFCC and feed forward Neural Network. In Proceedings of the 2009 5th International Colloquium on Signal Processing Its Applications, Kuala Lumpur, Malaysia, 6–8 March 2009; pp. 59–62. [Google Scholar]
- International Organization for Standardization. Acoustics; Draft Addendum ISO 2204; International Organization for Standardization: Geneva, Switzerland, 1979. [Google Scholar]
- IEC-Pub. 179A, Precision Sound Level Meters Additional Characteristics for the Measurement of Impulsive Sounds. 1973. Available online: http://www.iec.ch (accessed on 21 April 2018).
- Zimmermann, B.; Studer, C. FPGA-based real-time acoustic camera prototype. In Proceedings of the 2010 IEEE International Symposium on Circuits and Systems, Paris, France, 30 May–2 June 2010. [Google Scholar]
- Johnson, D.H.; Dudgeon, D.E. Array Signal Processing Concepts and Techniques; Prentice Hall: New York, NY, USA, 1993. [Google Scholar]
- Pridham, R.G.; Mucci, R.A. A novel approach to digital beamforming. J. Acoust. Soc. Am. 1978, 63, 425–434. [Google Scholar] [CrossRef]
- Cirrus CS5381 Evaluation Board. Available online: https://www.cirrus.com/products/cs5381/ (accessed on 11 April 2018).
- Boracchi, G.; Caglioti, V.; Giusti, A. Estimation of 3D Instantaneous Motion of a Ball from a Single Motion-Blurred Image. In Computer Vision and Computer Graphics. Theory and Applications; Ranchordas, A., Araújo, H.J., Pereira, J.M., Braz, J., Eds.; Springer: Berlin/Heidelberg, Germany, 2009; pp. 225–237. [Google Scholar]
- Havránek, Z.; Beneš, P.; Klusáček, S. Free-field calibration of mems microphone array used for acoustic holography. In Proceedings of the 21st International Congress on Sound and Vibration, Beijing, China, 13–17 July 2014. [Google Scholar]
- Sports Rader, The Stalker Pro II. Available online: https://www.stalkerradar.com/sportsradar/ProII.html (accessed on 21 April 2018).









| Method | Parameter | Value |
|---|---|---|
| MFCC | Sampling Rate | 192 kHz |
| Number of samples per frame | 1024 | |
| Frame overlapping | 75% | |
| Number of filter banks | 20 | |
| Number of frames per feature sound | 20 (30.7 ms) | |
| FFNN | Activation function | |
| Number of input neurons | 400 | |
| Number of output neurons | 10 | |
| Number of hidden layers | 1 | |
| Number of hidden neurons | 500 |
© 2018 by the authors. Licensee MDPI, Basel, Switzerland. This article is an open access article distributed under the terms and conditions of the Creative Commons Attribution (CC BY) license (http://creativecommons.org/licenses/by/4.0/).
Share and Cite
Seo, S.-W.; Kim, M.; Kim, Y. Optical and Acoustic Sensor-Based 3D Ball Motion Estimation for Ball Sport Simulators †. Sensors 2018, 18, 1323. https://doi.org/10.3390/s18051323
Seo S-W, Kim M, Kim Y. Optical and Acoustic Sensor-Based 3D Ball Motion Estimation for Ball Sport Simulators †. Sensors. 2018; 18(5):1323. https://doi.org/10.3390/s18051323
Chicago/Turabian StyleSeo, Sang-Woo, Myunggyu Kim, and Yejin Kim. 2018. "Optical and Acoustic Sensor-Based 3D Ball Motion Estimation for Ball Sport Simulators †" Sensors 18, no. 5: 1323. https://doi.org/10.3390/s18051323
APA StyleSeo, S.-W., Kim, M., & Kim, Y. (2018). Optical and Acoustic Sensor-Based 3D Ball Motion Estimation for Ball Sport Simulators †. Sensors, 18(5), 1323. https://doi.org/10.3390/s18051323

