Classifying Sources Influencing Indoor Air Quality (IAQ) Using Artificial Neural Network (ANN)
Abstract
:1. Introduction
2. Related Works
3. Selection of IAQ Parameters
4. System Architecture

4.1. Sensor Module


| No | Sensor Name | Sensor Type | Manufacturer | Target Gas | Typical Detection Range |
|---|---|---|---|---|---|
| 1 | CDM 4161 | MOS | Figaro | CO2 | 400–2000 ppm |
| 2 | TGS 5342 | Electrochemical | Figaro | CO | 0–100 ppm |
| 3 | TGS 2602 | MOS | Figaro | VOCs | 0–30 ppm |
| 4 | MiCS-2610 | MOS | SGX Sensortech Limited | O3 | 0.01–1 ppm |
| 5 | MiCS-2710 | MOS | SGX Sensortech Limited | NO2 | 0.01–5 ppm |
| 6 | KE-25 | Electrochemical | Figaro | O2 | 0%–100% |
| 7 | HSM20G | Thermal | GeeTech | Humidity | 20%–95% RH |
| Thermal | Temperature | 0–50 °C | |||
| 8 | GP2Y1010AU0F | Optical | SHARP | PM10 | 0–0.5 mg/m3 |
4.2. Base Station

4.3. Service-Oriented Client

5. Development of IAQ Index (IAQI)
| Index Value | Status | |
|---|---|---|
| IAQI | TCI | |
| 76–100 | GOOD | MOST COMFORT |
| 51–75 | MODERATE | COMFORT |
| 26–50 | UNHEALTHY | NOT COMFORT |
| 0–25 | HAZARDOUS | LEAST COMFORT |
6. Methodology
6.1. Calibration and Validation



| Parameter | Node 1 | Node 2 | Node 3 | Aeroqual | ||||
|---|---|---|---|---|---|---|---|---|
| Mean | Sd | Mean | Sd | Mean | Sd | Mean | Sd | |
| NO2 (ppb) | 35.9 | 2.0 | 34.9 | 1.7 | 34.6 | 1.7 | 35.5 | 2.2 |
| Temperature (°C) | 25.6 | 0.3 | 26.5 | 0.1 | 25.7 | 0.1 | 25.7 | 0.1 |
| Humidity (%) | 39.7 | 0.8 | 39.6 | 0.6 | 39.3 | 0.6 | 40.2 | 0.1 |
6.2. Experimental Setup and Data Collection

7. Result and Discussion
7.1. Sensor Response


7.2. Principal Component Analysis (PCA)

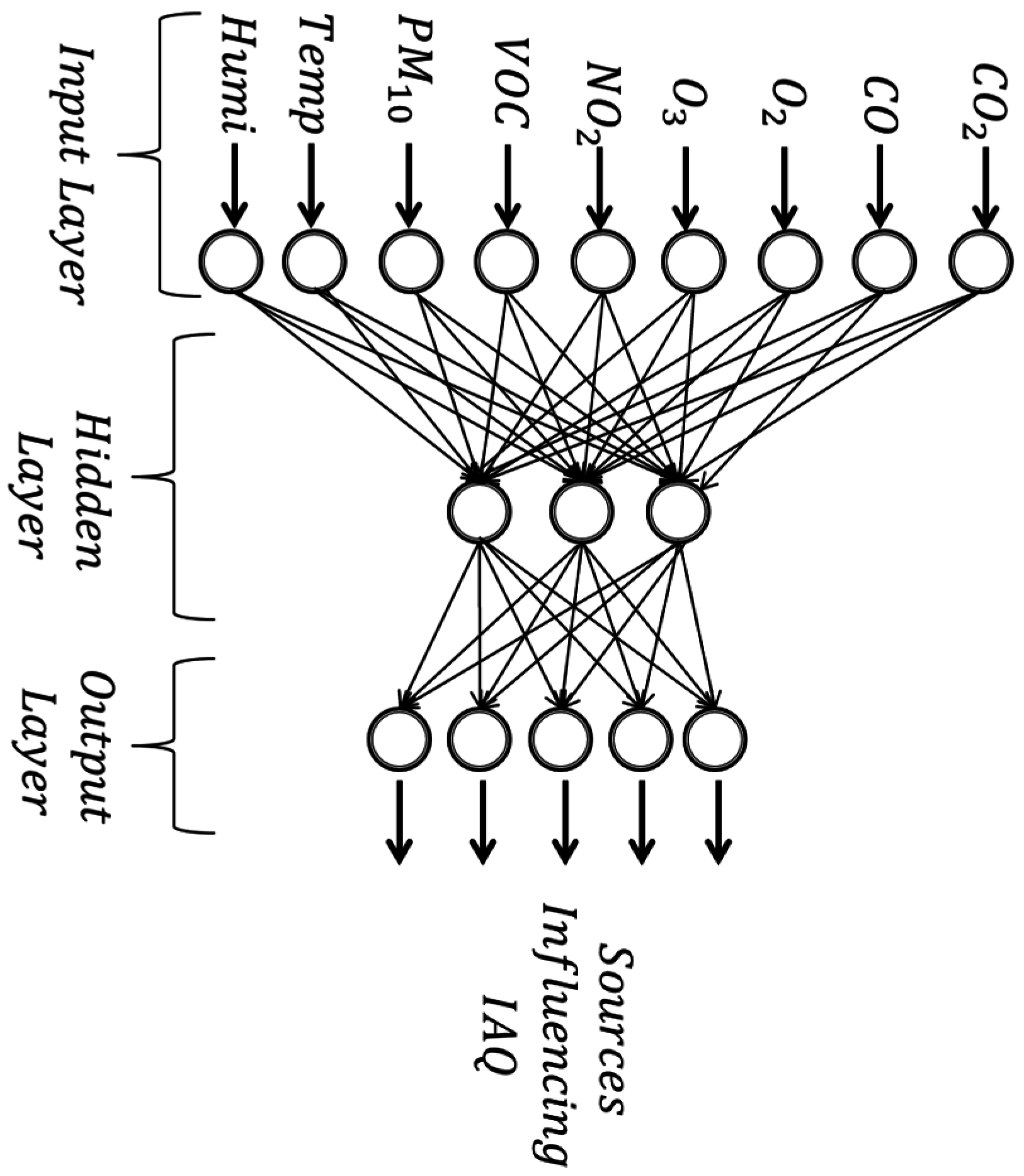
7.3. ANN Analysis

| Training Parameter | Value |
|---|---|
Sample
| 4760 |
| Input | 9 |
| Hidden neurons | Flexible |
| Output neurons | 5 |
| Performance | MSE |
| Goal | 0.0001 |
| Learning rate | 0.01 |
| Momentum constant | 0.5 |
| Model Number | Model Structure | Mean Classification Accuracy | ||
|---|---|---|---|---|
| Minimum Classification (%) | Maximum Classification (%) | Mean Classification (%) | ||
| 1 | 9-3-5 | 29.4 | 55.0 | 45.0 |
| 2 | 9-6-5 | 52.6 | 65.6 | 57.7 |
| 3 | 9-9-5 | 70.0 | 81.0 | 75.3 |
| 4 | 9-12-5 | 76.0 | 97.0 | 89.5 |
| 5 | 9-15-5 | 98.8 | 100.0 | 99.1 |
| Actual | Predicted | ||||||
| Sources of IAQ Pollutant | Ambient | Human Activity | Chemical | Fragrance | Food & Beverage | Accuracy (%) | |
| Ambient | 189 | 1 | 0 | 0 | 0 | 99.47 | |
| Human Activity | 6 | 184 | 0 | 0 | 0 | 96.84 | |
| Chemical | 0 | 0 | 191 | 0 | 0 | 100.00 | |
| Fragrance | 0 | 0 | 0 | 191 | 0 | 100.00 | |
| Food & Beverages | 0 | 0 | 0 | 0 | 190 | 100.00 | |
8. Conclusions
Acknowledgments
Author Contributions
Conflicts of Interest
References
- EPA Buildings and Their Impact on the Environment: A Statistical Summary. Available online: http://www.epa.gov/greenbuilding/pubs/gbstatpdf (accessed on 26 November 2014).
- Law, A.K.Y. Development of the Indoor Air Quality Index for Commercial Buildings in Hong Kong; The Hong Kong Polytechnic University: Hong Kong, China, 2002. [Google Scholar]
- ASHRAE. Standard 62-1989, Ventilation for Acceptable Indoor Air Quality; American Society of Heating, Refrigerating and Air-Conditioning Engineers, Inc.: Atlanta, GA, USA, 1999. [Google Scholar]
- Mohave, L. Indoor air quality and health. In Proceedings of the Conference Healthy Buildings 2000, Espoo, Finland, 6–10 August 2000.
- Maroni, M.; Seifert, B.; Lindwall, T. Indoor Air Quality: A Comprehensive Reference Book; Elsevier: New York, NY, USA, 1995. [Google Scholar]
- Raub, J.A; Mathieu-Nolf, M.; Hampson, N.B.; Thom, S.R. Carbon monoxide poisoning—A public health perspective. Toxicology 2000, 145, 1–14. [Google Scholar] [CrossRef] [PubMed]
- Xie, H.X.H.; Ma, F.M.F.; Bai, Q.B.Q. Prediction of Indoor Air Quality Using Artificial Neural Networks. 2009 Fifth Int. Conf. Nat. Comput. 2009, 2, 414–418. [Google Scholar]
- Archie, L.W. Prediction of Odor Pleasantness Using Electronic Nose Technology and Artificial Neural Networks; The Pennsylvania State University: University Park, PA, USA, 2006. [Google Scholar]
- Mumyakmaz, B.; Karabacak, K. An E-Nose-based indoor air quality monitoring system: Prediction of combustible. Turkish J. Electr. Eng. Comput. Sci. 2015. [Google Scholar] [CrossRef]
- Choi, G.H.; Choi, G.S.; Jang, J.H. A framework for wireless sensor network in web-based monitoring and control of indoor air quality (IAQ) in subway stations. In Proceedings of the 2009 2nd IEEE International Conference on Computer Science and Information Technology, Beijing, China, 8–11 August 2009; pp. 378–382.
- Bhattacharya, S.; Sridevi, S.; Pitchiah, R. Indoor air quality monitoring using wireless sensor network. In Proceedings of the Sixth International Conference on Sensing Technology, Rome, Italy, 19–24 August 2012; pp. 422–427.
- Preethichandra, D.M.G. Design of a smart indoor air quality monitoring wireless sensor network for assisted living. In Proceedings of the IEEE International Instrumentation and Measurement Technology Conference, Minneapolis, MN, USA, 6–9 May 2013; pp. 1306–1310.
- Postolache, O.A; Pereira, J.M.D.; Girao, P.M.B.S. Smart sensors network for air quality monitoring applications. IEEE Trans. Instrum. Meas. 2009, 58, 3253–3262. [Google Scholar] [CrossRef]
- Al-Ali, A.R.; Zualkernan, I.; Aloul, F. A mobile GPRS-sensors array for air pollution monitoring. IEEE Sens. J. 2010, 10, 1666–1671. [Google Scholar] [CrossRef]
- Kim, J.; Chu, C.; Shin, S. ISSAQ: An integrated sensing systems for real-time indoor air quality monitoring. IEEE Sens. J. 2014, 14, 4230–4244. [Google Scholar] [CrossRef]
- Ghazali, S.; Ismail, L.H. Air quality prediction using artificial neural network. In Proceedings of the International Conference on Civil Environmental Engineering Sustainability, Johor Bahru, Malaysia, 3–5 April 2012; pp. 1–5.
- Haizum, N.; Rahman, A.; Hisyam, M.; Talib, M. Forecasting of air pollution index with artificial neural network. J. Teknol. 2013, 63, 59–64. [Google Scholar]
- Capelli, L.; Sironi, S.; Rosso, R. Del Electronic noses for environmental monitoring applications. Sensors 2014, 14, 19979–20007. [Google Scholar] [CrossRef] [PubMed]
- Nicolas, J.; Romain, A.C.; Wiertz, V.; Maternova, J.; André, P. Using the classification model of an electronic nose to assign unknown malodours to environmental sources and to monitor them continuously. Sens. Actuators B Chem. 2000, 69, 366–371. [Google Scholar] [CrossRef]
- Sironi, S.; Capelli, L.; Céntola, P.; Del Rosso, R.; Il Grande, M. Continuous monitoring of odours from a composting plant using electronic noses. Waste Manag. 2007, 27, 389–397. [Google Scholar] [CrossRef] [PubMed]
- Sohn, J.H.; Pioggia, G.; Craig, I.P.; Stuetz, R.M.; Atzeni, M.G. Identifying major contributing sources to odour annoyance using a non-specific gas sensor array. Biosyst. Eng. 2009, 102, 305–312. [Google Scholar] [CrossRef]
- Dentoni, L.; Capelli, L.; Sironi, S.; del Rosso, R.; Zanetti, S.; Torre, M. Della Development of an electronic nose for environmental odour monitoring. Sensors 2012, 12, 14363–14381. [Google Scholar] [CrossRef] [PubMed]
- Loutfi, A.; Coradeschi, S. Odor recognition for intelligent systems. IEEE Intell. Syst. 2008, 23, 41–48. [Google Scholar] [CrossRef]
- Gang, C.; Ma, W.J. Monitoring and analyse of indoor air quality at several important public spaces in HuaiNan. In Proceedings of the 5th International Conference on Bioinformatics and Biomedical Engineering, Wuhan, China, 10–12 May 2011; pp. 1–4.
- Borkar, C. Development of Wireless Sensor Network System for Indoor Air Quality Monitoring. Master’s Thesis, University of North Texas, Denton, TX, USA, 2012. [Google Scholar]
- Guo, H.; Lee, S.C.; Chan, L.Y. Indoor air quality in ice skating rinks in Hong Kong. Environ. Res. 2004, 94, 327–335. [Google Scholar] [CrossRef] [PubMed]
- Sekhar, S.C.; Ching, C.S. Indoor air quality and thermal comfort studies of an under-floor air-conditioning system in the tropics. Energy Build. 2002, 34, 431–444. [Google Scholar] [CrossRef]
- STC12C5A60S2 series MCU. Available online: http://www.stcmcu.com/datasheet/stc/stc-ad-pdf/stc12c5a60s2-english.pdf (accessed on 24 April 2015).
- MEMSIC Cooperation. IRIS Sensor Node Module. Available online: http://www.memsic.com/userfiles/files/datasheets/wsn/iris_datasheet.pdf (accessed on 24 April 2015).
- De Vito, S.; Fattoruso, G.; Liguoro, R.; Oliviero, A.; Massera, E.; Sansone, C.; Casola, V.; di Francia, G. Cooperative 3D air quality assessment with wireless chemical sensing networks. Procedia Eng. 2011, 25, 84–87. [Google Scholar] [CrossRef]
- Martin, Y.G.; Concepci, M.; Oliveros, C.; Luis, P.; Cordero, B.M. Electronic nose based on metal oxide semiconductor sensors and pattern recognition techniques: Characterisation of vegetable oils. Anal. Chim. Acta 2001, 449, 69–80. [Google Scholar] [CrossRef]
- TGS 2602. Available online: http://biakom.com/pdf/TGS2602.pdf (accessed on 24 April 2015).
- Figaro. Technical Information for Air Quality Control Sensors. Available online: http://www.figarosensor.com/products/2602Dtl.pdf (accessed on 24 April 2015).
- Budde, M.; Busse, M.; Beigl, M. Investigating the use of commodity dust sensors for the embedded measurement of particulate matter. In Proceedings of the 2012 Ninth International Conference on Networked Sensing Systems (INSS), Antwerp, Belgium, 11–14 June 2012; pp. 1–4.
- SN-HMD Humidity Sensor User’s Manual. https://www.yumpu.com/en/document/view/24407013/sn-hmd-humidity-sensor-users-manual-electro-tech-online (accessed on 24 April 2015).
- Aeroqual. Series-200–300–500-Portable-Monitor-User-Guide-11–14. Available online: http://www.aeroqual.com/wp-content/uploads/Series-200-300-500-Portable-Monitor-User-Guide-11-14.pdf (accessed on 24 April 2015).
- DOSH. Industry Code of Practice on Indoor Air Quality; Department of Occupational Safety and Health (DOSH): Kuala Lumpur, Malaysia, 2010.
- Jolliffe, I.T. Principal Component Analysis, 2nd ed.; Springer-Verlag: New York, NY, USA, 2006. [Google Scholar]
© 2015 by the authors; licensee MDPI, Basel, Switzerland. This article is an open access article distributed under the terms and conditions of the Creative Commons Attribution license (http://creativecommons.org/licenses/by/4.0/).
Share and Cite
Saad, S.M.; Andrew, A.M.; Shakaff, A.Y.M.; Saad, A.R.M.; Kamarudin, A.M.Y.@.; Zakaria, A. Classifying Sources Influencing Indoor Air Quality (IAQ) Using Artificial Neural Network (ANN). Sensors 2015, 15, 11665-11684. https://doi.org/10.3390/s150511665
Saad SM, Andrew AM, Shakaff AYM, Saad ARM, Kamarudin AMY@, Zakaria A. Classifying Sources Influencing Indoor Air Quality (IAQ) Using Artificial Neural Network (ANN). Sensors. 2015; 15(5):11665-11684. https://doi.org/10.3390/s150511665
Chicago/Turabian StyleSaad, Shaharil Mad, Allan Melvin Andrew, Ali Yeon Md Shakaff, Abdul Rahman Mohd Saad, Azman Muhamad Yusof @ Kamarudin, and Ammar Zakaria. 2015. "Classifying Sources Influencing Indoor Air Quality (IAQ) Using Artificial Neural Network (ANN)" Sensors 15, no. 5: 11665-11684. https://doi.org/10.3390/s150511665
APA StyleSaad, S. M., Andrew, A. M., Shakaff, A. Y. M., Saad, A. R. M., Kamarudin, A. M. Y. @., & Zakaria, A. (2015). Classifying Sources Influencing Indoor Air Quality (IAQ) Using Artificial Neural Network (ANN). Sensors, 15(5), 11665-11684. https://doi.org/10.3390/s150511665

