Experimental Testing of an Approach to Establishing Combined Toxicity of Ternary Nanoparticle Mixtures
Abstract
:1. Introduction
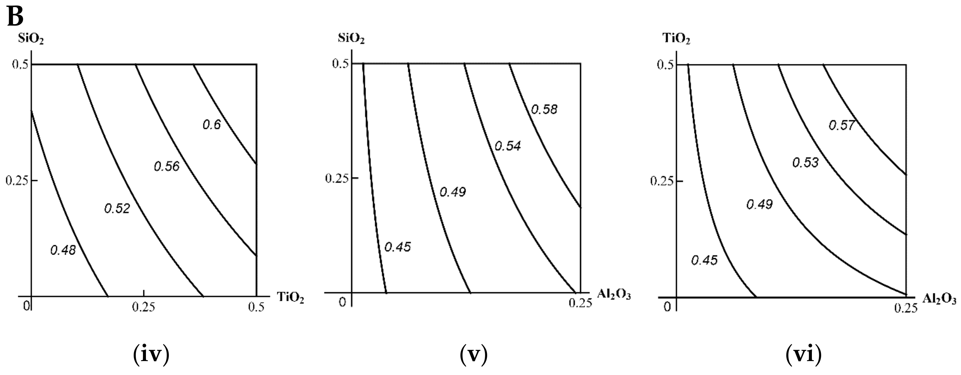
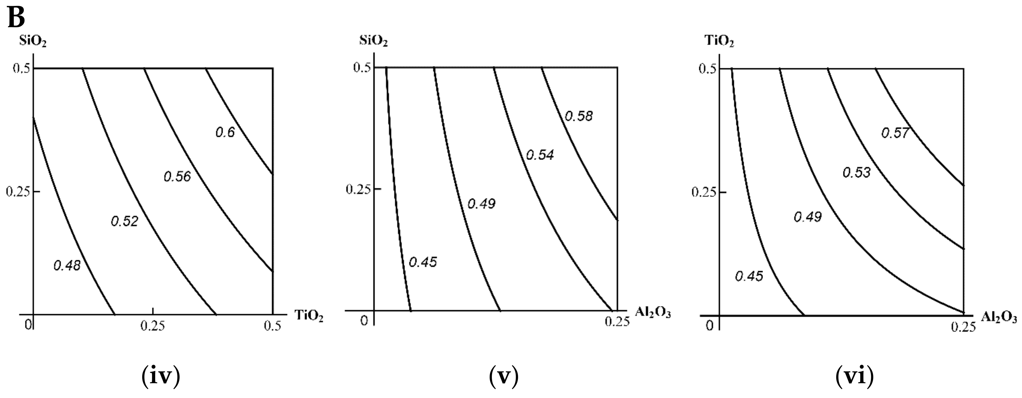
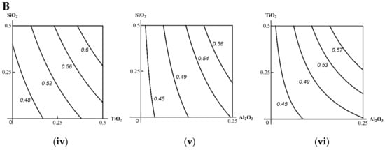
2. Results and Discussion
3. Materials and Methods
3.1. Nanoparticles
3.2. Animal and Intoxication Model
3.3. Postexposure Indices of the Rat Organism
3.4. Mathematical Description of Combined Toxicity
- No statistically significant effect of both toxicants taken together or separately was observed initially in the absence of the third agent but an adverse effect was revealed following the addition of the latter;
- The initial situation was characterized by antagonism under a unidirectional effect of the toxicants while the final state was characterized by homogeneous additivity and even synergism (in at least one range of doses and/or levels of response);
- The initial situation was characterized by homogeneous additivity under a unidirectional effect of the agents while the endpoint was characterized by synergism (in at least one range of doses and/or levels of response).
- From any type to the type of no effect of each of the toxicants along and in combination;
- From synergism (detected in at least one range of doses and/or levels of response) to uniform additivity and, even more so, to antagonism in at least one range of doses and/or levels of response under the unidirectional effect of the toxicants;
- From uniform additivity to subadditivity of a unidirectional effect or counter-directional effect in at least one range of doses and/or response levels.
4. Conclusions
Author Contributions
Funding
Institutional Review Board Statement
Informed Consent Statement
Data Availability Statement
Conflicts of Interest
References
- Katsnelson, B.A.; Panov, V.G.; Minigaliyeva, I.A.; Varaksin, A.N.; Privalova, L.I.; Slyshkina, T.V.; Grebenkina, S.V. Further development of the theory and mathematical description of combined toxicity: An approach to classifying types of action of three-factorial combinations (a case study of manganese-chromium-nickel subchronic intoxication). Toxicology 2015, 334, 33–44. [Google Scholar] [CrossRef] [PubMed]
- Varaksin, A.N.; Katsnelson, B.A.; Panov, V.G.; Privalova, L.I.; Kireyeva, E.P.; Valamina, I.E.; Beresneva, O.Y. Some considerations concerning the theory of combined toxicity: A case study of subchronic experimental intoxication with cadmium and lead. Food Chem. Toxicol. 2014, 64, 144–156. [Google Scholar] [CrossRef] [PubMed]
- Panov, V.G.; Katsnelson, B.A.; Varaksin, A.N.; Privalova, L.I.; Kireyeva, E.P.; Sutunkova, M.P.; Valamina, I.E.; Beresneva, O.Y. Further development of mathematical description for combined toxicity: A case study of lead–fluoride combination. Toxicol. Rep. 2015, 2, 297–307. [Google Scholar] [CrossRef] [PubMed] [Green Version]
- Shakeel, M.; Jabeen, F.; Shabbir, S.; Asghar, M.S.; Khan, M.S.; Chaudhry, A.S. Toxicity of nano-titanium dioxide (TiO2-NP) through various routes of exposure: A review. Biol. Trace Elem. Res. 2016, 172, 1–36. [Google Scholar] [CrossRef] [PubMed]
- Hou, J.; Wang, L.; Wang, C.; Zhang, S.; Liu, H.; Li, S.; Wang, X. Toxicity and mechanisms of action of titanium dioxide nanoparticles in living organisms. J. Environ. Sci. 2019, 75, 40–53. [Google Scholar] [CrossRef] [PubMed]
- Dar, G.I.; Saeed, M.; Wu, A. Toxicity of TiO2 nanoparticles. In TiO2 Nanoparticles: Applications in Nanobiotechnology and Nanomedicine; Wu, A., Ren, W., Eds.; Wiley-VCH Verlag GmbH & Co. KGaA: Weinheim, Germany, 2020; pp. 67–103. [Google Scholar] [CrossRef]
- Murugadoss, S.; Lison, D.; Godderis, L.; Van Den Brule, S.; Mast, J.; Brassinne, F.; Sebaihi, N.; Hoet, P.H. Toxicology of silica nanoparticles: An update. Arch. Toxicol. 2017, 91, 2967–3010. [Google Scholar] [CrossRef] [PubMed]
- Sutunkova, M.P.; Solovyeva, S.N.; Katsnelson, B.A.; Gurvich, V.B.; Privalova, L.I.; Minigalieva, I.A.; Slyshkina, T.V.; Valamina, I.E.; Makeyev, O.H.; Shur, V.Y.; et al. A paradoxical response of the rat organism to long-term inhalation of silica containing submicron (predominantly nanoscale) particles of a collected industrial aerosol at realistic exposure levels. Toxicology 2017, 384, 59–68. [Google Scholar] [CrossRef] [PubMed]
- Mohammadi, P.; Abbasinia, M.; Assari, M.J.; Oliaei, M. The toxicology of silica nanoparticles: A review. Toxicol. Environ. Chem. 2018, 100, 285–316. [Google Scholar] [CrossRef]
- Park, E.J.; Lee, G.H.; Yoon, C.; Jeong, U.; Kim, Y.; Cho, M.H.; Kim, D.W. Biodistribution and toxicity of spherical aluminum oxide nanoparticles. J. Appl. Toxicol. 2016, 36, 424–433. [Google Scholar] [CrossRef] [PubMed] [Green Version]
- Jalili, P.; Huet, S.; Lanceleur, R.; Jarry, G.; Le Hegarat, L.; Nesslany, F.; Hogeveen, K.; Fessard, V. Genotoxicity of aluminum and aluminum oxide nanomaterials in rats following oral exposure. Nanomaterials 2020, 10, 305. [Google Scholar] [CrossRef] [PubMed] [Green Version]
- Minigalieva, I.A.; Katsnelson, B.A.; Privalova, L.I.; Sutunkova, M.P.; Gurvich, V.B.; Shur, V.Y.; Shishkina, E.V.; Valamina, I.E.; Makeyev, O.H.; Panov, V.G.; et al. Combined subchronic toxicity of aluminum (III), titanium (IV) and silicon (IV) oxide nanoparticles and its alleviation with a complex of bioprotectors. Int. J. Mol. Sci. 2018, 19, 837. [Google Scholar] [CrossRef] [PubMed] [Green Version]
- Rylova, M.L. Methods of Investigating Long-Term Effects of Noxious Environmental Agents in Animal Experiments; Meditsina: Saint Petersburg, Russia, 1964. [Google Scholar]
- Adeyemi, O.O.; Yemitan, O.K.; Taiwo, A.E. Neurosedative and muscle-relaxant activities of ethyl acetate extract of Baphia nitida AFZEL. J. Ethnopharmacol. 2006, 106, 312–316. [Google Scholar] [CrossRef] [PubMed]
- Fernández, S.P.; Wasowski, C.; Loscalzo, L.M.; Granger, R.E.; Johnston, G.A.; Paladini, A.C.; Marder, M. Central nervous system depressant action of flavonoid glycosides. Eur. J. Pharmacol. 2006, 539, 168–176. [Google Scholar] [CrossRef] [PubMed]
- Ovchinnikova, T.G. Some pathochemical aspects of workers’ low-dose exposure to lead. In Proceedings of the Conference of Young Scientists Dedicated to the 50th Anniversary of the Academy of Medical Sciences, Moscow, Russia, 11–13 April 1994; pp. 113–114. [Google Scholar]
- Menshikov, V.V. Laboratory Methods of Research in a Clinic: A Handbook; Menshikov, V.V., Ed.; Meditsina: Moscow, Russia, 1987. [Google Scholar]











| Indices | Control | Al2O3 + TiO2 | Al2O3 + SiO2 | TiO2 + SiO2 | Al2O3 + SiO2 + TiO2 |
|---|---|---|---|---|---|
| Group 1 | Group 2 | Group 3 | Group 4 | ||
| Initial body weight, g | 292.27 ± 5.020 | 287.08 ± 7.20 | 290.83 ± 7.50 | 291.67 ± 7.40 | 290.00 ± 5.50 |
| Final body weight, g | 332.27 ± 7.90 | 320.00 ± 3.50 | 322.50 ± 5.20 | 324.17 ± 7.70 | 334.55 ± 8.10 |
| Weight gain, % | 15.13 ± 1.80 | 13.41 ± 2.00 | 14.70 ± 1.80 | 12.58 ± 2.00 | 15.40 ± 2.00 |
| Number of head dips into holes in 3 min | 4.73 ± 0.94 | 5.08 ± 1.02 | 3.00 ± 0.59 | 4.42 ± 0.67 | 3.27 ± 0.78 |
| Number of squares crossed in 3 min | 8.18 ± 1.25 | 7.58 ± 1.17 | 5.00 ± 0.55 * | 7.58 ± 1.19 | 6.50 ± 1.09 |
| Summation threshold index, s | 14.27 ± 1.29 | 15.35 ± 0.85 | 14.88 ± 1.08 | 13.39 ± 0.86 | 14.41 ± 0.97 |
| Left kidney weight, g/100 g body weight | 0.30 ± 0.01 | 0.30 ± 0.01 | 0.29 ± 0.01 | 0.30 ± 0.01 | 0.28 ± 0.01 |
| Right kidney weight, g/100 g body weight | 0.31 ± 0.01 | 0.30 ± 0.01 | 0.30 ± 0.01 | 0.30 ± 0.01 | 0.29 ± 0.01 |
| Liver weight, g/100 g body weight | 3.08 ± 0.13 | 3.22 ± 0.18 | 3.22 ± 0.16 | 3.19 ± 0.13 | 3.09 ± 0.16 |
| Spleen weight, g/100 g body weight | 0.17 ± 0.01 | 0.18 ± 0.01 | 0.17 ± 0.01 | 0.18 ± 0.01 | 0.18 ± 0.01 |
| Left testis weight, g/100 g body weight | 0.55 ± 0.02 | 0.55 ± 0.01 | 0.55 ± 0.01 | 0.53 ± 0.01 | 0.53 ± 0.02 |
| Right testis weight, g/100 g body weight | 0.55 ± 0.02 | 0.54 ± 0.01 | 0.55 ± 0.01 | 0.53 ± 0.01 | 0.53 ± 0.02 |
| Brain weight, g/100 g body weight | 0.62 ± 0.01 | 0.61 ± 0.01 | 0.61 ± 0.01 | 0.61 ± 0.01 | 0.59 ± 0.01 * |
| Hemoglobin, g/L | 158.89 ± 1.16 | 147.33 ± 2.8 * | 146.00 ± 1.5 1 * | 151.25 ± 2.45 * | 147.75 ± 2.28 * |
| Erythrocytes, 1012/L | 7.93 ± 0.16 | 7.61 ± 0.24 | 7.48 ± 0.11 * | 7.52 ± 0.10 * | 7.83 ± 0.17 |
| Mean corpuscular volume, μm3 | 54.69 ± 0.86 | 52.17 ± 0.67 * | 52.36 ± 0.57 * | 54.94 ± 0.344 | 51.73 ± 0.93 * |
| Reticulocytes, ‰ | 13.63 ± 1.65 | 29.90 ± 1.28 * | 25.86 ± 1.61 * | 31.67 ± 2.73 * | 15.50 ± 1.41 1,2,3 |
| Hematocrit, % | 21.54 ± 0.21 | 20.03 ± 0.69 * | 19.59 ± 0.26 * | 20.65 ± 0.28 * | 20.20 ± 0.30 * |
| Thrombocytes, 103/μL | 847.25 ± 25.41 | 831.75 ± 54.09 | 926.57 ± 7.89 | 880.50 ± 34.53 | 882.25 ± 36.87 |
| Thrombocrit, % | 0.23 ± 0.02 | 0.24 ± 0.02 | 0.27 ± 0.01 | 0.25 ± 0.01 | 0.26 ± 0.01 |
| Leucocytes, 103/μL | 7.20 ± 0.37 | 9.10 ± 1.03 | 9.40 ± 0.83 * | 7.85 ± 0.67 | 7.78 ± 0.66 |
| Eosinophils, % | 2.20 ± 0.29 | 3.13 ± 0.484 | 3.57 ± 0.87 | 2.13 ± 0.40 | 3.00 ± 0.42 |
| Segmented neutrophils, % | 19.50 ± 0.64 | 20.000.82 | 20.43 ± 1.91 | 20.50 ± 0.98 | 20.75 ± 1.05 |
| Band neutrophils, % | 1.50 ± 0.17 | 1.00 ± 0.00 * | 2.29 ± 0.29 *,1 | 1.38 ± 0.18 2 | 1.63 ± 0.26 |
| Monocytes, % | 6.20 ± 0.39 | 6.75 ± 0.49 | 6.86 ± 0.34 | 6.38 ± 0.42 | 6.25 ± 0.45 |
| Lymphocytes, % | 70.60 ± 0.95 | 69.13 ± 0.91 | 66.71 ± 2.60 | 69.63 ± 1.13 | 68.50 ± 1.24 |
| Succinate dehydrogenase (SDH) in blood lymphocytes, number of formazan granules | 589.45 ± 16.55 | 562.67 ± 15.74 | 551.55 ± 20.54 | 530.42 ± 16.03 * | 561.64 ± 15.99 |
| Gamma-glutamyltransferase (GGT), IU/L | 2.26 ± 0.69 | 2.48 ± 0.45 | 3.98 ± 0.99 | 0.74 ± 0.30 2 | 1.10 ± 0.66 2 |
| Glucose, mol/L | 7.09 ± 0.26 | 6.10 ± 0.30 * | 6.64 ± 0.18 | 7.04 ± 0.29 | 7.08 ± 0.18 1 |
| Serum ceruloplasmin, mg/% | 33.14 ± 0.13 | 44.06 ± 1.53 * | 46.22 ± 2.35 * | 42.88 ± 1.44 * | 42.61 ± 1.88 * |
| Serum malondialdehyde (MDA), μmol/L | 3.51 ± 0.49 | 3.56 ± 0.48 | 5.10 ± 0.37 * | 4.57 ± 0.19 * | 4.28 ± 0.29 |
| Serum catalase, μmol/L | 1.34 ± 0.25 | 1.31 ± 0.22 | 1.18 ± 0.24 | 0.65 ± 0.12 * | 1.10 ± 0.21 |
| Reduced glutathione in whole blood, μmol/L | 26.82 ± 1.19 | 26.20 ± 0.87 | 28.44 ± 1.47 | 26.00 ± 1.39 2 | 22.55 ± 1.41 *,1,2 |
| Plasma sulfhydryl groups, mmol/L | 37.33 ± 7.38 | 36.93 ± 6.04 | 43.21 ± 6.99 | 42.72 ± 6.90 | 40.20 ± 6.66 |
| Serum total protein, g/L | 80.47 ± 1.42 | 80.49 ± 2.01 | 78.20 ± 1.33 | 78.93 ± 2.15 | 79.91 ± 1.82 |
| Serum albumin, g/L | 44.34 ± 0.61 | 41.31 ± 1.05 * | 39.58 ± 0.67 * | 40.18 ± 1.24 * | 41.91 ± 0.88 * |
| Serum globulin, g/L | 36.13 ± 1.22 | 39.18 ± 1.54 | 38.63 ± 1.06 | 38.75 ± 1.53 | 38.00 ± 1.40 |
| Atherogenic index of plasma | 1.24 ± 0.04 | 1.06 ± 0.05 * | 1.03 ± 0.03 * | 1.05 ± 0.05 * | 1.11 ± 0.04 * |
| Serum AST level, U/L | 218.44 ± 17.65 | 264.61 ± 25.72 | 236.81 ± 17.78 | 187.39 ± 5.07 2 | 213.91 ± 17.83 |
| Serum ALT level, U/L | 70.82 ± 3.24 | 66.46 ± 4.41 | 66.50 ± 1.66 | 63.94 ± 3.32 | 66.75 ± 3.55 |
| AST/ALT ratio | 3.12 ± 0.24 | 3.76 ± 0.39 | 3.55 ± 0.23 | 3.01 ± 0.23 | 3.22 ± 0.25 |
| Alkaline phosphatase, U/L | 193.64 ± 13.08 | 222.55 ± 13.71 | 240.48 ± 21.89 * | 236.53 ± 10.62 * | 200.30 ± 12.154 |
| Serum creatinine, μmol/L | 36.33 ± 1.46 | 34.46 ± 1.71 | 34.50 ± 1.49 | 33.89 ± 1.352 | 35.39 ± 1.03 |
| Serum bilirubin, μmol/L | 1.14 ± 0.13 | 1.31 ± 0.13 | 1.09 ± 0.14 | 0.98 ± 0.14 | 1.10 ± 0.16 |
| Serum Ca2+ concentration, mol/L | 2.61 ± 0.03 | 2.56 ± 0.04 | 2.57 ± 0.03 | 2.52 ± 0.05 | 2.58 ± 0.02 |
| Serum follicle-stimulating hormone, U/L | 0.14 ± 0.02 | 0.13 ± 0.01 | 0.11 ± 0.01 | 0.11 ± 0.01 | 0.14 ± 0.01 |
| Serum luteinizing hormone, U/L | 0.13 ± 0.02 | 0.94 ± 0.58 | 0.35 ± 0.21 | 0.77 ± 0.63 | 0.12 ± 0.01 |
| Serum prolactin, U/L | 7.85 ± 0.62 | 15.71 ± 4.51 | 8.22 ± 0.82 | 14.73 ± 5.25 | 6.84 ± 0.35 |
| Serum testosterone, nmol/L | 8.20 ± 3.40 | 9.77 ± 2.10 | 8.45 ± 4.01 | 16.28 ± 4.27 | 13.34 ± 8.17 |
| Serum lactate dehydrogenase, U/L | 1904.10 ± 296.03 | 2208.25 ± 290.47 | 2119.50 ± 305.84 | 1628.50 ± 149.27 | 1709.88 ± 246.58 |
| Serum uric acid, μmol/L | 120.50 ± 10.86 | 121.00 ± 11.99 | 122.00 ± 9.19 | 115.75 ± 8.69 | 123.63 ± 9.61 |
| Serum urea, mmol/L | 4.44 ± 0.34 | 3.59 ± 0.36 | 3.71 ± 0.27 | 3.73 ± 0.37 | 3.35 ± 0.42 |
| 24-h urine volume, mL | 29.67 ± 4.36 | 33.00 ± 2.50 | 24.86 ± 2.20 | 31.71 ± 5.64 | 26.86 ± 4.14 |
| Urinary coproporphyrin, nmol/L | 162.42 ± 31.78 | 135.37 ± 62.57 | 111.83 ± 39.84 | 155.14 ± 31.38 | 76.11 ± 24.08 |
| Daily coproporphyrin, μmol | 8.14 ± 3.60 | 4.63 ± 2.23 | 5.42 ± 2.46 | 5.91 ± 2.02 | 4.34 ± 2.23 |
| Delta-ALA in urine, μg/mL | 14.11 ± 3.52 | 13.87 ± 4.37 | 9.90 ± 3.98 | 12.61 ± 2.99 | 13.48 ± 5.22 |
| Urinary creatinine, mmol/L | 1.57 ± 0.11 | 1.54 ± 0.14 | 1.92 ± 0.13 | 1.85 ± 0.17 | 2.03 ± 0.19 1 |
| Creatinine clearance | 1.40 ± 0.15 | 1.50 ± 0.23 | 1.38 ± 0.08 | 1.60 ± 0.19 | 1.49 ± 0.19 |
| Urinary total protein, g/L | 190.43 ± 9.63 | 196.13 ± 20.43 | 193.36 ± 20.67 | 211.45 ± 37.18 | 233.13 ± 30.83 |
| Urine pH | 7.17 ± 0.17 | 6.79 ± 0.15 | 7.00 ± 0.29 | 6.93 ± 0.17 | 6.93 ± 0.37 |
| Urea in urine, mmol/L | 229.30 ± 16.00 | 211.22 ± 17.474 | 262.08 ± 19.23 | 238.15 ± 24.71 | 289.74 ± 28.72 |
| Uric acid in urine, μmol/L | 234.00 ± 38.97 | 204.29 ± 78.30 | 201.86 ± 64.52 | 213.00 ± 51.37 | 216.00 ± 52.97 |
| Indices | Control | Al2O3 + TiO2 | Al2O3 + SiO2 | TiO2 + SiO2 | Al2O3 + SiO2+ TiO2 (Half Dose) | Al2O3 + SiO2+ TiO2 (Full Dose) |
|---|---|---|---|---|---|---|
| Brush border loss, % | 1.49 ± 0.56 | 6.45 ± 1.07 * | 4.23 ± 0.80 * | 3.64 ± 0.70 *# | 3.06 ± 0.84 # | 7.19 ± 1.47 * |
| Epithelial desquamation, % | 0.00 ± 0.00 | 0.97 ± 0.48 * | 0.29 ± 0.17 | 0.14 ± 0.14 | 0.66 ± 0.47 | 1.04 ± 0.39 * |
| Indices | Control | Al2O3 + TiO2 | Al2O3 + SiO2 | TiO2 + SiO2 | Al2O3 + SiO2+ TiO2 (Half Dose) | Al2O3 + SiO2+ TiO2 (Full Dose) |
|---|---|---|---|---|---|---|
| Liver | ||||||
| Prokaryotic hepatocytes per 100 liver cells | 10.30 ± 1.09 | 29.45 ±1.47 * | 41.88 ± 1.72 *# | 41.90 ± 1.48 *# | 16.92± 0.81 *# | 31.85 ± 1.74 * |
| Binuclear hepatocytes per 100 liver cells | 6.65 ± 0.83 | 5.13 ± 0.46 | 3.13 ± 0.3 7 * | 3.75 ± 0.52 * | 5.00 ± 0.33 * | 4.05 ± 0.78 * |
| Kupffer cells per 100 liver cells | 14.28 ± 0.45 | 19.58 ± 0.60 * | 18.80 ± 0.72 * | 21.05 ± 0.53 * | 20.58 ± 0.48 * | 20.08 ± 0.75 * |
| Spleen | ||||||
| Planimetric ratio of white to red pulp | 0.499 ± 0.034 | 0.624 ± 0.048 *#@ | 0.632 ± 0.040 *#@ | 0.753 ± 0.046 *#@ | 0.916 ± 0.057 | 0.950 ± 0.053 |
| Parameter | Control | Al2O3 + TiO2 | Al2O3 + SiO2 | TiO2 + SiO2 | Al2O3 + SiO2+ TiO2 (Half dose) | Al2O3 + SiO2+ TiO2 (Full Dose) |
|---|---|---|---|---|---|---|
| Fragmentation factor | 0.4023 + 0.0064 | 0.5416 + 0.0046 * | 0.4872 + 0.0041 * | 0.4391 + 0.0061 * | 0.4849 + 0.0068 * | 0.6430 + 0.0189 * |
| Elements | Percent Content |
|---|---|
| Al | 14.8 |
| As | 0.1 |
| Ca | 8.2 |
| Cl | 5.6 |
| Cr | 2.5 |
| Cu | 0.1 |
| F | 1.1 |
| Fe | 2.9 |
| K | 3.8 |
| Mg | 11.4 |
| Na | 6.7 |
| Pb | 4.0 |
| S | 3.6 |
| Si | 12.0 |
| Sn | 0.5 |
| Ti | 17.5 |
| Zn | 5.2 |
| Total | 100 |
Publisher’s Note: MDPI stays neutral with regard to jurisdictional claims in published maps and institutional affiliations. |
© 2022 by the authors. Licensee MDPI, Basel, Switzerland. This article is an open access article distributed under the terms and conditions of the Creative Commons Attribution (CC BY) license (https://creativecommons.org/licenses/by/4.0/).
Share and Cite
Minigalieva, I.A.; Panov, V.G.; Gurvich, V.B.; Privalova, L.I.; Klinova, S.V.; Katsnelson, B.A. Experimental Testing of an Approach to Establishing Combined Toxicity of Ternary Nanoparticle Mixtures. Int. J. Mol. Sci. 2022, 23, 4356. https://doi.org/10.3390/ijms23084356
Minigalieva IA, Panov VG, Gurvich VB, Privalova LI, Klinova SV, Katsnelson BA. Experimental Testing of an Approach to Establishing Combined Toxicity of Ternary Nanoparticle Mixtures. International Journal of Molecular Sciences. 2022; 23(8):4356. https://doi.org/10.3390/ijms23084356
Chicago/Turabian StyleMinigalieva, Ilzira A., Vladimir G. Panov, Vladimir B. Gurvich, Larisa I. Privalova, Svetlana V. Klinova, and Boris A. Katsnelson. 2022. "Experimental Testing of an Approach to Establishing Combined Toxicity of Ternary Nanoparticle Mixtures" International Journal of Molecular Sciences 23, no. 8: 4356. https://doi.org/10.3390/ijms23084356
APA StyleMinigalieva, I. A., Panov, V. G., Gurvich, V. B., Privalova, L. I., Klinova, S. V., & Katsnelson, B. A. (2022). Experimental Testing of an Approach to Establishing Combined Toxicity of Ternary Nanoparticle Mixtures. International Journal of Molecular Sciences, 23(8), 4356. https://doi.org/10.3390/ijms23084356

