Sign in to use this feature.

Years

Between: -

Subjects

remove_circle_outline
remove_circle_outline
remove_circle_outline
remove_circle_outline
remove_circle_outline
remove_circle_outline
remove_circle_outline
remove_circle_outline
remove_circle_outline

Journals

remove_circle_outline
remove_circle_outline
remove_circle_outline
remove_circle_outline
remove_circle_outline

Article Types

Countries / Regions

remove_circle_outline
remove_circle_outline
remove_circle_outline
remove_circle_outline
remove_circle_outline

Search Results (620)

Search Parameters:
Keywords = road network selection

Order results
Result details
Results per page
Select all
Export citation of selected articles as:
24 pages, 3660 KB  
Article
A Resilience Assessment Framework for Cross-Regional Gas Transmission Networks with Application to Case Study
by Yue Zhang and Kaixin Shen
Sustainability 2025, 17(24), 10990; https://doi.org/10.3390/su172410990 - 8 Dec 2025
Viewed by 112
Abstract
As critical national energy arteries, long-distance large-scale cross-regional gas transmission networks are characterized by high operating pressures, extensive spatial coverage, and complex topological structures. Thus, the multi-hazard profiles threatening its safety and reliability operation differ significantly from those of local urban gas distribution [...] Read more.
As critical national energy arteries, long-distance large-scale cross-regional gas transmission networks are characterized by high operating pressures, extensive spatial coverage, and complex topological structures. Thus, the multi-hazard profiles threatening its safety and reliability operation differ significantly from those of local urban gas distribution networks. This research develops a resilience assessment framework capable of quantifying resistance, adaptation, and recovery capacities of such energy systems. The framework establishes performance indicator systems based on design parameters, installation environments, and construction methods for long-distance trunk pipelines and key facilities such as storage facilities. Furthermore, based on complex network theory, the size of the largest connected component and global efficiency of the transmission network are selected as core topological metrics to characterize functional scale retention and transmission efficiency under disturbances, respectively, with corresponding quantification methods proposed. A cross-regional pipeline transmission network within a representative municipal-level administrative region in China is used as a case for empirical analysis. The quantitative assessment results of pipeline and network resilience are analyzed. The research indicates that trunk pipeline resilience is significantly affected by characteristic parameters, the laying environment, and installation methods. It is notably observed that installation methods like jacking and directional drilling, used for road or river crossings, offer greater resistance than direct burial but considerably lower restoration capacity due to the complexity of both the environment and the repair processes, which increases time and cost. Moreover, simulation-based comparison of recovery strategies demonstrates that, in this case, a repair-time-prioritized strategy more effectively enhances overall adaptive capacity and restoration efficiency than a node-degree-prioritized strategy. The findings provide quantitative analytical tools and decision-support references for resilience assessment and optimization of cross-regional energy transmission networks. Full article
Show Figures

Figure 1

17 pages, 1699 KB  
Article
CrackLite-Net: A Sustainable Transportation-Oriented Real-Time Lightweight Network for Adaptive Road Crack Detection
by Ruiyunfei Pan and Yaojun Zhang
Sustainability 2025, 17(24), 10973; https://doi.org/10.3390/su172410973 - 8 Dec 2025
Viewed by 117
Abstract
Accurate and timely detection of road surface cracks plays a crucial role in ensuring sustainable infrastructure maintenance and improving road safety, particularly under complex and dynamic environmental conditions. However, existing deep learning-based detection methods often suffer from high computational overhead, limited scalability across [...] Read more.
Accurate and timely detection of road surface cracks plays a crucial role in ensuring sustainable infrastructure maintenance and improving road safety, particularly under complex and dynamic environmental conditions. However, existing deep learning-based detection methods often suffer from high computational overhead, limited scalability across diverse crack patterns, and insufficient robustness against complex background interference, hindering real-world deployment in resource-constrained UAV platforms. To address these challenges, this study proposes CrackLite-Net, an improved and lightweight variant of the YOLO12n architecture tailored for adaptive UAV-based road crack detection. First, a novel GhostPercepC2f backbone module is introduced, combining ghost feature generation with axis-aware attention to enhance spatial perception of crack structures while significantly reducing redundant computations and model parameters. Second, a Spatial Attention-Enhanced Feature Pyramid Network (SAFPN) is developed to perform adaptive multi-scale feature integration. By incorporating spatial attention and energy-guided filtering, SAFPN strengthens the representation of cracks with varying widths, orientations, and shapes. Third, the Selective Channel-Enhanced Cross-Stage Fusion module (SC2f) consolidates channel-wise feature dependencies using an adaptive lightweight convolution mechanism, effectively suppressing noise and improving feature discrimination in visually cluttered road scenes. Experimental evaluations on the newly constructed LCrack dataset demonstrate that CrackLite-Net achieves a mAP of 92.3% with only 2.2 M parameters, outperforming YOLO12 by 3.9% while delivering superior efficiency. Cross-dataset validation on RDD2022 further confirms the model’s strong generalization capability across different environments and imaging conditions. Overall, the results highlight CrackLite-Net as an effective, energy-efficient, and deployable solution for sustainable road infrastructure inspection using UAV platforms. Full article
Show Figures

Figure 1

31 pages, 15453 KB  
Article
Interpolative Estimates of Electric Vehicle Recharging Point Locations in the Context of Electromobility
by Dariusz Kloskowski, Norbert Chamier-Gliszczynski, Jakub Murawski and Mariusz Wasiak
Energies 2025, 18(23), 6281; https://doi.org/10.3390/en18236281 - 29 Nov 2025
Viewed by 150
Abstract
Electromobility is a key element of efforts to reduce transport emissions at points where transport tasks are carried out (e.g., along roads, in urban areas). At the same time, the implementation of electromobility, as a whole, encompasses the movement of people and cargo [...] Read more.
Electromobility is a key element of efforts to reduce transport emissions at points where transport tasks are carried out (e.g., along roads, in urban areas). At the same time, the implementation of electromobility, as a whole, encompasses the movement of people and cargo using electric vehicles (EVs), is strongly dependent on the deployment of EV charging points, which are part of the alternative fuel infrastructure. At the current stage of electromobility development, the process of deploying alternative fuel infrastructure along the TEN-T (Trans-European transport network) is underway, a process mandated by the AFIR (Regulation for the Deployment of Alternative Fuels Infrastructure). The AFIR regulation assumes the construction of infrastructure adapted to serve low- and zero-emission vehicles along the TEN-T network. The elements of the infrastructure under construction include a recharging pool, a recharging station, a recharging point for electric vehicles (EVs), and hydrogen refueling stations for fuel cell electric vehicles (FCEVs). It should be noted that infrastructure elements must be adapted to support light-duty electric vehicles (eLDVs) and heavy-duty electric vehicles (eHDVs). This approach expands the possibilities of using electric vehicles in passenger and freight transport within the TEN-T network. The aim of this article is to estimate the impact of electric vehicle charging points on electromobility in a selected area. During the research phase, spatial interpolation of electric vehicle charging points was conducted using GIS tools. The spatial interpolation of electric vehicle charging points presented in the article represents an innovative approach at the stage of analysis and development of alternative fuel infrastructure along the TEN-T network. Full article
Show Figures

Figure 1

16 pages, 500 KB  
Article
Integrating Probabilistic Pavement Repair Effects for Network-Level Repair Optimization
by Bekele Meseret Abera, Asnake Adraro Angelo, Felix Obonguta, Kotaro Sasai and Kyoyuki Kaito
Sustainability 2025, 17(23), 10464; https://doi.org/10.3390/su172310464 - 21 Nov 2025
Viewed by 300
Abstract
Effective pavement repair planning is vital for sustaining performance and minimizing lifecycle costs. At the network level, most agencies still rely on deterministic repair-effect assumptions, where repair outcomes are defined by fixed restoration values derived from experience or experimental averages. However, such assumptions [...] Read more.
Effective pavement repair planning is vital for sustaining performance and minimizing lifecycle costs. At the network level, most agencies still rely on deterministic repair-effect assumptions, where repair outcomes are defined by fixed restoration values derived from experience or experimental averages. However, such assumptions often deviate from actual field performance, leading to overestimated repair efficiency and suboptimal investment decisions. This study develops a framework that integrates stochastic repair effects estimated from historical repair data using a probabilistic model for estimating repair effects. The effects of different repairs are represented as probability distributions derived from the latent-variable projection of stochastic deterioration hazard functions, which define the repair transition probabilities. These stochastic transitions are embedded within a Markov Decision Process to optimize the selection of repair types according to condition state, repair effect, cost, and serviceability thresholds, all within a constrained budget. The framework’s application to Addis Ababa’s 150 km urban road network resulted in a five-year optimal strategy that prioritized cost-effective treatments, such as patching, leading to an improvement in network serviceability from 65.7% to 81.2% at a total cost of USD 11.12 million. A comparative analysis of the deterministic restoration approach, commonly used by the agency, overestimated network-level performance by approximately 19%, as it ignored the variability of recovery captured by the stochastic model. Hence, the proposed stochastic framework enables agencies to achieve realistic, data-driven, and sustainable repair optimization, avoiding overestimation of repair benefits while maintaining serviceability within budget constraints. Full article
Show Figures

Figure 1

22 pages, 408 KB  
Article
Many-Objective Edge Computing Server Deployment Optimization for Vehicle Road Cooperation
by Shanshan Fan and Bin Cao
Appl. Sci. 2025, 15(22), 12240; https://doi.org/10.3390/app152212240 - 18 Nov 2025
Viewed by 273
Abstract
In the Internet of Vehicles (IoV), vehicles need to process a large amount of perception data to support tasks such as road navigation and autonomous driving. However, their computational resources are limited. Therefore, it is necessary to explore the combination of vehicle–road cooperation [...] Read more.
In the Internet of Vehicles (IoV), vehicles need to process a large amount of perception data to support tasks such as road navigation and autonomous driving. However, their computational resources are limited. Therefore, it is necessary to explore the combination of vehicle–road cooperation with edge computing. Roadside units (RSUs) can provide data access services for vehicles, and deploying edge servers on RSUs can improve the data processing capability in IoV environments and ensure the sustainability of vehicle communications, thus supporting complex traffic scenarios more effectively. In this work, we study the deployment of RSUs in vehicle–road cooperative systems. To balance the deployment cost of RSUs and the quality of service (QoS) of vehicle users, we propose an RSU deployment optimization model with six objectives, including time delay, energy consumption and security when vehicles offload their tasks to RSUs, as well as load balancing and the number and communication coverage area of RSUs. In addition, we propose a Wasserstein generative adversarial network (WGAN)-based Two_Arch2 (WGTwo_Arch2) to solve this many-objective optimization problem to better ensure the diversity and convergence of the solutions. In addition, a polynomial variation strategy based on Lecy’s flight mechanism and a diversity archive selection strategy with an adaptive Lp-norm are also proposed to balance the exploratory and exploitative capabilities of the algorithm. The effectiveness of the proposed algorithm WGTwo_Arch2 for 6-objective RSU deployment optimization is verified by comparisons with five different algorithms. Full article
Show Figures

Figure 1

41 pages, 8041 KB  
Article
Modeling Pedestrian Accessibility: Research on Public Space of Industrial Heritage Renovated Districts
by Xin Xu, Enxuan Ding, Kanhua Yu, Jinting Yu, Wei Liu and Liming Bo
Buildings 2025, 15(22), 4142; https://doi.org/10.3390/buildings15224142 - 17 Nov 2025
Viewed by 293
Abstract
Pedestrian accessibility of public space is a crucial basis for ensuring public equality in sharing resources and enhancing spatial vitality and utilization efficiency. This research applied complex network theory to examine pedestrian accessibility in industrial heritage renovated public spaces, integrating the node efficiency [...] Read more.
Pedestrian accessibility of public space is a crucial basis for ensuring public equality in sharing resources and enhancing spatial vitality and utilization efficiency. This research applied complex network theory to examine pedestrian accessibility in industrial heritage renovated public spaces, integrating the node efficiency model with an improved gravity model to propose the node accessibility model. By taking Xi’an Banpo International Art District as a case study, 13 public spaces were selected and categorized into categories to identify the current characteristics and key deficiencies. The results showed that public space pedestrian accessibility shows a positive correlation with the quality of the spaces, though individual nodes may deviate due to network effects. Correlation analyses indicated that an appropriate road setting in public spaces contributed to positive pedestrian accessibility of the whole district; however, poor spatial environment and lack of arts and cultural atmosphere were key reasons for low pedestrian accessibility. In response, four strategies for improving the pedestrian accessibility of public spaces in industrial heritage renovated districts were proposed, which included industrialization of public transport space, peripheral space integration, entrance space transition, and internal space enhancement. This study provides scientific methodology and theoretical guidance for the optimization of public space in industrial heritage renovated projects and contributes new insights into industrial heritage preservation and urban space renewal. Full article
(This article belongs to the Section Architectural Design, Urban Science, and Real Estate)
Show Figures

Figure 1

30 pages, 10234 KB  
Article
GIS-Based Site Selection for Agricultural Water Reservoirs: A Case Study of São Brás de Alportel, Portugal
by Olga Dziuba, Cláudia Custódio, Carlos Otero Silva, Fernando Miguel Granja-Martins, Rui Lança and Helena Maria Fernandez
Sustainability 2025, 17(22), 10276; https://doi.org/10.3390/su172210276 - 17 Nov 2025
Viewed by 401
Abstract
In the São Brás de Alportel municipality, water scarcity poses a significant constraint on agricultural activities. This study utilises Remote Sensing (RS) and Geographical Information Systems (GISs) to identify existing irrigated areas, delineate catchment basins, and select the most suitable sites for the [...] Read more.
In the São Brás de Alportel municipality, water scarcity poses a significant constraint on agricultural activities. This study utilises Remote Sensing (RS) and Geographical Information Systems (GISs) to identify existing irrigated areas, delineate catchment basins, and select the most suitable sites for the installation of new surface water reservoirs. First, the principal territorial components were characterised, including physical elements (climate, geology, soils, and hydrography) and anthropogenic infrastructure (road network and high-voltage power lines). Summer Sentinel-2 satellite imagery was then analysed to calculate the Normalised Difference Vegetation Index (NDVI), enabling the identification and classification of irrigated agricultural parcels. Flow directions and accumulations derived from Digital Elevation Models (DEMs) facilitated the characterisation of 38 micro-catchments and the extraction of 758 km of the drainage network. The siting criteria required a minimum setback of 100 m from roads and high-voltage lines, excluded farmland currently in use, and favoured mountainous areas with low permeability. Only 18.65% (2854 ha) of the municipality is agricultural land, of which just 4% (112 ha) currently benefits from irrigation. The NDVI-based classification achieved a Kappa coefficient of 0.88, indicating high reliability. Three sites demonstrated adequate storage capacity, with embankments measuring 8 m, 10 m, and 12 m in height. At one of these sites, two reservoirs arranged in a cascade were selected as an alternative to a single structure exceeding 12 m in height, thereby reducing environmental and landscape impact. The reservoirs fill between October and November in an average rainfall year and between October and January in a dry year, maintaining a positive annual water balance and allowing downstream plots to be irrigated by gravity. The methodology proved to be objective, replicable, and essential for the sustainable expansion of irrigation within the municipality. Full article
(This article belongs to the Section Sustainable Water Management)
Show Figures

Figure 1

33 pages, 6577 KB  
Article
Percolation–Stochastic Model for Traffic Management in Transport Networks
by Anton Aleshkin, Dmitry Zhukov and Vadim Zhmud
Informatics 2025, 12(4), 122; https://doi.org/10.3390/informatics12040122 - 6 Nov 2025
Viewed by 775
Abstract
This article describes a model for optimizing traffic flow control and generating traffic signal phases based on the stochastic dynamics of traffic and the percolation properties of transport networks. As input data (in SUMO), we use lane-level vehicle flow rates, treating them as [...] Read more.
This article describes a model for optimizing traffic flow control and generating traffic signal phases based on the stochastic dynamics of traffic and the percolation properties of transport networks. As input data (in SUMO), we use lane-level vehicle flow rates, treating them as random processes with unknown distributions. It is shown that the percolation threshold of the transport network can serve as a reliability criterion in a stochastic model of lane blockage and can be used to determine the control interval. To calculate the durations of permissive control signals and their sequence for different directions, vehicle queues are considered and the time required for them to reach the network’s percolation threshold is estimated. Subsequently, the lane with the largest queue (i.e., the shortest time to reach blockage) is selected, and a phase is formed for its signal control, as well as for other lanes that can be opened simultaneously. Simulation results show that when dynamic traffic signal control is used and a percolation-dynamic model for balancing road traffic is applied, lane occupancy indicators such as “congestion” decrease by 19–51% compared to a model with statically specified traffic signal phase cycles. The characteristics of flow dynamics obtained in the simulation make it possible to construct an overall control quality function and to assess, from the standpoint of traffic network management organization, an acceptable density of traffic signals and unsignalized intersections. Full article
Show Figures

Figure 1

19 pages, 5015 KB  
Article
An ANN–Driven Excavatability Chart Integrating GSI and Rock Mass Strength
by Gulseren Dagdelenler
Appl. Sci. 2025, 15(21), 11821; https://doi.org/10.3390/app152111821 - 6 Nov 2025
Viewed by 427
Abstract
Excavation is a common requirement in engineering construction within rock masses. While excavation volumes are generally limited in road slope projects, they may become substantial in large-scale operations such as deep open pit mines. The interaction between time and cost in excavation processes [...] Read more.
Excavation is a common requirement in engineering construction within rock masses. While excavation volumes are generally limited in road slope projects, they may become substantial in large-scale operations such as deep open pit mines. The interaction between time and cost in excavation processes is strongly controlled by rock mass excavatability, which has been recognized as a key factor in project budgets. Since the 1970s, excavatability assessment has therefore attracted considerable research interest in rock mechanics. In this study, the excavatability cases previously plotted on the Geological Strength Index (GSI) versus Uniaxial Compressive Strength of the Rock Mass (σc_rm) diagram in the literature were improved by employing an Artificial Neural Network (ANN). The ANN approach was used to investigate the boundaries between digger, ripper, and hammer+blasting excavation classes within the available case zones defined by GSI–σc_rm data pairs. The prediction performance of the developed rock mass excavatability chart is highly acceptable, with correct classification rates of 91.1% for blasting+hammer and ripper classes, and 87.2% for the ripper class. Considering GSI and σc_rm as the main input parameters, the proposed ANN-oriented excavatability chart is highly acceptable for preliminary equipment selection during the design stage of surface rock mass excavations, including slope cases. Full article
Show Figures

Figure 1

15 pages, 3077 KB  
Article
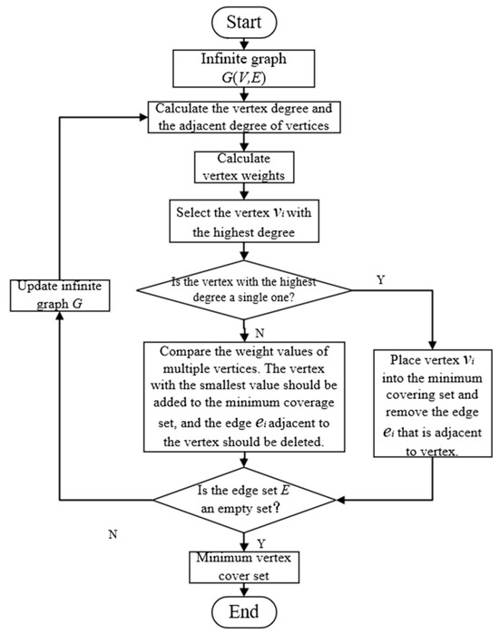
Monitoring Layout and Optimisation Method Based on Minimum Weighted Vertices of Roads
by Li Wang, Yanlong Zhang, Tingwei Feng and Xiaoran Qi
Appl. Sci. 2025, 15(21), 11622; https://doi.org/10.3390/app152111622 - 30 Oct 2025
Viewed by 293
Abstract
By analyzing the coverage model of cameras, a surveillance camera network model based on road vertex coverage is proposed, and an optimized deployment method for cameras based on the Minimum Weighted Vertex Cover (MWVC) model is given. The greedy algorithm is used to [...] Read more.
By analyzing the coverage model of cameras, a surveillance camera network model based on road vertex coverage is proposed, and an optimized deployment method for cameras based on the Minimum Weighted Vertex Cover (MWVC) model is given. The greedy algorithm is used to solve the MWVC problem, where vertex weights are defined based on adjacency degree to guide the selection process. The results from large-scale simulation experiments (10,000 runs) show that compared to the traditional Minimum Vertex Cover (MVC) model, this method reduces the number of monitoring points by approximately 15 on average (a relative reduction of about 2%). In a practical case study of a township in Wuwei City, Gansu Province, this method optimized the number of required monitoring poles from 62 to 33 (a 46.8% reduction) and the number of cameras from 196 to 98 (a 50% reduction), while ensuring 100% road coverage. This research provides a practical theoretical basis and decision-making support for the low-cost, high-efficiency layout of surveillance equipment in smart city infrastructure. Full article
Show Figures

Figure 1

24 pages, 5862 KB  
Article
GIS-Integrated Data Analytics for Optimal Location-and-Routing Problems: The GD-ARISE Pipeline
by Jun-Jae Won, Jong-Seung Lee and Hyung-Tae Ha
Mathematics 2025, 13(21), 3465; https://doi.org/10.3390/math13213465 - 30 Oct 2025
Viewed by 439
Abstract
Optimizing the siting and servicing of urban facilities is a core operations research problem that must reconcile heterogeneous demand, spatial constraints, and network-realistic travel. We present GD-ARISE, a GIS-integrated and data analytics pipeline that maintains a pedestrian–road network metric from demand inference through [...] Read more.
Optimizing the siting and servicing of urban facilities is a core operations research problem that must reconcile heterogeneous demand, spatial constraints, and network-realistic travel. We present GD-ARISE, a GIS-integrated and data analytics pipeline that maintains a pedestrian–road network metric from demand inference through siting to routing. The workflow has three modules: (i) GIS integration that unifies spatial layers on one network and distance metric; (ii) data analytics that builds multi-criteria suitability via the Analytic Hierarchy Process (AHP) and maps scores to adaptive service radii; (iii) optimal location-and-routing that selects nonoverlapping sites with a transparent greedy rule (SCASS) and computes depot-to-depot routes via simulated annealing on the same metric. A case study in Seoul’s Gangnam District yields a high-coverage portfolio and feasible collection routes. We add a theoretical framework that casts SCASS as a conflict-graph problem, document the AHP elicitation with consistency checks, and report robustness analyses including sensitivity to AHP weights and to radius bounds. Results indicate that core hotspots remain stable to weighting, whereas mid-range corridors shift as criteria priorities or spatial parameters change. Full article
(This article belongs to the Special Issue Theoretical and Applied Mathematics in Supply Chain Management)
Show Figures

Figure 1

40 pages, 2325 KB  
Review
Emerging Cutting-Edge Technologies and Applications for Safer, Sustainable, and Intelligent Road Systems in Smart Cities: A Review
by Maria Luisa Tumminello, Elżbieta Macioszek and Anna Granà
Appl. Sci. 2025, 15(21), 11583; https://doi.org/10.3390/app152111583 - 29 Oct 2025
Viewed by 1067
Abstract
This review paper explores the role of artificial intelligence (AI)-driven technologies in transforming road transportation systems within smart cities. Adopting a granular approach to the selected research, it examines the extent to which these technologies contribute to creating intelligent road networks, beginning with [...] Read more.
This review paper explores the role of artificial intelligence (AI)-driven technologies in transforming road transportation systems within smart cities. Adopting a granular approach to the selected research, it examines the extent to which these technologies contribute to creating intelligent road networks, beginning with their integration into the conceptualization and design of road space. Through a comprehensive review of recently published indexed articles, the study addresses key questions regarding AI’s contribution to smart road systems and their ability to adapt during the transition toward sustainable, technology-enabled urban environments. Additionally, it investigates the boundaries between relevant disciplines, areas of overlap and integration, and the benefits of interdisciplinary dialogue in developing effective AI-driven approaches for the design, implementation, and management of smart urban road systems. The findings aim to guide future research, policymaking, and practical applications, ultimately enhancing urban mobility, quality of life, and user experience within smart city contexts. The scope of this research encompasses a wide range of stakeholders involved in transportation and related fields, fostering a multidisciplinary perspective on sustainable urban mobility. Full article
Show Figures

Figure 1

37 pages, 6550 KB  
Article
Defining the Optimal Characteristics of Autonomous Vehicles for Public Passenger Transport in European Cities with Constrained Urban Spaces
by Csaba Antonya, Radu Tarulescu, Stelian Tarulescu and Silviu Butnariu
Vehicles 2025, 7(4), 125; https://doi.org/10.3390/vehicles7040125 - 29 Oct 2025
Viewed by 636
Abstract
This research addresses the complex challenge of integrating modern public transport into historic medieval city centers. These unique urban environments are characterized by narrow streets, protected heritage status, and topographical constraints, which are incompatible with conventional transit vehicles. The introduction of standard bus [...] Read more.
This research addresses the complex challenge of integrating modern public transport into historic medieval city centers. These unique urban environments are characterized by narrow streets, protected heritage status, and topographical constraints, which are incompatible with conventional transit vehicles. The introduction of standard bus routes often aggravates traffic congestion and fails to meet the specific mobility needs of residents and visitors. This paper suggests that autonomous electric buses represent a viable and sustainable solution, capable of navigating these constrained environments while aligning with modern energy efficiency goals. The central challenge lies in the optimal selection of an autonomous electric bus that can operate safely and efficiently within the tight streets of historic city centers while satisfying the travel demands of passengers. To address this, a comprehensive study was conducted, analyzing resident mobility patterns—including key routes and hourly passenger loads—and the specific geometric constraints of the road network. Based on this empirical data, a vehicle dynamics model was developed in Matlab®. This model simulates various operational scenarios by calculating the instantaneous forces (rolling resistance, aerodynamic drag, inertial forces) and the corresponding power required for different electric bus configurations to follow pre-established speed profiles. The core of this research is an optimization analysis, designed to identify the balance between minimizing total energy consumption and maximizing the quality of passenger service. The findings provide a quantitative framework and clear procedures for urban planners to select the most suitable autonomous transit system, ensuring that the chosen solution enhances mobility and accessibility without compromising the unique character of historic cities. Full article
(This article belongs to the Special Issue Intelligent Mobility and Sustainable Automotive Technologies)
Show Figures

Figure 1

23 pages, 697 KB  
Review
Equestrian Bridges and Underpasses
by Ivana Štimac Grandić
Urban Sci. 2025, 9(11), 442; https://doi.org/10.3390/urbansci9110442 - 25 Oct 2025
Viewed by 457
Abstract
Areas with well-developed networks of equestrian routes attract riders, contributing to tourism development and boosting the economy. As the most critical elements of equestrian routes are road, railway, and watercourse crossings, the construction of bridges and underpasses that meet equestrian needs is crucial. [...] Read more.
Areas with well-developed networks of equestrian routes attract riders, contributing to tourism development and boosting the economy. As the most critical elements of equestrian routes are road, railway, and watercourse crossings, the construction of bridges and underpasses that meet equestrian needs is crucial. Due to the lack of clear, standardised guidance for the design of equestrian bridges and underpasses, a systematic literature review was conducted to identify and select manuals deal with equestrian bridge and/or underpass design. The selection criterion required that the manual be currently valid, written in English, and published online with open access, ensuring easy accessibility for engineers and policymakers. This paper summarises, compares, and comments on the design parameters of equestrian bridges and underpasses listed in the analysed manuals, which must be considered to achieve optimal solutions for both horse and rider. It also provides an overview of general recommendations and best practices for specific design parameters. In the absence of a manual offering comprehensive, standardised guidelines for the design of equestrian bridges and underpasses, this paper may assist policymakers, developers, and designers in creating a trail network suitable for equestrians. Full article
Show Figures

Figure 1

24 pages, 7378 KB  
Article
Comparing Multiple Machine Learning Models to Investigate Thermal Drivers in an Arid-Oasis Urban Park and Its Surroundings Using Mobile Monitoring
by Yunyao Feng, Xuegang Chen and Siqi Xie
Appl. Sci. 2025, 15(21), 11417; https://doi.org/10.3390/app152111417 - 24 Oct 2025
Viewed by 432
Abstract
At present, the research on the microclimate of urban parks mainly focuses on the univariate or multivariate research contents of park design elements, and there are few analyses that can combine the park with the surrounding regional environment to jointly explore the cooling [...] Read more.
At present, the research on the microclimate of urban parks mainly focuses on the univariate or multivariate research contents of park design elements, and there are few analyses that can combine the park with the surrounding regional environment to jointly explore the cooling mechanism of park design elements. This study takes the People’s Park in Urumqi, a typical oasis city in an arid area, as the research object. Combined with different land use natures (park area/residential area), it analyzes the spatiotemporal variation law of temperature through mobile meteorological monitoring in different periods of summer and autumn and optimizes the buffer zone to further compare the performance of the multiple linear regression model and three machine learning models. The selection of the optimal model for collaborative analysis and comparison revealed the dominant variables and their threshold effects affecting the temperature of the park area and the residential area. The results show that: (1) In multi-scenario comparisons, a larger buffer has a better fitting effect. (2) The random forest model is the best model for temperature prediction in the study area. (3) The dominant factors of temperature in different seasons show significant differences, and only a few periods have cross-seasonal persistence. In the park area, the green coverage rate and road network density play a leading and influential role, while in the residential area, the influence of water cover ratio is more obvious. Furthermore, the influence direction of residential area indicators on temperature shows opposite trends in the morning and afternoon periods. (4) There are obvious limited-threshold effects on the influence of dominant factors on temperature in different regions. It is suggested that in the urban spatial layout, while considering the differences for different utilization Spaces, collaborative planning should be carried out. These findings offer new insights into temperature drivers and provide practical references for urban planners. Full article
(This article belongs to the Section Environmental Sciences)
Show Figures

Figure 1

Back to TopTop