Sign in to use this feature.

Years

Between: -

Subjects

remove_circle_outline
remove_circle_outline
remove_circle_outline
remove_circle_outline
remove_circle_outline
remove_circle_outline
remove_circle_outline
remove_circle_outline
remove_circle_outline

Journals

Article Types

Countries / Regions

Search Results (37)

Search Parameters:
Keywords = non-toxicity of the product and 3D process

Order results
Result details
Results per page
Select all
Export citation of selected articles as:
20 pages, 5045 KB  
Article
Sustainable Production and Antioxidant Activity of Bacterial Xanthan Gum
by Ilona Jonuškienė, Erika Davicijonaitė, Monika Vaškevičiūtė, Ihsan Kala, Rima Stankevičienė, Kristina Kantminienė and Ingrida Tumosienė
Molecules 2025, 30(13), 2734; https://doi.org/10.3390/molecules30132734 - 25 Jun 2025
Cited by 2 | Viewed by 2335
Abstract
One of the world’s most sustainable solutions is to replace fossil-based polymers with biopolymers. The production of xanthan gum can be optimized using various renewable and cost-effective raw materials, which is a key focus in industrial biotechnology. Xanthan gum is a bioengineered thickening, [...] Read more.
One of the world’s most sustainable solutions is to replace fossil-based polymers with biopolymers. The production of xanthan gum can be optimized using various renewable and cost-effective raw materials, which is a key focus in industrial biotechnology. Xanthan gum is a bioengineered thickening, stabilizing, and emulsifying agent. It has unique properties for use in many industries (food, biotechnology, petrochemicals, agricultural, cosmetics, wastewater treatment) and medical applications. It is tasteless, environmentally safe, non-toxic, and biodegradable. The biotechnological production of xanthan gum depends on several factors: bacterial strain development, culture medium preparation, carbon sources, fermentation parameters and modes, pH, temperature, recovery, purification, and quality control regulations. Bio-innovative strategies have been developed to optimize the production of xanthan gum. A variety of carbon and nitrogen sources, as well as alternative renewable sources, have been used in the production of xanthan gum. The aim of the present study was to optimize the xanthan gum yield using Xanthomonas campestris bacteria and different carbon (D-glucose, D-sorbitol, lactose, sucrose, D-mannitol, D-fructose, erythritol, coconut palm sugar, L-arabinose, unrefined cane sugar), various nitrogen (bacterial peptone, casein peptone, L-glutamic acid, L-arginine, L-methionine, L-tryptophan, malt extract, meat extract, L-phenylalanine, soy peptone) and alternative carbon (orange peels, tangerine peels, lemon peels, avocado peels, melon peels, apple peels, cellulose, xylose, xylitol) sources. The xanthan gum samples were analyzed using antioxidant methods. Our study showed that using L-glutamic acid as the carbon source for 72 h of bacterial fermentation of Xanthomonas campestris resulted in the highest xanthan gum yield: 32.34 g/L. However, using renewable resources, we achieved a very high concentration of xanthan gum in just 24 h of fermentation. According to the reducing power and DPPH methods, the highest antioxidant activities were measured for xanthan gum whose biosynthesis was based on renewable resources. Xanthan gum structures have been verified by FT-IR and 1H NMR analysis. The sustainable biotechnology study has the advantage of increasing the sustainable production of xanthan gum by using renewable alternative resources compared to other production processes. Xanthan gum continues to be a valuable biopolymer with a wide range of industrial applications while promoting environmentally friendly production practices. Full article
(This article belongs to the Special Issue Natural Products with Pharmaceutical Activities)
Show Figures

Figure 1

21 pages, 601 KB  
Article
Cladolosides of Groups S and T: Triterpene Glycosides from the Sea Cucumber Cladolabes schmeltzii with Unique Sulfation; Human Breast Cancer Cytotoxicity and QSAR
by Alexandra S. Silchenko, Elena A. Zelepuga, Ekaterina A. Chingizova, Ekaterina S. Menchinskaya, Kseniya M. Tabakmakher, Anatoly I. Kalinovsky, Sergey A. Avilov, Roman S. Popov, Pavel S. Dmitrenok and Vladimir I. Kalinin
Mar. Drugs 2025, 23(7), 265; https://doi.org/10.3390/md23070265 - 25 Jun 2025
Cited by 1 | Viewed by 1166
Abstract
Four new minor monosulfated triterpene penta- and hexaosides, cladolosides S (1), S1 (2), T (3), and T1 (4), were isolated from the Vietnamese sea cucumber Cladolabes schmeltzii (Sclerodactylidae, Dendrochirotida). The structures of the [...] Read more.
Four new minor monosulfated triterpene penta- and hexaosides, cladolosides S (1), S1 (2), T (3), and T1 (4), were isolated from the Vietnamese sea cucumber Cladolabes schmeltzii (Sclerodactylidae, Dendrochirotida). The structures of the compounds were established based on extensive analysis of 1D and 2D NMR spectra as well as HR-ESI-MS data. Cladodosides S (1), S1 (2) and T (3), T1 (4) are two pairs of dehydrogenated/hydrogenated compounds that share identical carbohydrate chains. The oligosaccharide chain of cladolosides of the group S is new for the sea cucumber glycosides due to the presence of xylose residue attached to C-4 Xyl1 in combination with a sulfate group at C-6 MeGlc4. The oligosaccharide moiety of cladolosides of the group T is unique because of the position of the sulfate group at C-3 of the terminal sugar residue instead of the 3-O-Me group. This suggests that the enzymatic processes of sulfation and O-methylation that occur during the biosynthesis of glycosides can compete with each other. This can presumably occur due to the high level of expression or activity of the enzymes that biosynthesize glycosides. The mosaicism of glycoside biosynthesis (time shifting or dropping out of some biosynthetic stages) may indicate a lack of compartmentalization inside the cells of organism producers, leading to a certain degree of randomness in enzymatic reactions; however, this also offers the advantage of providing chemical diversity of the glycosides. Analysis of the hemolytic activity of a series of 26 glycosides from C. schmeltzii revealed some patterns of structure–activity relationships: the presence or absence of 3-O-methyl groups has no significant impact, hexaosides, which are the final products of biosynthesis and predominant compounds of the glycosidic fraction of C. schmeltzii, are more active than their precursors, pentaosides, and the minor tetraosides, cladolosides of the group A, are weak membranolytics and therefore are not synthesized in large quantities. Two glycosides from C. schmeltzii, cladolosides D (18) and H1 (26), display selectivity of cytotoxic action toward triple-negative breast cancer cells MDA-MB-231, while remaining non-toxic in relation to normal mammary cells MCF-10A. Quantitative structure–activity relationships (QSAR) were calculated based on the correlational analysis of the physicochemical properties and structural features of the glycosides and their hemolytic and cytotoxic activities against healthy MCF-10A cells and cancer MCF-7 and MDA-MB-231 cell lines. QSAR highlighted the complexity of the relationships as the cumulative effect of many minor contributions from individual descriptors can have a significant impact. Furthermore, many structural elements were found to have different effects on the activity of the glycosides against different cell lines. The opposing effects were especially pronounced in relation to hormone-dependent breast cancer cells MCF-7 and triple-negative MDA-MB-231 cells. Full article
(This article belongs to the Special Issue Novel Biomaterials and Active Compounds from Sea Cucumbers)
Show Figures

Graphical abstract

64 pages, 6390 KB  
Review
Greening Fused Deposition Modeling: A Critical Review of Plant Fiber-Reinforced PLA-Based 3D-Printed Biocomposites
by Muneeb Tahir and Abdel-Fattah Seyam
Fibers 2025, 13(5), 64; https://doi.org/10.3390/fib13050064 - 14 May 2025
Cited by 9 | Viewed by 5606
Abstract
Fused deposition modeling (FDM) 3D printing (3DP) of PLA biocomposites reinforced with plant-derived cellulosic fibrous materials, including spun yarn, microcrystalline, microfibrillar, nanofibrillar cellulose, and cellulose nanocrystals, offers an environmentally sustainable solution to the mechanical limitations of polymer-only printed materials. Micron- and submicron-scale cellulosic [...] Read more.
Fused deposition modeling (FDM) 3D printing (3DP) of PLA biocomposites reinforced with plant-derived cellulosic fibrous materials, including spun yarn, microcrystalline, microfibrillar, nanofibrillar cellulose, and cellulose nanocrystals, offers an environmentally sustainable solution to the mechanical limitations of polymer-only printed materials. Micron- and submicron-scale cellulosic fibers are valued for their renewability, non-toxicity, high surface area, and favorable elastic and specific moduli; notably, micron-scale reinforcements are particularly attractive due to their ease of large-scale industrial production and commercial viability. Similarly, PLA benefits from large-scale production, contributes to CO2 sequestration through its raw material precursors, and requires less energy for production than non-biodegradable petroleum-derived polymers. Incorporating these raw materials, each of which offers attractive performance properties, complementary commercial strengths, and environmental benefits, as constituent phases in FDM 3D-printed biocomposites (FDMPBs) can further enhance the environmental responsiveness of an already low-waste FDM 3DP technology. Inspired by these compelling advantages, this paper critically reviews research on FDMPB with cellulosic reinforcements in a PLA matrix, uniquely categorizing studies based on the form of cellulosic reinforcement and its impact on the biocomposite’s structure and mechanical performance. Additionally, the review covers biocomposite filament production methods and the equipment involved, presenting an alternative framework for cataloging FDMPB research. A comprehensive literature analysis reveals that the wide variation in feedstocks, fiber–matrix compounding methods, equipment, and processing parameters used in filament production and 3DP complicates the comparison of FDMPB mechanical properties across studies, often resulting in conflicting outcomes. Key processing parameters have been compiled to bridge this gap and offer a more nuanced understanding of the cause-and-effect relationships governing biocomposite properties. Finally, targeted recommendations for future research on developing FDMPB with a PLA matrix and micron-scale cellulosic reinforcements are provided, addressing the knowledge gaps and challenges highlighted in the peer-reviewed literature. Full article
Show Figures

Figure 1

28 pages, 4148 KB  
Article
Energy Potential of Zea mays Grown in Cadmium-Contaminated Soil
by Agata Borowik, Jadwiga Wyszkowska, Magdalena Zaborowska and Jan Kucharski
Energies 2025, 18(9), 2402; https://doi.org/10.3390/en18092402 - 7 May 2025
Cited by 2 | Viewed by 902
Abstract
Cadmium is a non-essential element for proper plant growth and development and is highly toxic to humans and animals, in part because it inters with calcium-dependent processes in living organisms. For this reason, a study was conducted to assess the potential for producing [...] Read more.
Cadmium is a non-essential element for proper plant growth and development and is highly toxic to humans and animals, in part because it inters with calcium-dependent processes in living organisms. For this reason, a study was conducted to assess the potential for producing maize (Zea mays) biomass in cadmium-contaminated soil for energy purposes. The energy potential of Zea mays was evaluated by determining the heat of combustion (Q), heating value (Hv), and the amount of energy produced from the biomass. Starch, compost, fermented bark, humic acids, molecular sieve, zeolite, sepiolite, expanded clay, and calcium carbonate were assessed as substances supporting biomass production from Zea mays. The accumulation and redistribution of cadmium in the plant were also investigated. The study was conducted in a vegetation hall as part of a pot experiment. Zea mays was grown in uncontaminated soil and in soil contaminated with 15 mg Cd2+ kg−1. A strong toxic effect of cadmium on the cultivated plants was observed, causing a 62% reduction in the biomass of aerial parts and 61% in the roots. However, it did not alter the heat of combustion and heating value of the aerial part biomass, which were 18.55 and 14.98 MJ kg−1 d.m., respectively. Of the nine substances tested to support biomass production, only four (molecular sieve, compost, HumiAgra, and expanded clay) increased the yield of Zea mays grown in cadmium-contaminated soil. The molecular sieve increased aerial part biomass production by 74%, compost by 67%, expanded clay by 19%, and HumiAgra by 15%, but none of these substances completely eliminated the toxic effects of cadmium on the plant. At the same time, the bioaccumulation factor (BAF) of cadmium was higher in the roots (0.21–0.23) than in the aerial parts (0.04–0.03), with the roots showing greater bioaccumulation. Full article
Show Figures

Figure 1

15 pages, 4010 KB  
Article
Deep Learning-Based Detection of Aflatoxin B1 Contamination in Almonds Using Hyperspectral Imaging: A Focus on Optimized 3D Inception–ResNet Model
by Md. Ahasan Kabir, Ivan Lee and Sang-Heon Lee
Toxins 2025, 17(4), 156; https://doi.org/10.3390/toxins17040156 - 22 Mar 2025
Cited by 4 | Viewed by 2140
Abstract
Aflatoxin B1, a toxic carcinogen frequently contaminating almonds, nuts, and food products, poses significant health risks. Therefore, a rapid and non-destructive detection method is crucial to detect aflatoxin B1-contaminated almonds to ensure food safety. This study introduces a novel deep learning approach utilizing [...] Read more.
Aflatoxin B1, a toxic carcinogen frequently contaminating almonds, nuts, and food products, poses significant health risks. Therefore, a rapid and non-destructive detection method is crucial to detect aflatoxin B1-contaminated almonds to ensure food safety. This study introduces a novel deep learning approach utilizing 3D Inception–ResNet architecture with fine-tuning to classify aflatoxin B1-contaminated almonds using hyperspectral images. The proposed model achieved higher classification accuracy than traditional methods, such as support vector machine (SVM), random forest (RF), quadratic discriminant analysis (QDA), and decision tree (DT), for classifying aflatoxin B1 contaminated almonds. A feature selection algorithm was employed to enhance processing efficiency and reduce spectral dimensionality while maintaining high classification accuracy. Experimental results demonstrate that the proposed 3D Inception–ResNet (Lightweight) model achieves superior classification performance with a 90.81% validation accuracy, an F1-score of 0.899, and an area under the curve value of 0.964, outperforming traditional machine learning approaches. The Lightweight 3D Inception–ResNet model, with 381 layers, offers a computationally efficient alternative suitable for real-time industrial applications. These research findings highlight the potential of hyperspectral imaging combined with deep learning for aflatoxin B1 detection in almonds with higher accuracy. This approach supports the development of real-time automated screening systems for food safety, reducing contamination-related risks in almonds. Full article
(This article belongs to the Special Issue Aflatoxins: Contamination, Analysis and Control)
Show Figures

Figure 1

21 pages, 2780 KB  
Article
Co-Hydrothermal Carbonization of Sawdust and Sewage Sludge: Assessing the Potential of the Hydrochar as an Adsorbent and the Ecotoxicity of the Process Water
by Matheus Cavali, Thuanne Braúlio Hennig, Nelson Libardi Junior, Boram Kim, Vincent Garnier, Hassen Benbelkacem, Rémy Bayard, Adenise Lorenci Woiciechowski, William Gerson Matias and Armando Borges de Castilhos Junior
Appl. Sci. 2025, 15(3), 1052; https://doi.org/10.3390/app15031052 - 21 Jan 2025
Cited by 3 | Viewed by 2485
Abstract
Hydrothermal carbonization (HTC) is a promising thermochemical process to convert residues into hydrochar. While conventional HTC utilizes one type of residue as raw material only, Co-HTC generally combines two. By mixing dry and wet wastes, Co-HTC can advantageously avoid water addition. Therefore, this [...] Read more.
Hydrothermal carbonization (HTC) is a promising thermochemical process to convert residues into hydrochar. While conventional HTC utilizes one type of residue as raw material only, Co-HTC generally combines two. By mixing dry and wet wastes, Co-HTC can advantageously avoid water addition. Therefore, this work investigated the potential of hydrochar derived from the Co-HTC of sawdust and non-dewatered sewage sludge as a dye (methylene blue) adsorbent and evaluated the toxicity of the resulting Co-HTC process water (PW) on Daphnia magna. Three hydrochars were produced by Co-HTC at 180, 215, and 250 °C and named H-180, H-215, and H-250, respectively. For methylene blue adsorption, H-180 and H-215 had a better performance than H-250. Both H-180 and H-215 presented a maximum adsorption capacity of approximately 70 mg·g−1, which was superior compared with the adsorption of methylene blue by other hydrochars in the literature. Moreover, the removal percentage obtained with H-180 remained satisfactory even after five cycles. Regarding the toxicological assays of the PWs, raising the Co-HTC temperature increased the variety of substances in the PW composition, resulting in higher toxicity to D. magna. The EC50 values of PW-180, PW-215, and PW-250 were 1.13%, 0.97%, and 0.51%, respectively. This highlights the importance of searching for the treatment and valorization of the PW. Instead of viewing this by-product as an effluent to be treated and disposed of, it is imperative to assess the potential of PWs for obtaining other higher added-value products. Full article
(This article belongs to the Special Issue Resource Utilization of Solid Waste and Circular Economy)
Show Figures

Figure 1

22 pages, 5474 KB  
Article
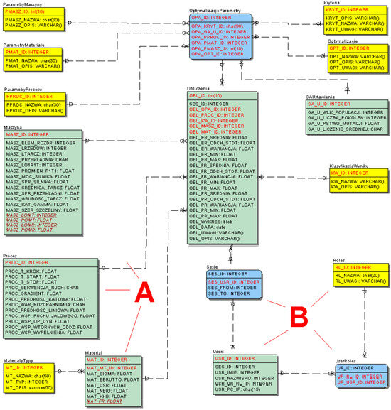
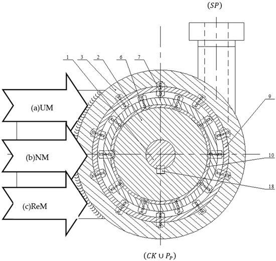
Closed Circuit of 3-Dimensional Polymer Powders
by Józef Sadkiewicz and Józef Flizikowski
Appl. Sci. 2024, 14(20), 9471; https://doi.org/10.3390/app14209471 - 17 Oct 2024
Viewed by 1263
Abstract
This article describes the most important stages of testing the levels of innovative readiness of a new machine and material construction solutions for closed loops of polymer powders in 3D additive manufacturing. The aim of this study was to indicate the state and [...] Read more.
This article describes the most important stages of testing the levels of innovative readiness of a new machine and material construction solutions for closed loops of polymer powders in 3D additive manufacturing. The aim of this study was to indicate the state and directions of development of the technology of geometric recycling of polymer powders in 3D additive manufacturing, the need to control the geometric quality of the powders, and the quality of the design of machines for their processing in a closed circuit. The method was aimed at creating a strategy and verifying the stages of development of a new idea for stabilizing the geometric and dynamic design features of polymer powders for additive manufacturing (3D printing). Connections and relationships of the variable design features of powders, machines and devices with variable postulated states of products and processes allowed for the analysis, knowledge, description and development of variables for stabilizing geometric features of polymer powders in recycling. The results show the possibilities of supporting innovative creativity according to the adopted method, allow for determining the level of compliance of the quality of the products of the technical system, the effectiveness of preparatory processes for recycling and the non-toxicity of the products and processes of the new technology and their closed loop. The goal of developing useful design values, according to an integrated method of analysis, assessment and environmental development, was achieved, including the proposal of design features of razor blade shredders, supported by genetic algorithms, and devices for stabilizing polymer powders in additive manufacturing with recycling. Full article
(This article belongs to the Section Green Sustainable Science and Technology)
Show Figures

Figure 1

12 pages, 3346 KB  
Article
Production of Composite Zinc Oxide–Polylactic Acid Radiopaque Filaments for Fused Deposition Modeling: First Stage of a Feasibility Study
by Francesca Cherubini, Nicole Riberti, Anna Maria Schiavone, Fabrizio Davì, Michele Furlani, Alessandra Giuliani, Gianni Barucca, Maria Cristina Cassani, Daniele Rinaldi and Luigi Montalto
Materials 2024, 17(12), 2892; https://doi.org/10.3390/ma17122892 - 13 Jun 2024
Viewed by 1771
Abstract
Three-dimensional printing technologies are becoming increasingly attractive for their versatility; the geometrical customizability and manageability of the final product properties are the key points. This work aims to assess the feasibility of producing radiopaque filaments for fused deposition modeling (FDM), a 3D printing [...] Read more.
Three-dimensional printing technologies are becoming increasingly attractive for their versatility; the geometrical customizability and manageability of the final product properties are the key points. This work aims to assess the feasibility of producing radiopaque filaments for fused deposition modeling (FDM), a 3D printing technology, starting with zinc oxide (ZnO) and polylactic acid (PLA) as the raw materials. Indeed, ZnO and PLA are promising materials due to their non-toxic and biocompatible nature. Pellets of PLA and ZnO in the form of nanoparticles were mixed together using ethanol; this homogenous mixture was processed by a commercial extruder, optimizing the process parameters for obtaining mechanically stable samples. Scanning electron microscopy analyses were used to assess, in the extruded samples, the homogenous distribution of the ZnO in the PLA matrix. Moreover, X-ray microtomography revealed a certain homogenous radiopacity; this imaging technique also confirmed the correct distribution of the ZnO in the PLA matrix. Thus, our tests showed that mechanically stable radiopaque filaments, ready for FDM systems, were obtained by homogenously loading the PLA with a maximum ZnO content of 6.5% wt. (nominal). This study produced multiple outcomes. We demonstrated the feasibility of producing radiopaque filaments for additive manufacturing using safe materials. Moreover, each phase of the process is cost-effective and green-oriented; in fact, the homogenous mixture of PLA and ZnO requires only a small amount of ethanol, which evaporates in minutes without any temperature adjustment. Finally, both the extruding and the FDM technologies are the most accessible systems for the additive manufacturing commercial apparatuses. Full article
(This article belongs to the Special Issue Design and Application of Additive Manufacturing: Volume II)
Show Figures

Figure 1

13 pages, 1857 KB  
Article
Sustainable Biocatalytic Synthesis of a Second-Generation Biolubricant
by María Claudia Montiel, María Gómez, María Dolores Murcia, Salvadora Ortega-Requena, Fuensanta Máximo and Josefa Bastida
Sustainability 2024, 16(4), 1615; https://doi.org/10.3390/su16041615 - 15 Feb 2024
Cited by 6 | Viewed by 2510
Abstract
Background: Biolubricants represent a category of lubricating substances derived from sustainable sources such as vegetable oils, animal fats, and other bio-based materials. They are considered more environmentally friendly than mineral-based lubricants because they are biodegradable and nontoxic. Biolubricants derived from vegetable oils or [...] Read more.
Background: Biolubricants represent a category of lubricating substances derived from sustainable sources such as vegetable oils, animal fats, and other bio-based materials. They are considered more environmentally friendly than mineral-based lubricants because they are biodegradable and nontoxic. Biolubricants derived from vegetable oils or animal fats were used as first-generation biolubricants. They have limited performance at extreme temperatures, both high and low, as well as low oxidative stability. Substitution of the double bonds by branching improves the performance and stability of the resulting second-generation biolubricants. Methods: In the past, the production of these compounds has relied on the chemical pathway. This method involves elevated temperatures and inorganic catalysts, leading to the necessity of additional purification steps, which decreases environmental sustainability and energy efficiency. A more environmentally friendly alternative, the enzymatic route, has been introduced, in accordance with the principles of “Green Chemistry”. Results: In this paper, the esterification of 2-methylhexanoic acid with 2-octyl-1-dodecanol and its optimization were developed for the first time. The synthesis was conducted within a jacketed batch reactor connected to a thermostatic bath in a solvent-free reaction medium and using Lipozyme® 435 as biocatalyst. Conclusions: The high viscosity index value of this new hyperbranched ester (>200, ASTM D2270) suggests that it may be an excellent biolubricant to be used under extreme temperature conditions. Regarding sustainability, the main green metrics calculated point to an environmentally friendly process. Full article
Show Figures

Figure 1

16 pages, 5234 KB  
Article
Construction of a g-C3N4/Bi(OH)3 Heterojunction for the Enhancement of Visible Light Photocatalytic Antibacterial Activity
by Jian Feng, Li Wang, Bo Xiao, Xia Ran, Caiying Wang, Jinming Zhu, Zuoji Liu, Chaozhong Li, Xinai Cui, Rong Li, Guangwei Feng and Zeqin Dai
Int. J. Mol. Sci. 2024, 25(3), 1872; https://doi.org/10.3390/ijms25031872 - 3 Feb 2024
Cited by 4 | Viewed by 2493
Abstract
Photocatalytic technology has been recently conducted to remove microbial contamination due to its unique features of nontoxic by-products, low cost, negligible microbial resistance and broad-spectrum elimination capacity. Herein, a novel two dimensional (2D) g-C3N4/Bi(OH)3 (CNB) heterojunction was fabricated [...] Read more.
Photocatalytic technology has been recently conducted to remove microbial contamination due to its unique features of nontoxic by-products, low cost, negligible microbial resistance and broad-spectrum elimination capacity. Herein, a novel two dimensional (2D) g-C3N4/Bi(OH)3 (CNB) heterojunction was fabricated byincorporating Bi(OH)3 (BOH) nanoparticles with g-C3N4 (CN) nanosheets. This CNB heterojunction exhibited high photocatalytic antibacterial efficiency (99.3%) against Escherichia coli (E. coli) under visible light irradiation, which was 4.3 and 3.4 times that of BOH (23.0%) and CN (28.0%), respectively. The increase in specific surface area, ultra-thin layered structure, construction of a heterojunction and enhancement of visible light absorption were conducive to facilitating the separation and transfer of photoinduced charge carriers. Live/dead cell staining, sodium dodecyl sulfate-polyacrylamide gel electrophoresis (SDS-PAGE) assays and scanning electron microscopy (SEM) have been implemented to investigate the damage to the cell membrane and the leakage of the intracellular protein in the photocatalytic antibacterial process. The e, h+ and O2•− were the active species involved in this process. This study proposed an appropriate photocatalyst for efficient treatment of bacterial contamination. Full article
(This article belongs to the Special Issue Advanced Catalytic Materials)
Show Figures

Figure 1

16 pages, 5109 KB  
Article
Towards the Clinical Translation of 3D PLGA/β-TCP/Mg Composite Scaffold for Cranial Bone Regeneration
by Yongsen Zhou, Jingqi Hu, Binhan Li, Jingjing Xia, Ting Zhang and Zhuo Xiong
Materials 2024, 17(2), 352; https://doi.org/10.3390/ma17020352 - 10 Jan 2024
Cited by 6 | Viewed by 2381
Abstract
Recent years have witnessed the rapid development of 3D porous scaffolds with excellent biocompatibility, tunable porosity, and pore interconnectivity, sufficient mechanical strength, controlled biodegradability, and favorable osteogenesis for improved results in cranioplasty. However, clinical translation of these scaffolds has lagged far behind, mainly [...] Read more.
Recent years have witnessed the rapid development of 3D porous scaffolds with excellent biocompatibility, tunable porosity, and pore interconnectivity, sufficient mechanical strength, controlled biodegradability, and favorable osteogenesis for improved results in cranioplasty. However, clinical translation of these scaffolds has lagged far behind, mainly because of the absence of a series of biological evaluations. Herein, we designed and fabricated a composite 3D porous scaffold composed of poly (lactic-co-glycolic) acid (PLGA), β-tricalcium phosphate (β-TCP), and Mg using the low-temperature deposition manufacturing (LDM) technique. The LDM-engineered scaffolds possessed highly porous and interconnected microstructures with a porosity of 63%. Meanwhile, the scaffolds exhibited mechanical properties close to that of cancellous bone, as confirmed by the compression tests. It was also found that the original composition of scaffolds could be maintained throughout the fabrication process. Particularly, two important biologic evaluations designed for non-active medical devices, i.e., local effects after implantation and subchronic systemic toxicity tests, were conducted to evaluate the local and systemic toxicity of the scaffolds. Additionally, the scaffolds exhibited significant higher mRNA levels of osteogenic genes compared to control scaffolds, as confirmed by an in vitro osteogenic differentiation test of MC3T3-E1 cells. Finally, we demonstrated the improved cranial bone regeneration performance of the scaffolds in a rabbit model. We envision that our investigation could pave the way for translating the LDM-engineered composite scaffolds into clinical products for cranial bone regeneration. Full article
Show Figures

Graphical abstract

30 pages, 4742 KB  
Review
Nonwoven Electrospun Membranes as Tissue Scaffolds: Practices, Problems, and Future Directions
by Dinesh Shah, Lok Ranjan Bhatta, Ram Kumar Sharma, Bishweshwar Pant, Mira Park, Gunendra Prasad Ojha and Hem Raj Pant
J. Compos. Sci. 2023, 7(12), 481; https://doi.org/10.3390/jcs7120481 - 21 Nov 2023
Cited by 2 | Viewed by 3783
Abstract
A flexible and dependable method that has been extensively employed to construct nanofibrous scaffolds that resemble the extracellular matrix made from polymeric materials is electrospinning (ES). ES is superior to other techniques because of its unique capacity to create nanofibers with a high [...] Read more.
A flexible and dependable method that has been extensively employed to construct nanofibrous scaffolds that resemble the extracellular matrix made from polymeric materials is electrospinning (ES). ES is superior to other techniques because of its unique capacity to create nanofibers with a high surface-to-volume ratio, low cost, simplicity of setup, freedom in material choice, and ability to alter the surface attributes and usefulness of the nanofibers. However, the low productivity of nanofibrous membrane from conventional ES with the generation of tightly packed nanofibrous sheet-like two-dimensional membranes impedes cellular infiltration into scaffolds during tissue regeneration. Moreover, toxic organic solvents are desired for polymer dissolution for ES. Such solvents produce volatile organic compounds (VOCs) during electrospinning, which can degrade the indoor air quality of working place. Furthermore, when electrospun membranes containing traces of such VOCs are employed as tissue scaffolds, it may cause serious effect to cells and tissue. This justifies the need for alternative green solvents which are not only environmentally friendly, non-toxic, and low-cost but also biocompatible with medicinal values. Therefore, this review mainly focuses on summarizing the recent advances in ES machines, fabrication of three-dimensional (3D) spongy nanofibrous membrane, and introducing green solvent for polymer processing. Finally, based on the findings of the existing literature and our experience, this review mainly focuses on essential oils as future “greener” alternatives to current toxic solvents used in ES process. Full article
(This article belongs to the Section Fiber Composites)
Show Figures

Figure 1

31 pages, 27482 KB  
Article
The Influence of Thermoplastic Composite Recycling on the Additive Manufacturing Process and In-Use Phase as Candidate Materials for Wearable Devices Applications
by Alexandra Papatheodorou, Iakovos Gavalas, Despoina Ntenekou and Anna Karatza
Polymers 2023, 15(18), 3775; https://doi.org/10.3390/polym15183775 - 15 Sep 2023
Cited by 4 | Viewed by 2509
Abstract
Fused filament fabrication (FFF) is a popular additive manufacturing (AM) method for creating thermoplastic parts with intricate geometrical designs. Pure thermoplastic materials utilized in FFF, whose polymeric matrix is reinforced with other materials, such as carbon fibers (CFs), introduce products with advanced mechanical [...] Read more.
Fused filament fabrication (FFF) is a popular additive manufacturing (AM) method for creating thermoplastic parts with intricate geometrical designs. Pure thermoplastic materials utilized in FFF, whose polymeric matrix is reinforced with other materials, such as carbon fibers (CFs), introduce products with advanced mechanical properties. However, since not all of these materials are biodegradable, the need for recycling and reuse immediately emerges to address the significant problem of how to dispose of their waste. The proposed study evaluates the printability, surface morphology and in vitro toxicity of two thermoplastic-based composite materials commonly used in wearable device manufacturing to provide enhanced properties and functionalities, making them suitable for various applications in the field of wearable devices. Tritan Copolyester TX1501 with 7.3% chopped CFs (cCFs) and Polyamide 12 (PA12) with 8.6%cCFs and 7.5% iron Magnetic Nanoparticles (MNPs)—Fe4O3 were used in the discrete ascending cycles of recycling, focusing on the surface quality performance optimization of the printed parts. Through stereoscopy evaluation, under-extrusion, and over-extrusion defects, as well as non-uniform material flow, are assessed in order to first investigate the influence of various process parameters’ application on the printing quality of each material and, second, to analyze the optimal value fluctuation of the printing parameters throughout the recycling cycles of the materials. The results indicate that after applying certain adjustments to the main printing parameter values, the examined recycled reinforced materials are still effectively 3D printed even after multiple cycles of recycling. A morphology examination using scanning electron microscope (SEM) revealed surface alterations, while a cytotoxicity assessment revealed the adverse effects of both materials in the form of cell viability and the release of proinflammatory cytokines in the cell culture medium. Full article
(This article belongs to the Special Issue Additive Manufacturing of Reinforced Polymers)
Show Figures

Figure 1

17 pages, 3572 KB  
Communication
Effects of a Standardized Hydrogenated Extract of Curcumin (Curowhite™) on Melanogenesis: A Pilot Study
by Shilpi Goenka
Nutraceuticals 2023, 3(3), 421-437; https://doi.org/10.3390/nutraceuticals3030031 - 10 Aug 2023
Cited by 4 | Viewed by 5092
Abstract
The stimulation of melanogenesis by novel natural products is desirable for cosmetic applications such as skin tanning, anti-greying, and clinical use for treating vitiligo and leukoderma disorders. Microphthalmia transcription factor (MITF) is a central transcription factor that controls the expression of tyrosinase, which [...] Read more.
The stimulation of melanogenesis by novel natural products is desirable for cosmetic applications such as skin tanning, anti-greying, and clinical use for treating vitiligo and leukoderma disorders. Microphthalmia transcription factor (MITF) is a central transcription factor that controls the expression of tyrosinase, which is a key enzyme responsible for catalyzing the rate-limiting processes of melanin production. Tetrahydrocurcuminoids (THCr), which mostly consist of tetrahydrocurcumin (THC), are a colorless bioactive mixture derived from curcuminoids that are extracted from the Curcuma longa plant. THCr has been reported to exhibit superior properties, including antioxidant and anti-inflammatory effects. Our previous study reported the greater melanogenesis-stimulating effects of purified THC, compared to hexahydrocurcumin (HHC) or octahydrocurcumin (OHC). Curowhite™ (CW) is a proprietary extract that consists of 25% hydrogenated curcuminoids (mixture of THCr, hexahydrocurcuminoids, and octahydrocurcuminoids) encapsulated in a β-cyclodextrin (βCyD) excipient. The encapsulation of THCr in a suitable excipient, such as the widely popular cyclodextrins, helps to enhance the stability, solubility, and bioavailability of the THCr. CW is marketed as a nutraceutical with GRAS status and is safe when administered orally, as shown in vivo studies. However, the impact of CW on melanogenesis remains unexplored. Herein, the impact of CW on melanogenesis were investigated using B16F10 and MNT-1 cells. Our findings show that CW is markedly cytotoxic to B16F10 cells without affecting the cellular melanin content. However, in MNT-1 cells, CW significantly stimulated intracellular melanin content over the concentration range (20–60 µg/mL) with increased dendrite formation while being nontoxic to MNT-1 cells or HaCaT cells after a 5-day treatment. Examination of the effects of the excipient βCyD on cytotoxicity and melanogenesis confirmed that the excipient had no contribution to the biological impacts that were found to be exclusively attributable to the encapsulated mixture (THCr). The mechanisms of CW’s promelanogenic effects in MNT-1 cells were found to be related, at least in part, to an increase in tyrosinase and MITF protein levels, as CW did not alter tyrosinase activity in MNT-1 cells. Moreover, CW exhibited antioxidant activity as obtained through DPPH radical scavenging assay. Together, the findings of this pilot study indicate that CW might hold an exciting avenue as a pro-pigmenting nutraceutical for treating hypopigmentation disorders, the detailed mechanisms of which warrant further exploration. Moreover, future investigations are necessary to examine CW’s effects on melanogenesis in normal human melanocytes and in vivo studies. Full article
(This article belongs to the Special Issue Natural Nutraceuticals in Actual Therapeutic Strategies)
Show Figures

Graphical abstract

19 pages, 8893 KB  
Article
The Effectiveness of Cyrene as a Solvent in Exfoliating 2D TMDs Nanosheets
by Jaber Adam, Manjot Singh, Avazbek Abduvakhidov, Maria Rosaria Del Sorbo, Chiara Feoli, Fida Hussain, Jasneet Kaur, Antonia Mirabella, Manuela Rossi, Antonio Sasso, Mohammadhassan Valadan, Michela Varra, Giulia Rusciano and Carlo Altucci
Int. J. Mol. Sci. 2023, 24(13), 10450; https://doi.org/10.3390/ijms241310450 - 21 Jun 2023
Cited by 17 | Viewed by 3512
Abstract
The pursuit of environmentally friendly solvents has become an essential research topic in sustainable chemistry and nanomaterial science. With the need to substitute toxic solvents in nanofabrication processes becoming more pressing, the search for alternative solvents has taken on a crucial role in [...] Read more.
The pursuit of environmentally friendly solvents has become an essential research topic in sustainable chemistry and nanomaterial science. With the need to substitute toxic solvents in nanofabrication processes becoming more pressing, the search for alternative solvents has taken on a crucial role in this field. Additionally, the use of toxic, non-economical organic solvents, such as N-methyl-2 pyrrolidone and dimethylformamide, is not suitable for all biomedical applications, even though these solvents are often considered as the best exfoliating agents for nanomaterial fabrication. In this context, the success of producing two-dimensional transition metal dichalcogenides (2D TMDs), such as MoS2 and WS2, with excellent captivating properties is due to the ease of synthesis based on environment-friendly, benign methods with fewer toxic chemicals involved. Herein, we report for the first time on the use of cyrene as an exfoliating agent to fabricate monolayer and few-layered 2D TMDs with a versatile, less time-consuming liquid-phase exfoliation technique. This bio-derived, aprotic, green and eco-friendly solvent produced a stable, surfactant-free, concentrated 2D TMD dispersion with very interesting features, as characterized by UV–visible and Raman spectroscopies. The surface charge and morphology of the fabricated nanoflakes were analyzed using ς-potential and scanning electron microscopy. The study demonstrates that cyrene is a promising green solvent for the exfoliation of 2D TMD nanosheets with potential advantages over traditional organic solvents. The ability to produce smaller-sized—especially in the case of WS2 as compared to MoS2—and mono/few-layered nanostructures with higher negative surface charge values makes cyrene a promising candidate for various biomedical and electronic applications. Overall, the study contributes to the development of sustainable and environmentally friendly methods for the production of 2D nanomaterials for various applications. Full article
(This article belongs to the Collection State-of-the-Art Materials Science in Italy)
Show Figures

Figure 1

Back to TopTop