Sign in to use this feature.

Years

Between: -

Subjects

remove_circle_outline
remove_circle_outline
remove_circle_outline
remove_circle_outline
remove_circle_outline
remove_circle_outline
remove_circle_outline
remove_circle_outline
remove_circle_outline

Journals

Article Types

Countries / Regions

Search Results (103)

Search Parameters:
Keywords = flexible loop domain

Order results
Result details
Results per page
Select all
Export citation of selected articles as:
39 pages, 24831 KB  
Article
LLM-Driven Modeling and Decision Support Methods for Cross-Domain Collaborative Mission Systems
by Han Li, Dongji Li, Yunxiao Liu, Jinyu Ma, Guangyao Wang and Jianliang Ai
Appl. Syst. Innov. 2026, 9(4), 80; https://doi.org/10.3390/asi9040080 - 17 Apr 2026
Abstract
Cross-domain formations composed of Unmanned Aerial Vehicles (UAVs) and Unmanned Surface Vessels (USVs) are critical for maritime defense but face significant challenges in countering complex aerial threats and developing flexible, collaborative strategies. Addressing the limitations of traditional decision support systems in semantic understanding [...] Read more.
Cross-domain formations composed of Unmanned Aerial Vehicles (UAVs) and Unmanned Surface Vessels (USVs) are critical for maritime defense but face significant challenges in countering complex aerial threats and developing flexible, collaborative strategies. Addressing the limitations of traditional decision support systems in semantic understanding and dynamic adaptation, this paper proposes a novel Large Language Model (LLM)-driven decision support framework grounded in the Department of Defense Architecture Framework (DoDAF). By integrating Retrieval-Augmented Generation (RAG) with a domain-specific knowledge base, the framework enhances the LLM’s ability to align natural-language directives with standardized DoDAF view models, effectively mitigating hallucinations in tactical generation. The proposed framework coordinates a closed-loop process, using Petri net-based static logic verification to ensure structural consistency and Monte Carlo-based dynamic effectiveness evaluation to optimize the selection of kill chains. Experimental validations in a simulated UAV-USV maritime defense scenario demonstrate that the framework achieves 96.6% entity accuracy and 100% format compliance in model generation. In comparison, the generated cooperative kill chains significantly outperform non-cooperative methods by improving interception efficacy by approximately 26.08% under saturation attack conditions. This study develops an automated, interpretable workflow that transforms unstructured situational understanding into decision reporting, significantly enhancing the efficiency and reliability of cross-domain collaborative mission planning. Full article
(This article belongs to the Special Issue AI-Driven Decision Support for Systemic Innovation)
16 pages, 3388 KB  
Article
A Fast Calculation Method for Electrostatic Fields in Complex Terrain Using NSGA-II and Conformal Mapping
by Xiaojian Wang, Xinyu Shi, Tianlei He, Xiaobin Cao and Ruifang Li
Electronics 2026, 15(8), 1689; https://doi.org/10.3390/electronics15081689 - 17 Apr 2026
Abstract
Rapid and accurate calculation of lightning-induced electric fields in complex terrain is essential for lightning protection and electromagnetic compatibility analysis. Although conventional full-wave numerical methods such as the finite element method can achieve high-fidelity results, they are computationally expensive and inefficient for large-scale [...] Read more.
Rapid and accurate calculation of lightning-induced electric fields in complex terrain is essential for lightning protection and electromagnetic compatibility analysis. Although conventional full-wave numerical methods such as the finite element method can achieve high-fidelity results, they are computationally expensive and inefficient for large-scale or repetitive engineering analysis. To enable efficient and reliable computation of lightning-induced electrostatic fields over complex terrain, this paper proposes a fast computational framework that integrates multi-level conformal mapping with a multi-objective optimization strategy based on the Non-Dominated Sorting Genetic Algorithm II (NSGA-II). In the proposed method, irregular terrain boundaries are transformed into analytically tractable domains using multi-level conformal mapping, while the critical mapping parameter is reformulated as a dual-objective optimization problem that simultaneously minimizes the maximum local error and the mean global error. Unlike traditional approaches that rely on empirical tuning or exhaustive traversal of mapping parameters, the proposed framework establishes a closed-loop adaptive optimization process that generates a Pareto-optimal solution set, enabling flexible trade-off selection according to practical accuracy requirements. The method is validated against high-fidelity finite element simulations for representative terrain profiles. The results demonstrate that the proposed approach achieves comparable maximum-error performance while reducing mean error and significantly improving parameter-optimization efficiency relative to exhaustive search methods. The proposed framework provides an adaptive and efficient computational solution for preliminary assessment of lightning-induced electric fields in complex terrain environments, and lays a foundation for future extensions toward more realistic multi-dimensional and transient analyses. The improvements in computational accuracy and efficiency offer significant practical value for rapid lightning protection assessment in large-scale complex terrain engineering, enabling parametric analysis and scheme comparison during the preliminary engineering design stage with sufficient reliability. Full article
(This article belongs to the Section Artificial Intelligence)
Show Figures

Figure 1

49 pages, 675 KB  
Review
Automated Assembly of Large-Scale Aerospace Components: A Structured Narrative Survey of Emerging Technologies
by Kuai Zhou, Wenmin Chu, Peng Zhao, Xiaoxu Ji and Lulu Huang
Sensors 2026, 26(8), 2294; https://doi.org/10.3390/s26082294 - 8 Apr 2026
Viewed by 408
Abstract
Large-scale aerospace components (e.g., wings, fuselage sections, wing boxes, and rocket segments) feature large dimensions, low stiffness, complex interfaces, and strict assembly tolerances. Traditional rigid tooling and manual alignment struggle to meet the demands of high precision, efficiency, and flexibility in modern aerospace [...] Read more.
Large-scale aerospace components (e.g., wings, fuselage sections, wing boxes, and rocket segments) feature large dimensions, low stiffness, complex interfaces, and strict assembly tolerances. Traditional rigid tooling and manual alignment struggle to meet the demands of high precision, efficiency, and flexibility in modern aerospace manufacturing. This paper presents a structured literature review on the automated assembly of large-scale aerospace components, summarizing advances in three core domains: pose adjustment and positioning mechanisms, digital measurement technologies, and trajectory planning and control. Particular emphasis is placed on two cross-cutting themes: measurement uncertainty analysis and flexible assembly, which are critical for high-quality docking. The review classifies pose adjustment mechanisms into four categories (NC positioners, parallel kinematic machines, industrial robots, and novel mechanisms) and digital measurement into five branches (vision metrology, large-scale metrology, measurement field construction, uncertainty analysis, and auxiliary techniques). It also outlines five trajectory planning and control routes, covering traditional methods, multi-sensor fusion, digital twins, flexible assembly, and emerging intelligent approaches. The analysis reveals that current research suffers from fragmentation among mechanism design, metrology, and control, with insufficient integration of uncertainty propagation and flexible deformation modeling. Future systems will rely on heterogeneous equipment collaboration, uncertainty-aware closed-loop control, high-fidelity flexible modeling, and digital twin-driven decision-making. This review provides a unified framework and a technical reference for developing reliable, flexible, and scalable automated assembly systems for next-generation aerospace structures. Full article
(This article belongs to the Section Sensors and Robotics)
Show Figures

Figure 1

17 pages, 2240 KB  
Article
A Grid-Forming Battery Energy System with Mode-Adaptive Virtual Inductance Control
by Lijun Zheng and Xinghu Liu
Batteries 2026, 12(3), 102; https://doi.org/10.3390/batteries12030102 - 16 Mar 2026
Viewed by 361
Abstract
Battery Emergency Mobile Power Systems (BEMPSs) play a critical role in disaster recovery, remote electrification, and grid reinforcement, where resilient, rapidly deployable power supply is essential. However, conventional grid-forming (GFM) control strategies often rely on static parameters, limiting their adaptability during grid disturbances, [...] Read more.
Battery Emergency Mobile Power Systems (BEMPSs) play a critical role in disaster recovery, remote electrification, and grid reinforcement, where resilient, rapidly deployable power supply is essential. However, conventional grid-forming (GFM) control strategies often rely on static parameters, limiting their adaptability during grid disturbances, weak grid conditions, and operational mode transitions. This paper proposes a novel energy-aware adaptive control strategy for GFM inverters, tailored for EMPS applications. First, a multi-mode operation framework is developed to enable seamless transitions among grid-forming, grid-following (GFL), and islanded modes, incorporating a dual-loop circulating current decoupling mechanism to suppress transient current and provide damping. Second, a dynamic virtual inductance regulation scheme is introduced, adaptively modulating output impedance based on DC link energy, PCC voltage fluctuation, and grid strength estimation. Third, an energy-aware control law ensures real-time adjustment of inverter dynamics, enhancing damping performance towards the grid disturbance. Extensive time-domain simulations validate the proposed strategy’s effectiveness under mode switching and power disturbance scenarios. Results demonstrate superior dynamic performance, reduced transient overshoot, and improved system robustness compared to conventional methods, making the proposed controller highly suitable for flexible deployment. Full article
Show Figures

Figure 1

32 pages, 25734 KB  
Article
Composite Finite-Time ADRC for Flexible-Joint Manipulators with Frequency-Domain Separation
by Zhongbo Shao and Ming Wu
Processes 2026, 14(5), 863; https://doi.org/10.3390/pr14050863 - 8 Mar 2026
Viewed by 314
Abstract
Flexible-joint manipulators suffer from severe performance degradation due to the coupling of joint elasticity and varying loads. To address this, we propose a composite finite-time active disturbance rejection control (CFT-ADRC) strategy utilizing a frequency-domain separation architecture. A recursive least squares (RLS) algorithm identifies [...] Read more.
Flexible-joint manipulators suffer from severe performance degradation due to the coupling of joint elasticity and varying loads. To address this, we propose a composite finite-time active disturbance rejection control (CFT-ADRC) strategy utilizing a frequency-domain separation architecture. A recursive least squares (RLS) algorithm identifies slow-varying load parameters, while an extended state observer (ESO) compensates for high-frequency unmodeled dynamics and external disturbances, effectively preventing loop interference. A finite-time control law guarantees rapid tracking error convergence. Comprehensive simulations confirm that this approach significantly outperforms standard ADRC and neural network-based methods (RBFNN-ASMC). Under 50% load variations, it achieves an RMS tracking error of 2×103 rad and maintains robust stability during 200% instantaneous load mutations. The strategy presents a strong theoretical framework for future hardware implementation while maintaining an optimal balance of precision, robustness, and computational simplicity. Full article
(This article belongs to the Section Automation Control Systems)
Show Figures

Figure 1

19 pages, 15641 KB  
Article
Application of Enzyme Engineering and Synthetic Biology for Modulated Transformation of Fructooligosaccharides (FOSs) to Elucidate the Catalytic Mechanism of Fructofuranosidases
by Gan-Lin Chen, Jing Chen, Ling-Zhi Zhao, Bo Lin, Feng-Jin Zheng, Krishan K. Verma and Li-Fang Yang
Foods 2026, 15(5), 843; https://doi.org/10.3390/foods15050843 - 3 Mar 2026
Viewed by 343
Abstract
Fructooligosaccharides (FOSs) are plant-based prebiotics widely utilized in the food and pharmaceutical industries. As a major sugar-producing region, Guangxi holds significant potential for enzymatic production of FOS from sucrose. This study engineered a mutant enzyme, 142P-242K, to address the low catalytic activity characteristic [...] Read more.
Fructooligosaccharides (FOSs) are plant-based prebiotics widely utilized in the food and pharmaceutical industries. As a major sugar-producing region, Guangxi holds significant potential for enzymatic production of FOS from sucrose. This study engineered a mutant enzyme, 142P-242K, to address the low catalytic activity characteristic of wild-type enzymes. The mutation upregulated the FOS conversion efficiency from 29 to 52%, respectively. Optimal enzymatic activity was observed at 45 °C, pH 6.0, and in the presence of 1 mM Na+. Mechanistic investigations revealed that modifications to the catalytic domain pocket and shifts in substrate affinity were the primary factors driving enhanced FOS production. The accumulation of 1-Kestose (GF2) was attributed to the enhanced flexibility of the 142P-242K loop, which facilitates substrate access to the active site. However, the synthesis of nystose (GF3) from GF2 is hindered by the hydrophobic nature of the active site and strong hydrogen bonds binding GF2. Comparing the enzyme’s ability to produce FOS using sugarcane juice, sugarcane molasses, and adsorption-heating sugarcane molasses, it was determined that heat-adsorbed molasses yielded the highest FOS concentration (30.77%). This study offers a practical and cost-effective strategy for enzyme modification and efficient valorization of molasses. Full article
(This article belongs to the Special Issue Advances in Food Biotechnology and Enzyme Engineering)
Show Figures

Figure 1

22 pages, 4250 KB  
Article
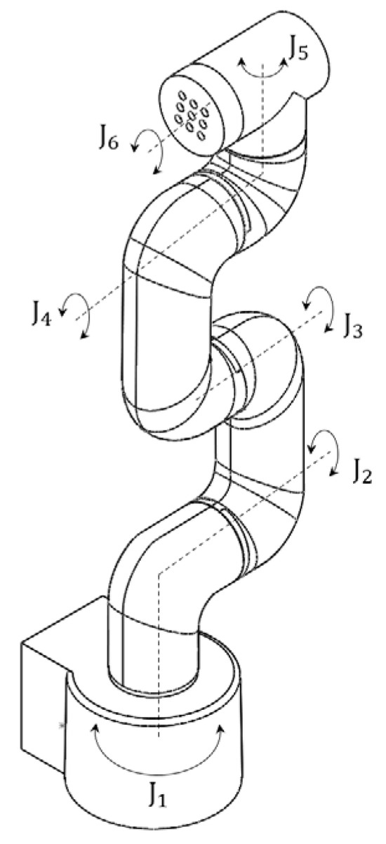
Integrated Mathematical Modelling of a Robot Manipulator Control System Using ANSYS and MATLAB Simulink for Accurate Dynamic Response Prediction
by Chenfei Wen, Maksim A. Grigorev, Victor Kushnarev, Siyuan Zhang and Ivan Kholodilin
Appl. Sci. 2026, 16(4), 2088; https://doi.org/10.3390/app16042088 - 20 Feb 2026
Viewed by 461
Abstract
As robotic manipulators evolve toward lightweight and long-link structures, flexibility increasingly affects dynamic response and trajectory tracking accuracy. However, existing studies often lack a consistent coupling mechanism between finite element structural models and control models, and flexible effects are typically treated as disturbances, [...] Read more.
As robotic manipulators evolve toward lightweight and long-link structures, flexibility increasingly affects dynamic response and trajectory tracking accuracy. However, existing studies often lack a consistent coupling mechanism between finite element structural models and control models, and flexible effects are typically treated as disturbances, limiting the direct use of structural parameters for control prediction and optimization. This paper proposes a structure–control collaborative co-simulation framework for a six-degree-of-freedom (6-DOF) flexible-joint manipulator. ANSYS-based finite element analysis (FEA) is integrated with the MATLAB/Simulink control environment to extract joint-level equivalent stiffness, inertia, modal frequencies, and damping parameters, which are embedded into a rigid–flexible coupled dynamic model. A regression-based representation is introduced to capture unmodeled flexible residual dynamics, and a regression-compensated adaptive PID torque controller with σ-modification and a dead-zone mechanism is developed to ensure bounded adaptation and closed-loop stability. Simulation results under no-load and payload conditions demonstrate improved oscillation suppression and tracking accuracy. By establishing a unified coupling mechanism from structural parameters to the control model, the proposed method achieves consistent co-modeling of the structural and control domains and provides an engineering-feasible co-simulation approach for dynamic prediction and control optimization of multi-DOF flexible manipulators under varying operating conditions. Full article
(This article belongs to the Section Robotics and Automation)
Show Figures

Figure 1

22 pages, 3859 KB  
Article
Identification and Mitigation Method of Harmonic Resonance in Offshore Wind Power Systems Based on dq-Domain Modal Analysis
by Huajia Wang, Yan Zhang, Wenbin Ci, Fan Xiao, Wenjun Cao, Danwen Yu and Jiayang Li
Energies 2026, 19(4), 947; https://doi.org/10.3390/en19040947 - 11 Feb 2026
Viewed by 286
Abstract
Harmonic resonance challenges have intensified in modern power grids, primarily due to the high penetration of converter-based offshore wind energy. Traditional modal analysis methods conducted in the abc reference frame are often constrained by complex coordinate transformations and laborious analytical procedures. Therefore, research [...] Read more.
Harmonic resonance challenges have intensified in modern power grids, primarily due to the high penetration of converter-based offshore wind energy. Traditional modal analysis methods conducted in the abc reference frame are often constrained by complex coordinate transformations and laborious analytical procedures. Therefore, research into dq-domain modal analysis and mitigation techniques is essential. This paper first elucidates the limitations of conventional modal analysis and outlines the fundamental principles of the dq-domain approach, validating its effectiveness through a three-bus test system. Subsequently, a resonance analysis model for offshore wind systems is established to derive the complete nodal admittance matrix. A dq-domain resonance analysis is then performed, and resonance is mitigated by optimizing the control parameters. Finally, the proposed dq-domain modal analysis method and suppression strategy are validated using a laboratory-scale experimental testbed. The results indicate that the proportional gain of the power control loop (KPP) significantly influences the system’s resonance modes. Fine-tuning controller parameters via modal analysis provides an active, flexible, and cost-effective solution for resonance suppression. Full article
Show Figures

Figure 1

31 pages, 751 KB  
Review
Modeling and Control of Rigid–Elastic Coupled Hypersonic Flight Vehicles: A Review
by Ru Li, Bowen Xu and Weiqi Yang
Vibration 2026, 9(1), 8; https://doi.org/10.3390/vibration9010008 - 27 Jan 2026
Viewed by 1467
Abstract
With the development of aerospace technology, hypersonic flight vehicles are evolving towards larger size, lighter weight, and higher performance. Their cross-domain maneuverability and extreme flight environment led to the rigid–flexible coupling effect and became the core bottleneck restricting performance improvement, seriously affecting flight [...] Read more.
With the development of aerospace technology, hypersonic flight vehicles are evolving towards larger size, lighter weight, and higher performance. Their cross-domain maneuverability and extreme flight environment led to the rigid–flexible coupling effect and became the core bottleneck restricting performance improvement, seriously affecting flight stability and control accuracy. This paper systematically reviews the research status in the field of control for high-speed rigid–flexible coupling aircraft and conducts a review focusing on two core aspects: dynamic modeling and control strategies. In terms of modeling, the modeling framework based on the average shafting, the nondeformed aircraft fixed-coordinate system, and the transient coordinate system is summarized. In addition, the dedicated modeling methods for key issues, such as elastic mode coupling and liquid sloshing in the fuel tank, are also presented. The research progress and challenges of multi-physical field (thermal–structure–control, fluid–structure–control) coupling modeling are analyzed. In terms of control strategies, the development and application of linear control, nonlinear control (robust control, sliding mode variable structure control), and intelligent control (model predictive control, neural network control, prescribed performance control) are elaborated. Meanwhile, it is pointed out that the current research has limitations, such as insufficient characterization of multi-physical field coupling, neglect of the closed-loop coupling characteristics of elastic vibration, and lack of adaptability to special working conditions. Finally, the relevant research directions are prospected according to the priority of “near-term engineering requirements–long-term frontier exploration”, providing Refs. for the breakthrough of the rigid–flexible coupling control technology of the new-generation high-speed aircraft. Full article
Show Figures

Figure 1

16 pages, 5378 KB  
Article
Design of Fault Protection Stra for Unified Power Flow Controller in Distribution Networks
by Xiaochun Mou, Ruijun Zhu, Xuejun Zhang, Wu Chen, Jilong Song, Xinran Huo and Kai Wang
Energies 2026, 19(1), 79; https://doi.org/10.3390/en19010079 - 23 Dec 2025
Viewed by 336
Abstract
The capacity of traditional distribution networks is limited. After large-scale distributed power sources are connected, it is difficult to consume them at the same voltage level, which can lead to transformer reverse overloading and voltage limit violations. Although the unified power flow controller [...] Read more.
The capacity of traditional distribution networks is limited. After large-scale distributed power sources are connected, it is difficult to consume them at the same voltage level, which can lead to transformer reverse overloading and voltage limit violations. Although the unified power flow controller (UPFC) excels in flexible power flow regulation and power quality optimization, existing research on it is mostly focused on the transmission grid, focusing on device topology, power flow control, etc. Fault protection is also targeted at high-voltage and ultra-high-voltage domains and only covers a single overvoltage or overcurrent fault. Research on the protection of the unified power flow controller in a distribution network (D-UPFC) remains scarce. A key challenge is the absence of fault protection schemes that are compatible with the unified power flow controller in a distribution network, which cannot meet the requirements of the distribution network for monitoring and protecting multiple fault types, rapid response, and equipment economy. This paper first designs a protection device centered on the distribution thyristor bypass switch (D-TBS), completes the thyristor selection and transient energy extraction, optimizes the overvoltage protection loop parameter, then builds a three-level coordinated protection architecture, and, finally, verifies through functional and system tests. The results show that the thyristor control unit trigger is reliable and the total overvoltage response delay is 1.08 μs. In the case of a three-phase short-circuit fault in a 600 kVA/10 kV system, the distribution thyristor bypass switch can rapidly reduce the secondary voltage of the series transformer, suppress transient overcurrent, achieve isolation protection of the main equipment, provide a reliable guarantee for the engineering application of the distribution network unified power flow controller, and expand its distribution network application scenarios. Full article
Show Figures

Figure 1

22 pages, 4663 KB  
Article
In Silico Characterization of ADAR1: Structure, Dynamics, and Functional Implications
by Carolyn N. Ashley, Emmanuel Broni, ChaNyah M. Wood and Whelton A. Miller
Curr. Issues Mol. Biol. 2025, 47(11), 958; https://doi.org/10.3390/cimb47110958 - 18 Nov 2025
Viewed by 1058
Abstract
Adenosine deaminase acting on RNA 1 (ADAR1) is an essential RNA-editing enzyme responsible for the hydrolytic deamination of adenosine to inosine (A-to-I) in double-stranded RNA. This editing mechanism plays a critical role in gene regulation, particularly in neural and immune contexts. Dysregulation of [...] Read more.
Adenosine deaminase acting on RNA 1 (ADAR1) is an essential RNA-editing enzyme responsible for the hydrolytic deamination of adenosine to inosine (A-to-I) in double-stranded RNA. This editing mechanism plays a critical role in gene regulation, particularly in neural and immune contexts. Dysregulation of ADAR1 activity has been implicated in neurological disorders, cancer progression, and immune dysfunction, making ADAR1 an emerging therapeutic target. However, progress in therapeutic development has been hindered by the lack of structural insight into the full-length protein and how its dynamic behavior influences RNA-editing specificity and protein–protein interactions. In this study, we present computational models of the full-length ADAR1p150 isoform generated by homology modeling and further analyzed using molecular dynamics (MD) simulations and principal component analysis (PCA). Our analyses reveal that the dsRBD3 and CDD remain structurally stable, crucial for protein binding and catalytic function, whereas ZBDs and dsRBD1/2 exhibit extensive flexibility, particularly in inter-domain loops, facilitating RNA recognition indicative of conformational selection and fly-casting mechanisms. Free-energy landscape mapping identifies multiple low-energy conformations, highlighting conserved domain cores and flexible loop arrangements. Together, these findings underscore the importance of ADAR1’s dynamic architecture in regulating its function. By linking static structural information with dynamic behavior, the full-length models and dynamic insights presented here provide a valuable framework for future studies of ADAR1 complex formation, editing specificity, and therapeutic targeting. Full article
(This article belongs to the Section Biochemistry, Molecular and Cellular Biology)
Show Figures

Figure 1

25 pages, 1886 KB  
Article
Cyber-Physical Power System Digital Twins—A Study on the State of the Art
by Nathan Elias Maruch Barreto and Alexandre Rasi Aoki
Energies 2025, 18(22), 5960; https://doi.org/10.3390/en18225960 - 13 Nov 2025
Cited by 5 | Viewed by 2142
Abstract
This study explores the transformative role of Cyber-Physical Power System (CPPS) Digital Twins (DTs) in enhancing the operational resilience, flexibility, and intelligence of modern power grids. By integrating physical system models with real-time cyber elements, CPPS DTs provide a synchronized framework for real-time [...] Read more.
This study explores the transformative role of Cyber-Physical Power System (CPPS) Digital Twins (DTs) in enhancing the operational resilience, flexibility, and intelligence of modern power grids. By integrating physical system models with real-time cyber elements, CPPS DTs provide a synchronized framework for real-time monitoring, predictive maintenance, energy management, and cybersecurity. A structured literature review was conducted using the ProKnow-C methodology, yielding a curated portfolio of 74 publications from 2017 to 2025. This corpus was analyzed to identify key application areas, enabling technologies, simulation methods, and conceptual maturity levels of CPPS DTs. The study highlights seven primary application domains, including real-time decision support and cybersecurity, while emphasizing essential enablers such as data acquisition systems, cloud/edge computing, and advanced simulation techniques like co-simulation and hardware-in-the-loop testing. Despite significant academic interest, real-world implementations remain limited due to interoperability and integration challenges. The paper identifies gaps in standard definitions, maturity models, and simulation frameworks, underscoring the need for scalable, secure, and interoperable architectures and highlighting key areas for scientific development and real-life application of CPPS DTs, such as grid predictive maintenance, forecasting, fault handling, and power system cybersecurity. Full article
(This article belongs to the Special Issue Trends and Challenges in Cyber-Physical Energy Systems)
Show Figures

Figure 1

10 pages, 1094 KB  
Article
Crystal Structure of Candida antarctica Lipase B with a Putative Pro-Peptide Region
by Anil A. Sohail, Rosario Recacha and Lloyd W. Ruddock
Crystals 2025, 15(11), 927; https://doi.org/10.3390/cryst15110927 - 28 Oct 2025
Viewed by 1302
Abstract
There are 25 crystal structures of Lipase B from Candida antarctica (CalB) that have been previously reported. In this study, we report the first CalB crystal structure that shows the assumed pro-peptide region at the N-terminus (Ala19–Arg25). This 1.45 Å structure shows that [...] Read more.
There are 25 crystal structures of Lipase B from Candida antarctica (CalB) that have been previously reported. In this study, we report the first CalB crystal structure that shows the assumed pro-peptide region at the N-terminus (Ala19–Arg25). This 1.45 Å structure shows that this segment of seven amino acids is an extension of the N-terminal loop and that it does not interact with or effect conformational changes in the flexible lid domain, which covers the active site of the enzyme. As such, this region is unlikely to be a classical pro-peptide. Full article
(This article belongs to the Section Biomolecular Crystals)
Show Figures

Figure 1

34 pages, 6096 KB  
Review
Recent Progress of AI-Based Intelligent Air-Confrontation Technology Test and Verification Framework
by Feng Wang, Biao Chen, Yan Wang, Zhekai Pang, Zhu Shao, Yanhui Liu and Heyuan Huang
Aerospace 2025, 12(11), 959; https://doi.org/10.3390/aerospace12110959 - 27 Oct 2025
Cited by 2 | Viewed by 2502
Abstract
Artificial intelligence technology is profoundly reshaping the aviation field, driving the accelerated evolution of air confrontation patterns toward intelligence and autonomy. Given that experimental aircraft platforms are key means to verify intelligent air confrontation technologies, this paper—on the basis of systematically sorting out [...] Read more.
Artificial intelligence technology is profoundly reshaping the aviation field, driving the accelerated evolution of air confrontation patterns toward intelligence and autonomy. Given that experimental aircraft platforms are key means to verify intelligent air confrontation technologies, this paper—on the basis of systematically sorting out the progress of intelligent technologies in the air confrontation domain at home and abroad—first focuses on analyzing the connotation, technological evolution path, and application prospects of experimental aircraft platforms, and deeply interprets the technological breakthroughs and application practices of typical experimental platforms such as X-37B and X-62A in the field of artificial intelligence integration. Furthermore, through the analysis of three typical air confrontation projects, it reveals the four core advantages of experimental aircraft platforms in intelligent technology research: efficient iterative verification, risk reduction, promotion of capability emergence, and provision of flexible carriers. Finally, this paper focuses on constructing a technical implementation framework for the deep integration of intelligent technologies and flight tests, covering key links such as requirement analysis and environmental test design, construction of intelligent test aircraft platforms and capability generation, ground verification, and test evaluation, and summarizes various key technologies involved in the technical implementation framework. This study can provide theoretical support for the deep integration of artificial intelligence technology and the aviation field, including an engineering path from intelligent algorithm design, verification to iterative optimization, supporting the transformation of air confrontation patterns from “human-in-the-loop” to “autonomous gaming,” thereby enhancing the intelligence level and actual confrontation effectiveness in the aviation field. Full article
(This article belongs to the Special Issue Advanced Aircraft Structural Design and Applications)
Show Figures

Graphical abstract

27 pages, 369 KB  
Review
Industrial Scheduling in the Digital Era: Challenges, State-of-the-Art Methods, and Deep Learning Perspectives
by Alina Itu
Appl. Sci. 2025, 15(19), 10823; https://doi.org/10.3390/app151910823 - 9 Oct 2025
Cited by 1 | Viewed by 3514
Abstract
Industrial scheduling plays a central role in Industry 4.0, where efficiency, robustness, and adaptability are essential for competitiveness. This review surveys recent advances in reinforcement learning, digital twins, and hybrid artificial intelligence (AI)–operations research (OR) approaches, which are increasingly used to address the [...] Read more.
Industrial scheduling plays a central role in Industry 4.0, where efficiency, robustness, and adaptability are essential for competitiveness. This review surveys recent advances in reinforcement learning, digital twins, and hybrid artificial intelligence (AI)–operations research (OR) approaches, which are increasingly used to address the complexity of flexible job-shop and distributed scheduling problems. We focus on how these methods compare in terms of scalability, robustness under uncertainty, and integration with industrial IT systems. To move beyond an enumerative survey, the paper introduces a structured analysis in three domains: comparative strengths and limitations of different approaches, ready-made tools and integration capabilities, and representative industrial case studies. These cases, drawn from recent literature, quantify improvements such as reductions in makespan, tardiness, and cycle time variability, or increases in throughput and schedule stability. The review also discusses critical challenges, including data scarcity, computational cost, interoperability with Enterprise Resource Planning (ERP)/Manufacturing Execution System (MES) platforms, and the need for explainable and human-in-the-loop frameworks. By synthesizing methodological advances with industrial impact, the paper highlights both the potential and the limitations of current approaches and outlines key directions for future research in resilient, data-driven production scheduling. Full article
(This article belongs to the Special Issue Advances in AI and Optimization for Scheduling Problems in Industry)
Back to TopTop