Sign in to use this feature.

Years

Between: -

Subjects

remove_circle_outline
remove_circle_outline
remove_circle_outline
remove_circle_outline
remove_circle_outline

Journals

Article Types

Countries / Regions

Search Results (17)

Search Parameters:
Keywords = crash-box structure

Order results
Result details
Results per page
Select all
Export citation of selected articles as:
34 pages, 8482 KB  
Article
Lightweight Aluminum–FRP Crash Management System Developed Using a Novel Hybrid Forming Technology
by Amir Hajdarevic, Xiangfan Fang, Saarvesh Jayakumar and Sharath Christy Anand
Vehicles 2026, 8(1), 2; https://doi.org/10.3390/vehicles8010002 - 22 Dec 2025
Viewed by 385
Abstract
The one-step hybrid forming process is a novel process to fabricate a metal fiber-reinforced plastic (FRP) structure with reduced cycle time and cost compared to classical multi-step methods. It is realized by a combined forming tool for both sheet metal and FRP forming [...] Read more.
The one-step hybrid forming process is a novel process to fabricate a metal fiber-reinforced plastic (FRP) structure with reduced cycle time and cost compared to classical multi-step methods. It is realized by a combined forming tool for both sheet metal and FRP forming to create a hybrid part in only one step. During the forming process, sheet metal pre-coated with an adhesion promoter is joined with the FRP simultaneously. In this work, the crashworthiness and lightweight potential of a hybrid crash management system manufactured with a hybrid forming process were investigated. It includes the experimental behaviors and finite element analysis of glass mat thermoplastics (GMT), as well as aluminum–GMT hybrid structures, under dynamic axial crushing loadings. Beginning with the original geometry of a series aluminum crash management system, the design was optimized for a hybrid forming process, where an aluminum sheet metal part is reinforced by a GMT structure with a ground layer and additional ribs. The forming behavior and fiber filling of the GMT crash box were determined and analyzed as well. Finite element method optimization was used to obtain the optimal geometry of the hybrid crash box with the highest possible specific energy absorption and the utmost homogeneous force level over displacement. A hybrid bumper beam was also developed, along with other necessary connection parts, to join the beam with the crash box and the entire crash management system (CMS) to the vehicle body. The joining technique was determined to be a key factor restricting the lightweight potential of the hybrid CMS. Full article
Show Figures

Figure 1

23 pages, 3081 KB  
Article
Crashworthiness Prediction of Perforated Foam-Filled CFRP Rectangular Tubes Crash Box Using Machine Learning
by Harri Junaedi, Khaled Akkad, Tabrej Khan, Marwa A. Abd El-baky, Mahmoud M. Awd Allah and Tamer A. Sebaey
Polymers 2025, 17(21), 2887; https://doi.org/10.3390/polym17212887 - 29 Oct 2025
Viewed by 922
Abstract
The use of carbon fiber-reinforced polymer (CFRP) tubes as crash boxes has become a subject of interest due to their high specific strength and energy absorption capabilities. This study investigates the crashworthiness performance of rectangular tubes made of CFRP, with and without holes [...] Read more.
The use of carbon fiber-reinforced polymer (CFRP) tubes as crash boxes has become a subject of interest due to their high specific strength and energy absorption capabilities. This study investigates the crashworthiness performance of rectangular tubes made of CFRP, with and without holes and polyurethane foam (PUF)-filled inner structures. The designed tubes were subjected to quasi-static axial compression loading. In addition to carefully documenting failure histories, data on crash load and displacement responses were methodically recorded during testing. To evaluate crashworthiness performance, three design parameters were considered: hole diameter, the number of holes in both the x and y directions, and whether the tube was filled with foam or left unfilled. Machine learning (ML) was also used to reduce the time and cost by predicting the crashworthiness indicators of the tubes from fewer experiments. A collection of ML algorithms such as decision tree regressor (DTR), linear regressor (LR), ridge regressor (RR), lasso regressor (LAR), elastic nets (ENs), and multi-layer perceptron (MLP) have been utilized to predict crashworthiness indicators such as initial peak force (Pip), mean crushing force (Pm) and energy absorption (EA) of the design tubes from the experimental data. The experimental results showed that PUF-filling significantly enhanced crashworthiness properties, with Pm and EA increasing by nearly threefold compared to unfilled tubes. Furthermore, in unfilled tubes, the introduction of holes led to varying effects depending on the hole diameter and placement. Meanwhile, in PUF-filled tubes, the presence of holes reduced the crashworthiness performance. For ML prediction, the DTR achieved the best accuracy with the lowest value of root mean squared error (RMSE) and mean absolute percentage error (MAPE) of 1251 and 11.37%, respectively. These findings demonstrate both the importance of PUF-filled, perforation configurations and the feasibility of ML models in optimizing CFRP crash box designs. Full article
Show Figures

Figure 1

20 pages, 6717 KB  
Article
Crashworthiness of Additively Manufactured Crash Boxes: A Comparative Analysis of Fused Deposition Modeling (FDM) Materials and Structural Configurations
by Ahmed Saber, A. M. Amer, A. I. Shehata, H. A. El-Gamal and A. Abd_Elsalam
Appl. Mech. 2025, 6(3), 52; https://doi.org/10.3390/applmech6030052 - 11 Jul 2025
Cited by 1 | Viewed by 2320
Abstract
Crash boxes play a crucial role in automotive safety by absorbing impact energy during collisions. The advancement of additive manufacturing (AM), particularly Fused Deposition Modeling (FDM), has enabled the fabrication of geometrically complex and lightweight crash boxes. This study presents a comparative evaluation [...] Read more.
Crash boxes play a crucial role in automotive safety by absorbing impact energy during collisions. The advancement of additive manufacturing (AM), particularly Fused Deposition Modeling (FDM), has enabled the fabrication of geometrically complex and lightweight crash boxes. This study presents a comparative evaluation of the crashworthiness performance of five FDM materials, namely, PLA+, PLA-ST, PLA-LW, PLA-CF, and PETG, across four structural configurations: Single-Cell Circle (SCC), Multi-Cell Circle (MCC), Single-Cell Square (SCS), and Multi-Cell Square (MCS). Quasi-static axial compression tests are conducted to assess the specific energy absorption (SEA) and crush force efficiency (CFE) of each material–geometry combination. Among the materials, PLA-CF demonstrates superior performance, with the MCC configuration achieving an SEA of 22.378 ± 0.570 J/g and a CFE of 0.732 ± 0.016. Multi-cell configurations consistently outperformed single-cell designs across all materials. To statistically quantify the influence of material and geometry on crash performance, a two-factor ANOVA was performed, highlighting geometry as the most significant factor across all evaluated metrics. Additionally, a comparative test with aluminum 6063-T5 demonstrates that PLA-CF offers comparable crashworthiness, with advantages in mass reduction, reduced PCF, and enhanced design flexibility inherent in AM. These findings provide valuable guidance for material selection and structural optimization in FDM-based crash boxes. Full article
Show Figures

Figure 1

40 pages, 10781 KB  
Review
Recent Developments in Additively Manufactured Crash Boxes: Geometric Design Innovations, Material Behavior, and Manufacturing Techniques
by Ahmed Saber, A. M. Amer, A. I. Shehata, H. A. El-Gamal and A. Abd_Elsalam
Appl. Sci. 2025, 15(13), 7080; https://doi.org/10.3390/app15137080 - 24 Jun 2025
Cited by 5 | Viewed by 2570
Abstract
Crash boxes play a vital role in improving vehicle safety by absorbing collision energy and reducing the forces transmitted to occupants. Additive manufacturing (AM) has become a powerful method for developing advanced crash boxes by enabling complex geometries. This review provides a comprehensive [...] Read more.
Crash boxes play a vital role in improving vehicle safety by absorbing collision energy and reducing the forces transmitted to occupants. Additive manufacturing (AM) has become a powerful method for developing advanced crash boxes by enabling complex geometries. This review provides a comprehensive examination of recent progress in AM crash boxes, with a focus on three key aspects: geometric design innovations, material behavior, and manufacturing techniques. The review investigates the influence of various AM-enabled structural configurations, including tubular, origami-inspired, lattice, and bio-inspired designs, on crashworthiness performance. Among these, bio-inspired structures exhibit superior energy absorption characteristics, achieving a mean specific energy absorption (SEA) of 21.51 J/g. Material selection is also explored, covering polymers, fiber-reinforced polymers, metals, and multi-material structures. Metallic AM crash boxes demonstrate the highest energy absorption capacity, with a mean SEA of 28.65 J/g. In addition, the performance of different AM technologies is evaluated, including Stereolithography (SLA), Material Jetting (MJT), Selective Laser Melting (SLM), Selective Laser Sintering (SLS), Fused Deposition Modeling (FDM), and hybrid manufacturing techniques. Among these, crash boxes produced by SLM show the most favorable energy absorption performance, with a mean SEA of 16.50 J/g. The findings presented in this review offer critical insights to guide future research and development in the design and manufacturing of next-generation AM crash boxes intended to enhance vehicle safety. Full article
(This article belongs to the Section Additive Manufacturing Technologies)
Show Figures

Figure 1

26 pages, 12604 KB  
Article
Investigation of Lattice Geometries Formed by Metal Powder Additive Manufacturing for Energy Absorption: A Comparative Study on Ti6Al4V, Inconel 718, and AISI 316L
by Ömer Faruk Çakır and Mehmet Erdem
Machines 2025, 13(4), 316; https://doi.org/10.3390/machines13040316 - 13 Apr 2025
Cited by 4 | Viewed by 1599
Abstract
Impact absorbers are needed in many different areas in terms of energy absorption and crashworthiness. While the design of these structures is expected to increase mechanical performance, they are expected to be lightweight, and when evaluated in this context, lattice structures come to [...] Read more.
Impact absorbers are needed in many different areas in terms of energy absorption and crashworthiness. While the design of these structures is expected to increase mechanical performance, they are expected to be lightweight, and when evaluated in this context, lattice structures come to the fore. In this study, impact absorbers, also known as crash boxes, consisting of lattice structures designed to increase energy absorption performance were fabricated by a new manufacturing method, metal powder additive manufacturing, and their mechanical performance was experimentally investigated under quasi-static axial loading, and energy absorption data were obtained. The specimens were designed from Ti6Al4V, INC 718, and AISI 316L materials by forming 18 matrix structures with square and hexagonal geometries. According to this study, the lattice structures absorbed up to 4.5 times more energy than the shell structures of a similar material group. According to the normalized values among all samples, the hexagonal sample made of Ti6Al4V material showed 4.3 times higher energy absorption efficiency. The AISI 316L material showed the best crushing performance due to its ductile structure. Full article
(This article belongs to the Section Vehicle Engineering)
Show Figures

Figure 1

26 pages, 21567 KB  
Article
Comprehensive Optimization and Design of an Electric Vehicle Battery Box Side Profile for Lightweight and Crashworthiness Using a Novel Hybrid Structure
by Muhammet Arslan and Mehmet İhsan Karamangil
Appl. Sci. 2025, 15(4), 2037; https://doi.org/10.3390/app15042037 - 15 Feb 2025
Cited by 5 | Viewed by 2937
Abstract
Lightweighting is a critical focus in the transportation sector, directly enhancing efficiency and significantly reducing costs. In electric vehicle (EV) design, the body surrounding the battery must effectively absorb impact, especially during crashes. This study aims to improve the crash performance of the [...] Read more.
Lightweighting is a critical focus in the transportation sector, directly enhancing efficiency and significantly reducing costs. In electric vehicle (EV) design, the body surrounding the battery must effectively absorb impact, especially during crashes. This study aims to improve the crash performance of the side profiles in the battery box of an M1 category vehicle. It is based on the crash test in Annex 8D of the ECE R100 regulation. In this study, the safe displacement at which the battery will not deform is set as 20 mm, and the maximum force and energy absorption at this displacement are compared. In total, 33 different electric and hybrid vehicle models were benchmarked in this study. L-shaped geometry and aluminum materials are generally preferred; this study focuses on using glass-fiber-reinforced polymer (GFRP) pultruded profiles to make batteries more durable and lighter. The GF800 material was selected for its superior mechanical strength among glass fiber composites. A virtual tensile test verified its properties. A unique hybrid model combining honeycomb and auxetic geometries was developed, showing a crash performance improvement of ~360% over honeycomb structures and ~88% over auxetic structures. Through multi-objective optimization using artificial neural networks (ANNs), 27 models were analyzed, leading to an optimized design. The final design resulted in the battery box side profile being 23.9% lighter and 38.6% cheaper, and exhibiting a performance 3% higher. This study demonstrates significant advancements in EV safety and cost efficiency, highlighting the practical benefits of innovative material and design approaches. Full article
Show Figures

Figure 1

20 pages, 5775 KB  
Article
Frontal Impact Energy Absorbers for Passenger Cars
by Filip Dąbrowski, Zuzanna Grzejszczyk, Cezary Rzymkowski and Piotr Wiśniewski
Sensors 2024, 24(20), 6563; https://doi.org/10.3390/s24206563 - 11 Oct 2024
Cited by 4 | Viewed by 3778
Abstract
Road accidents cause considerable losses to road users and to society. The steady increase in the number of vehicles leads to increased traffic volume. Therefore, there is a real need to improve passenger safety by developing passive safety systems. This article presents the [...] Read more.
Road accidents cause considerable losses to road users and to society. The steady increase in the number of vehicles leads to increased traffic volume. Therefore, there is a real need to improve passenger safety by developing passive safety systems. This article presents the results of experimental tests of structures absorbing kinetic energy, which could be used in the front section of a vehicle in order to reduce the consequences of passenger car head-on collisions. A number of crash tests of selected structures were conducted under various load conditions. An analysis was carried out of parameters enabling the authors to assess the level of energy absorption by the absorbers made, and compare these to absorbers available on the market. The tests carried out made it possible to determine energy absorption capability of the crash boxes prepared and to identify a structure exhibiting the most advantageous properties from the point of view of its prospective use. Of all of the absorbers analysed, in the context of energy absorption, it was the absorber made of glass-fibre-reinforced polyphenylene sulphide that produced the most advantageous results. Nonetheless, favourable results were obtained for all of the structures tested. Full article
(This article belongs to the Special Issue Sensors and Systems for Automotive and Road Safety (Volume 2))
Show Figures

Figure 1

18 pages, 22798 KB  
Article
Design of a Lightweight Origami Composite Crash Box: Experimental and Numerical Study on the Absorbed Energy in Frontal Impacts
by Alberto Ciampaglia, Luca Patruno and Raffaele Ciardiello
J. Compos. Sci. 2024, 8(6), 224; https://doi.org/10.3390/jcs8060224 - 14 Jun 2024
Cited by 8 | Viewed by 4165
Abstract
Origami-shaped composite structures are currently being explored for their ability to absorb energy in a progressive and controlled manner. In vehicle passive safety applications, this prevents the occurrence of peak forces that could potentially cause injuries to vehicle passengers. The work presents the [...] Read more.
Origami-shaped composite structures are currently being explored for their ability to absorb energy in a progressive and controlled manner. In vehicle passive safety applications, this prevents the occurrence of peak forces that could potentially cause injuries to vehicle passengers. The work presents the design of a carbon fiber-reinforced polymer (CFRP) crash box for a Formula Student race car, using a numerical model validated by experimental tests. An initial characterization of the material is conducted according to the standards. Following, six origami samples are manufactured and subjected to crash tests to gather accurate experimental data. The numerical model is validated on the tests and used for the design of the race car’s impact attenuator. The designed crash box meets the Formula Student requirements while reducing the total mass by 14% and the maximum deceleration of 21% compared with the previous design. The study confirms the potential use of origami structures to improve crashworthiness while reducing vehicle weight. Full article
Show Figures

Figure 1

32 pages, 22322 KB  
Article
Enhanced Energy Absorption with Bioinspired Composite Triply Periodic Minimal Surface Gyroid Lattices Fabricated via Fused Filament Fabrication (FFF)
by Dawit Bogale Alemayehu and Masahiro Todoh
J. Manuf. Mater. Process. 2024, 8(3), 86; https://doi.org/10.3390/jmmp8030086 - 23 Apr 2024
Cited by 15 | Viewed by 5526
Abstract
Bio-inspired gyroid triply periodic minimum surface (TPMS) lattice structures have been the focus of research in automotive engineering because they can absorb a lot of energy and have wider plateau ranges. The main challenge is determining the optimal energy absorption capacity and accurately [...] Read more.
Bio-inspired gyroid triply periodic minimum surface (TPMS) lattice structures have been the focus of research in automotive engineering because they can absorb a lot of energy and have wider plateau ranges. The main challenge is determining the optimal energy absorption capacity and accurately capturing plastic plateau areas using finite element analysis (FEA). Using nTop’s Boolean subtraction method, this study combined walled TPMS gyroid structures with a normal TPMS gyroid lattice. This made a composite TPMS gyroid lattice (CTG) with relative densities ranging from 14% to 54%. Using ideaMaker 4.2.3 (3DRaise Pro 2) software and the fused deposition modeling (FDM) Raise3D Pro 2 3D printer to print polylactic acid (PLA) bioplastics in 1.75 mm filament made it possible to slice computer-aided design (CAD) models and fabricate 36 lattice samples precisely using a layer-by-layer technique. Shimadzu 100 kN testing equipment was utilized for the mechanical compression experiments. The finite element approach validates the results of mechanical compression testing. Further, a composite CTG was examined using a field emission scanning electron microscope (FE-SEM) before and after compression testing. The composite TPMS gyroid lattice showed potential as shock absorbers for vehicles with relative densities of 33%, 38%, and 54%. The Gibson–Ashby model showed that the composite TPMS gyroid lattice deformed mainly by bending, and the size effect was seen when the relative densities were less than 15%. The lattice’s relative density had a significant impact on its ability to absorb energy. The research also explored the use of these innovative foam-like composite TPMS gyroid lattices in high-speed crash box scenarios to potentially enhance vehicle safety and performance. The structures have tremendous potential to improve vehicle safety by acting as advanced shock absorbers, which are particularly effective at higher relative densities. Full article
(This article belongs to the Special Issue Lattice Structure and Metamaterial Design for Additive Manufacturing)
Show Figures

Figure 1

18 pages, 11701 KB  
Article
Examining the Impact of Intermediate Cooling on Mechanical Properties of 22MnB5 in a Tailored Tempering Process
by Alborz Reihani, Sebastian Heibel, Thomas Schweiker and Marion Merklein
J. Manuf. Mater. Process. 2024, 8(1), 5; https://doi.org/10.3390/jmmp8010005 - 26 Dec 2023
Cited by 1 | Viewed by 3221
Abstract
Tailoring the properties of hot-stamped components offers the potential to enhance crash performance while simultaneously improving downstream joining processes. In recent years, an innovative technology suited for achieving tailored properties involving the utilization of a specialized furnace chamber, known as the TemperBox® [...] Read more.
Tailoring the properties of hot-stamped components offers the potential to enhance crash performance while simultaneously improving downstream joining processes. In recent years, an innovative technology suited for achieving tailored properties involving the utilization of a specialized furnace chamber, known as the TemperBox®, has been introduced. Within this chamber, a cooled aluminum mask shields specific areas of the blank from incoming heat radiation and concurrently absorbs the blank’s own radiation. The duration of the heat radiation exchange can influence the diffusion-dependent phase transformation and, consequently, the resulting mechanical properties. Hence, the intermediate cooling duration assumes a pivotal role as a parameter, as is investigated in this study. To examine the effects, specimens of the steel 22MnB5 AS150 are subjected to intermediate cooling of varying durations, followed by forming and partial quenching. The temperature profile of the blank during intermediate cooling prior to forming and quenching is analyzed. Subsequently, the tailored hot-stamped components are assessed for hardness, strength, ductility, and thickness strain. The study reveals that with increasing duration of partial intermediate cooling and targeted radiation exchange, a homogeneous ferritic–pearlitic structure is formed from an austenitic structure. This uniform structure of ferrite and pearlite is reflected in lower hardness and strength values, along with improved ductility. Additionally, this paper introduces a simulation methodology designed to calculate the dynamics of thermal radiation and the kinetics of phase transformation. Full article
Show Figures

Figure 1

20 pages, 15503 KB  
Article
Fused-Deposition Modeling 3D Printing of Short-Cut Carbon-Fiber-Reinforced PA6 Composites for Strengthening, Toughening, and Light Weighting
by Bin Sun, Suhail Mubarak, Guocun Zhang, Kangming Peng, Xueling Hu, Qia Zhang, Lixin Wu and Jianlei Wang
Polymers 2023, 15(18), 3722; https://doi.org/10.3390/polym15183722 - 11 Sep 2023
Cited by 29 | Viewed by 6780
Abstract
Additive manufacturing of carbon-fiber-reinforced polymer (CFRP) has been widely used in many fields. However, issues such as inconsistent fiber orientation distribution and void formation during the layer stacking process have hindered the further optimization of the composite material’s performance. This study aimed to [...] Read more.
Additive manufacturing of carbon-fiber-reinforced polymer (CFRP) has been widely used in many fields. However, issues such as inconsistent fiber orientation distribution and void formation during the layer stacking process have hindered the further optimization of the composite material’s performance. This study aimed to address these challenges by conducting a comprehensive investigation into the influence of carbon fiber content and printing parameters on the micro-morphology, thermal properties, and mechanical properties of PA6-CF composites. Additionally, a heat treatment process was proposed to enhance the interlayer bonding and tensile properties of the printed composites in the printing direction. The experimental results demonstrate that the PA6-CF25 composite achieved the highest tensile strength of 163 MPa under optimal heat treatment conditions: 120 °C for 7.5 h. This corresponds to a significant tensile strength enhancement of 406% compared to the unreinforced composites, which represents the highest reported improvement in the current field of CFRP-fused deposition 3D printing. Additionally, we have innovatively developed a single-layer monofilament CF-OD model to quantitatively analyze the influence of fiber orientation distribution on the properties of the composite material. Under specific heat treatment conditions, the sample exhibits an average orientation angle μ of 0.43 and an orientation angle variance of 8.02. The peak frequency of fiber orientation closely aligns with 0°, which corresponds to the printing direction. Finally, the study explored the lightweight applications of the composite material, showcasing the impressive specific energy absorption (SEA) value of 17,800 J/kg when implementing 3D-printed PA6-CF composites as fillers in automobile crash boxes. Full article
(This article belongs to the Collection Polyimide)
Show Figures

Figure 1

17 pages, 9347 KB  
Article
Enhanced Predictive Model for the Mechanical Response of Compression-Loaded Slender Structures
by Cristiano Fragassa and Ana Pavlovic
Metals 2023, 13(7), 1286; https://doi.org/10.3390/met13071286 - 17 Jul 2023
Viewed by 1398
Abstract
The study of the behavior of thin metal sheets subjected to external loads has always been a matter of great interest due to its numerous theoretical and practical implications. The present analysis aims to investigate how to improve the predictions offered by a [...] Read more.
The study of the behavior of thin metal sheets subjected to external loads has always been a matter of great interest due to its numerous theoretical and practical implications. The present analysis aims to investigate how to improve the predictions offered by a numerical model based on the finite element method by considerations on the material properties. Specifically, different modeling alternatives are compared, assessing these choices both with the similar assumptions made by other researchers in the past and with measurements from our own experimentation. The case under consideration consists of a slender, aluminum crash-box structure (a bumper) with a truncated pyramid shape subjected to a concentrated load on the top (axial crushing) up to a 46% reduction in its height. The system is characterized by high deformations (>15%) and large displacements. This presents a complex situation with various nonlinear effects, where the chosen assumptions in material modeling can have significant implications for the results, both in terms of accuracy and computational time. Among the investigated aspects, of no less importance are those related to the appropriate modeling of the elasto-plastic-hardening behavior of the metallic material. Full article
Show Figures

Figure 1

19 pages, 5703 KB  
Article
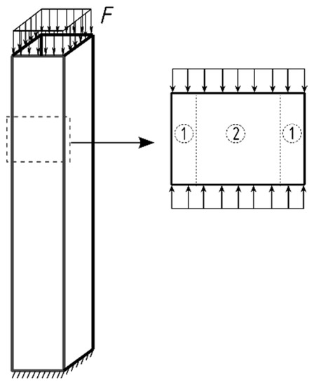
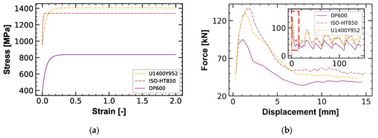
Potential of Integrated Component-Driven Material Design to Improve Crash Box Performance
by Nima Jafarzadeh-Aghdam, Yannik Sparrer, Jannik Zimmermann, Konrad Arno Gregor Mäde, Rahul Sharma, Kai-Uwe Schröder and Sebastian Münstermann
Metals 2023, 13(5), 915; https://doi.org/10.3390/met13050915 - 8 May 2023
Cited by 5 | Viewed by 2573
Abstract
The crushing of crash boxes is a complex phenomenon characterized by a strong interaction of structural and material properties. Many attempts to improve their energy absorption by adopting one aspect resulted in unacceptable unprogressive bucking. Thus, special considerations are required for crash box [...] Read more.
The crushing of crash boxes is a complex phenomenon characterized by a strong interaction of structural and material properties. Many attempts to improve their energy absorption by adopting one aspect resulted in unacceptable unprogressive bucking. Thus, special considerations are required for crash box optimization including both material and structural effects. In this study, the structural behavior of the crash box is analyzed and a new design approach is introduced to fulfill these requirements. Currently, components, processes, and materials are mainly developed independently. However, to exploit the full potential of modern materials in component design, integrative development work is necessary. Component performance-based requirements and corresponding local material properties must be taken into account concurrently. In this work, a component-driven material design approach is presented, in which local-material-property requirements are derived from component simulations. This new approach is demonstrated by the use case of a quasistatically deformed crash box produced out of steel DP600 for the optimization target “energy absorption”. The finite element simulations were carried out on the crash box, and required material properties for improving the crash box performance were derived based on the simulations. Heat treatment strategies were developed afterwards and experimentally validated to fulfill these requirements. The finite element (FE) simulations based on the experimentally extracted material properties reveal the potential of the component-driven material design approach to improve the crash box performance. The introduced approach enables exploiting the full energy-absorption capacity of the material while ensuring the desired service behavior of the component. Full article
Show Figures

Figure 1

17 pages, 5360 KB  
Article
Reduced-Order Model Based on Volterra Series for Aerodynamics of the Bridge Deck Section and Flutter Critical Wind Speed Prediction
by Ziran Wei, Zhiwen Liu and Fawei He
Appl. Sci. 2023, 13(6), 3486; https://doi.org/10.3390/app13063486 - 9 Mar 2023
Cited by 6 | Viewed by 2227
Abstract
This study proposes a novel reduced-order model (ROM), based on the Volterra series, for the aerodynamic force of the bridge deck section. Moreover, the ROM of the aerodynamic force of the streamlined box girder section of the Great Belt East Bridge (GBEB) is [...] Read more.
This study proposes a novel reduced-order model (ROM), based on the Volterra series, for the aerodynamic force of the bridge deck section. Moreover, the ROM of the aerodynamic force of the streamlined box girder section of the Great Belt East Bridge (GBEB) is identified with computational fluid dynamic (CFD) simulations. Furthermore, an analysis method combining ROM aerodynamic force and Newmark-β integration is established to simulate the aeroelastic responses of the bridge deck section. Finally, the wind-induced vibration responses of the GBEB section are calculated near the flutter critical wind speed based on the Volterra series-based aeroelastic analysis and the fluid–structure interaction (FSI) numerical simulations in ANSYS Fluent, respectively. Moreover, to verify the applicability of the proposed method, the aeroelastic responses of the main deck section with the crash barriers of Lingdingyang Bridge (LDYB) are also simulated via the Volterra model and Newmark-β integration near the flutter critical wind speed. The results show that the first-order truncated Volterra model established in this study can accurately capture the aerodynamic response of the main girder, and the results are in good agreement with those of the CFD numerical simulation under forced vibration. Furthermore, the proposed method combined with ROM aerodynamic force and Newmark-β integration can effectively calculate the FSI of the bridge girder. The numerical results of the flutter critical wind speed and flutter frequency of GBEB and LDYB are consistent with the numerical results by the FSI method based on ANSYS Fluent and the existing numerical and experimental results, respectively. Full article
(This article belongs to the Section Civil Engineering)
Show Figures

Figure 1

15 pages, 5366 KB  
Article
Study on the Effect of Geometrical Parameters of a Hexagonal Trigger on Energy Absorber Performance Using ANN
by Michał Rogala, Jakub Gajewski and Marcin Górecki
Materials 2021, 14(20), 5981; https://doi.org/10.3390/ma14205981 - 11 Oct 2021
Cited by 19 | Viewed by 2238
Abstract
Thin-walled structures are commonly used as energy absorbers in motor vehicles. Their function is to protect the structural components of vehicles and to absorb energy completely during collisions up to 20 km/h. This paper focuses on maintaining crush axiality during research. To verify [...] Read more.
Thin-walled structures are commonly used as energy absorbers in motor vehicles. Their function is to protect the structural components of vehicles and to absorb energy completely during collisions up to 20 km/h. This paper focuses on maintaining crush axiality during research. To verify the numerical analyses, physical specimens were made and then subjected to dynamic crushing. Force and shortening values as well as high-speed camera images were used for data analysis. Through time-lapse shots, plastic deformation within the crush initiator was observed. Such detailed analysis allowed the determination of the influence of hexagonal triggers in the form of notches on the post-buckling progressive analysis. In this paper, neural networks were used to examine the importance of each variable. Data from numerical analyses were used for this purpose. Based on the analyses performed, the effects of both the width and height of the triggers on the crush load efficiency (CLE) and total efficiency (TE) ratios can be seen. The width of the crush initiator has the greatest influence on Crash-box performance. Nevertheless, increasing both the height and the width of the initiator can result in crush non-axiality and underperformance of the energy absorber. Full article
(This article belongs to the Special Issue Impact Damage and Mechanical Analysis of Thin-Walled Composites)
Show Figures

Figure 1

Back to TopTop