Sign in to use this feature.

Years

Between: -

Subjects

remove_circle_outline
remove_circle_outline
remove_circle_outline
remove_circle_outline
remove_circle_outline
remove_circle_outline

Journals

Article Types

Countries / Regions

Search Results (32)

Search Parameters:
Keywords = continuously variable transmission (CVT) systems

Order results
Result details
Results per page
Select all
Export citation of selected articles as:
20 pages, 2586 KB  
Article
Design and Multi-Mode Operational Analysis of a Hybrid Wind Energy Storage System Integrated with CVT and Electromechanical Flywheel
by Tao Liu, Sung-Ki Lyu, Zhen Qin, Dongseok Oh and Yu-Ting Wu
Machines 2026, 14(1), 81; https://doi.org/10.3390/machines14010081 - 9 Jan 2026
Viewed by 211
Abstract
To address the lack of inertia in full-power converter wind turbines and the inability of existing mechanical speed regulation technologies to achieve power smoothing without converters, this paper proposes a novel hybrid wind energy storage system integrating a Continuously Variable Transmission (CVT) and [...] Read more.
To address the lack of inertia in full-power converter wind turbines and the inability of existing mechanical speed regulation technologies to achieve power smoothing without converters, this paper proposes a novel hybrid wind energy storage system integrating a Continuously Variable Transmission (CVT) and an electromechanical flywheel. This system establishes a cascaded topology featuring “CVT-based source-side speed regulation and electromechanical flywheel-based terminal power stabilization.” By utilizing the CVT for speed decoupling and introducing the flywheel via a planetary differential branch, the system retains physical inertia by eliminating large-capacity converters and overcomes the bottleneck of traditional mechanical transmissions, which struggle to balance constant frequency with stable power output. Simulation results demonstrate that the proposed system reduces the active power fluctuation range by 47.60% compared to the raw wind power capture. Moreover, the required capacity of the auxiliary motor is only about 15% of the rated power, reducing the reliance on power electronic converters by approximately 85% compared to full-power converter systems. Furthermore, during a grid voltage dip of 0.6 p.u., the system restricts rotor speed fluctuations to within 0.5%, significantly enhancing Low Voltage Ride-Through (LVRT) capability. Full article
(This article belongs to the Section Electromechanical Energy Conversion Systems)
Show Figures

Figure 1

18 pages, 4475 KB  
Article
Electromagnetic Continuously Variable Transmission (EMCVT) System for Precision Torque Control in Human-Centered Robotic Applications
by Ishara Madusankha, Prageeth Nimantha Jayaweera, Nipun Shantha Kahatapitiya, Peshan Sampath, Ashan Weeraratne, Kasun Subasinghage, Chamara Liyanage, Akila Wijethunge, Naresh Kumar Ravichandran and Ruchire Eranga Wijesinghe
Appl. Mech. 2025, 6(3), 69; https://doi.org/10.3390/applmech6030069 - 8 Sep 2025
Viewed by 1940
Abstract
In human-centered robotic applications, safety, efficiency, and adaptability are critical for enabling effective interaction and performance. Incorporating electromagnetic continuously variable transmission (EM-CVT) systems into robotic designs enhances both safety and precise, adaptable motion control. The flexible power transmission offered by CVTs allows robots [...] Read more.
In human-centered robotic applications, safety, efficiency, and adaptability are critical for enabling effective interaction and performance. Incorporating electromagnetic continuously variable transmission (EM-CVT) systems into robotic designs enhances both safety and precise, adaptable motion control. The flexible power transmission offered by CVTs allows robots to operate across diverse environments, supporting various tasks, human interaction, and safe collaboration. This study presents a CVT-based mechanical subsystem developed using two cones and an intermediate belt-driven transmission mechanism, providing efficient power and motion transfer. The control subsystem consists of six strategically positioned electromagnets energized by signals from a microcontroller. This electromagnetic actuation enables rapid and precise adjustments to the transmission ratio, enhancing overall system performance. A linear relationship between slip percentage and gear ratio was observed, indicating that the control system achieves stable and efficient operation, with a measured power consumption of 2.95 W per electromagnet. Future work will focus on validating slip performance under dynamic loading conditions, integrating the system into robotic platforms, and optimizing materials and control strategies to enable broader real-world deployment. Full article
Show Figures

Figure 1

36 pages, 13393 KB  
Article
An Improved Design of a Continuously Variable Transmission Based on Circumferentially Arranged Disks for Enhanced Efficiency in the Low Torque Region
by Muhammad Bilal, Qidan Zhu, Shafiq R. Qureshi, Ghulam Farid, Ahsan Elahi, Muhammad Kashif Nadeem and Sartaj Khan
Actuators 2025, 14(5), 253; https://doi.org/10.3390/act14050253 - 19 May 2025
Viewed by 1249
Abstract
A continuously variable transmission can improve the energy efficiency of actuators with rotary output by providing an optimum transmission ratio. A continuously variable transmission based on circumferentially arranged disks (CAD CVT) is a new type of CVT that is highly beneficial for applications [...] Read more.
A continuously variable transmission can improve the energy efficiency of actuators with rotary output by providing an optimum transmission ratio. A continuously variable transmission based on circumferentially arranged disks (CAD CVT) is a new type of CVT that is highly beneficial for applications requiring large torques, like heavy road transport. However, its major drawback is that its efficiency drops in the low torque region. To overcome this problem, the current paper proposes an improved mechanical design in which the force on traction disks is changed according to the instantaneous torque requirement, thus resulting in improved efficiency in low torque regions. Furthermore, a hydraulic-actuation-based control system has been designed to ensure the optimum control of the improved mechanical design. The improved mechanical design of the CAD CVT is named CAD CVT-II, which is highly beneficial for variable torque applications such as road transport and wind turbines. Full article
(This article belongs to the Section Actuators for Surface Vehicles)
Show Figures

Figure 1

18 pages, 931 KB  
Article
Dynamic Analysis and Resonance Control of a Tunable Pendulum Energy Harvester Using Cone-Based Continuously Variable Transmission
by Chattarika Uttachee, Surat Punyakaew, Nghia Thi Mai, Md Abdus Samad Kamal, Iwanori Murakami and Kou Yamada
Machines 2025, 13(5), 365; https://doi.org/10.3390/machines13050365 - 29 Apr 2025
Cited by 1 | Viewed by 3456
Abstract
This paper investigates the design and performance of a tunable pendulum energy harvester (TPEH) integrated with cone continuously variable transmission (CVT) to enhance energy harvesting efficiency in broadband and non-stationary vibrational environments. The cone CVT mechanism enables the tunability of the harvester’s natural [...] Read more.
This paper investigates the design and performance of a tunable pendulum energy harvester (TPEH) integrated with cone continuously variable transmission (CVT) to enhance energy harvesting efficiency in broadband and non-stationary vibrational environments. The cone CVT mechanism enables the tunability of the harvester’s natural frequency, allowing it to dynamically adapt and maintain resonance across varying excitation frequencies. A specific focus is placed on the system’s behavior under chirp signal base excitation, which simulates a time-varying frequency environment. Experimental and analytical approaches are employed to evaluate the system’s dynamic response, energy output, and frequency adaptation capabilities. The results demonstrate that the proposed TPEH system achieves significant energy harvesting performance improvements by leveraging the cone CVT to optimize power generation under resonance conditions. The system is also shown to be effective in maintaining stable operation over a wide range of frequencies, demonstrating its versatility for real-world vibrational energy harvesting applications. This research highlights the importance of tunability in energy harvesting systems and the role of mechanical transmission mechanisms in improving adaptability. The proposed design has strong potential for applications in environments with non-stationary vibrations, such as transportation systems, industrial machinery, and infrastructure monitoring. Full article
(This article belongs to the Section Electromechanical Energy Conversion Systems)
Show Figures

Figure 1

22 pages, 1433 KB  
Article
Investigation and Optimization of Energy Consumption for Hybrid Hydraulic Excavator with an Innovative Powertrain
by Van Hien Nguyen, Tri Cuong Do and Kyoung Kwan Ahn
Actuators 2023, 12(10), 382; https://doi.org/10.3390/act12100382 - 10 Oct 2023
Cited by 12 | Viewed by 3391
Abstract
This paper presents an innovative powertrain design and an energy regeneration system for hybrid hydraulic excavators to reduce energy consumption and emissions. The proposed system is designed to maximize engine efficiency and make full use of the energy gained from boom and arm [...] Read more.
This paper presents an innovative powertrain design and an energy regeneration system for hybrid hydraulic excavators to reduce energy consumption and emissions. The proposed system is designed to maximize engine efficiency and make full use of the energy gained from boom and arm retraction. The powertrain features an innovative design that incorporates a continuously variable transmission (CVT), which drives the main pump. It enables precise control of both the engine’s speed and torque, ensuring that the engine operates within the high-efficiency range. The energy regeneration system is applied to regenerate the potential energy of the boom and arm, which can be used to either charge the battery or directly supply power to the main pump. Moreover, an energy management strategy based on an equivalent consumption minimization strategy is used to distribute the power while offering maximum engine efficiency. When compared with the existing hybrid system and conventional system, the simulation results indicated that the proposed approach achieves energy-saving efficiencies of 16.9% and 77.1%, respectively, at high velocities and 22.25% and 53.5%, respectively, at medium velocities. This research signifies a promising advancement for sustainable and efficient hydraulic excavator operations. Full article
(This article belongs to the Special Issue Innovative and Intelligent Actuation for Heavy-Duty Applications)
Show Figures

Figure 1

18 pages, 4198 KB  
Article
Configuration Design and Optimal Energy Management for Coupled-Split Powertrain Tractor
by Haishi Dou, Hongqian Wei, Youtong Zhang and Qiang Ai
Machines 2022, 10(12), 1175; https://doi.org/10.3390/machines10121175 - 7 Dec 2022
Cited by 18 | Viewed by 2770
Abstract
High-power tractors are regarded as effective operation tools in agriculture, and plugin hybrid tractors have shown potential as agricultural machinery, due to their wide application in energy conservation. However, the allocation of the output power of the motors and engine is a challenging [...] Read more.
High-power tractors are regarded as effective operation tools in agriculture, and plugin hybrid tractors have shown potential as agricultural machinery, due to their wide application in energy conservation. However, the allocation of the output power of the motors and engine is a challenging task, given that the energy management strategy (EMS) is nonlinearly constrained. On the other hand, the structure of the continuous variable transmission (CVT) system is complicated, and affects the price of tractors. In this paper, a variable configuration of a tractor that could have the same performance as a complex CVT system is proposed. To address the EMS issues that have shown poor performance in real time, where the programming runs online, firstly a demand power prediction algorithm is proposed in a rotary tillage operation mode. Secondly, an equivalent fuel consumption minimization strategy (ECMS) is used to optimize the power distribution between the engine and the motors. In addition, the equivalent factor is optimized with an offline genetic algorithm. Thirdly, the equivalent factor is converted into a lookup table, and is used for an online power distribution with different driving mileages and state-of-charge (SOC). The simulation results indicate that the equivalent fuel consumption is reduced by 8.4% and extends the operating mileage of pure electric power. Furthermore, the error between the actual and forecasted demand power is less than 1%. The online EMS could improve the mileage of the tractor working cycle with a more feasible fuel economy based on demand power predictions. Full article
(This article belongs to the Topic Vehicle Dynamics and Control)
Show Figures

Figure 1

10 pages, 3372 KB  
Article
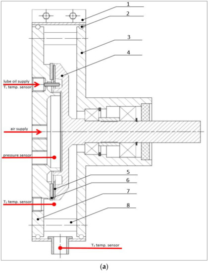
Experimental Study of Drag Torque between Wet Clutch Discs
by Jarosław Goszczak, Jacek Leyko, Grzegorz Mitukiewicz and Damian Batory
Appl. Sci. 2022, 12(8), 3900; https://doi.org/10.3390/app12083900 - 12 Apr 2022
Cited by 10 | Viewed by 3487
Abstract
The development of automatic gearbox control systems contributes to their increasing popularity. By raising the number of gears and sophisticated algorithms, the reduction of fuel consumption is feasible regarding traditional manual transmissions. The continuously variable transmissions (CVT) are also growing their share of [...] Read more.
The development of automatic gearbox control systems contributes to their increasing popularity. By raising the number of gears and sophisticated algorithms, the reduction of fuel consumption is feasible regarding traditional manual transmissions. The continuously variable transmissions (CVT) are also growing their share of the market. Wet clutches are employed in all types of automatic transmissions, but because of oil viscosity, when such a type of clutch is disengaged, the drag torque phenomenon occurs. This deteriorates the global efficiency of the transmission system. To recognize the nature of this drag torque and how it is influenced by the main parameters (distance between plates, value of oil flow rate lubricating clutch, oil temperature, rotational speed between plates), a new test stand has been designed and assembled. The value of rotational speed has been studied up to 7000 rpm which is novel in literature. Due to strongly nonlinear dependences, the achieved results can contribute to designing more efficient clutch systems due to the strongly nonlinear nature of observed phenomena. Full article
(This article belongs to the Section Mechanical Engineering)
Show Figures

Figure 1

22 pages, 883 KB  
Article
Comparative Analysis of Hybrid Electric Architectures for Specialized Agricultural Tractors
by Francesco Mocera, Valerio Martini and Aurelio Somà
Energies 2022, 15(5), 1944; https://doi.org/10.3390/en15051944 - 7 Mar 2022
Cited by 48 | Viewed by 5230
Abstract
In this work, a comparative numerical analysis between the performance of a conventional specialized orchard tractor and those of three different hybrid electric tractor configurations is presented. The aim was to compare several powertrain configurations in the same working scenarios derived from field [...] Read more.
In this work, a comparative numerical analysis between the performance of a conventional specialized orchard tractor and those of three different hybrid electric tractor configurations is presented. The aim was to compare several powertrain configurations in the same working scenarios derived from field measurements. Peak power capabilities and endurance were numerically tested with specific load scenarios involving both transportation mission profiles and field activities with external implements powered through the power take off of the tractor. The proposed hybrid architectures were configured with the same battery-based energy storage system to perform the comparison with the same energy storage capabilities. Two parallel, two series and one electro-hydraulic hybrid configuration were modeled and tested through simulations. The parallel ones excelled in peak power performance, whereas the series configurations had the highest fuel savings. The electro-hydraulic configuration was proposed as an alternative able to allow for a downsized engine but also for the introduction of the Continuously Variable Transmission (CVT) functionality, which is always an interesting feature for such working machines. Full article
(This article belongs to the Special Issue Frontiers in Hybrid Vehicles)
Show Figures

Figure 1

19 pages, 945 KB  
Article
Numerical Performance Investigation of a Hybrid eCVT Specialized Agricultural Tractor
by Francesco Mocera and Valerio Martini
Appl. Sci. 2022, 12(5), 2438; https://doi.org/10.3390/app12052438 - 25 Feb 2022
Cited by 30 | Viewed by 4338
Abstract
The need for highly efficient agricultural machineries is increasing the interest of the research community and of industrial manufacturers towards the use of integrated electric systems in combination with traditional powertrain elements. In this work, a hybrid electric tractor with electric continuously variable [...] Read more.
The need for highly efficient agricultural machineries is increasing the interest of the research community and of industrial manufacturers towards the use of integrated electric systems in combination with traditional powertrain elements. In this work, a hybrid electric tractor with electric continuously variable transmission (eCVT) capabilities was studied to investigate their performance in comparison with that of traditional diesel-powered tractor designs. This hybrid electric configuration can be classified as a power-split architecture that aims to combine the best characteristics of both the simpler parallel and the series hybrid layout while minimizing their main drawbacks. An eCVT configuration can allow for optimizing the diesel operating point with respect to the current working conditions, and achieving peak power performance and energy saving with relatively small electric machines. The proposed hybrid eCVT (HeCVT) tractor architecture was studied using a numerical model that allowed for developing two different control strategies: a charge depleting mode enabling the driver to use full power for the most power-intensive scenarios and a charge sustaining mode developed to optimize efficiency and battery use along an entire work day. To test the proposed architecture, several tasks derived from experimental field measurements on a specialized agricultural tractor were used. HeCVT results were compared with a numerical model of the traditional tractor validated by these experimental data. The HeCVT tractor showed good performance in terms of peak power capabilities using a downsized diesel engine, and consistent fuel savings were obtained according to typical daily working scenarios. Full article
(This article belongs to the Special Issue Frontiers in Hybrid Vehicles Powertrain)
Show Figures

Figure 1

14 pages, 6857 KB  
Article
A 3D-Printed Continuously Variable Transmission for an Electric Vehicle Prototype
by Marcos R. C. Coimbra, Társis P. Barbosa and César M. A. Vasques
Machines 2022, 10(2), 84; https://doi.org/10.3390/machines10020084 - 24 Jan 2022
Cited by 9 | Viewed by 5513
Abstract
This paper aims to present the design of a new 3D-printed continuously variable transmission (CVT) developed for an electric vehicle prototype competing in Shell Eco-marathon electric battery category, a world-wide energy efficiency competition sponsored by Shell. The proposed system is composed of a [...] Read more.
This paper aims to present the design of a new 3D-printed continuously variable transmission (CVT) developed for an electric vehicle prototype competing in Shell Eco-marathon electric battery category, a world-wide energy efficiency competition sponsored by Shell. The proposed system is composed of a polymeric conic geared friction wheel assembled in the motor axle and directly coupled to the rear tire of the vehicle. The conical shape allows to implement a continuous variation of the geared friction wheel diameter in contact with the tire. The motor with the geared friction wheel was mounted over a board with linear bearings, allowing the speed ratio to change by moving the board laterally. A computational simulation model of a prototype electric vehicle with the proposed 3D-printed CVT was created in Matlab/Simulink environment to obtain the traction force in the geared friction wheel and also to analyze the vehicle performance. The simulation results demonstrated possibilities of increasing vehicle speed range output and available torque in the rear traction wheel. Also, it is shown with the simulated model that the designed CVT consumes 10.46% less energy than a fixed transmission ratio, demonstrating the CVT concept’s potential for battery consumption reduction. Lastly, a 3D-printing slicing software with an optimization algorithm plug-in was used to determine the best printing parameters for the conic geared friction wheel based on the tangential force, maximum displacement and safety factor. When compared to the original part with a 100% infill density, the optimized solution reduced the component mass by about 12% while maintaining safe mechanical resistance and stiffness. Full article
(This article belongs to the Special Issue 3D-Printed Machine Elements and Mechanical Devices)
Show Figures

Figure 1

15 pages, 4022 KB  
Article
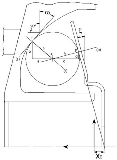
Kinematic Analysis of V-Belt CVT for Efficient System Development in Motorcycle Applications
by Vincenzo La Battaglia, Alessandro Giorgetti, Stefano Marini, Gabriele Arcidiacono and Paolo Citti
Machines 2022, 10(1), 16; https://doi.org/10.3390/machines10010016 - 24 Dec 2021
Cited by 4 | Viewed by 11258
Abstract
Continuous variable transmission (CVT) is a widely used technology for two-wheeler applications due to its cost-effectiveness, lightweight, and reduced size. This kind of transmission involves the accurate matching of the system with the engine characteristics. This paper analyzes the typical design procedure used [...] Read more.
Continuous variable transmission (CVT) is a widely used technology for two-wheeler applications due to its cost-effectiveness, lightweight, and reduced size. This kind of transmission involves the accurate matching of the system with the engine characteristics. This paper analyzes the typical design procedure used to develop the transmission system and evaluates the current approach’s critical issues. The paper aims to identify a possible path to improve the system and its customization capacity. It is identified that the critical design stage is the identification of the correct sliding profile for the half pulley of the front assembly of the system. Then, the geometrical parameters of the transmission are accurately identified through a detailed kinematic analysis. The presented kinematic analysis is propaedeutic for developing a mathematical model that defines the rollers’ sliding profile according to the vehicle’s performance. Full article
(This article belongs to the Section Vehicle Engineering)
Show Figures

Figure 1

23 pages, 11721 KB  
Article
A Hybrid–Electric Driveline for Agricultural Tractors Based on an e-CVT Power-Split Transmission
by Claudio Rossi, Davide Pontara, Carlo Falcomer, Marco Bertoldi and Riccardo Mandrioli
Energies 2021, 14(21), 6912; https://doi.org/10.3390/en14216912 - 21 Oct 2021
Cited by 39 | Viewed by 6196
Abstract
This paper proposes a full-hybrid driveline based on an electric continuously variable transmission (e-CVT), which is inspired by the car industry’s most successful solution. The paper describes the operating principle, the system architecture, and the control scheme of the proposed driveline. An analysis [...] Read more.
This paper proposes a full-hybrid driveline based on an electric continuously variable transmission (e-CVT), which is inspired by the car industry’s most successful solution. The paper describes the operating principle, the system architecture, and the control scheme of the proposed driveline. An analysis of four possible operating modes shows that the e-CVT driveline leads to a performance similar to that of conventional tractors, as well as unusual features such as power boost, full-electric mode, optimized auxiliary drive and electric power delivery capability. The compact layout proposed for the e-CVT also makes it possible to simplify the overall layout of the tractor, particularly during the installation of both the thermal engine and the cooling system. Full article
Show Figures

Figure 1

7 pages, 2733 KB  
Proceeding Paper
Preliminary Design and Validation of a 3D-Printed Continuously Variable Transmission for an Electric Vehicle Prototype
by Marcos R. C. Coimbra, Társis P. Barbosa and César M. A. Vasques
Eng. Proc. 2021, 11(1), 11; https://doi.org/10.3390/ASEC2021-11178 - 15 Oct 2021
Cited by 2 | Viewed by 1923
Abstract
This article discusses the progress made in developing a new 3D-printed continuously variable transmission (CVT) for an electric vehicle (EV) prototype competing in the Shell Eco-marathon electric battery category, a global energy efficiency competition sponsored by Shell. The proposed system is composed of [...] Read more.
This article discusses the progress made in developing a new 3D-printed continuously variable transmission (CVT) for an electric vehicle (EV) prototype competing in the Shell Eco-marathon electric battery category, a global energy efficiency competition sponsored by Shell. The proposed system is composed of a polymeric conic gear assembled in the motor axle and directly coupled to the rear tire of the vehicle. The conical shape allows to implement a continuous variation of the gear diameter in contact with the tire. The motor with the gear was mounted over a board with linear bearings, allowing the speed ratio to change by moving the board laterally. A 3D-printing slicing software with an optimization algorithm plug-in was used to determine the best printing parameters for the conic gear based on the tangential force, maximum displacement and safety factor. When compared to the original part with a 100% infill density, the optimized solution reduced the component mass by about 12% while maintaining safe mechanical resistance and stiffness. Full article
(This article belongs to the Proceedings of The 2nd International Electronic Conference on Applied Sciences)
Show Figures

Figure 1

12 pages, 3488 KB  
Article
Performance Evaluation of a Compound Power-Split CVT for Hybrid Powertrains
by Giacomo Mantriota, Giulio Reina and Angelo Ugenti
Appl. Sci. 2021, 11(18), 8749; https://doi.org/10.3390/app11188749 - 20 Sep 2021
Cited by 6 | Viewed by 4661
Abstract
The Power-Split Continuously Variable Transmission is one of the most promising architectures for Hybrid Electric Vehicles. These systems have been introduced to improve vehicle global efficiency since they can maximize the efficiency in varying operating conditions. During the design stage, the availability of [...] Read more.
The Power-Split Continuously Variable Transmission is one of the most promising architectures for Hybrid Electric Vehicles. These systems have been introduced to improve vehicle global efficiency since they can maximize the efficiency in varying operating conditions. During the design stage, the availability of modeling tools would play a key role in achieving optimal design and control of these architectures. In this work, a compound power split device that combines an electric Continuously Variable Transmission with two planetary gear trains is analyzed. A comprehensive model is derived that allows the different power flow configurations to be evaluated given the properties of the single subcomponents of the system. The efficiency of the powertrain can be derived as well, and a numerical example is provided. The architecture studied has an efficiency that can be higher than that obtained using one single eCVT for most of the global transmission ratio range, showing that this solution could be suitable as a part of a more complex compound transmission that engages in a specific speed range. Full article
(This article belongs to the Special Issue Frontiers in Hybrid Vehicles Powertrain)
Show Figures

Figure 1

13 pages, 3366 KB  
Article
Design of Gerotor Pump and Influence on Oil Supply System for Hybrid Transmission
by Mingyu Huang, Chongshi Shi, Yu Zhu, Jiaqiao Zhang and Fubao Zhang
Energies 2021, 14(18), 5649; https://doi.org/10.3390/en14185649 - 8 Sep 2021
Cited by 6 | Viewed by 4815
Abstract
Electric continuously variable transmission (E-CVT) is a vital part of the automobile in order to enhance the power coupling. The oil pump is an important power source component in the hybrid transmission system. Its efficiency exerts a significant impact on the efficiency of [...] Read more.
Electric continuously variable transmission (E-CVT) is a vital part of the automobile in order to enhance the power coupling. The oil pump is an important power source component in the hybrid transmission system. Its efficiency exerts a significant impact on the efficiency of the oil supply system and even the hybrid transmission system. In this study, a gerotor pump is designed in line with the requirements of a certain type of hybrid electric vehicle. A Non-dominated Sorting Genetic Algorithm II (NSGA-II) genetic algorithm was employed to optimize the rotor tooth profile. The proportional-derivative (PD) control of the oil supply system was realized to lower the functional error of the oil supply system based on the AMESim simulation platform. In addition, the prototype test was performed to verify the rationality of the design. Full article
(This article belongs to the Special Issue Hybrid Power System Design)
Show Figures

Figure 1

Back to TopTop