Sign in to use this feature.

Years

Between: -

Subjects

remove_circle_outline
remove_circle_outline
remove_circle_outline
remove_circle_outline
remove_circle_outline
remove_circle_outline
remove_circle_outline
remove_circle_outline
remove_circle_outline

Journals

remove_circle_outline
remove_circle_outline
remove_circle_outline
remove_circle_outline
remove_circle_outline

Article Types

Countries / Regions

remove_circle_outline
remove_circle_outline
remove_circle_outline
remove_circle_outline

Search Results (422)

Search Parameters:
Keywords = ADAMS simulation

Order results
Result details
Results per page
Select all
Export citation of selected articles as:
24 pages, 13852 KB  
Article
Research on the Leveling Performance of an Electromechanical Omnidirectional Leveling System for Tracked Mobile Platforms in Hilly and Mountainous Areas
by Yiyong Jiang, Ruochen Wang, Renkai Ding, Zeyu Sun and Wei Liu
Agriculture 2026, 16(4), 458; https://doi.org/10.3390/agriculture16040458 - 15 Feb 2026
Viewed by 47
Abstract
In response to the problems of poor operating stability and easy tipping of small agricultural machinery under the complex terrain of hilly and mountainous areas, this study designed a tracked mobile platform suitable for hilly and mountainous areas and equipped with an omnidirectional [...] Read more.
In response to the problems of poor operating stability and easy tipping of small agricultural machinery under the complex terrain of hilly and mountainous areas, this study designed a tracked mobile platform suitable for hilly and mountainous areas and equipped with an omnidirectional leveling function. The omnidirectional leveling system adopted an innovative coordinated leveling scheme with four servo-electric cylinders of “dual lateral and dual longitudinal” structure. Integrated with dual-axis tilt sensors and a PLC control system, the system enabled decoupled leveling in both the lateral and longitudinal directions. Dynamic simulations of the platform’s leveling process under typical working conditions were performed using ADAMS. The simulation results verified the feasibility of the omnidirectional leveling system. Field tests on slopes in hilly and mountainous areas demonstrated that the omnidirectional leveling system achieves rapid leveling on steep slopes within 5–6 s. After leveling, the average fuselage inclination angle was stabilized within 2°, with a standard deviation of less than 3.4°. This study provided a reliable technical solution and design reference for agricultural machinery manufacturers, while offering users a safer and more efficient platform for operations in complex mountainous areas, significantly reducing the risk of overturning. Full article
Show Figures

Figure 1

17 pages, 4081 KB  
Article
Structural Optimization and SVPWM Control Strategy of Rotary Motors for Plasma Spraying Applications
by Lvying Liang, Kaida Cai, Lin Zhang, Zhihuan Tang and Jing Xiao
Machines 2026, 14(2), 192; https://doi.org/10.3390/machines14020192 - 9 Feb 2026
Viewed by 173
Abstract
This study systematically investigates the structural optimization and control strategies of a plasma power supply-based rotating electrical machine. Firstly, stress simulation analysis was conducted on both conventional and optimized motor structures using ANSYS 2025 R1 software. The results demonstrate the maximum stress at [...] Read more.
This study systematically investigates the structural optimization and control strategies of a plasma power supply-based rotating electrical machine. Firstly, stress simulation analysis was conducted on both conventional and optimized motor structures using ANSYS 2025 R1 software. The results demonstrate the maximum stress at the motor bearings decreased from 1.295 MPa to 0.865 MPa after optimization, representing a 33.2% reduction. Secondly, dynamic balance simulation performed with Adams 2024 software revealed that the centroid offset range of the optimized motor was reduced from ±0.05 mm to ±0.0175 mm, achieving a 65% improvement. Furthermore, a motor driver board supporting SVPWM and FOC algorithm was designed and implemented, featuring wide voltage input, multiple output channels, and comprehensive protection functions. Experimental verification confirmed that the developed control system could generate ideal three-phase saddle wave and sinusoidal current waveforms, ensuring smooth motor operation. The system demonstrated excellent dyne pen test results on plasma-sprayed acrylic plates, effectively validating the feasibility of both structural optimization and control strategies. The research outcomes provide theoretical foundations and technical support for high-performance motor design in demanding applications such as plasma spraying. Full article
(This article belongs to the Section Electrical Machines and Drives)
Show Figures

Figure 1

20 pages, 4921 KB  
Article
A Phaseless Source Reconstruction Method Based on Adam Optimization Algorithm Combined with Regularization
by Zhangqiang Ma, Zhaowen Yan, Kunkun Hu, Fuyu Zhao and Jianhao Ge
Sensors 2026, 26(3), 939; https://doi.org/10.3390/s26030939 - 1 Feb 2026
Viewed by 245
Abstract
In the solution of equivalent dipoles for inverse electromagnetic problems, the traditional least squares method suffers from ill-conditioned matrices, resulting in insufficient accuracy and anti-noise performance, while existing optimization algorithms tend to fall into local optima during iteration. To address these issues, this [...] Read more.
In the solution of equivalent dipoles for inverse electromagnetic problems, the traditional least squares method suffers from ill-conditioned matrices, resulting in insufficient accuracy and anti-noise performance, while existing optimization algorithms tend to fall into local optima during iteration. To address these issues, this paper proposes a phaseless source reconstruction method combining the Adam optimization algorithm with L2 regularization, which can stably solve the equivalent dipole source. The proposed method uses Adam optimization to avoid the direct inversion of ill-conditioned matrices, which improves the accuracy of near-field source reconstruction and effectively avoids falling into local optima. The introduced L2 regularization further suppresses local optima and significantly enhances the anti-noise performance of the equivalent dipole solution. In addition, simulations and experiments are carried out to verify the effectiveness of the proposed method. Full article
(This article belongs to the Topic EMC and Reliability of Power Networks)
Show Figures

Figure 1

21 pages, 2216 KB  
Article
Lightweight MS-DSCNN-AttMPLSTM for High-Precision Misalignment Fault Diagnosis of Wind Turbines
by Xiangyang Zheng, Yancai Xiao and Xinran Li
Machines 2026, 14(2), 155; https://doi.org/10.3390/machines14020155 - 29 Jan 2026
Viewed by 212
Abstract
Wind turbine (WT) misalignment fault diagnosis is constrained by critical signal processing challenges: weak fault features, intense background noise, and poor generalization. This study proposes a lightweight method for high-precision fault diagnosis. A fixed-threshold wavelet denoising method with the scene-specific pre-optimized parameter a [...] Read more.
Wind turbine (WT) misalignment fault diagnosis is constrained by critical signal processing challenges: weak fault features, intense background noise, and poor generalization. This study proposes a lightweight method for high-precision fault diagnosis. A fixed-threshold wavelet denoising method with the scene-specific pre-optimized parameter a (0 < a ≤ 1.3) is proposed: the parameter a is determined via offline grid search using the feature retention rate (FRR) as the objective function for typical wind farm operating scenarios. A multi-scale depthwise separable CNN (MS-DSCNN) captures multi-scale spatial features via 3 × 1 and 5 × 1 kernels, reducing computational complexity by 73.4% versus standard CNNs. An attention-based minimal peephole LSTM (AttMPLSTM) enhances temporal feature measurement, using minimal peephole connections for long-term dependencies and channel attention to weight fault-relevant signals. Joint L1–L2 regularization mitigates overfitting and environmental interference, improving model robustness. Validated on a WT test bench, the Adams simulation dataset, and the CWRU benchmark, the model achieves a 90.2 ± 1.4% feature retention rate (FRR) in signal processing, an over 98% F1-score for fault classification, and over 99% accuracy. With 2.5 s single-epoch training and a 12.8 ± 0.5 ms single-sample inference time, the reduced parameters enable real-time deployment in embedded systems, advancing signal processing for rotating machinery fault diagnosis. Full article
(This article belongs to the Special Issue Condition Monitoring and Fault Diagnosis)
Show Figures

Figure 1

22 pages, 12021 KB  
Article
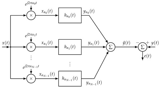
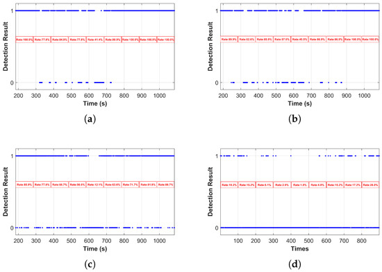
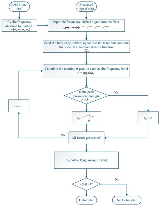
A Far-Field Helicopter Acoustic Detection Method Based on FRESH Adaptive Filtering
by Yingmeng Tao, Chunhua Wei and Tingting Liu
Appl. Sci. 2026, 16(3), 1303; https://doi.org/10.3390/app16031303 - 27 Jan 2026
Viewed by 175
Abstract
Helicopter detection plays a vital role in obtaining critical aerial information promptly and ensuring the safety of lives and property. Since a helicopter’s aerodynamic noise primarily consists of main rotor noise, the cyclostationarity of this noise becomes our detection target. This paper proposes [...] Read more.
Helicopter detection plays a vital role in obtaining critical aerial information promptly and ensuring the safety of lives and property. Since a helicopter’s aerodynamic noise primarily consists of main rotor noise, the cyclostationarity of this noise becomes our detection target. This paper proposes a filter based on the Frequency-Shift (FRESH) principle, which is updated using the Adam optimization algorithm. A smoothed global detector is presented to detect the cyclic frequency of rotor noise. The effectiveness of the proposed helicopter detection approach, comprising both the filter and the detector, has been validated through simulations and confirmed by far-field experiments with a ROBINSON R22 helicopter. In these tests, the proposed method was compared against a cyclostationarity adaptive filter based on the Normalized Least Mean Squares (NLMS) algorithm, as well as the traditional Detection of Envelope Modulation on Noise (DEMON) and Cyclic Modulation Coherence (CMC) algorithms. Experimental results demonstrate the superior robustness of the proposed method over these benchmarks. Even at extended ranges between 11 and 13 km, the system retains a consistent detection rate of 77.8%. Full article
Show Figures

Figure 1

41 pages, 6730 KB  
Article
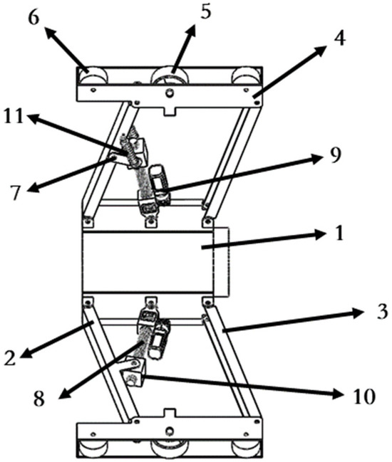
Structural Design and Motion Characteristics Analysis of the Inner Wall Grinding Robot for PCCP Pipes
by Yanping Cui, Ruitian Sun, Zhe Wu, Xingwei Ge and Yachao Cao
Sensors 2026, 26(3), 818; https://doi.org/10.3390/s26030818 - 26 Jan 2026
Viewed by 250
Abstract
Internal wall grinding of pipes constitutes a critical pretreatment procedure in the anti-corrosion repair operations of Prestressed Concrete Cylinder Pipes (PCCP). To address the limitations of low efficiency and poor safety associated with traditional manual internal wall grinding in PCCP anti-corrosion repair, this [...] Read more.
Internal wall grinding of pipes constitutes a critical pretreatment procedure in the anti-corrosion repair operations of Prestressed Concrete Cylinder Pipes (PCCP). To address the limitations of low efficiency and poor safety associated with traditional manual internal wall grinding in PCCP anti-corrosion repair, this study presents the design of a support-wheel-type internal wall grinding robot for pipes. The robot’s structure comprises a walking support module and a grinding module: the walking module employs four sets of circumferentially equally spaced (90° apart) independent-support wheel groups. Through an active–passive collaborative adaptation mechanism regulated by pre-tensioned springs and lead screws, the robot can dynamically conform to the inner wall of the pipe, ensuring stable locomotion. The grinding module is connected to the walking module via a slewing bearing and is equipped with three roller-type steel brushes. During operation, the grinding module revolves around the pipe axis, while the roller brushes rotate simultaneously, generating a composite three-helix grinding trajectory. Mathematical models for the robot’s obstacle negotiation, bend traversal, and grinding motion were established, and multi-body dynamics simulations were conducted using ADAMS for verification. Additionally, a physical prototype was developed to perform basic functional tests. The results demonstrate that the robot’s motion characteristics are highly consistent with theoretical analyses, exhibiting stable and reliable operation, excellent pipe traversability, and robust driving capability, thus meeting the requirements for internal wall grinding of PCCP pipes. Full article
(This article belongs to the Section Sensors and Robotics)
Show Figures

Figure 1

21 pages, 9353 KB  
Article
YOLOv10n-Based Peanut Leaf Spot Detection Model via Multi-Dimensional Feature Enhancement and Geometry-Aware Loss
by Yongpeng Liang, Lei Zhao, Wenxin Zhao, Shuo Xu, Haowei Zheng and Zhaona Wang
Appl. Sci. 2026, 16(3), 1162; https://doi.org/10.3390/app16031162 - 23 Jan 2026
Viewed by 184
Abstract
Precise identification of early peanut leaf spot is strategically significant for safeguarding oilseed supplies and reducing pesticide reliance. However, general-purpose detectors face severe domain adaptation bottlenecks in unstructured field environments due to small feature dissipation, physical occlusion, and class imbalance. To address this, [...] Read more.
Precise identification of early peanut leaf spot is strategically significant for safeguarding oilseed supplies and reducing pesticide reliance. However, general-purpose detectors face severe domain adaptation bottlenecks in unstructured field environments due to small feature dissipation, physical occlusion, and class imbalance. To address this, this study constructs a dataset spanning two phenological cycles and proposes POD-YOLO, a physics-aware and dynamics-optimized lightweight framework. Anchored on the YOLOv10n architecture and adhering to a “data-centric” philosophy, the framework optimizes the parameter convergence path via a synergistic “Augmentation-Loss-Optimization” mechanism: (1) Input Stage: A Physical Domain Reconstruction (PDR) module is introduced to simulate physical occlusion, blocking shortcut learning and constructing a robust feature space; (2) Loss Stage: A Loss Manifold Reshaping (LMR) mechanism is established utilizing dual-branch constraints to suppress background gradients and enhance small target localization; and (3) Optimization Stage: A Decoupled Dynamic Scheduling (DDS) strategy is implemented, integrating AdamW with cosine annealing to ensure smooth convergence on small-sample data. Experimental results demonstrate that POD-YOLO achieves a 9.7% precision gain over the baseline and 83.08% recall, all while maintaining a low computational cost of 8.4 GFLOPs. This study validates the feasibility of exploiting the potential of lightweight architectures through optimization dynamics, offering an efficient paradigm for edge-based intelligent plant protection. Full article
(This article belongs to the Section Optics and Lasers)
Show Figures

Figure 1

26 pages, 6505 KB  
Article
Hybrid Wavelet–Transformer–XGBoost Model Optimized by Chaotic Billiards for Global Irradiance Forecasting
by Walid Mchara, Giovanni Cicceri, Lazhar Manai, Monia Raissi and Hezam Albaqami
J. Sens. Actuator Netw. 2026, 15(1), 12; https://doi.org/10.3390/jsan15010012 - 22 Jan 2026
Viewed by 320
Abstract
Accurate global irradiance (GI) forecasting is essential for improving photovoltaic (PV) energy management, stabilizing renewable power systems, and enabling intelligent control in solar-powered applications, including electric vehicles and smart grids. The highly stochastic and non-stationary nature of solar radiation, influenced by rapid atmospheric [...] Read more.
Accurate global irradiance (GI) forecasting is essential for improving photovoltaic (PV) energy management, stabilizing renewable power systems, and enabling intelligent control in solar-powered applications, including electric vehicles and smart grids. The highly stochastic and non-stationary nature of solar radiation, influenced by rapid atmospheric fluctuations and seasonal variability, makes short-term GI prediction a challenging task. To overcome these limitations, this work introduces a new hybrid forecasting architecture referred to as WTX–CBO, which integrates a Wavelet Transform (WT)-based decomposition module, an encoder–decoder Transformer model, and an XGBoost regressor, optimized using the Chaotic Billiards Optimizer (CBO) combined with the Adam optimization algorithm. In the proposed architecture, WT decomposes solar irradiance data into multi-scale components, capturing both high-frequency transients and long-term seasonal patterns. The Transformer module effectively models complex temporal and spatio-temporal dependencies, while XGBoost enhances nonlinear learning capability and mitigates overfitting. The CBO ensures efficient hyperparameter tuning and accelerated convergence, outperforming traditional meta-heuristics such as Particle Swarm Optimization (PSO) and Genetic Algorithms (GA). Comprehensive experiments conducted on real-world GI datasets from diverse climatic conditions demonstrate the outperformance of the proposed model. The WTX–CBO ensemble consistently outperformed benchmark models, including LSTM, SVR, standalone Transformer, and XGBoost, achieving improved accuracy, stability, and generalization capability. The proposed WTX–CBO framework is designed as a high-accuracy decision-support forecasting tool that provides short-term global irradiance predictions to enable intelligent energy management, predictive charging, and adaptive control strategies in solar-powered applications, including solar electric vehicles (SEVs), rather than performing end-to-end vehicle or photovoltaic power simulations. Overall, the proposed hybrid framework provides a robust and scalable solution for short-term global irradiance forecasting, supporting reliable PV integration, smart charging control, and sustainable energy management in next-generation solar systems. Full article
(This article belongs to the Special Issue AI and IoT Convergence for Sustainable Smart Manufacturing)
Show Figures

Figure 1

20 pages, 433 KB  
Article
Hausdorff Difference-Based Adam Optimizer for Image Classification
by Jing Jian, Zhe Gao and Haibin Zhang
Mathematics 2026, 14(2), 329; https://doi.org/10.3390/math14020329 - 19 Jan 2026
Viewed by 147
Abstract
To address the limitations of fixed-order update mechanisms in convolutional neural network parameter training, an adaptive parameter training method based on the Hausdorff difference is proposed in this paper. By deriving a Hausdorff difference formula that is suitable for discrete training processes and [...] Read more.
To address the limitations of fixed-order update mechanisms in convolutional neural network parameter training, an adaptive parameter training method based on the Hausdorff difference is proposed in this paper. By deriving a Hausdorff difference formula that is suitable for discrete training processes and embedding it into the adaptive moment estimation framework, a generalized Hausdorff difference-based Adam algorithm (HAdam) is constructed. This algorithm introduces an order parameter to achieve joint dynamic control of the momentum intensity and the effective learning rate. Through theoretical analysis and numerical simulations, the influence of the order parameter and its value range on algorithm stability, parameter evolution trajectories, and convergence speed is investigated, and two adaptive order adjustment strategies based on iteration cycles and gradient feedback are designed. The experimental results on the Fashion-MNIST and CIFAR-10 benchmark datasets show that, compared with the standard Adam algorithm, the HAdam algorithm exhibits clear advantages in both convergence efficiency and recognition accuracy. Full article
(This article belongs to the Section E1: Mathematics and Computer Science)
Show Figures

Figure 1

32 pages, 107231 KB  
Article
Simulation and Experimental Study of Vessel-Borne Active Motion Compensated Gangway for Offshore Wind Operation and Maintenance
by Hongyan Mu, Ting Zhou, Binbin Li and Kun Liu
J. Mar. Sci. Eng. 2026, 14(2), 187; https://doi.org/10.3390/jmse14020187 - 16 Jan 2026
Viewed by 351
Abstract
Driven by global initiatives to mitigate climate change, the offshore wind power industry is experiencing rapid growth. Personnel transfer between service operation vessels (SOVs) and offshore wind turbines under complex sea conditions remains a critical factor governing the safety and efficiency of operation [...] Read more.
Driven by global initiatives to mitigate climate change, the offshore wind power industry is experiencing rapid growth. Personnel transfer between service operation vessels (SOVs) and offshore wind turbines under complex sea conditions remains a critical factor governing the safety and efficiency of operation and maintenance (O&M) activities. This study establishes a fully coupled dynamic response and control simulation framework for an SOV equipped with an active motion-compensated gangway. A numerical model of the SOV is first developed using potential flow theory and frequency-domain multi-body hydrodynamics to predict realistic vessel motions, which serve as excitation inputs to a co-simulation environment (MATLAB/Simulink coupled with MSC Adams) representing the Stewart platform-based gangway. To address system nonlinearity and coupling, a composite control strategy integrating velocity and dynamic feedforward with three-loop PID feedback is proposed. Simulation results demonstrate that the composite strategy achieves an average disturbance isolation degree of 21.81 dB, significantly outperforming traditional PID control. Validation is conducted using a ship motion simulation platform and a combined wind–wave basin with a 1:10 scaled prototype. Experimental results confirm high compensation accuracy, with heave variation maintained within 1.6 cm and a relative error between simulation and experiment of approximately 18.2%. These findings demonstrate the framework’s capability to ensure safe personnel transfer by effectively isolating complex vessel motions and validate the reliability of the coupled dynamic model for offshore operational forecasting. Full article
Show Figures

Figure 1

32 pages, 6121 KB  
Article
Trajectory-Control-Based Analysis of Winch Traction Dynamics in Ship-Borne Aircraft Operations
by Guofang Nan, Bodong Zhang, Yao Li and Sirui Yang
J. Mar. Sci. Eng. 2026, 14(2), 170; https://doi.org/10.3390/jmse14020170 - 13 Jan 2026
Viewed by 175
Abstract
Aiming to address the problems of the violent fluctuation of winch traction rope and tire forces and the high safety risk caused by coupling ship motions (rolling, pitching, and heaving), wind loads, and deck space limitations in carrier-based aircraft, this paper focuses on [...] Read more.
Aiming to address the problems of the violent fluctuation of winch traction rope and tire forces and the high safety risk caused by coupling ship motions (rolling, pitching, and heaving), wind loads, and deck space limitations in carrier-based aircraft, this paper focuses on a multi-winch traction system on a small deck. A fully coupled dynamic model of an aircraft landing gear–tire–rope–winch system is constructed, ADAMS2020 and MATLAB/Simulink (MATLAB R2021b) co-simulations are used to develop the three-winch and five-winch traction system models, and a Fiala tire model and a telescopic landing gear model are adopted to build a precise mechanical model of the aircraft. The PID control strategy is proposed, based on the Bessel curve, to control the driving trajectory of the aircraft, and the quantitative influence of ship motion, winch number, and preset trajectory on traction dynamic characteristics is systematically studied. Compared to without trajectory control, the peak force of the winch rope before the start-up phase of the three-winch system is reduced by 54.9%, and the five-winch system is reduced by 57.6%. The fluctuation amplitude of the lateral force of the rear wheel is greater than that of the front wheel, up to a maximum of 215% of the front wheel. The correlation coefficient between the theoretical model and the simulation results is 0.91~0.97, and the error is less than 12%. The PID control strategy based on the Bessel trajectory can significantly improve the steadiness and security of the carrier-based aircraft winch traction system on a small deck. The study delivers the requisite theory and engineering means for the optimized design of carrier-based aircraft traction systems. Full article
(This article belongs to the Section Ocean Engineering)
Show Figures

Figure 1

24 pages, 5278 KB  
Article
Research on Optimization and Matching of Cab Suspension Systems for Commercial Vehicles Based on Ride Comfort
by Changcheng Yin, Yiyang Liu, Jiwei Zhang, Hui Yuan, Baohua Wang and Yunfei Zhang
Vehicles 2026, 8(1), 15; https://doi.org/10.3390/vehicles8010015 - 12 Jan 2026
Viewed by 244
Abstract
Improving the ride comfort of commercial vehicles is crucial for driver health and operational safety. This study focuses on optimizing the parameters of a cab suspension system to improve its vibration isolation performance. Initially, nonlinear fitting was applied to experimental data characterizing air [...] Read more.
Improving the ride comfort of commercial vehicles is crucial for driver health and operational safety. This study focuses on optimizing the parameters of a cab suspension system to improve its vibration isolation performance. Initially, nonlinear fitting was applied to experimental data characterizing air spring stiffness and damping, which informed the development of a multi-body rigid-flexible coupled dynamic model of the suspension system; its dynamic characteristics were subsequently validated through modal analysis. Road excitation data, filtered through the chassis suspension, were collected during vehicle testing, and displacement excitations for ride comfort simulation were reconstructed using virtual iteration technology. Thereafter, an integrated ISIGHT platform, combining ADAMS and MATLAB, was employed to systematically optimize suspension parameters and key bushing stiffness via a multi-island genetic algorithm. The optimization results demonstrated significant performance improvements: on General roads, the overall weighted root-mean-square acceleration was markedly reduced with enhanced isolation efficiency; on Belgian pave roads, resonance in the cab’s X-axis direction was effectively suppressed; and on Cobblestone roads, the pitch angle was successfully constrained within the design limit. This research provides an effective parameter matching methodology for performance optimization of cab suspension systems. Full article
(This article belongs to the Special Issue Tire and Suspension Dynamics for Vehicle Performance Advancement)
Show Figures

Figure 1

20 pages, 12843 KB  
Article
Network Analysis to Identify MicroRNAs Involved in Alzheimer’s Disease and to Improve Drug Prioritization
by Aldo Reyna and Simona Panni
Biomedicines 2026, 14(1), 147; https://doi.org/10.3390/biomedicines14010147 - 11 Jan 2026
Viewed by 493
Abstract
Background: Advances in the understanding of molecular mechanisms of human diseases, along with the generation of large amounts of molecular datasets, have highlighted the variability between patients and the need to tailor therapies to individual characteristics. In particular, RNA-based therapies hold strong [...] Read more.
Background: Advances in the understanding of molecular mechanisms of human diseases, along with the generation of large amounts of molecular datasets, have highlighted the variability between patients and the need to tailor therapies to individual characteristics. In particular, RNA-based therapies hold strong promise for new drug development, as they can be easily designed to target specific molecules. Gene and protein functions, however, operate within a highly interconnected network, and inhibiting a single function or repressing a single gene may lead to unexpected secondary effects. In this study, we focused on genes associated with Alzheimer’s disease, a progressive neurodegenerative disorder characterized by complex pathological processes leading to cognitive decline and dementia. Its hallmark features include the accumulation of extracellular amyloid-β plaques and intracellular neurofibrillary tangles composed of hyperphosphorylated tau. Methods: We built a protein interaction network subgraph seeded on five Alzheimer’s-associated genes, including tau and amyloid-β precursor, and integrated it with microRNAs in order to select regulated nodes, study the effects of their depletion on signaling pathways, and prioritize targets for microRNA-based therapeutic approaches. Results: We identified nine protein nodes as potential candidates (Pik3R1, Bace1, Traf6, Gsk3b, Akt1, Cdk2, Adam10, Mapk3 and Apoe) and performed in silico node depletion to simulate the effects of microRNA regulation. Conclusions: Despite intrinsic limitations of the approach, such as the incompleteness of the available information or possible false associations, the present work shows clear potential for drug design and target prioritization and underscores the need for reliable and comprehensive maps of interactions and pathways. Full article
(This article belongs to the Special Issue Bioinformatics Analysis of RNA for Human Health and Disease)
Show Figures

Figure 1

25 pages, 554 KB  
Article
Dynamic Analysis and Optimal Prevention Strategies for Monkeypox Spread Modeled via the Mittag–Leffler Kernel
by Mine Yurtoğlu, Dilara Yapışkan, Ebenezer Bonyah, Beyza Billur İskender Eroğlu, Derya Avcı and Delfim F. M. Torres
Fractal Fract. 2026, 10(1), 44; https://doi.org/10.3390/fractalfract10010044 - 10 Jan 2026
Viewed by 246
Abstract
Monkeypox is a viral disease belonging to the smallpox family. Although it has milder symptoms than smallpox in humans, it has become a global threat in recent years, especially in African countries. Initially, incidental immunity against monkeypox was provided by smallpox vaccines. However, [...] Read more.
Monkeypox is a viral disease belonging to the smallpox family. Although it has milder symptoms than smallpox in humans, it has become a global threat in recent years, especially in African countries. Initially, incidental immunity against monkeypox was provided by smallpox vaccines. However, the eradication of smallpox over time and thus the lack of vaccination has led to the widespread and clinical importance of monkeypox. Although mathematical epidemiology research on the disease is complementary to clinical studies, it has attracted attention in the last few years. The present study aims to discuss the indispensable effects of three control strategies such as vaccination, treatment, and quarantine to prevent the monkeypox epidemic modeled via the Atangana–Baleanu operator. The main purpose is to determine optimal control measures planned to reduce the rates of exposed and infected individuals at the minimum costs. For the controlled model, the existence-uniqueness of the solutions, stability, and sensitivity analysis, and numerical optimal solutions are exhibited. The optimal system is numerically solved using the Adams-type predictor–corrector method. In the numerical simulations, the efficacy of the vaccination, treatment, and quarantine controls is evaluated in separate analyzes as single-, double-, and triple-control strategies. The results demonstrate that the most effective strategy for achieving the aimed outcome is the simultaneous application of vaccination, treatment, and quarantine controls. Full article
(This article belongs to the Special Issue Fractional Systems, Integrals and Derivatives: Theory and Application)
Show Figures

Figure 1

56 pages, 4487 KB  
Article
An Enhanced Plant Growth Algorithm with Adam Learning, Lévy Flight, and Dynamic Stage Control
by Yuhang Xie, Wei Li, Bin Qin and Shang Gao
Symmetry 2026, 18(1), 64; https://doi.org/10.3390/sym18010064 - 30 Dec 2025
Viewed by 272
Abstract
This study addresses the limitations of the traditional Plant Growth Algorithm (PGA), including insufficient local exploitation, premature convergence, and performance degradation in high-dimensional optimization. To enhance search efficiency, we propose the ALDPGA (Adam–Lévy Dynamic Plant Growth Algorithm), which incorporates Adam-based adaptive gradient learning, [...] Read more.
This study addresses the limitations of the traditional Plant Growth Algorithm (PGA), including insufficient local exploitation, premature convergence, and performance degradation in high-dimensional optimization. To enhance search efficiency, we propose the ALDPGA (Adam–Lévy Dynamic Plant Growth Algorithm), which incorporates Adam-based adaptive gradient learning, Lévy long-tailed perturbation, and a dynamic stage-control mechanism. The method strengthens directional refinement in the light region using gradient-assisted learning and a simulated-annealing rule, while staged hybrid perturbations and adaptive learning-rate scheduling expand early exploration in the shaded region. During the cell-elongation phase, Lévy-driven dynamic trajectories guide the transition from global search to fine-grained convergence. Notably, the light and shaded regions of the algorithm are designed symmetrically, balancing exploration and exploitation. The light region reflects phototropism, fostering growth towards optimal solutions, while the shaded region adapts to explore previously underexplored areas. Extensive experiments on CEC2017, CEC2020, and CEC2022 benchmarks demonstrate improvements in optimal solutions, convergence speed, and statistical stability. Wilcoxon tests confirm the significance of these gains, and ablation studies verify the contributions of each component. ALDPGA’s enhanced robustness and optimization efficiency make it well suited for complex, multimodal, and high-dimensional problems, offering new insights into bio-inspired optimization frameworks. Full article
(This article belongs to the Section Computer)
Show Figures

Figure 1

Back to TopTop