Effects of Low-Temperature Drying with Intermittent Gaseous Chlorine Dioxide Treatment on Texture and Shelf-Life of Rice Cakes
Abstract
1. Introduction
2. Materials and Methods
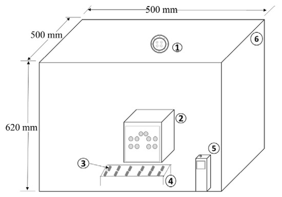
2.1. Experimental Setup
2.2. Rice Cake Preparation
2.3. Drying of Rice Cakes under Intermittent ClO2
2.4. Determination of Color Change during Intermittent Drying
2.5. Texture Analysis
2.5.1. Texture Determination of Dried Rice Cake by Cutting Test
2.5.2. Image Processing
2.6. Sensory Evaluation of Rice Cake
2.7. Effect of Intermittent ClO2 Drying at Low Temperature on Microbial Inactivation Of Steamed Rice Cake
2.8. EpH Analysis of ClO2 Treated Rice Cake
2.9. Growth Model of Treated Rice Cake
2.9.1. Preparation of Bacillus cereus Spore Suspension
2.9.2. Inoculation of B. cereus Spores on Sterile Rice Cake
2.9.3. Primary Model
2.9.4. Validation of the Growth Model
2.9.5. Statistical Analysis
3. Results and Discussion
3.1. Determination of ClO2 Intermittent Drying Period
3.2. ClO2 Absorption Rate by Steamed Rice Cake Sample
3.3. Moisture Loss in Sample during Drying
3.4. Texture Analysis of Dried Rice Cake
3.5. Analysis of Rice Cake Retrogradation Rate Via Image Processing
3.6. Effect of Intermittent ClO2 Treatment on Dried Rice Cake Sample Color and Sensory Properties
3.7. Inactivation of Microorganisms on Rice Cake by Sequential Treatment with ClO2 and Low-Temperature Drying
3.8. Microbial Growth on Rice Cake during Storage at 4 °C
3.9. Growth Model and Validation
4. Conclusions
Author Contributions
Funding
Conflicts of Interest
References
- Zhang, H.; Feng, X.; Larssen, T.; Qiu, G.; Vogt, R.D. In inland China, rice, rather than fish, is the major pathway for methylmercury exposure. Environ. Health Perspect. 2010, 118, 1183–1188. [Google Scholar] [CrossRef] [PubMed]
- Román, L.; Reguilón, M.P.; Gómez, M. Physicochemical characteristics of sauce model systems: Influence of particle size and extruded flour source. J. Food Eng. 2018, 219, 93–100. [Google Scholar] [CrossRef]
- Collins, J.E. Impact of changing consumer lifestyles on the emergence/reemergence of foodborne pathogens. Emerg. Infect. Dis. 1997, 3, 471. [Google Scholar] [CrossRef] [PubMed]
- Ai, J.; Witt, T.; Cowin, G.; Dhital, S.; Turner, M.S.; Stokes, J.R.; Gidley, M.J. Anti-staling of high-moisture starchy food: Effect of hydrocolloids, emulsifiers and enzymes on mechanics of steamed-rice cakes. Food Hydrocoll. 2018, 83, 454–464. [Google Scholar] [CrossRef]
- Lian, X.; Kang, H.; Sun, H.; Liu, L.; Li, L. Identification of the main retrogradation-related properties of rice starch. J. Agric. Food Chem. 2015, 63, 1562–1572. [Google Scholar] [CrossRef] [PubMed]
- Wang, S.; Li, C.; Copeland, L.; Niu, Q.; Wang, S. Starch retrogradation: A comprehensive review. Compr. Rev. Food Sci. Food Saf. 2015, 14, 568–585. [Google Scholar] [CrossRef]
- Inaba, H.; Hatanaka, Y.; Iimura, H.; Matsumura, Y.; Mori, T. Production of rice cake doughs with a twin screw extnder and their retrogradation properties. Nippon Shokuhin Kogyo Gakkaishi 1988, 35, 15–22. [Google Scholar] [CrossRef][Green Version]
- Yu, S.; Ma, Y.; Sun, D.W. Impact of amylose content on starch retrogradation and texture of cooked milled rice during storage. J. Cereal Sci. 2009, 50, 139–144. [Google Scholar] [CrossRef]
- Cameron, D.K.; Wang, Y.J. A better understanding of factors that affect the hardness and stickiness of long-grain rice. Cereal Chem. 2005, 82, 113–119. [Google Scholar] [CrossRef]
- Cameron, D.K.; Wang, Y.J. Physicochemical properties and leaching behavior of eight US long-grain rice cultivars as related to rice texture. Discov. Stud. J. Dale Bump. Coll. Agric. Food Life Sci. 2003, 4, 14–20. [Google Scholar]
- Patindol, J.; Gu, X.; Wang, Y.J. Chemometric analysis of cooked rice texture in relation to starch fine structure and leaching characteristics. Starch Stärke 2010, 62, 188–197. [Google Scholar] [CrossRef]
- Yu, S.; Ma, Y.; Sun, D.W. Effects of freezing rates on starch retrogradation and textural properties of cooked rice during storage. LWT Food Sci. Technol. 2010, 43, 1138–1143. [Google Scholar] [CrossRef]
- Perdon, A.A.; Siebenmorgen, T.J.; Buescher, R.W.; Gbur, E.E. Starch retrogradation and texture of cooked milled rice during storage. J. Food Sci. 1999, 64, 828–832. [Google Scholar] [CrossRef]
- Park, H.W.; Yoon, W.B. A quantitative microbiological exposure assessment model for Bacillus cereus in pasteurized rice cakes using computational fluid dynamics and Monte Carlo simulation. Food Res. Int. 2019, 125, 108562. [Google Scholar] [CrossRef] [PubMed]
- Deng, H.; Wang, S.; Wang, Z.; Zhou, Z.; Xiao, H. Effects of enzyme treatments and drying methods on gelatinization and retrogradation of instant rice porridge. Food Sci. Techno. Res. 2012, 18, 341–349. [Google Scholar] [CrossRef]
- Choi, Y.H.; Kim, S.L.; Jeong, E.G.; Song, J.; Kim, J.T.; Kim, J.H.; Lee, C.G. Effects of low-temperature storage of brown rice on rice and cooked rice quality. Korean J. Crop Sci. 2008, 53, 179–186. [Google Scholar]
- Ondier, G.O.; Siebenmorgen, T.J.; Mauromoustakos, A. Low-temperature, low-relative humidity drying of rough rice. J. Food Eng. 2010, 100, 545–550. [Google Scholar] [CrossRef]
- Jung, S.M.; Kim, N.O.; Cha, I.; Na, H.Y.; Chung, G.T.; Kawk, H.S.; Hong, S. Surveillance of Bacillus cereus Isolates in Korea from 2012 to 2014. Osong Public Health Res. Perspect. 2017, 8, 71. [Google Scholar] [CrossRef]
- Park, D.L.; Rua JR, S.M.; ACKER, R.F. Direct application of a new hypochlorite sanitizer for reducing bacterial contamination on foods. J. Food Prot. 1991, 54, 960–965. [Google Scholar] [CrossRef]
- Jung, H.; Yu, C.R.; Park, H.W.; Yoon, W.B. Effect of acid soaking and thermal sterilization on the shape and quality characteristics of Tteokbokki rice cake. Korean J. Food Nutri. 2018, 31, 737–750. [Google Scholar]
- Lanciotti, R.; Sinigaglia, M.; Gardini, F.; Vannini, L.; Guerzoni, M.E. Growth/no growth interfaces of Bacillus cereus, Staphylococcus aureus and Salmonella enteritidis in model systems based on water activity, pH, temperature and ethanol concentration. Food Microbiol. 2001, 18, 659–668. [Google Scholar] [CrossRef]
- Nam, H.; Seo, H.S.; Bang, J.; Kim, H.; Beuchat, L.R.; Ryu, J.H. Efficacy of gaseous chlorine dioxide in inactivating Bacillus cereus spores attached to and in a biofilm on stainless steel. Int. J. Food Microbiol. 2014, 188, 122–127. [Google Scholar] [CrossRef] [PubMed]
- Tewari, A.; Abdullah, S. Bacillus cereus food poisoning: International and Indian perspective. J. Food Sci. Technol. 2015, 52, 2500–2511. [Google Scholar] [CrossRef] [PubMed]
- Kim, H.; Kim, H.; Bang, J.; Beuchat, L.R.; Ryu, J.H. Synergistic effect of chlorine dioxide and drying treatments for inactivating Escherichia coli O157: H7 on radish seeds. J. Food Prot. 2010, 73, 1225–1230. [Google Scholar] [CrossRef]
- Knapp, J.E.; Battisti, D.L. Chlorine dioxide. Disinfect. Steriliz. Preserv. 2001, 5, 215–228. [Google Scholar]
- Han, Y.; Linton., R.H.; Nielsen, S.S.; Nelson, P.E. Reduction of Listeria monocytogenes on green peppers (Capsicum annuum L.) by gaseous and aqueous chlorine dioxide and water washing and its growth at 7 C. J. Food Prot. 2001, 64, 1730–1738. [Google Scholar] [CrossRef]
- Demirci, A.; Ngadi, M.O. (Eds.) Microbial Decontamination in the Food Industry: Novel Methods and Applications; Elsevier: Amsterdam, The Netherlands, 2012. [Google Scholar]
- Park, H.W.; Han, W.Y.; Yoon, W.B. Drying characteristics of soybean (Glycine max) using continuous drying and intermittent drying. Int. J. Food Eng. 2018, 14, 9–10. [Google Scholar] [CrossRef]
- Santacatalina, J.V.; Rodríguez, O.; Simal, S.; Cárcel, J.A.; Mulet, A.; García-Pérez, J.V. Ultrasonically enhanced low-temperature drying of apple: Influence on drying kinetics and antioxidant potential. J. Food Eng. 2014, 138, 35–44. [Google Scholar] [CrossRef]
- Ozuna, C.; Cárcel, J.A.; Walde, P.M.; Garcia-Perez, J.V. Low-temperature drying of salted cod (Gadus morhua) assisted by high power ultrasound: Kinetics and physical properties. Innov. Food Sci. Emerg. Technol. 2014, 23, 146–155. [Google Scholar] [CrossRef]
- McDonald, P.A.; Innes, K.K. Assignment of the mechanism of predissociation of the ClO2 molecule by analysis of single-rotational-level lifetimes. Chem. Phys. Lett. 1978, 59, 562–566. [Google Scholar] [CrossRef]
- Feng, N.; Tang, S.; Zhou, M.; Lv, Z.; Chen, Y.; Li, P.; Wu, Q. Optimizing the texture and retrogradation properties of Niangao (Rice Cake) made with naturally fermented rice flour. Food Sci. Technol. 2019, 39, 810–817. [Google Scholar] [CrossRef]
- Epstein, J.; Morris, C.F.; Huber, K.C. Instrumental texture of white salted noodles prepared from recombinant inbred lines of wheat differing in the three granule bound starch synthase (waxy) genes. J. Cereal Sci. 2002, 35, 51–63. [Google Scholar] [CrossRef]
- Park, H.W.; Yoon, W.B. Development of a novel image analysis technique to detect the moisture diffusion of soybeans [Glycine max (L.)] during rehydration using a mass transfer simulation model. Food Bioprocess Technol. 2018, 11, 1887–1894. [Google Scholar] [CrossRef]
- Moore, R.E.; Millar, B.C.; Panickar, J.R.; Moore, J.E. Microbiological safety of spices and their interaction with antibiotics: Implications for antimicrobial resistance and their role as potential antibiotic adjuncts. Food Qual. Saf. 2019, 3, 93–97. [Google Scholar] [CrossRef]
- Baranyi, J.; Roberts, T.A.; McClure, P. A non-autonomous differential equation to model bacterial growth. Food Microbiol. 1993, 10, 43–59. [Google Scholar] [CrossRef]
- Ratkowsky, D.A.; Lowry, R.K.; McMeekin, T.A.; Stokes, A.N.; Chandler, R. Model for bacterial culture growth rate throughout the entire biokinetic temperature range. J. Bacteriol. 1983, 154, 1222–1226. [Google Scholar] [CrossRef]
- Juneja, V.K.; Golden, C.E.; Mishra, A.; Harrison, M.A.; Mohr, T.B. Predictive model for growth of Bacillus cereus at temperatures applicable to cooling of cooked pasta. J.Food Sci. 2019, 84, 590–598. [Google Scholar] [CrossRef]
- Yu, S.; Ma, Y.; Zheng, X.; Liu, X.; Sun, D.W. Impacts of low and ultra-low temperature freezing on retrogradation properties of rice amylopectin during storage. Food Bioprocess Technol. 2012, 5, 391–400. [Google Scholar] [CrossRef]
- Taniguchi, M.; Nakanaga, R.; Yano, N. Inventors; House Foods Corp, Assignee. Method of Manufacturing Dried Rice with Pregelatinized Starch Content. United States Patent US 4,794,012, 27 December 1988. [Google Scholar]
- Hoon, J. Inactivation of bacillus cereus spores on red chili peppers using a combined treatment of aqueous chlorine dioxide and hotâ air drying. J. Food Sci. 2017, 82, 1892–1897. [Google Scholar]
- Lee, J.I.; Kim, S.S.; Kang, D.H. Susceptibility of Escherichia Coli O157: H7 grown at low temperatures to the krypton-chlorine excilamp. Sci. Rep. 2019, 9, 1–9. [Google Scholar] [CrossRef]
- Lee, S.Y.; Chung, H.J.; Shin, J.H.; Dougherty, R.H.; Kang, D.H. Survival and growth of foodborne pathogens during cooking and storage of oriental-style rice cakes. J. Food Prot. 2006, 69, 3037–3042. [Google Scholar] [CrossRef] [PubMed]










| Test Level | Measured Object | Compressed Area (mm) | |
|---|---|---|---|
| Object Area (Pixel) | Object Area (mm) | ||
| Rice cake prior to cutting test | 537260 ± 33125 a | 45.91 ± 2.83 a | 0.00 |
| Control (0 h) | 372219 ± 22356 c | 31.79 ± 1.91 c | 14.12 ± 1.25 a |
| Treated (6 h) | 385265 ± 23527 c | 32.96 ± 2.01 c | 12.95 ± 1.19 a |
| Treated (12 h) | 468200 ± 26687 b | 39.99 ± 2.28 b | 5.89 ± 0.89 b |
| Treated (18 h) | 505773 ± 24697 a | 43.21 ± 2.11 a | 2.71 ± 0.54 c |
| Treated (24 h) | 524969 ± 18376 a | 44.85 ± 1.57 a | 1.06 ± 1.12 c |
| a. Color of ClO2-treated rice cake at different drying periods | ||||
| Condition | L | A | B | WI |
| Control | 80.31 ± 1.16 a | −0.94 ± 0.01 e | 13.99 ± 0.20 c | 75.83 ± 1.02 a |
| 6 h | 68.21 ± 0.38 b | −0.58 ± 0.02 d | 14.84 ± 0.06 b | 64.91 ± 0.45 b |
| 12 h | 65.76 ± 0.39 c | −0.49 ± 0.03 c | 14.89 ± 0.12 b | 62.66 ± 0.33 c |
| 18 h | 64.55 ± 0.24 d | −0.43 ± 0.03 b | 14.96 ± 0.13 b | 61.52 ± 0.23 d |
| 24 h | 63.84 ± 0.22 e | −0.24 ± 0.03 a | 15.02 ± 0.11 a | 60.84 ± 0.22 e |
| b. Sensory evaluation scores of gelatinized rice cake | ||||
| Condition | Color | Flavor | Hardness | Overall acceptability |
| Control | 6.9 ± 0.2 a | 6.7 ± 0.3 a | 6.5 ± 0.1 c | 6.3 ± 0.6 a |
| 6 h | 6.3 ± 0.2 b | 6.6 ± 0.3 a | 6.1 ± 0.1 b | 6.2 ± 0.7 a |
| 12 h | 5.7 ± 0.4 b | 5.9 ± 0.4 ab | 5.9 ± 0.2 b | 4.5 ± 0.5 b |
| 18 h | 5.5 ± 0.6 b | 5.3 ± 0.3 b | 5.1 ± 0.3 a | 4.1 ± 0.7 b |
| 24 h | 4.1 ± 0.5 c | 3.7 ± 0.2 c | 5.3 ± 0.2 a | 2.6 ± 0.8 c |
| Treatment Conditions | Temperature (°C) | λ (h) | R2 | RMSE | SSE | Prediction Error | |
|---|---|---|---|---|---|---|---|
| ClO2 treated 24 h | 25 | 0.0035 | 7.0 | 0.9945 | 0.038 | 0.0071 | Acceptable |
| 20 | 0.0019 | 7.33 | 0.9963 | 0.021 | 0.0041 | Acceptable | |
| 15 | 0.0007 | 7.83 | 0.9971 | 0.013 | 0.0034 | Acceptable | |
| 10 | 0.00051 | 8.66 | 0.9970 | 0.019 | 0.0038 | Acceptable | |
| 5 | 0.0001 | 9.83 | 0.9951 | 0.018 | 0.0051 | Acceptable |
© 2020 by the authors. Licensee MDPI, Basel, Switzerland. This article is an open access article distributed under the terms and conditions of the Creative Commons Attribution (CC BY) license (http://creativecommons.org/licenses/by/4.0/).
Share and Cite
Oyinloye, T.M.; Yoon, W.B. Effects of Low-Temperature Drying with Intermittent Gaseous Chlorine Dioxide Treatment on Texture and Shelf-Life of Rice Cakes. Processes 2020, 8, 375. https://doi.org/10.3390/pr8030375
Oyinloye TM, Yoon WB. Effects of Low-Temperature Drying with Intermittent Gaseous Chlorine Dioxide Treatment on Texture and Shelf-Life of Rice Cakes. Processes. 2020; 8(3):375. https://doi.org/10.3390/pr8030375
Chicago/Turabian StyleOyinloye, Timilehin Martins, and Won Byong Yoon. 2020. "Effects of Low-Temperature Drying with Intermittent Gaseous Chlorine Dioxide Treatment on Texture and Shelf-Life of Rice Cakes" Processes 8, no. 3: 375. https://doi.org/10.3390/pr8030375
APA StyleOyinloye, T. M., & Yoon, W. B. (2020). Effects of Low-Temperature Drying with Intermittent Gaseous Chlorine Dioxide Treatment on Texture and Shelf-Life of Rice Cakes. Processes, 8(3), 375. https://doi.org/10.3390/pr8030375

