Experimental Investigation of Acoustic Propagation Characteristics in a Fluid-Filled Polyethylene Pipeline
Abstract
:1. Introduction
2. Theoretical Analysis
2.1. Eigenequation in the Pipeline
2.2. Calculation of the Normal Frequency
2.3. Axial and Radial Dependence of the Sound Field
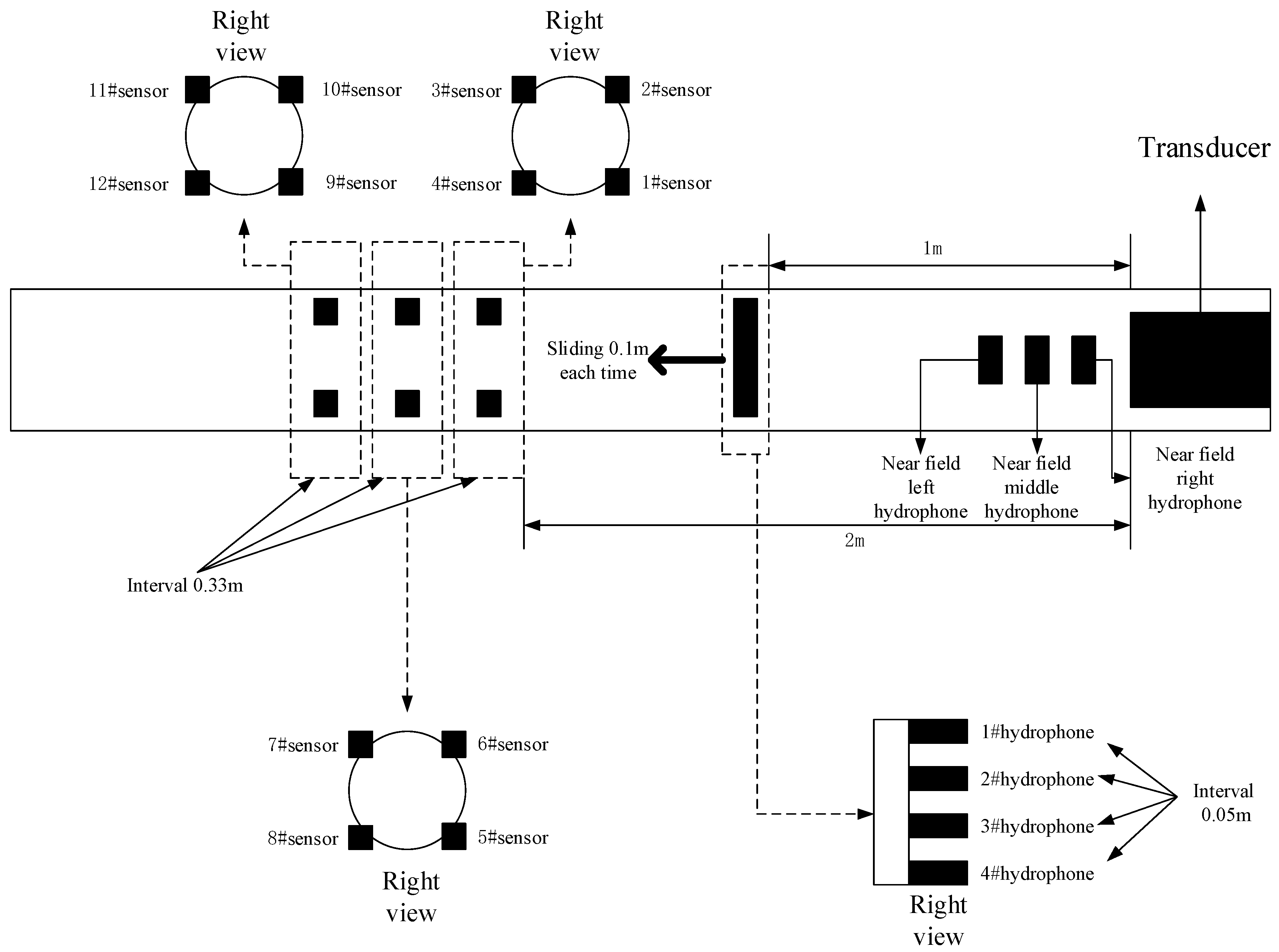
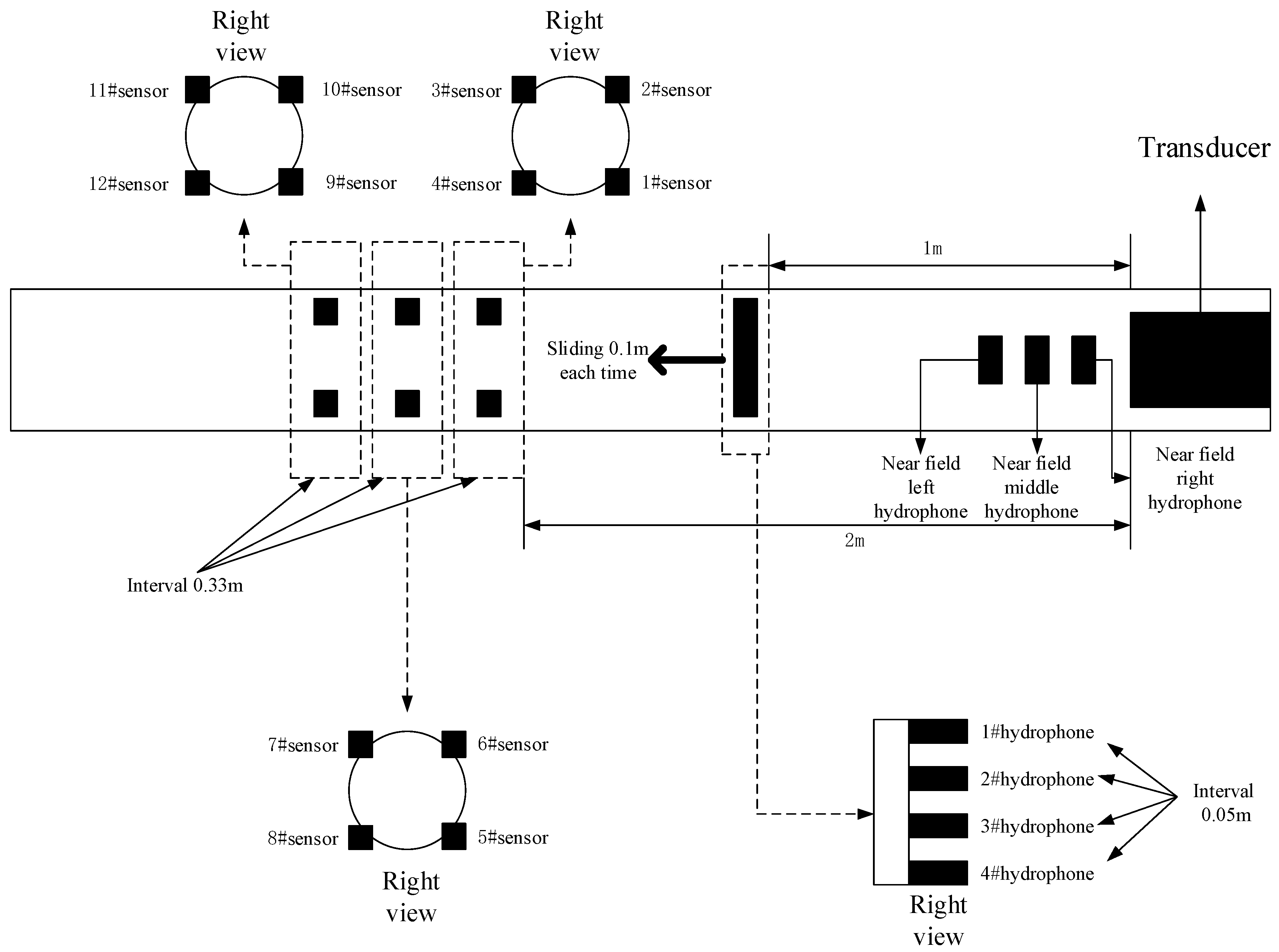
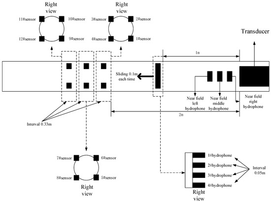
3. Experimental Apparatus and Procedure
4. Results and Discussion
4.1. Behavior of Normal Waves in the Pipeline
4.2. Variation of the Sound Field along the Axial Direction
4.3. Variation of the Sound Field along the Radial Direction
4.4. Measurements under Mechanical Excitation
5. Conclusions
- Sound in a fluid-filled PE pipeline propagates through the pipeline with the normal frequency at each order.
- Sound above a certain cutoff frequency can propagate in the axial direction of the pipeline for long distances, whereas sound below the cutoff frequency is attenuated exponentially in the axial direction and cannot propagate over long distances.
- In the fluid in the pipeline, the sound power is highest at the axial center and decreases with radial distance from the axial center according to a Bessel function dependence .
- Sound above the cutoff frequency is propagated mainly through the fluid, while sound below the cutoff frequency propagates in the form of vibrations along the pipe wall.
- Controlling and reducing the vibration of the pipe wall is the most effective way to reduce low-frequency noise in a fluid-filled pipeline system.
Author Contributions
Funding
Conflicts of Interest
References
- Serebrennikov, A.; Serebrennikov, D. Mathematical model of polyethylene pipe bending stress state. Mater. Sci. Eng. 2017, 327, 1–6. [Google Scholar] [CrossRef]
- Gao, Y.; Liu, Y.Y. Theoretical and experimental investigation into structural and fluid motions at low frequencies in water distribution pipes. Mech. Syst. Signal Process. 2017, 90, 126–140. [Google Scholar] [CrossRef]
- Wen, J.H.; Shen, H.J.; Yu, D.L.; Wen, S.X. Theoretical and experimental investigation of flexural wave propagating in a periodic pipe with fluid-filled loading. Chin. Phys. Lett. 2010, 27, 11. [Google Scholar]
- Rayleigh, J.W.S. The Theory of Sound; Dover Publications: New York, NY, USA, 1945. [Google Scholar]
- Scott, J.F.M. The free modes of propagation of an infinite fluid-loaded thin cylindrical shell. J. Sound Vib. 1988, 125, 241–280. [Google Scholar] [CrossRef]
- Sinha, B.K.; Piona, T.J.; Kostek, S. Axisymmetric wave propagation in fluid-loaded cylindrical shells. I. Theory. J. Acoust. Soc. Am. 1992, 92, 1132–1143. [Google Scholar] [CrossRef]
- Sinha, B.K.; Piona, T.J.; Kostek, S. Axisymmetric wave propagation in fluid-loaded cylindrical shells. II. Theory versus experiment. J. Acoust. Soc. Am. 1992, 92, 1144–1155. [Google Scholar] [CrossRef]
- Guo, Y.P. Approximate solutions of the dispersion equation for fluid-loaded cylindrical shells. J. Acoust. Soc. Am. 1994, 95, 1435–1440. [Google Scholar] [CrossRef]
- Xi, Z.C.; Liu, G.R.; Lam, K.Y. Dispersion and characteristic surfaces of waves in laminated composite circular cylindrical shells. J. Acoust. Soc. Am. 2000, 108, 2179–2186. [Google Scholar] [CrossRef]
- Junger, M.C. Radiation loading of cylindrical and spherical surfaces. J. Acoust. Soc. Am. 1952, 24, 288–298. [Google Scholar] [CrossRef]
- Junger, M.C. Vibration of elastic shells in a fluid medium and the associated radiation of sound. J. Appl. Mech. 1952, 19, 439–445. [Google Scholar]
- Junger, M.C. The physical interpretation of the expression for an outgoing wave in cylindrical coordinates. J. Acoust. Soc. Am. 1953, 25, 40–53. [Google Scholar] [CrossRef]
- Muggeridge, D.B.; Buckley, T.J. Flexural vibration of orthotropic cylindrical shells in a fluid medium. AIAA J. 1979, 17, 1019–1022. [Google Scholar] [CrossRef]
- Lamb, H. On the velocity of sound in a tube, as affected by the elasticity of the walls. Manch. Mem. 1898, 42, 1–16. [Google Scholar]
- Lin, T.C.; Morgan, G.W. Wave propagation through fluid contained in a cylindrical elastic shell. J. Acoust. Soc. Am. 1956, 28, 1165–1176. [Google Scholar] [CrossRef]
- Kwun, H.; Bartels, K.A.; Dynes, C. Dispersion of longitudinal waves propagating in liquid-filled cylindrical shells. J. Acoust. Soc. Am. 1999, 105, 2601–2611. [Google Scholar] [CrossRef]
- Horne, M.P.; Hansen, R.J. Sound propagation in a pipe containing a liquid of comparable acoustic impedance. J. Acoust. Soc. Am. 1982, 71, 1400–1405. [Google Scholar] [CrossRef]
- Pan, H.; Koyano, K.; Usui, Y. Experimental and numerical investigations of axisymmetric wave propagation in cylindrical pipe filled with fluid. J. Acoust. Soc. Am. 2003, 113, 3209–3214. [Google Scholar] [CrossRef]
- Lafleur, L.D.; Shields, F.D. Low-frequency propagation modes in a liquid-filled elastic tube waveguide. J. Acoust. Soc. Am. 1994, 97, 1435–1445. [Google Scholar] [CrossRef]
- Aristegui, C.; Lowe, M.J.S.; Cawley, P. Guided waves in fluid-filled pipes surrounded by different fluids. Ultrasonics 2001, 39, 367–375. [Google Scholar] [CrossRef]
- Baik, K.; Jiang, J.; Leighton, T.G. Acoustic attenuation, phase and group velocities in liquid-filled pipes: Theory, experiment, and examples of water and mercury. J. Acoust. Soc. Am. 2010, 128, 2610–2624. [Google Scholar] [CrossRef]
- Liu, B.Y.; Liu, J.C. Suppression of low frequency sound transmission in fluid-filled pipe systems through installation of an anechoic node array. AIP Adv. 2018, 8, 11. [Google Scholar] [CrossRef]
- Wang, M.; Qiao, G.; He, Y.A. Noise control of fluid-filled pipes. Appl. Acoust. 2003, 22, 35–38. [Google Scholar]
- Zhu, Z.X.; Lee, P.C.; Wang, Z.G. Numerical solution compared with experimental result for sound propagation in ducts. Acta Acust. 1988, 13, 1–8. (In Chinese) [Google Scholar]
- Zhu, Z.X.; Guo, R. A study of noise reduction by anti-sound using bypass in ducts with flow. Acta Acust. 1997, 22, 1–10. (In Chinese) [Google Scholar]
- Zhang, Y.M.; Tang, R.; Li, Q.; Shang, D.J. The low-frequency sound power measuring technique for an underwater source in a non-anechoic tank. Meas. Sci. Technol. 2018, 29, 035101. [Google Scholar] [CrossRef]
- Shang, D.J.; Shang, Q.L.D.J.; Lin, H. Experimental investigation on flow-induced noise of the underwater hydrofoil structure. Acta Acust. 2012, 37, 416–423. (In Chinese) [Google Scholar]
- Lan, K.; He, X.T.; Lai, D.X.; Li, S.G. Radiative energy flux of diffusive supersonic wave in a cylinder. Acta Phys. Sin. 2016, 55, 3789–3795. (In Chinese) [Google Scholar]
- Gao, G.J.; Deng, M.X.; Li, M.L. Modal expansion analysis of nonlinear circumferential guided wave propagation in a circular tube. Acta Phys. Sin. 2015, 64, 184303. (In Chinese) [Google Scholar]
- Wang, C.H.; Cheng, J.C. Nonlinear forced oscillations of gaseous bubbles in elastic microtubules. Acta Phys. Sin. 2013, 62, 114301. (In Chinese) [Google Scholar]
- Tang, W.L.; Wu, Y. Interior noise field of a viscoelastic cylindrical shell excited by the TBL pressure fluctuations: I. Production mechanism of the noise. Acta Acust. 1997, 22, 60–69. (In Chinese) [Google Scholar]
- Haider, M.F.; Giurgiutiu, V. Analysis of axis symmetric circular crested elastic wave generated during crack propagation in a plate: A Helmholtz potential technique. Int. J. Solids Struct. 2018, 134, 130–150. [Google Scholar] [CrossRef]
- Rose, J.L. Ultrasonic Guided Waves in Solid Media; Cambridge University Press: Cambridge, UK, 2014. [Google Scholar]
- Mostafapour, A.; Davoodi, S. A theoretical and experimental study on acoustic signals caused by leakage in buried gas-filled pipe. Appl. Acoust. 2015, 87, 1–8. [Google Scholar] [CrossRef]
- Achenbach, J.A.; Achenbach, J.D. Reciprocity in Elastodynamics; Cambridge University Press: Cambridge, UK, 2003. [Google Scholar]
















| Wall Material Parameters | |||
|---|---|---|---|
| (m) | (m) | (kg/m3) | (kg/m3) |
| 0.125 | 0.116 | 1000 | 940 |
| (m/s) | (m/s) | (GPa) | |
| 1470 | 1640 | 0.377 | |
| Numerically calculated values of the normal frequency | |||
| First order (kHz) | Second order (kHz) | Third order (kHz) | Fourth order (kHz) |
| 4.6 | 10.4 | 16.3 | 22.2 |
| Working Condition | Source | Frequency (kHz) | Remarks |
|---|---|---|---|
| 1 | White noise signal | 0–20 | |
| 2 | Single-frequency acoustic signal 1 | 4.2 | Single-frequency signal below the cutoff frequency |
| 3 | Single-frequency acoustic signal 2 | 5.2 | Single-frequency signal above the cutoff frequency |
| 4 | Single-frequency mechanical signal 1 | 4.2 | The excitation point is outside the tube wall, directly below the sound source |
| 5 | Single-frequency mechanical signal 2 | 5.2 | The excitation point is outside the tube wall, directly below the sound source |
| Hydrophone (B&K 8103) | ||
|---|---|---|
| Voltage sensitivity | Frequency range | Maximum operating static pressure |
| 30 μV/Pa | 0.1–180 kHz | 4 × 106 Pa |
| Vibration sensor (B&K 4371) | ||
| Charge sensitivity | Frequency range | Maximum operational level |
| 1 pC/ms2 | 0.1–25 200 Hz | 6000g |
| Order | 1 | 2 | 3 |
|---|---|---|---|
| Calculated frequency (kHz) | 4.6 | 10.4 | 16.3 |
| Experimental frequency (kHz) | 4.7 | 10.6 | 16 |
| Relative error (%) | 2.17 | 1.92 | 1.84 |
| Power Spectral Difference | Difference between and | Theoretical Power Spectral Difference (dB) | Experimental Power Spectral Difference (dB) |
|---|---|---|---|
| 80 | 12.1 | 11.1 | |
| 30 | 1.6 | 2 | |
| 40 | 3.8 | 3.3 |
© 2019 by the authors. Licensee MDPI, Basel, Switzerland. This article is an open access article distributed under the terms and conditions of the Creative Commons Attribution (CC BY) license (http://creativecommons.org/licenses/by/4.0/).
Share and Cite
Li, Q.; Song, J.; Shang, D. Experimental Investigation of Acoustic Propagation Characteristics in a Fluid-Filled Polyethylene Pipeline. Appl. Sci. 2019, 9, 213. https://doi.org/10.3390/app9020213
Li Q, Song J, Shang D. Experimental Investigation of Acoustic Propagation Characteristics in a Fluid-Filled Polyethylene Pipeline. Applied Sciences. 2019; 9(2):213. https://doi.org/10.3390/app9020213
Chicago/Turabian StyleLi, Qi, Jiapeng Song, and Dajing Shang. 2019. "Experimental Investigation of Acoustic Propagation Characteristics in a Fluid-Filled Polyethylene Pipeline" Applied Sciences 9, no. 2: 213. https://doi.org/10.3390/app9020213
APA StyleLi, Q., Song, J., & Shang, D. (2019). Experimental Investigation of Acoustic Propagation Characteristics in a Fluid-Filled Polyethylene Pipeline. Applied Sciences, 9(2), 213. https://doi.org/10.3390/app9020213
