Comparative Life Cycle Assessment of End-of-Life Scenarios of Carbon-Reinforced Concrete: A Case Study
Abstract
1. Introduction
1.1. Carbon-Reinforced Concrete
1.2. Life Cycle Assessment
2. End-of-Life of CRC
- (1)
- Separation of the demolition material into individual fractions that can be disposed of or recycled individually;
- (2)
2.1. Separation of CRC
2.2. Separation of Impregnated Fibers
2.2.1. Mechanical Recycling
2.2.2. Thermal Recycling: Pyrolysis
2.3. Use of Recycled Fibers and Concrete
2.4. LCAs of EoL of CRC
3. Case Study: LCA EoL of SRC and CRC
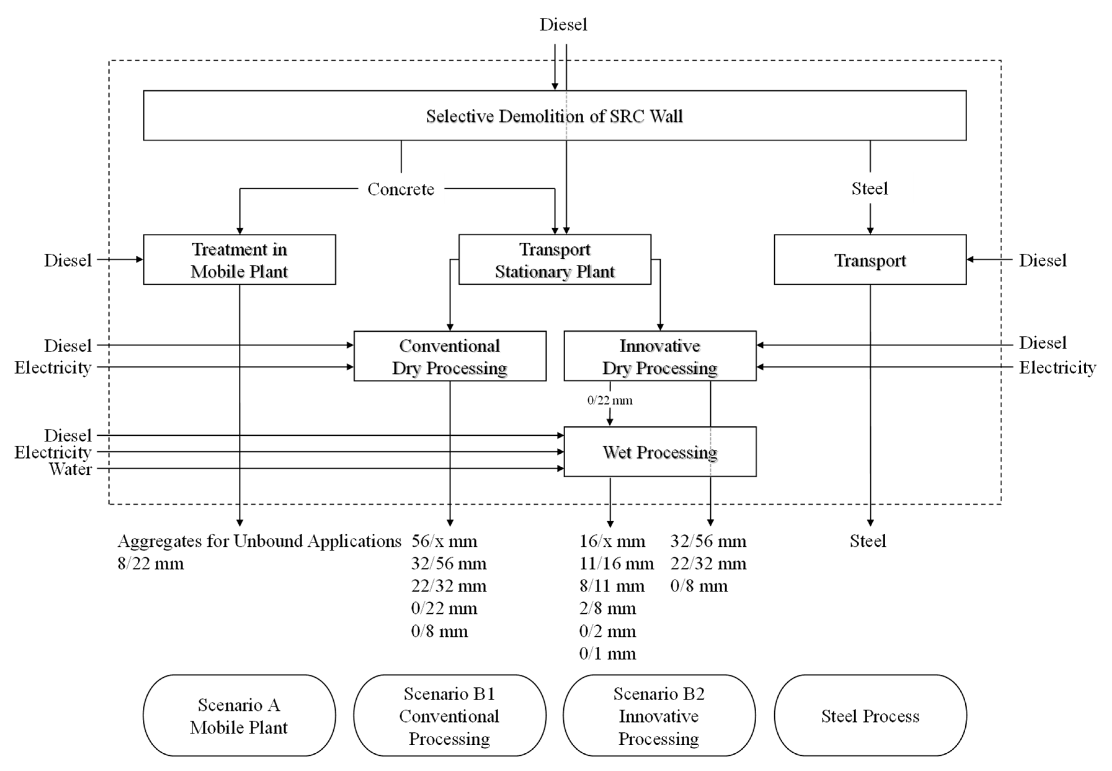
3.1. Goal and Scope
3.2. Life Cycle Inventory
4. Results
5. Sensitivity Analysis
6. Discussion and Limitations
7. Conclusions and Future Outlook
Author Contributions
Funding
Data Availability Statement
Conflicts of Interest
References
- Sizirici, B.; Fseha, Y.; Cho, C.S.; Yildiz, I.; Byon, Y.J. A review of carbon footprint reduction in construction industry, from design to operation. Materials 2021, 14, 6094. [Google Scholar] [CrossRef] [PubMed]
- U.S. Geological Survey. Mineral Commodity Summaries 2020; U.S. Geological Survey: Reston, VA, USA, 2020. [Google Scholar]
- Kortmann, J. Verfahrenstechnische Untersuchungen zur Recyclingfähigkeit von Carbonbeton; Springer Viehweg: Dresden, Germany, 2020; ISBN 9783658301255. [Google Scholar]
- Schladitz, F.; Tietze, M.; Kahnt, A. Marktpotenzial Carbonbeton. In 7. TUDALIT Anwendertagung, 22.-23.09.; TUDALIT e.V.: Dresden, Germany, 2015. [Google Scholar]
- Monteiro, P.J.M.; Miller, S.A.; Horvath, A. Towards sustainable concrete. Nat. Mater. 2017, 16, 698–699. [Google Scholar] [CrossRef] [PubMed]
- Reichenbach, S.; Preinstorfer, P.; Hammerl, M.; Kromoser, B. A review on embedded fibre-reinforced polymer reinforcement in structural concrete in Europe. Constr. Build. Mater. 2021, 307, 124946. [Google Scholar] [CrossRef]
- Seifert, W.; Lieboldt, M. Ressourcenverbrauch im globalen Stahlbetonbau und Potenziale der Carbonbetonbauweise. Beton und Stahlbetonbau 2020, 115, 469–478. [Google Scholar] [CrossRef]
- Khasreen, M.M.; Banfill, P.F.G.; Menzies, G.F. Life-cycle assessment and the environmental impact of buildings: A review. Sustainability 2009, 1, 674–701. [Google Scholar] [CrossRef]
- Kimm, M. Recycling von Carbonbeton: Wie kann eine hochwertige Wiederverwendung gelingen? TUDALIT leichter Bau. Zukunft Formen 2019, 21, 35. [Google Scholar]
- Spelter, A.; Bergmann, S.; Bielak, J.; Hegger, J. Long-term durability of carbon-reinforced concrete: An overview and experimental investigations. Appl. Sci. 2019, 9, 1651. [Google Scholar] [CrossRef]
- Schmeer, S.; Magin, M.; Meier, M.; Mattern, S.; Schweizerhof, K. Aktueller Stand und Trends in der CFK-Berechnung im Fahrzeugbau; Forschungsvereinigung Automobiltechnik e.V. (FAT): Frankfurt, Germany, 2008. [Google Scholar]
- Gries, T.; Roye, A.; Offermann, P.; Peled, A. Textiles. In Textile Reinforced Concrete—State-of-the-Art Report of RILEM TC 201-TRC.; Brameshuber, W., Ed.; RILEM Publications SARL: Paris, France, 2006; pp. 11–27. ISBN 2351580001. [Google Scholar]
- ISO 14040; Environmental Management—Life Cycle Assessment—Principles and Framework. DIN Deutsches Institut für Normung e.V.: Berlin, Germany, 2006.
- ISO 14044; Environmental Management—Life Cycle Assessment—Requirements and Guidelines. DIN Deutsches Institut für Normung e.V.: Berlin, Germany, 2018.
- Duque Ciceri, N.; Garetti, M.; Sperandio, S. From product end-of-life sustainable considerations to design management. IFIP Adv. Inf. Commun. Technol. 2010, 338, 152–159. [Google Scholar] [CrossRef]
- Kimm, M. Ressourceneffizientes und Recyclinggerechtes Design Faserverbundwerkstoffen im Bauwesen. Ph.D. Thesis, RWTH Aachen University, Aachen, Germany, 2020. ISBN 9783844078268. [Google Scholar]
- Kimm, M.; Bhat, S.; Gries, T. Recycling of Textile Reinforced Concrete. Miner. Nebenprodukte Abfälle 2020, 7, 357–373. [Google Scholar]
- Backes, J.G.; del Rosario, P.; Petrosa, D.; Traverso, M.; Hatzfeld, T.; Guenther, E. Building sector issues in about 100 years: End-of-Life scenarios of carbon-reinforced concrete presented in the context of a Life Cycle Assessment, focusing the Carbon Footprint. Processes 2022, 10, 1791. [Google Scholar] [CrossRef]
- Khalil, Y.F. Comparative environmental and human health evaluations of thermolysis and solvolysis recycling technologies of carbon fiber reinforced polymer waste. Waste Manag. 2018, 76, 767–778. [Google Scholar] [CrossRef] [PubMed]
- Rybicka, J.; Tiwari, A.; Leeke, G.A. Technology readiness level assessment of composites recycling technologies. J. Clean. Prod. 2016, 112, 1001–1012. [Google Scholar] [CrossRef]
- Shuaib, N.A.; Mativenga, P.T.; Kazie, J.; Job, S. Resource Efficiency and Composite Waste in UK Supply Chain. Procedia CIRP 2015, 29, 662–667. [Google Scholar] [CrossRef]
- Pakdel, E.; Kashi, S.; Varley, R.; Wang, X. Recent progress in recycling carbon fibre reinforced composites and dry carbon fibre wastes. Resour. Conserv. Recycl. 2021, 166, 105340. [Google Scholar] [CrossRef]
- Woidasky, J.; Seiler, E.; Henning, F.; Wolf, M.-A.; Harsch, M. Kunststoffe und Bauteile—Umwelt und Recycling. In Polymer Engineering 3; Springer: Berlin/Heidelberg, Germany, 2020; pp. 89–139. [Google Scholar]
- May, D.; Goergen, C.; Friedrich, K. Multifunctionality of polymer composites based on recycled carbon fibers: A review. Adv. Ind. Eng. Polym. Res. 2021, 4, 70–81. [Google Scholar] [CrossRef]
- Vincent, G.A.; de Bruijn, T.A.; Wijskamp, S.; Abdul Rasheed, M.I.; van Drongelen, M.; Akkerman, R. Shredding and sieving thermoplastic composite scrap: Method development and analyses of the fibre length distributions. Compos. Part B Eng. 2019, 176, 107197. [Google Scholar] [CrossRef]
- Martens, H.; Goldmann, D. Recyclingtechnik: Fachbuch für Lehre und Praxis, 2nd ed.; Springer: Berlin/Heidelberg, Germany, 2016. [Google Scholar]
- Krauklis, A.E.; Karl, C.W.; Gagani, A.I.; Jørgensen, J.K. Composite Material Recycling Technology—State-of-the-Art and Sustainable Development for the 2020s. J. Compos. Sci. 2021, 5, 28. [Google Scholar] [CrossRef]
- Palmer, J.; Savage, L.; Ghita, O.R.; Evans, K.E. Sheet moulding compound (SMC) from carbon fibre recyclate. Compos. Part A Appl. Sci. Manuf. 2010, 41, 1232–1237. [Google Scholar] [CrossRef]
- Pickering, S.J. Recycling technologies for thermoset composite materials—Current status. Compos. Part A Appl. Sci. Manuf. 2006, 37, 1206–1215. [Google Scholar] [CrossRef]
- Hornbogen, E. Chemische und tribologische Eigenschaften. In Werkstoffe—Aufbau und Eigenschaften von Keramik-, Metall-, Polymer-und Verbundwerkstoffen; Springer: Berlin/Heidelberg, Germany, 2002; pp. 220–241. [Google Scholar]
- Meyer, L.O.; Schulte, K.; Grove-Nielsen, E. CFRP-Recycling Following a Pyrolysis Route: Process Optimization and Potentials. J. Compos. Mater. 2009, 43, 1121–1132. [Google Scholar] [CrossRef]
- Oliveux, G.; Dandy, L.O.; Leeke, G.A. Current status of recycling of fibre reinforced polymers: Review of technologies, reuse and resulting properties. Prog. Mater. Sci. 2015, 72, 61–99. [Google Scholar] [CrossRef]
- Park, J.M.; Kwon, D.J.; Wang, Z.J.; Gu, G.Y.; Devries, K.L. Effect of thermal treatment temperatures on the reinforcing and interfacial properties of recycled carbon fiber–phenolic composites. Compos. Part A Appl. Sci. Manuf. 2013, 47, 156–164. [Google Scholar] [CrossRef]
- Abdallah, R.; Juaidi, A.; Savaş, M.A.; Çamur, H.; Albatayneh, A.; Abdala, S.; Manzano-Agugliaro, F. A Critical Review on Recycling Composite Waste Using Pyrolysis for Sustainable Development. Energies 2021, 14, 5748. [Google Scholar] [CrossRef]
- López, F.A.; Rodríguez, O.; Alguacil, F.J.; García-Díaz, I.; Centeno, T.A.; García-Fierro, J.L.; González, C. Recovery of carbon fibres by the thermolysis and gasification of waste prepreg. J. Anal. Appl. Pyrolysis 2013, 104, 675–683. [Google Scholar] [CrossRef]
- Limburg, M.; Quicker, P. Entsorgung von Carbonfasern—Probleme des Recyclings und Auswirkungen auf die Abfallverbrennung. Berliner Abfallwirtschafts Energiekonferenz 2016, 13, 135–144. [Google Scholar]
- Naqvi, S.R.; Prabhakara, H.M.; Bramer, E.A.; Dierkes, W.; Akkerman, R.; Brem, G. A critical review on recycling of end-of-life carbon fibre/glass fibre reinforced composites waste using pyrolysis towards a circular economy. Resour. Conserv. Recycl. 2018, 136, 118–129. [Google Scholar] [CrossRef]
- Onwudili, J.A.; Miskolczi, N.; Nagy, T.; Lipóczi, G. Recovery of glass fibre and carbon fibres from reinforced thermosets by batch pyrolysis and investigation of fibre re-using as reinforcement in LDPE matrix. Compos. Part B Eng. 2016, 91, 154–161. [Google Scholar] [CrossRef]
- Yang, J.; Liu, J.; Liu, W.; Wang, J.; Tang, T. Recycling of carbon fibre reinforced epoxy resin composites under various oxygen concentrations in nitrogen–oxygen atmosphere. J. Anal. Appl. Pyrolysis 2015, 112, 253–261. [Google Scholar] [CrossRef]
- Zhang, J.; Chevali, V.S.; Wang, H.; Wang, C.H. Current status of carbon fibre and carbon fibre composites recycling. Compos. Part B Eng. 2020, 193, 108053. [Google Scholar] [CrossRef]
- Nahil, M.A.; Williams, P.T. Recycling of carbon fibre reinforced polymeric waste for the production of activated carbon fibres. J. Anal. Appl. Pyrolysis 2011, 91, 67–75. [Google Scholar] [CrossRef]
- Mazzocchetti, L.; Benelli, T.; D’Angelo, E.; Leonardi, C.; Zattini, G.; Giorgini, L. Validation of carbon fibers recycling by pyro-gasification: The influence of oxidation conditions to obtain clean fibers and promote fiber/matrix adhesion in epoxy composites. Compos. Part A Appl. Sci. Manuf. 2018, 112, 504–514. [Google Scholar] [CrossRef]
- Heilos, K.; Fischer, H.; Hofmann, M.; Miene, A. Nonwovens made of recycled carbon fibres (rCF) used for production of sophisticated carbon fibre-reinforced plastics. Vlakna Text 2020, 27, 65–75. [Google Scholar]
- Hengstermann, M. Entwicklung von Hybridgarnen aus Recycelten Carbonfasern und Polyamid 6-Fasern für Thermoplastische Verbundbauteile Mit Hohem Leistungsvermögen. Ph.D. Thesis, Technische Universität Dresden, Dresden, Germany, 1986. [Google Scholar]
- Schueppel, D.; Stockschlaeder, J.; von Reden, T. End-of-life CFRP as a raw material in steel and of calcium carbide production. In Proceedings of the 18th European Conference on Composite Materials, Athens, Greece, 24–28 June 2018. [Google Scholar]
- Konar, S.; Nylén, J.; Svensson, G.; Bernin, D.; Edén, M.; Ruschewitz, U.; Häussermann, U. The many phases of CaC2. J. Solid State Chem. 2016, 239, 204–213. [Google Scholar] [CrossRef]
- Wexler, M.; Baumann, W.; Gehrmann, H. Optionen der Carbonfaserverwertung in industriellen Hochtemperaturprozessen. In Proceedings of the Berliner Abfallwirtschafts- und Energiekonferenz, Berlin, Germany, 10–11 June 2021. [Google Scholar]
- Helbig, M.R.; Kahnt, A.; Grunewald, J. Chancen der Wiederverwendung von Fassadenelementen aus Carbonbeton. In Proceedings of the Smart Cities/Smart Regions—Technische, Wirtschaftliche und Gesellschaftliche Innovationen; Gómez, J.M., Solsbach, A., Klenke, T., Wohlgemuth, V., Eds.; Springer Viehweg: Oldenburg, Germany, 2019; pp. 179–188. [Google Scholar]
- Chen, C.; Habert, G.; Bouzidi, Y.; Jullien, A.; Ventura, A. LCA allocation procedure used as an incitative method for waste recycling: An application to mineral additions in concrete. Resour. Conserv. Recycl. 2010, 54, 1231–1240. [Google Scholar] [CrossRef]
- Colangelo, F.; Forcina, A.; Farina, I.; Petrillo, A. Life Cycle Assessment (LCA) of different kinds of concrete containing waste for sustainable construction. Buildings 2018, 8, 70. [Google Scholar] [CrossRef]
- Colangelo, F.; Navarro, T.G.; Farina, I.; Petrillo, A. Comparative {LCA} of concrete with recycled aggregates: A circular economy mindset in {Europe}. Int. J. Life Cycle Assess. 2020, 25, 1790–1804. [Google Scholar] [CrossRef]
- Jehle, P.; Kortmann, J.; Kopf, F.; Bienkowski, N. Demolition and recycling of carbon reinforced concrete. In Proceedings of the International HISER Conference on Advances in Recycling and Management of Construction and Demolition Waste 2017, Delft, The Netherlands, 21–23 June 2017. [Google Scholar]
- Kimm, M.; Gerstein, N.; Schmitz, P.; Simons, M.; Gries, T.; Knoeri, C.; Sanyé-Mengual, E.; Althaus, H.J.; Jehle, P.; Kortmann, J.; et al. On the separation and recycling behaviour of textile reinforced concrete: An experimental study. Int. J. Cem. Compos. Light. Concr. 2018, 51, 271–272. [Google Scholar] [CrossRef]
- Knoeri, C.; Sanyé-Mengual, E.; Althaus, H.-J. Comparative LCA of recycled and conventional concrete for structural applications. Int. J. Life Cycle Assess. 2013, 18, 909–918. [Google Scholar] [CrossRef]
- DIN EN 15804; 2012—Nachhaltigkeit von Bauwerken—Umweltproduktdeklarationen—Grundregeln für die Produktkategorie Bauprodukte. Deutsches Institut für Normung (DIN) e.V.: Berlin, Germany, 2012.
- Eberhardt, L.C.M.; van Stijn, A.; Rasmussen, F.N.; Birkved, M.; Birgisdottir, H. Development of a life cycle assessment allocation approach for circular economy in the built environment. Sustainality 2020, 12, 9579. [Google Scholar] [CrossRef]
- CML—Department of Industrial Ecology CML-IA Characterisation Factors. 2016. Available online: https://www.universiteitleiden.nl/en/research/research-output/science/cml-ia-characterisation-factors (accessed on 12 September 2022).
- Otto, J.; Adam, R. Carbonbeton und Stahlbeton im wirtschaftlichen Vergleich/Textile-reinforced concrete and reinforced concrete in an economic comparison. Bauingenieur 2019, 94, 246–253. [Google Scholar] [CrossRef]
- Backes, J.G.; Traverso, M.; Horvath, A. Sustainability Assessment of a disruptive innovation: Comparative cradle-to-gate Life Cycle Assessment of Carbon Reinforced Concrete. Int. J. Life Cycle Assess. 2022. in submitted. [Google Scholar]
- von der Heid, A.C.; Grebe, R.; Will, N.; Hegger, J. Großformatige Sandwichelemente mit Deckschichten aus Textilbeton: Untersuchungen an Sandwichplattenstreifen. Beton Stahlbetonbau 2019, 114, 476–484. [Google Scholar] [CrossRef]
- Umweltbundesamt Erneuerbare Energien in Deutschland—Daten zur Entwicklung 2020. Umweltbundesamt 2021, 1–28.










| Carbon-Reinforced Concrete | Amount | Unit | Steel-Reinforced Concrete | Amount | Unit | 
|---|---|---|---|---|---|
| Total weight | 1.43 | t | Total weight | 2.86 | t | 
| Total double wall | 0.6 | m3 | Total double wall | 1.1 | m3 | 
| Concrete per double wall | 1.42 | t | Concrete per double wall | 2.63 | t | 
| Carbon scrim per m3 | 0.0170 | t | Steel scrim per m3 | 0.2100 | t | 
| Carbon scrim per double wall | 0.0102 | t | Steel scrim per double wall | 0.2310 | t | 
| Carbon scrim per wall | 0.0051 | t | Steel scrim per wall | 0.1155 | t | 
| EoL CRC | ADPe | ADPf | AP | EP | FAETP | GWP | HTP | MAETP | ODP | POCP | TETP | 
|---|---|---|---|---|---|---|---|---|---|---|---|
| Concrete fraction | 0.0 | 27.3 | 0.0 | 0.0 | 0.0 | 2.0 | 0.0 | 33.6 | 0.0 | 0.0 | 0.0 | 
| Mechanical recycling | 0.0 | 164.0 | 0.0 | 0.0 | 0.1 | 4.9 | 0.3 | 521.1 | 0.0 | 0.0 | 0.0 | 
| Concrete fraction + mech. recycling | 0.0 | 191.3 | 0.0 | 0.0 | 0.1 | 7.0 | 0.4 | 554.7 | 0.0 | 0.0 | 0.0 | 
| Pyrolysis | 0.0 | 445.6 | 0.0 | 0.0 | 0.1 | 18.7 | 1.0 | 1849.0 | 0.0 | 0.0 | 0.1 | 
| Concrete fraction + pyrolysis | 0.0 | 473.0 | 0.0 | 0.0 | 0.1 | 20.7 | 1.0 | 1882.6 | 0.0 | 0.0 | 0.1 | 
| EoL SRC | ADPe | ADPf | AP | EP | FAETP | GWP | HTP | MAETP | ODP | POCP | TETP | |
|---|---|---|---|---|---|---|---|---|---|---|---|---|
| Steel | 0.0 | 25.2 | 0.0 | 0.0 | 0.0 | 1.9 | 0.0 | 30.98 | 0.0 | 0.0 | 0.0 | |
| A | Concrete fraction—mobile plant | 0.0 | 700.3 | 0.0 | 0.0 | 0.3 | 6.9 | 0.9 | 860.2 | 0.0 | 0.0 | 0.1 | 
| A: Steel + mobile plant | 0.0 | 725.5 | 0.0 | 0.0 | 0.3 | 8.8 | 0.9 | 891.2 | 0.0 | 0.0 | 0.1 | |
| B1 | Concrete fraction—stationary conventional | 0.0 | 412.9 | 0.0 | 0.0 | 0.2 | 9.5 | 0.6 | 769.6 | 0.0 | 0.0 | 0.1 | 
| B1: Steel + stat. plant con. | 0.0 | 438.1 | 0.0 | 0.0 | 0.2 | 11.4 | 0.6 | 800.6 | 0.0 | 0.0 | 0.1 | |
| B2 | Concrete fraction—stationary innovative | 0.0 | 475.5 | 0.0 | 0.0 | 0.2 | 12.8 | 0.8 | 1270 | 0.0 | 0.0 | 0.1 | 
| B2: Steel + stat. plant inno. | 0.0 | 500.7 | 0.0 | 0.0 | 0.2 | 14.7 | 0.9 | 1301.0 | 0.0 | 0.0 | 0.1 | 
| Publisher’s Note: MDPI stays neutral with regard to jurisdictional claims in published maps and institutional affiliations. | 
© 2022 by the authors. Licensee MDPI, Basel, Switzerland. This article is an open access article distributed under the terms and conditions of the Creative Commons Attribution (CC BY) license (https://creativecommons.org/licenses/by/4.0/).
Share and Cite
Backes, J.G.; Del Rosario, P.; Luthin, A.; Traverso, M. Comparative Life Cycle Assessment of End-of-Life Scenarios of Carbon-Reinforced Concrete: A Case Study. Appl. Sci. 2022, 12, 9255. https://doi.org/10.3390/app12189255
Backes JG, Del Rosario P, Luthin A, Traverso M. Comparative Life Cycle Assessment of End-of-Life Scenarios of Carbon-Reinforced Concrete: A Case Study. Applied Sciences. 2022; 12(18):9255. https://doi.org/10.3390/app12189255
Chicago/Turabian StyleBackes, Jana Gerta, Pamela Del Rosario, Anna Luthin, and Marzia Traverso. 2022. "Comparative Life Cycle Assessment of End-of-Life Scenarios of Carbon-Reinforced Concrete: A Case Study" Applied Sciences 12, no. 18: 9255. https://doi.org/10.3390/app12189255
APA StyleBackes, J. G., Del Rosario, P., Luthin, A., & Traverso, M. (2022). Comparative Life Cycle Assessment of End-of-Life Scenarios of Carbon-Reinforced Concrete: A Case Study. Applied Sciences, 12(18), 9255. https://doi.org/10.3390/app12189255
 
        




 
       