Influence of Fatigue Crack Formation and Propagation on Reliability of Steel Members
Abstract
:1. Introduction
2. Fatigue Crack Formation and Propagation
3. Crack Propagation from Surface
- KI is the stress-intensity factor (SIF),
- σm is the tensile (membrane) stress,
- σb is the bending stress,
- F(a)m is the boundary-correction factor of stress intensity for tension stress,
- F(a)b is the boundary-correction factor of stress intensity for bending stress,
- M(a)m is the curve-fitting function taking into account the nonlinear stress peak due to the tension effects,
- M(a)b is the curve-fitting function taking into account the nonlinear stress peak due to the bending effects.
- F(a) = F(a/t, a/c, 2c/b) is the boundary-correction factor for surface crack in a plate,
- a is the crack depth,
- c is the half of the crack width,
- b is the width of the cracked plate,
- t is the thickness of the cracked plate,
- θ is the parametric angle of ellipse,
- H is the function expressing change of F(a) in the case of bending stressing,
- Φ is the shape factor for an elliptic crack, where
- g is the fine-tuning curve-fitting function,
- fϕ is the angular function derived from embedded elliptical crack solution,
- fw is the finite-width correction,
4. Fatigue Crack Propagation
- da/dN is the change in the length of the fatigue crack per load cycles,
- ΔK is the interval (range) of the stress intensity factor (SIF),
- C, m are the material constants,
- N is the number of loading cycles.
5. Effect of Crack on Steel Member’s Reliability
- R is the random variable resistance of a structural member,
- E is the random variable load effects of the same element.
- fy is the random variable yield strength of structural steel [MPa],
- W(N)pl,y is the time dependent random variable plastic section modulus [m3],
- W(N)el,y is the time dependent random variable elastic section modulus [m3].
6. Independent Crack Growth in Directions “a” and “c”
6.1. Analytical Calculation
6.2. Probabilistic Approach
7. Dependence of Crack Growth in Directions “a” and “c”
- ΔKa is the stress-intensity factor in direction “a”,
- ΔKc is the stress-intensity factor in direction “c”,
- C, m are the material constants.
8. Conclusions
- -
- In the case of independent crack growth in directions “a” and “c”, the fatigue crack can cause unavoidable decline of moment resistance (deterministic and stochastic) from the viewpoint of the Ultimate Limit States, what is going to decrease the member reliability from β = 3.652 to β = 2.754 (I400) and to β = 2.200 (I800) within bridge lifetime of 100 years.
- -
- The derivation of the model of dependent crack growth in both directions represents a major contribution of this work. Using this approach, it is possible to directly determine the bending resistance and fatigue stressing from the viewpoint of the Ultimate Limit States.
- -
- In the case of dependent crack growth, the reliability index β of the member at the maximum dimension of the considered crack a = 0.8·t takes the values of β = 3.443 (I 400) and β = 3.400 (I 800) respecting strength criteria of the Ultimate Limit States.
- -
- The results of the study showed more favourable and real (lower changes) interconnection between fatigue stressing and bending resistance. However, it still tends to decrease reliability of the member and to shorten the remaining lifetime.
Author Contributions
Funding
Institutional Review Board Statement
Informed Consent Statement
Data Availability Statement
Conflicts of Interest
References
- Kotes, P.; Vican, J. Recommended reliability levels for the evaluation of existing bridges according to Eurocodes. Struct. Eng. Int. —Int. Assoc. Bridge Struct. Eng. (IABSE) 2013, 23, 411–417. [Google Scholar]
- Vican, J.; Gocal, J.; Odrobinak, J.; Moravcik, M.; Kotes, P. Determination of railway bridges loading capacity. Procedia Eng. 2015, 111, 839–844. [Google Scholar] [CrossRef] [Green Version]
- Vican, J.; Gocal, J.; Odrobinak, J.; Kotes, P. Analysis of existing steel railway bridges. Procedia Eng. 2016, 156, 507–514. [Google Scholar] [CrossRef] [Green Version]
- Nagesha, A.; Valsan, M.; Kannan, R.; Rao, K.B.S.; Mannan, S.L. Influence of temperature on the low cycle fatigue behaviour of a modified 9Cr-1Mo ferritic steel. Int. J. Fatigue 2002, 24, 1285–1293. [Google Scholar] [CrossRef]
- Hirschberg, V.; Rodrigue, D. Fourier Transform (FT) Analysis of the Stress as a Tool to Follow the Fatigue Behavior of Metals. Appl. Sci. 2021, 11, 3549. [Google Scholar] [CrossRef]
- Sakai, T.; Nakagawa, A.; Nakamura, Y.; Oguma, N. Proposal of a Probabilistic Model on Rotating Bending Fatigue Property of a Bearing Steel in a Very High Cycle Regime. Appl. Sci. 2021, 11, 2889. [Google Scholar] [CrossRef]
- Mashayekhi, M.; Santini-Bell, E. Fatigue assessment of a complex welded steel bridge connection utilizing a three-dimensional multi-scale finite element model and hotspot stress method. Eng. Struct. 2020, 214, 110624. [Google Scholar] [CrossRef]
- Zhu, Z.; Xiang, Z.; Li, J.; Huang, Y.; Ruan, S. Fatigue behavior of orthotropic bridge decks with two types of cutout geometry based on field monitoring and FEM analysis. Eng. Struct. 2020, 209, 109926. [Google Scholar] [CrossRef]
- Zhang, W.; Yuan, H. Corrosion fatigue effects on life estimation of deteriorated bridges under vehicle impacts. Eng. Struct. 2014, 71, 128–136. [Google Scholar] [CrossRef]
- Chun-Qing, L.; Wei, Y.; Wenhai, S. Corrosion effect of ferrous metals on degradation and remaining service life of infrastructure using pipe fracture as example. Struct. Infrastruct. Eng. 2020, 16, 583–598. [Google Scholar]
- Li, H.; Wu, G. Fatigue Evaluation of Steel Bridge Details Integrating Multi-Scale Dynamic Analysis of Coupled Train-Track-Bridge System and Fracture Mechanics. Appl. Sci. 2020, 10, 3261. [Google Scholar] [CrossRef]
- Cui, C.; Xu, Y.; Zhang, Q.; Wang, F. Vehicle-induced fatigue damage prognosis of orthotropic steel decks of cable-stayed bridges. Eng. Struct. 2020, 212, 110509. [Google Scholar] [CrossRef]
- Guo, T.; Chen, Y.u. Fatigue reliability analysis of steel bridge details based on field-monitored data and linear elastic fracture mechanics. Struct. Infrastruct. Eng. 2013, 9, 496–505. [Google Scholar] [CrossRef]
- Fageehi, Y.A. Two- and Three-Dimensional Numerical Investigation of the Influence of Holes on the Fatigue Crack Growth Path. Appl. Sci. 2021, 11, 7480. [Google Scholar] [CrossRef]
- Helmerich, R.; Kühn, B.; Nussbaumer, A. Assessment of existing steel structures. A guideline for estimation of the remaining fatigue life. Struct. Infrastruct. Eng. 2007, 3, 245–255. [Google Scholar] [CrossRef]
- Alvarez-Armas, I.; Krupp, U.; Balbi, M.; Herenu, S.; Marinelli, M.C.; Knobbe, H. Growth of short cracks during low and high cycle fatigue in a duplex stainless steel. Int. J. Fatigue 2012, 41, 95–100. [Google Scholar] [CrossRef]
- Shrestha, S.; Kannan, M.; Morscher, G.N.; Presby, M.J.; Razavi, S.M. In-situ fatigue life analysis by modal acoustic emission, direct current potential drop and digital image correlation for steel. Int. J. Fatigue 2021, 142, 105924. [Google Scholar] [CrossRef]
- Skoglund, O.; Leander, J.; Karoumi, R. Optimizing the steel girders in a high strength steel composite bridge. Eng. Struct. 2020, 221, 110981. [Google Scholar] [CrossRef]
- Di, J.; Ruan, X.; Zhou, X.; Wang, J.; Peng, X. Fatigue assessment of orthotropic steel bridge decks based on strain monitoring data. Eng. Struct. 2021, 228, 111437. [Google Scholar] [CrossRef]
- Yan, F.; Chen, W.; Lin, Z. Prediction of fatigue life of welded details in cable-stayed orthotropic steel deck bridges. Eng. Struct. 2016, 127, 344–358. [Google Scholar] [CrossRef]
- Wang, W.; Deng, L.; Shao, X. Number of stress cycles for fatigue design of simply-supported steel I-girder bridges considering the dynamic effect of vehicle loading. Eng. Struct. 2016, 110, 70–78. [Google Scholar] [CrossRef]
- Soares, B.; Luiz, H.; Modenesi, P.J.; Godefroid, L.B.; Arias, A.R. Fatigue crack growth rates on the weld metal of high heat input submerged arc welding. Int. J. Fatigue 2019, 119, 43–51. [Google Scholar]
- Gadallah, R.; Tsutsumi, S.; Yonezawa, T.; Shimanuki, H. Residual stress measurement at the weld root of rib-to-deck welded joints in orthotropic steel bridge decks using the contour method. Eng. Struct. 2020, 219, 110946. [Google Scholar] [CrossRef]
- European Union. EN 1993-2 Eurocode 3. Design of Steel Structures. Part 2: Steel Bridges; European Union: Brussels, Belgium, 2007. [Google Scholar]
- European Union. EN 1993-1-9 Eurocode 3. Design of Steel Structures. Part 1–9: Fatigue; European Union: Brussels, Belgium, 2007. [Google Scholar]
- Tomica, V.; Gocal, J.; Kotes, P. Acceptable size of fatigue crack on tension flange of steel bridges. In Proceedings of the Czech and Slovak International Conference, Bratislava, Slovakia, 25–26 April 2006; pp. 91–96. [Google Scholar]
- Tomica, V. Key Dimensions of Fatigue Cracks in Steel Structures. In Proceedings of the 20th Czech-Slovak Conference with International Participation, Steel Structures and Bridges, Prague, Czech Republic, 17–20 September 2003; pp. 163–168. (In Czech). [Google Scholar]
- Fisher, J.W.; Kulak, G.L.; Smith, I.F.C. Fatigue Primer for Structural Engineering; National Steel Bridge Alliance: Chicago, IL, USA, 1998. [Google Scholar]
- Gocal, J. Application of Probabilistic Approach on Observation of Fatigue Crack Propagation Using Linear Elastic Fracture Mechanics. Ph.D. Thesis, University of Zilina, Zilina, Slovakia, June 2000. (In Slovak). [Google Scholar]
- Gocal, J.; Vican, J.; Hlinka, R.; Jost, J. Laboratory tests of a typical fatigue prone riveted steel railway bridge structural detail. Procedia Eng. 2010, 2, 1761–1766. [Google Scholar] [CrossRef] [Green Version]
- Zehnder, A.T. Stress Intensity Factors. In Encyclopedia of Tribology; Wang, Q.J., Chung, Y.W., Eds.; Springer: Boston, MA, USA, 2013. [Google Scholar]
- Zhang, J.; Yang, W.; Chen, J.; Xu, R. Direct Evaluation of the Stress Intensity Factors for the Single and Multiple Crack Problems Using the P-Version Finite Element Method and Contour Integral Method. Appl. Sci. 2021, 11, 8111. [Google Scholar] [CrossRef]
- Smith, C.W.; Peters, W.H.; Kirbi, G.C.; Andonian, A. Stress-intensity distribution for natural flaw shapes approximating “Benchmark” geometries. In Proceedings of the Thirteenth National Symposium on Fracture Mechanics “Fracture Mechanics”, Philadelphia, PA, USA, 16–18 June 1980; pp. 422–437. [Google Scholar]
- Tomica, V.; Slavík, J. Fatigue reliability of existing steel structures. In Studies of University of Transport and Communications in Žilina; EDIS: Bratislava, Žilina, 1996. [Google Scholar]
- Newman, J.C., Jr.; Raju, I.S. Stress-intensity factor equations for cracks in three-dimensional finite bodies. In Proceedings of the Fourteenth National Symposium on Fracture Mechanics “Fracture Mechanics”, Volume I—Theory and Analysis, Los Angeles, CA, USA, 30 June–2 July 1981; pp. I-238–I-265. [Google Scholar]
- Newman, J.C., Jr.; Raju, I.S. Analyses of Surface Cracks in Finite Plates under Tension or Bending Loads; NASA TP-1578; National Aeronautics and Space Administration: Washington, DC, USA, 1979. [Google Scholar]
- Anderson, T.L. Fracture Mechanics: Fundamentals and Applications; CRC Press: Boca Raton, FL, USA, 2005; 611p. [Google Scholar]
- Paris, P.C.; Gomez, M.P.; Anderson, W.E. A rational analytic theory of fatigue. Trend Eng. 1961, 13, 9–14. [Google Scholar]
- Paris, P.C.; Erdogan, F. A critical analysis of crack propagation laws. J. Basic Eng. 1963, 85, 528–533. [Google Scholar] [CrossRef]
- Bujnak, J.; Gocal, J.; Odrobinak, J. Potential modelling and verification of bridge superstructures behaviour, 9th International symposium on steel bridges. IOP Conf. Ser. Mater. Sci. Eng. 2018, 419, 012011. [Google Scholar] [CrossRef]
- Odrobinak, J.; Hlinka, R. Degradation of steel footbridges with neglected inspection and maintenance. Bridges in Danube basin 2016—New trends in bridge engineering and efficient solution for large and medium span bridges. Procedia Eng. 2016, 156, 304–311. [Google Scholar]
- Krejsa, M.; Koubova, L.; Flodr, J.; Protivinsky, J.; Nguyen, Q.T. Probabilistic prediction of fatigue damage based on linear fracture mechanics. Frat. ed Integrita Strutt. 2017, 39, 143–159. [Google Scholar] [CrossRef] [Green Version]
- Kala, Z. Global Sensitivity Analysis of Reliability of Structural Bridge System. Eng. Struct. 2019, 194, 36–45. [Google Scholar] [CrossRef]
- Kala, Z. Sensitivity Analysis in Probabilistic Structural Design: A Comparison of Selected Techniques. Sustainability 2020, 12, 4788. [Google Scholar] [CrossRef]
- Mrazik, A. Theory of Steel Structures Reliability; VEDA: Bratislava, Slovakia, 1987; 360p. (In Slovak) [Google Scholar]
- STN 73 2611 + Amendment 3—1993: Ultimate Tolerances of Dimensions of Steel Structures; Slovak Office of Standards, Metrology and Testing: Bratislava, Slovakia, 1993. (In Slovak)
- Kotes, P.; Vican, J. Reliability levels for existing bridges evaluation according to Eurocodes. Procedia Eng. 2012, 40, 211–216. [Google Scholar] [CrossRef] [Green Version]
- Tomica, V.; Slavik, J. Effect of Inspection on Fatigue Life of Existing Orthotropic Steel Bridge Decks; European Workshop “Thin-Walled Steel Structures”: Kreisau, Poland, 1996; pp. 167–174. [Google Scholar]
- Tomica, V.; Hric, M. Shape of fatigue crack in flange-plate members. In Proceedings of the 17th Czech-Slovak International Conference “Steel Structures and Bridges”, Bratislava, Slovakia, 9 July–9 September 1994; pp. I-313–I-318. [Google Scholar]
- Tomica, V. Assessment of crack-like imperfections in fillet welded attachments in orthotropic steel deck. In Studies of University of Transport and Communications in Žilina; EDIS: Bratislava, Žilina, 1995; Volume 18, pp. 15–27. [Google Scholar]
- Jolles, M.; Tortoriello, V. Geometry variations during fatigue growth of surface flaws. In Proceedings of the Fourteenth National Symposium on Fracture Mechanics “Fracture Mechanics”, Volume I—Theory and Analysis, Los Angeles, CA, USA, 30 June–2 July 1981; pp. I-297–I-307. [Google Scholar]















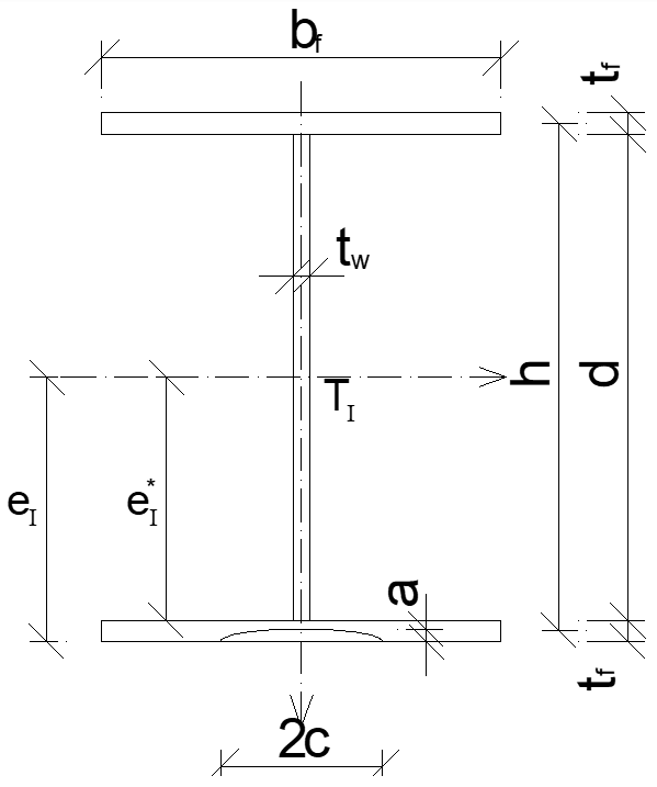
| Input Characteristics | I 400 | I 800 |
|---|---|---|
| Yield strength—fy [MPa] | 235.0/1.0 = 235.0 | 235.0/1.0 = 235.0 |
| Flange width—bf [mm] | 100.0 | 250.0 |
| Flange thickness—tf [mm] | 10.0 | 25.0 |
| Web height—d [mm] | 380.0 | 750.0 |
| Web thickness—tw [mm] | 8.0 | 10.0 |
| Input Characteristics | I 400-Welded | I 800-Welded | Probability Distribution | ||||
|---|---|---|---|---|---|---|---|
| m | s | v | m | s | v | ||
| Yield strength—fy [MPa] | 269.20 | 28.00 | 0.104 | 281.00 | 27.80 | 0.099 | Normal |
| Flange width—bf [mm] | 100.00 | 2.00 | 0.020 | 250.00 | 2.00 | 0.008 | Normal |
| Flange thickness—tf [mm] | 10.210 | 0.37 | 0.036 | 25.525 | 0.925 | 0.036 | Normal |
| Web height—d [mm] | 380.00 | 2.00 | 0.005 | 750.00 | 2.00 | 0.003 | Normal |
| Web thickness—tw [mm] | 8.168 | 0.296 | 0.036 | 10.210 | 0.37 | 0.036 | Normal |
| Δc [mm] | Δa [mm] | c [mm] | a [mm] | Crack Cross-Sectional Area Atr [mm2] |
|---|---|---|---|---|
| 0.00001 ≈ 0 | 0.00001 ≈ 0 | ≈0 | ||
| 0.1 | 0.075 | 0.1 | 0.075 | 0.01178 |
| 0.1 | 0.116 | 0.2 | 0.191 | 0.06000 |
| 0.1 | 0.080 | 0.3 | 0.271 | 0.12771 |
| 0.1 | 0.087 | 0.4 | 0.358 | 0.22494 |
| 0.1 | 0.089 | 0.5 | 0.447 | 0.35107 |
| Selected Increment Δc [mm] | Dependence between “c” and “a” |
|---|---|
| Δc = 0.5 mm | c = 0.03093·a2 + 1.01255·a + 0.06696 |
| Δc = 0.1 mm | c = 0.03030·a2 + 1.01960·a + 0.06844 |
| Δc = 0.05 mm | c = 0.03024·a2 + 1.02015·a + 0.06903 |
| Δc = 0.01 mm | c = 0.03025·a2 + 1.02027·a + 0.06972 |
| Δc = 0.005 mm | c = 0.03027·a2 + 1.02017·a + 0.06993 |
| Δc = 0.001 mm | c = 0.03027·a2 + 1.02022·a + 0.06995 |
| Flange Thickness t = tf [mm] | Dependence between “c” and “a” |
|---|---|
| tf = 10 mm | c = 0.03027·a2 + 1.02022·a + 0.06995 |
| tf = 13 mm | c = 0.0232·a2 + 1.0270·a + 0.0883 |
| tf = 20 mm | c = 0.0151·a2 + 1.0202·a + 0.1381 |
| tf = 30 mm | c = 0.0101·a2 + 1.0203·a + 0.2076 |
Publisher’s Note: MDPI stays neutral with regard to jurisdictional claims in published maps and institutional affiliations. |
© 2021 by the authors. Licensee MDPI, Basel, Switzerland. This article is an open access article distributed under the terms and conditions of the Creative Commons Attribution (CC BY) license (https://creativecommons.org/licenses/by/4.0/).
Share and Cite
Koteš, P.; Vičan, J. Influence of Fatigue Crack Formation and Propagation on Reliability of Steel Members. Appl. Sci. 2021, 11, 11562. https://doi.org/10.3390/app112311562
Koteš P, Vičan J. Influence of Fatigue Crack Formation and Propagation on Reliability of Steel Members. Applied Sciences. 2021; 11(23):11562. https://doi.org/10.3390/app112311562
Chicago/Turabian StyleKoteš, Peter, and Josef Vičan. 2021. "Influence of Fatigue Crack Formation and Propagation on Reliability of Steel Members" Applied Sciences 11, no. 23: 11562. https://doi.org/10.3390/app112311562
APA StyleKoteš, P., & Vičan, J. (2021). Influence of Fatigue Crack Formation and Propagation on Reliability of Steel Members. Applied Sciences, 11(23), 11562. https://doi.org/10.3390/app112311562

