Investigation on Seismic Performance of Reinforced Concrete Frame Retrofitted by Carbon Fiber-Reinforced Polymer
Abstract
1. Introduction
2. Experimental Program
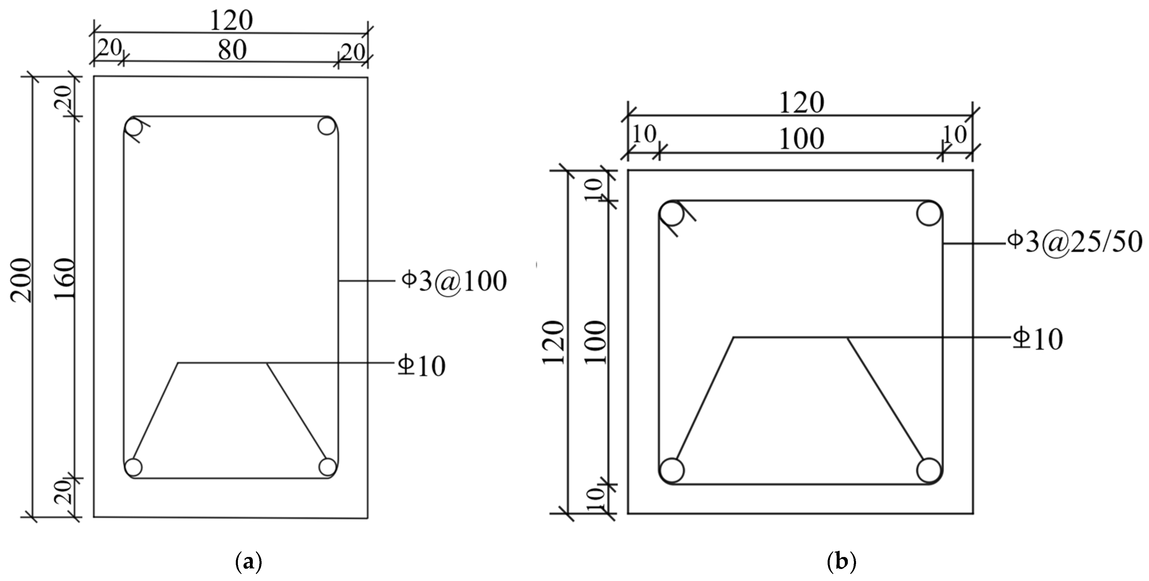
2.1. Experimental Design and Material Properties
2.2. Experimental Set-Up
3. Results and Discussion
3.1. Failure Mode and Experimental Results
3.2. Finite Element Modelling and Analysis
3.3. Result of Finite Element Analysis
4. Finite Element of CFRP-Retrofitted Reinforced Concrete Columns
4.1. Finite Element Model Reinforcement Scheme
4.2. Results of Finite Elements Modeling
5. Conclusions
- (1)
- Based on the results of the static seismic tests, the peak load, initial stiffness and ductility of the fully wrapped CFRP model were improved by 43.89%, 39.27% and 30.1%, respectively. The beam end of the retrofitted model showed obvious “plastic hinge” damage, while the plastic hinge region of the column was significantly reduced, indicating that CFFP retrofitting improved the overall failure mode while improving the seismic performance of the reinforced concrete frame, causing the failure mode to change from “column hinge” damage to “beam hinge” damage;
- (2)
- Based on the results of numerical analysis, we can see that the horizontal peak load of reinforced concrete frames is approximately linearly related to the region of CFRP retrofitting. In the case when the same region of CFRP is retrofitted, the retrofitting method has a more significant influence on the structural ductility. The A6 model’s ductility coefficient is 5.77, while that of model A1 is only 4.55. The A4 model’s ductility coefficient is 6.35, while that of A3 is only 5.90;
- (3)
- Both fully wrapping and strip-wrapping with CFRP can effectively improve the seismic performance of reinforced concrete frame structures, and when the CFRP width to spacing ratio is between 1.0 and 1.25, the structural system will reach the optimal ductility while guaranteeing the lateral load-bearing capacity.
Author Contributions
Funding
Data Availability Statement
Conflicts of Interest
References
- Guo, X. Collapse Mechanism of RC Frame Structures Suffered from Strong Earthquake, 1st ed.; China Architecture & Building Press: Beijing, China, 2018. [Google Scholar]
- Zhang, M.Z. Building damage in Dujiangyan during Wenchuan earthquake. Earthq. Eng. Eng. Dyn. 2008, 7, 263–269. [Google Scholar] [CrossRef]
- Guo, X. Characteristics and mechanism analysis of the great Wenchuan earthquake. Earthq. Eng. Eng. Dyn. 2009, 29, 74–87. [Google Scholar]
- Tan, H.; Lu, H.L.; Zhang, G.C. Earthquake damage analysis of Wenchuan earthquake frame structure. World Earthq. Eng. 2016, 32, 91–96. [Google Scholar]
- Ye, L.P.; Qu, Z.; Ma, Q.L.; Lin, X.C.; Lu, X.Z.; Pan, P. The realization of the yield mechanism of “strong column and weak beam” based on the earthquake damage of frame structures in Wenchuan earthquake. Build. Struct. 2008, 11, 52–59. [Google Scholar]
- Xian, G.J.; Guo, R.; Li, C.G.; Wang, Y.J. Mechanical performance evolution and life prediction of prestressed CFRP plate exposed to hygrothermal and freeze-thaw environments. Compos. Struct. 2022, 293, 115719. [Google Scholar] [CrossRef]
- Carra, G.; Carvelli, V. Long-term bending performance and service life prediction of pultruded glass fiber reinforced polymer composites. Compos. Struct. 2015, 127, 308–315. [Google Scholar] [CrossRef]
- Hajihashemi, A.; Mostofinejad, D.; Azhari, M. Investigation of RC beams strengthened with prestressed NSM CFRP laminates. Compos. Constr. 2011, 15, 887–895. [Google Scholar] [CrossRef]
- Seica, M.V.; Packer, J.A. FRP materials for the rehabilitation of tubular steel structures, for underwater applications. Compos. Struct. 2007, 80, 440–450. [Google Scholar] [CrossRef]
- Mohabeddine, A.; Correia, J.; Montenegro, P.A.; De Jesus, A.; Castro, J.M.; Calçada, R.; Berto, F. An approach for predicting fatigue life of CFRP retrofitted metallic structural details. Int. J. Fatigue 2022, 154, 106557. [Google Scholar] [CrossRef]
- Li, C.G.; Xian, G.J. Novel wedge-shaped bond anchorage system for pultruded CFRP plates. Mater. Struct. 2018, 51, 162. [Google Scholar] [CrossRef]
- Lu, Y.Y.; Chen, J.; Huang, Y.S.; Wu, T. New progress in study of the technology of strengthening structures with prestressed fiber reinforced plastics. Eng. Sci. 2008, 8, 40–44. [Google Scholar]
- Zhao, T.; Dai, Z.Q. Experimental study on seismic resistance of reinforced concrete columns strengthened by carbon fiber sheet. Build. Struct. 2000, 7, 31–34. [Google Scholar]
- Xiao, Y.; Wu, H. Compressive behavior of concrete confined by carbon fiber composite jackets. J. Mater. Civ. Eng. 2000, 12, 139–146. [Google Scholar] [CrossRef]
- Zhang, K.; Yue, Q.R.; Ye, L.P.; Zhao, S.H. Experimental study on improving ductility of concrete column reinforced by carbon fiber sheet. Ind. Build. 2000, 30, 16–19. [Google Scholar]
- Xiao, Y.; Martirossyan, A. Seismic performance of high-strength concrete columns. J. Struct. Eng. 1998, 124, 241–251. [Google Scholar] [CrossRef]
- Dirikgil, T. Corrigendum to “Experimental investigation of the contributions of CFRP and externally collar strengthening to the seismic performance of RC columns with different cross-sections”. Structures 2020, 26, 257–258. [Google Scholar] [CrossRef]
- Wang, J.Z.; Wang, S.Y.; Huang, C.K. Research on ductility and earthquake-resistance of high-strength concrete column confined by CFRP. J. Dalian Univ. Technol. 2008, 48, 708–714. [Google Scholar]
- Wei, H.; Wu, Z.M.; Guo, X.; Yi, F.M. Experimental study on partially deteriorated strength concrete columns confined with CFRP. Eng. Struct. 2009, 31, 2495–2505. [Google Scholar] [CrossRef]
- Wei, H.; Wu, Z.M.; Zhang, P. Axial Experiment on CFRP Confined Steel Reinforced Concrete Columns with Partial Deteriorated Strength. J. Reinf. Plast. Compos. 2010, 29, 874–882. [Google Scholar] [CrossRef]
- Ilki, A.; Peker, O.; Karamuk, E.; Demir, C.; Kumbasar, N. FRP Retrofit of Low and Medium Strength Circular and Rectangular Reinforced Concrete Columns. J. Mater. Civ. Eng. 2008, 20, 169–188. [Google Scholar] [CrossRef]
- Benzaid, R.; Mesbah, H.; Chikh, N.E. FRP-confined concrete cylinders: Axial compression experiments and strength model. J. Reinf. Plast. Compos. 2010, 29, 2469–2488. [Google Scholar] [CrossRef]
- Zhu, H.Y.; Su, Y.C.; Zhang, Y.T.; Chen, J. Study on the performance of various anchoring methods for concrete beams reinforced by CFRP. Value Eng. 2023, 42, 155–158. [Google Scholar]
- Wang, T.Y.; Wu, Y.X.; Zhao, S.B.; Zhang, J.W. Experimental study on flexural performance of damaged short beams reinforced by CFRP sheet. Build. Struct. 2023, 53, 80–86. [Google Scholar]
- Shu, L.; Tan, J.K. Bearing capacity analysis of simply supported bidirectional plate reinforced by CFRP under Uniform load. J. Chengdu Univ. Nat. Sci. Ed. 2015, 34, 297–301. [Google Scholar]
- Fang, Z.; Zhao, K. Experimental study on concrete slab reinforced by mixed anchor CFRP. Transp. Sci. Technol. 2023, 3, 99–102. [Google Scholar]
- Zhang, Z.M.; Li, H.L.; Zhang, Y.X. Nonlinear finite element Analysis of axial compression behavior of concrete rectangular short columns confined by CFRP sheet. J. Shanghai Univ. Nat. Sci. Ed. 2013, 19, 203–207. [Google Scholar]
- Lu, X.Z.; Feng, P.; Ye, L.P. Finite element analysis of axial compression behavior of concrete square column restrained by FRP sheet. J. Civ. Eng. 2003, 36, 46–51. [Google Scholar]
- Guo, X.Y.; Cheng, X.Y.; Ba, W.H. Pseudo-static test of reinforced concrete frame columns strengthened by glass fiber reinforced polymer and carbon reinforced polymer. Build. Struct. 2019, 49, 728–733. [Google Scholar]
- Guo, J.M.; Yu, C.Y.; Xie, Y.P.; Zhang, L. Experimental study on seismic performance of single-layer double-span concrete frame reinforced by carbon fiber. Build. Struct. 2019, 49, 618–621. [Google Scholar]
- Eslami, A.; Dalalbashi, A.; Ronagh, H.R. On the effect of plastic hinge relocation in RC buildings using CFRP. Compos. Part B Eng. 2013, 52, 350–361. [Google Scholar] [CrossRef]
- Balsamo, A.; Colombo, A.; Manfredi, G.; Negro, P.; Prata, A. Seismic behavior of a full-scale RC frame repaired using CFRP laminates. Eng. Struct. 2005, 27, 769–780. [Google Scholar] [CrossRef]
- Chen, W.H.; Shou, W.R.; Qiao, Z.H.; Cui, S.S. Seismic performance of non-ductile RC frames strengthened with CFRP. Compos. Struct. 2019, 221, 110870. [Google Scholar] [CrossRef]
- GB 50010-2010; Code for Design of Concrete Structures. Ministry of Housing and Urban-Rural Development of the People’s Republic of China: Beijing, China, 2016.
- GB/T 3354-1999; Test Method for Tensile Properties of Orientation Fiber Reinforced Polymer Matrix Composite Materials. China Fiber Reinforced Plastics Standardization Technical Committee: Beijing, China, 1999.
- JGJ/T 101-2015; Specification for Seismic Test of Buildings. Ministry of Housing and Urban-Rural Development of the People’s Republic of China: Beijing, China, 2015.
- Wang, D.; Zhao, H.Q.; Lu, X.L. Loading system of quasi-static test method for building structure. Sichuan Build. Sci. Res. 2014, 40, 54–59. [Google Scholar]
- Shi, Y.P.; Zhou, Y.R. ABAQUS Finite Element Analysis Example Explanation, 1st ed.; Machine Press: Beijing, China, 2006. [Google Scholar]
- Gao, P. Research on Axial Compression of Reinforced Concrete Columns Strengthened with BFRP and CFRP. Master’s Thesis, Hefei University of Technology, Hefei, China, 2021. [Google Scholar]
- Feng, P.; Cheng, S.; Bai, Y.; Ye, L.P. Mechanical behavior of concrete filled square steel tube with FRP confined concrete core subjected to axial compression. Compos. Struct. 2015, 123, 312–324. [Google Scholar] [CrossRef]
- Feng, P.; Qiang, H.L.; Ye, L.P. Discussion and definition on yield points of materials, members and structures. Eng. Mech. 2017, 34, 36–46. [Google Scholar]





















| Mean Compressive Strength/MPa | Modulus of Elasticity/MPa | Shear Modulus/MPa |
|---|---|---|
| 34.44 | 30,764 | 12,306 |
| Thickness/mm | Mean Tensile Strength/MPa | Modulus of Elasticity/GPa |
|---|---|---|
| 0.2 | 3145 | 210 |
| Specimen | Ultimate Displacement/mm | Yield Displacement/mm | Peak Load/kN | Raise/% | Ductility Factor | Raise/% | Initial Stiffness (kN/mm) | Raise/% |
|---|---|---|---|---|---|---|---|---|
| Ordinary model | 34.57 | 7.54 | 40.37 | - | 4.59 | - | 8.94 | - |
| Retrofitted model | 33.50 | 5.95 | 58.08 | 43.87 | 5.97 | 30.07 | 12.44 | 39.15 |
| Density (kg/m3) | Modulus of Elasticity/MPa | Poisson’s Ratio | Mean Compress Strength/MPa |
|---|---|---|---|
| 2400 | 30,764 | 0.2 | 34.44 |
| Density (kg/m3) | Modulus of Elasticity/MPa | Tensile Strength/MPa | Thickness/mm |
|---|---|---|---|
| 1560 | 210,000 | 3145 | 0.2 |
| Category | Density (kg/m3) | Modulus of Elasticity/MPa | Poisson’s Ratio | Yield Strength/MPa |
|---|---|---|---|---|
| Rebar335 | 7800 | 200,000 | 0.3 | 335 |
| Rebar300 | 7800 | 200,000 | 0.3 | 300 |
| Specimen | Ultimate Displacement/mm | Yield Displacement /mm | Peak Load/kN | Raise/% | Error/% | Ductility Factor | Raise/% | Error/% | Initial Stiffness (kN/mm) | Raise/% |
|---|---|---|---|---|---|---|---|---|---|---|
| Ordinary model | 32.30 | 7.18 | 20.19 | - | - | 4.50 | - | - | 4.47 | - |
| Ordinary numerical model | 34.80 | 7.45 | 20.70 | - | 2.53 | 4.67 | - | 3.78 | 4.67 | - |
| Retrofitted model | 35.20 | 6.00 | 29.04 | 43.83 | - | 5.87 | 30.44 | - | 6.22 | 39.15 |
| Retrofitted numerical model | 43.50 | 7.10 | 29.06 | 40.39 | 0.07 | 6.13 | 31.26 | 4.43 | 6.75 | 44.54 |
| Specimen | Column Size/mm | Column Height/mm | Configuration CFRP/mm2 | CFRP Spacing/mm | CFRP Width/mm |
|---|---|---|---|---|---|
| A | 120 × 120 | 1000 | — | — | — |
| A0 | 120 × 120 | 1000 | 480,000 | 0 | 1000 |
| A1 | 120 × 120 | 1000 | 192,000 | 600 | 200 |
| A2 | 120 × 120 | 1000 | 288,000 | 200 | 200 |
| A3 | 120 × 120 | 1000 | 289,920 | 132 | 151 |
| A4 | 120 × 120 | 1000 | 288,000 | 80 | 100 |
| A5 | 120 × 120 | 1000 | 285,120 | 58 | 74 |
| A6 | 120 × 120 | 1000 | 211,200 | 80 | 55 |
| Specimen | Ultimate Displacement/mm | Yield Displacement/mm | Peak Load/kN | Raise/% | Ductility Factor | Raise/% | Initial Stiffness (kN/mm) | Raise/% |
|---|---|---|---|---|---|---|---|---|
| A | 34.80 | 7.45 | 20.70 | - | 4.67 | - | 4.67 | - |
| A0 | 43.50 | 7.10 | 29.06 | 40.42 | 6.13 | 31.26 | 6.75 | 44.54 |
| A1 | 35.00 | 7.70 | 24.46 | 18.17 | 4.55 | −2.57 | 5.63 | 20.56 |
| A2 | 35.75 | 7.00 | 25.63 | 23.46 | 5.11 | 9.42 | 5.77 | 23.55 |
| A3 | 37.15 | 6.30 | 26.92 | 30.08 | 5.90 | 26.34 | 5.89 | 26.12 |
| A4 | 45.40 | 7.15 | 26.53 | 28.20 | 6.35 | 35.97 | 6.11 | 30.84 |
| A5 | 40.80 | 6.70 | 28.58 | 38.08 | 6.09 | 30.41 | 6.33 | 35.55 |
| A6 | 40.95 | 7.10 | 24.74 | 19.55 | 5.77 | 23.55 | 5.56 | 19.06 |
Disclaimer/Publisher’s Note: The statements, opinions and data contained in all publications are solely those of the individual author(s) and contributor(s) and not of MDPI and/or the editor(s). MDPI and/or the editor(s) disclaim responsibility for any injury to people or property resulting from any ideas, methods, instructions or products referred to in the content. |
© 2024 by the authors. Licensee MDPI, Basel, Switzerland. This article is an open access article distributed under the terms and conditions of the Creative Commons Attribution (CC BY) license (https://creativecommons.org/licenses/by/4.0/).
Share and Cite
Zhou, Y.; Liu, X.; Zhang, X.; Guo, X. Investigation on Seismic Performance of Reinforced Concrete Frame Retrofitted by Carbon Fiber-Reinforced Polymer. Buildings 2024, 14, 1604. https://doi.org/10.3390/buildings14061604
Zhou Y, Liu X, Zhang X, Guo X. Investigation on Seismic Performance of Reinforced Concrete Frame Retrofitted by Carbon Fiber-Reinforced Polymer. Buildings. 2024; 14(6):1604. https://doi.org/10.3390/buildings14061604
Chicago/Turabian StyleZhou, Yang, Xiangyu Liu, Xuetan Zhang, and Xiaoyun Guo. 2024. "Investigation on Seismic Performance of Reinforced Concrete Frame Retrofitted by Carbon Fiber-Reinforced Polymer" Buildings 14, no. 6: 1604. https://doi.org/10.3390/buildings14061604
APA StyleZhou, Y., Liu, X., Zhang, X., & Guo, X. (2024). Investigation on Seismic Performance of Reinforced Concrete Frame Retrofitted by Carbon Fiber-Reinforced Polymer. Buildings, 14(6), 1604. https://doi.org/10.3390/buildings14061604

