Abstract
This study examines the mortar materials used in the construction of the walls at the Archaeological Roman Fortification site (Ovidiu, Romania) on the shore of Siutghiol Lake. Several analyses were conducted to determine the mortars’ basic physical properties, mineralogical composition, and microstructural characteristics in order to describe the mortars used in the construction of the Roman fortress. The investigation utilized X-ray diffraction (XRD), energy dispersive X-ray fluorescence spectroscopy (XRF), scanning electron microscopy (SEM-EDAX), and differential thermal analysis (TGA-DTA). The results indicated that siliceous aggregates and lime binders were used in the production of the studied mortars, the structure was constructed in the sixth century, and the raw materials used to construct the site are of local origin. Using the methods mentioned above, there is the possibility of recreating the fortification’s mortar formula using contemporary materials and recommending intervention materials for the preservation of the archaeology of the Roman Fortification. Furthermore, this study opens up many other research opportunities regarding the reuse of mortars extracted from archaeological sites in the rehabilitation process by integrating them into new mortar recipes that can then be tested to compare the results with those obtained from standardized recipes.
1. Introduction
Archeological sites and ancient buildings are critical components in the urban planning process. They serve as a testament to our history and cultural heritage, and thus must be carefully preserved. The process of restoring these structures requires not just physical labor, but also knowledge and research in selecting the most suitable materials for repair. The use of genuine traditional materials is crucial in maintaining the authenticity and uniqueness of the original structure. This is especially true in the case of ancient Roman structures, where the use of original Roman mortar is considered essential in preserving the historical significance of these buildings. It is important to remember that while the purpose of restoration may be to make these buildings usable again, the priority should always be to preserve their cultural and historical significance.
Cultural heritage, especially that located on archaeological sites, is of utmost importance, as is the appropriate preservation of ancient structures. In most cases, during restoration works on buildings that are part of archaeological sites, the existing materials that are removed from the existing structures represent waste that is not reused, thus contributing to an increase in pollution. A sustainable solution would be to find a way to efficiently reuse these wastes obtained from old materials extracted from construction parts by incorporating all or part of them in new materials used for archaeological site restoration.
Important steps must be taken to preserve cultural assets for future generations, and these include the preservation of heritage. This includes rendering interventions and understanding the type of binder used in the ancient mortar, allowing the material specialist to make the best decisions about the development of appropriate mortars for historical preservation [1].
In contrast to their modern counterparts, ancient Roman mortars have withstood a variety of climates, seismic zones, and even direct contact with seawater. Due to their demonstrated lifespan on the order of millennia, these ancient building materials are intriguing model systems for the creation of sustainable, long-lasting materials for modern engineering applications [2].
This can be achieved through a good knowledge of the recipes used to make the material applied in the restoration process and of its characteristics, as well as of the building materials that are part of the recipe and how they interact with each other, in order to determine to what extent the recipe can be modified without significantly influencing the final properties of the material.
Moreover, in the current context, having the most in-depth knowledge of the composition of the materials that were used to make the constructions that are present in the archaeological sites can be very useful in trying to improve the recipes so that they are less harmful to the environment and, therefore, consume less energy for production. This can be done by introducing fractions of recycled material into the composition of the mortar as a substitute for the aggregates and the binder, but without significantly affecting its performance.
Mortars are composite geomaterials (i.e., geological materials or materials derived from technical transformations of geological materials) made up of aggregates, additives that react with the hydraulic or aerial binder, and the binder itself, which undergoes changes during setting [3,4].
In general, mortars are made up of a combination of aggregates and binders that are unique to the structure’s location and the historical setting in which they were created [5,6,7].
The study of mortars provides information on raw materials, their origin, and manufacturing procedures [8]. Using the characteristics of the mortars, it is possible to determine the historical sequences of the building [9,10,11] and the ages of the structures themselves [12].
Mortars are also valuable for the restoration and upkeep of ancient structures [13,14] and the creation of innovative composite materials [15,16,17]. Even though the ancient Romans outlined the recipes and technological standards for building construction, the artisans had a difficult time implementing them [18,19]. Based on their primary function or purpose, several technological solutions were applied to ancient structures and constructions, and these methods were widely used across the Roman Empire.
The determination of the composition of a historic mortar is commonly required during conservation or restoration work on historic buildings. If there are no documentary or other sources that can provide this information, then a range of analytical procedures can be used, including X-ray diffraction (XRD), microscopic, chemical, and thermo-analytical techniques [20].
The aim of the present work is to characterize the old mortars used in the building of walls at the archaeological Roman Fortification site (Ovidiu, Romania) located on the coast of Siutghiol Lake for the development of integrated conservation strategies for future restoration works.
2. Materials and Methods
2.1. Study Area
The region of Dobrogea, once known as Scythia Minor, had strategic importance due to its location near the Black Sea and Danube River mouth. This has resulted in a rich archaeological heritage, mostly located along the coast and waterways. The preservation of this heritage is vital for historical knowledge and future appreciation. Research and exploration efforts must be supported to fully uncover Dobrogea’s past. The archaeological sites, such as those at Capidava, Histria, Tomis, Callatis, and Ulmetum, represent points of attraction both from a tourist point of view and also from an academic point of view, considering the research opportunities that arise regarding the construction materials used.
This is also the case at the archaeological site of Ovidiu, a monument of national interest composed of the Roman fort and a Paleo-Christian basilica. The purpose of the fortification was to strengthen the former Halmyris Bay (the current Siutghiol Lake) and guard the aqueduct that supplied drinking water to the Tomis fortress.
The archeological site in question is located on the southern edge of the town of Ovidiu, approximately 10 km north of Constanţa. It is situated in a recently developed residential neighborhood on the western bank of Lake Siutghiol (Figure 1), which was once the Gulf of the Black Sea. The site is in close proximity to the island of Ovidiu, making it an important location for further study and exploration. The close proximity of the site to a residential area makes it easily accessible for research and educational purposes, allowing for greater public awareness and understanding of the cultural heritage and history of the region. The archeological site in Ovidiu offers a unique opportunity to study the rich history of the area and to preserve it for future generations. With proper resources and support, the site has the potential to become a major attraction and a valuable resource for the surrounding community [21,22].
Figure 1.
Location of the archaeological site.
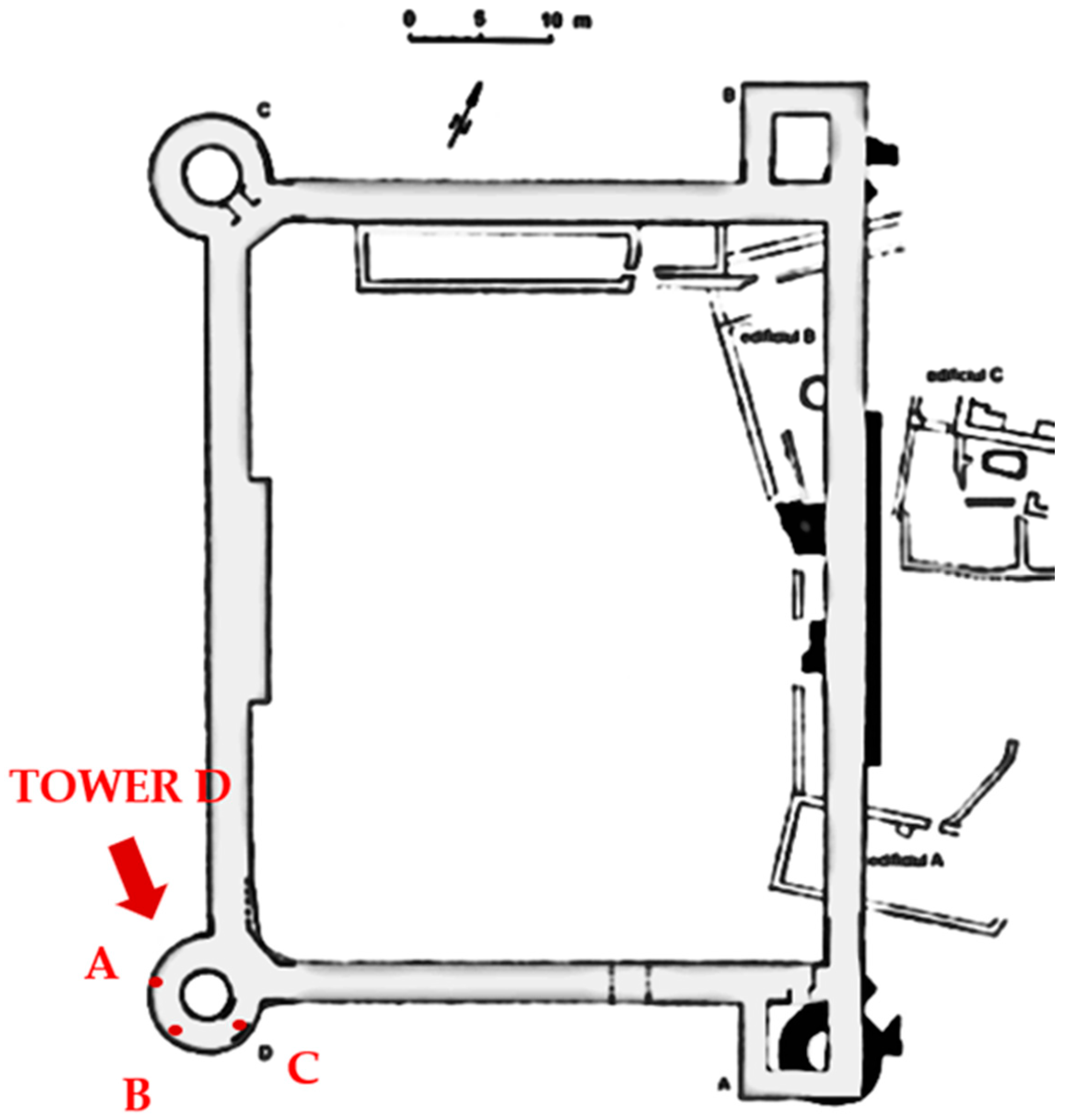
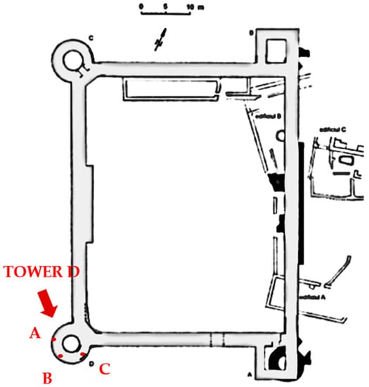
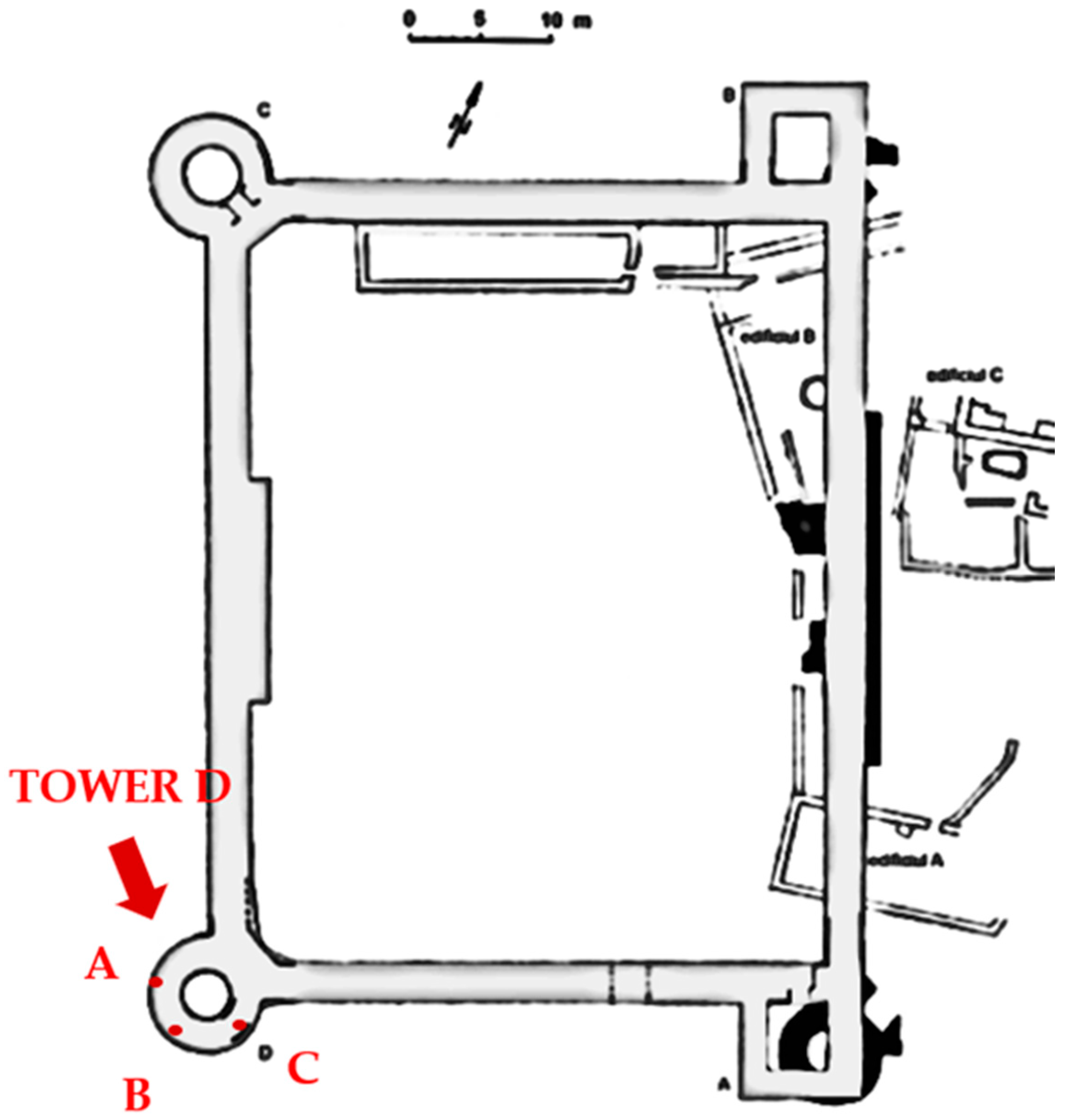
The layout of the fortress is rectangular (Figure 2), with the longest side running NNV-SSE. The interior is around 2200 square meters. The two rectangular towers to the east are unique among fortifications of their sort since only two of their sides project outside the enclosure, with the eastern side running parallel to the curtain [23,24].
Figure 2.
Sketch of the fortress from Ovidiu and location of the samples A, B, and C.
The two rectangular towers located to the east of the site are unique among similar defenses because only two of their sides extend from the enclosure. One of these towers, designated as Tower A, is situated at the southeast corner and has exterior dimensions of 8.80 m by 6.70 m, as measured from the foundation level. The interior of Tower A measures 4.10 m by 4.60 m. The other tower, designated as Tower B, is located at the northeast corner and has exterior dimensions of 8.95 m by 6.90 m. The interior of Tower B measures 3.75 m by 4.50 m [23,24].
The west towers of the site differ in design from the east towers, as they are round in shape and extend beyond the perimeter of the enclosure. Tower C, located at the northwest corner, has an outside diameter of 8.70 m and an interior diameter of 3.90 m. The thickness of the wall at the foundation level ranges between 2.30 and 2.50 m. The fourth tower, designated as Tower D, is located in the southwest corner and is partially exposed. Tower D is roughly the same size as Tower C [25]. The round design of these towers provides insight into the diverse construction methods used in the building of the site’s defenses. The size and placement of the towers suggest that they may have had specific functions, such as providing additional protection or acting as observation points. Further investigation is needed to fully understand the purpose and significance of these towers in the context of the site as a whole.
2.2. Materials and Methods
The citadel has been substantially rebuilt; therefore, only tower D (Figure 2), where the restoration work has not yet been completed, can be used for the collection of mortar samples. Using a hammer and a chisel, it was possible to take three mortar samples that will later be marked with A, B, and C. These samples have an uneven shape and vary in size from 7 to 17 cm.
The three mortar samples were processed with the help of an angle grinder in order to bring them to the shape and dimensions mentioned in the standards for carrying out laboratory tests to determine their physical characteristics. The material that resulted after processing the samples was used to determine the chemical and mineralogical properties of the three mortar samples.
To be able to conduct all the following laboratory tests, the samples were pulverized using an agate pestle until a powder with a particle size less than 2 μm was obtained.
The mineralogical composition of the binder from the mortars used in the building of the walls of the archaeological Roman Fortification site was assessed by X-ray diffraction (XRD), energy dispersive X-ray fluorescence spectrometry (XRF), and differential thermal analysis (TGA-DTA). Further, the investigation by X-ray diffraction of the mortar powders allows the identification of crystalline forms of compounds. The X-ray diffraction (XRD) analyses were performed using a Shimadzu XRD 6000 diffractometer (Shimadzu, Kyoto, Japan) with Ni filtered Cu Kα radiation (λ = 0.1054 nm), 2θ ranging between 10° to 60°, with 2°/min and 0.02 min/step.
Multi-elemental analysis of major, minor, and trace element concentrations of the investigated samples was determined using a SPECTRO XEPOS energy dispersive X-ray fluorescence (ED-XRF) spectrometer with a Pd/Co tube. This equipment directly quantifies the percentage of oxides present in the sample, which facilitates the search for the compounds in XRD analysis. From the chemical analysis data, the Cementation Index (CI) and Hydraulicity Index (HI) were determined using the following equations [19]:
According to Table 1, based on the values of the hydraulic and cementation indices, the limes could be considered weakly, moderately, or highly hydraulic [26].
Table 1.
Classification of lime according to hydraulic and cementation indices.
The differential thermal analysis was performed using a Shimadzu DTG-60 (Shimadzu, Kyoto, Japan) at 30–1000 °C temperature range, 10 °C/min rate of heating, in air. Using scanning electron microscopy (SEM), HITACHI S2600N (HITACHI, Tokyo, Japan), coupled with energy dispersive X-ray spectroscopy (EDX), the morphological and microstructural features and elemental composition of the samples were measured (HITACHI, Tokyo, Japan).
3. Results and Discussion
Several studies were carried out in order to determine the composition and micro-structure of old lime-based materials, mostly mortars, used in historical buildings [7,25,26,27,28,29,30,31,32,33,34,35,36,37].
In addition to determining the nature of the binder and aggregates, the formulation of the mortar must be determined for the characterization of historical materials, taking into account the concept of compatibility in conservation interventions [7,31]. The preliminary examinations made on the polished sections revealed that all of the mortars include lime nodules (kankar), which is evidence that the burnt lime was slaked with a minimal amount of water in order to convert CaO into Ca(OH)2. The samples were diverse, and the aggregates displayed a variety of differences in terms of their form, size, and color [32].
3.1. XRD Analysis
To perform the mineralogic analysis by X-ray Diffraction (XRD), the mortar samples were carefully crushed in a mortar, allowing the segregation of the aggregates from the building matrix, but trying to avoid the crushing of the aggregates (e.g., sand grains) [33], and the powder was separated from the aggregates by sieving. The samples were heterogeneous, and the aggregates showed different shapes, sizes, and colors. Figure 3, Figure 4 and Figure 5 highlight the X-ray diffraction patterns of the A, B, and C mortars collected from the walls of the archaeological Roman Fortification site.
Figure 3.
X-ray diffraction pattern for sample A.
Figure 4.
X-ray diffraction pattern for sample B.
Figure 5.
X-ray diffraction pattern for sample C.
The samples appeared similar, with quartz being the predominant mineralogical phase, followed by calcite. This may indicate a conventional mortar composition, with calcite as the binder and quartz as the skeleton; the study reveals that calcite blended with quartz (silica) was a common mixture for mortars prior to the widespread use of cement mortars [34].
The XRD results showed that several crystalline phases are present (Table 2). According to the X-ray diffraction files, the diffraction patterns correspond to a mixture carbonate (calcite) and siliceous aggregates. The main diffraction peaks were attributed to the calcium carbonate–calcite (ICDD 00-081-2027), aragonite (ICDD 00-003-1067), silicon oxide–quartz (ICDD 00-077-1060), and calcium iron magnesium carbonate–ankerite (ICDD 00-041-0586).
Table 2.
Semiquantitative XRD analysis of A, B, and C mortar samples.
3.2. X-ray Fluorescence Spectrometry (XRF)etect
The XRF technique allowed the major elements to be determined, expressed as a percentage by oxide weight (CaO, MgO, Al2O3, SiO2, Fe2O3, P2O5, K2O, MnO, and SO3), with some elements reported in ppm (parts per million): Ti, V, Cr, Ni, Cu, Zn, Pb, Ga, Ge, As, Ba, Rb, Sr, Y, Zr, Nb, Ce, and Sn [34].
Table 3 presents the XRF data of the major oxides present in the investigated mortars, expressed in weight (%), and trace elements expressed in ppm (n.d.: not detected).
Table 3.
XRF data of the major oxides present in the A, B, and C mortar samples, expressed in weight (%), and trace elements expressed in ppm (n.d.: not detected).
In the selected historic mortar samples, XRD showed carbonates as the main crystalline phases formed by the carbonation of lime. Calcite and aragonite, two of the calcium carbonate polymorphs, are present in each sample. This information was also confirmed by XRF. The results presented in Table 3 indicate that in the investigated mortars, the use of aerial lime binders obtained from pure limestone was effective. The chemical composition of these mortars is characterized by the highest CaO content and the lowest content of SiO2, Al2O3, and Fe2O3. Further, the content of MgO and K2O is low. Due to their enrichment in the non-carbonate part of the raw material, trace elements, such as Ba, Cu, and Zn, achieve greater average concentrations. P and Mn consistently maintain low concentrations, with minimal random changes. The mortars were composed of lime-based binders and silty–sandy pebbles likely acquired from Pliocene deposits (sandstones and compacted sands). All of the investigated mortars shared extremely similar properties. The small variations in the aggregates’ composition could be due to the compositional variability of the Pliocene deposits. Studies by Scala et al. [30] indicate that these differences can be attributable to intrinsic variations in the composition of the Pliocene sediments, but it is possible that a sandy component rich in quartz–feldspar was purposefully added because of a particular usage (fortification).
The calcium carbonate polymorphs’ occurrence and abundance appear to be related to the hydraulicity of the investigated mortars. The evaluation of the hydraulicity of the investigated mortars was conducted by the calculation of the Cementation Index (CI) and Hydraulicity Index (HI) using Boynton’s formula [26]. Based on the results obtained (Table 3), the hydraulicity index of the investigated mortars was in the range of 0.16 (A sample) and 0.29 (C sample).
3.3. SEM-EDS
The elemental compositions and microstructural characteristics of the mortars were determined by SEM-EDS analysis. Scanning electron microscopy (SEM) was used to obtain the morphology and textural relations of the different mineral phases identified by XRD.
Figure 6, Figure 7 and Figure 8 show that a mixture of large and small grains with different morphologies is present in the mortar samples. The SEM investigation shows a well-carbonated matrix of calcitic lime-based mortar that is in accord with literature information [35].
Figure 6.
Scanning electron microscopy images for sample A.
Figure 7.
Scanning electron microscopy images for sample B.
Figure 8.
Scanning electron microscopy images for sample C.
Carlos Rodríguez-Navarro [29] believed that the existence of whitish clusters (lumps), with dimensions varying from a few mm to 1 or 2 cm, is one of the most distinguishing characteristics in antique lime mortars. These nodules could either correlate to completely carbonated slake lime lumps or uncalcined limestone chips because they are made of the mineral calcite.
The EDX spectra were also drawn to be able to identify the elemental composition (Figure 9, Figure 10 and Figure 11).

Figure 9.
Scanning electron microscopy image (a) associated with EDX analysis (b) for sample A.

Figure 10.
Scanning electron microscopy image (a) associated with EDX analysis (b) for sample B.

Figure 11.
Scanning electron microscopy image (a) associated with EDX analysis (b) for sample C.
The chemical elements found in each specimen are revealed by the EDX spectra recorded on the mortar samples. It is possible to see maxima particular to each of the studied elements (Ca, Mg, Si, and O), as well as variations in intensity that are probably attributable to local inhomogeneities.
The elemental compositions of the mortars determined by EDX analysis indicated that they were mostly composed of calcium. This high Ca content shows that the lime was obtained from pure calcareous stones.
3.4. Thermal Analysis
Mortar matrices containing fine aggregates and lime had a homogeneous structure that was evidence of adequate mixing. Gel-like structures, mostly formed of calcium and silicon, may also be seen within the matrices, as confirmed by XRD examination (Figure 3, Figure 4 and Figure 5 XRD). This may suggest that the reaction with lime and pozzolanic fine aggregates resulted in the creation of hydraulic products, such as calcium silicate hydrates [36].
Strong adhesion bonds are created by the creation of these compounds, which gives the mortar its stiffness and durability. Thermal analyses were also used to evaluate the mortars’ hydraulicity (Figure 12, Figure 13 and Figure 14).
Figure 12.
Thermal analysis of sample A.
Figure 13.
Thermal analysis of sample B.
Figure 14.
Thermal analysis of sample C.
The thermal analysis (TGA-DTA) highlighted a total mass loss in the investigated mortars between 32% and 37%, as well as some endothermic effects. The endothermic effects of temperatures ranging from 30 to 300 degrees Celsius are typically attributed to the processes of physically bound water loss and water bound to hydraulic components loss. Table 4 presents the weight losses (%) of the A, B, and C mortar samples.
Table 4.
Weight losses (%) of the A, B, and C mortar samples.
Thermal analysis (DTA/TG) of the 3 selected samples highlights a small shoulder at 576 °C, 574 °C, and 569 °C that can be attributed to quartz inversion, and an important endothermic effect can be attributed to the decomposition of carbonates in the temperature range 660–860 °C [34,37].
The thermogravimetric analyses indicated that in the range 30–660 °C, the loss of the structurally bound water in the mortar samples was between 3.687% (mortar B) and 4.329% (mortar C). The lost weight from the temperature range 660–1000 °C is due to decarbonation (removing carbon dioxide), and it was 32.578% for mortar A, 32.406% for mortar B, and 27.45% for mortar C. This result shows that the mortars A and B can be regarded as hydraulic lime mortars.
Moreover, several physical and mechanical properties (apparent density, water absorption, and compressive strength) were established and published in a prior article [38]. The average compressive strength of the samples was 0.6 MPa, and their apparent density was 1532.56 kg/m3.
Given that more than 95% of the entire amount of water utilized was absorbed within the first 2 hours of the 24 h test, it is obvious that the material has a very high porosity in terms of its water-absorbing capacity (Figure 15).
Figure 15.
Water absorption chart for the three samples A, B, and C.
Independent of the type of intervention, resources are essential. Prior to any preservation or conservation action, a significant effort should be made to identify the original materials and evaluate the construction techniques, together with a careful analysis of the compatibility with new materials and a careful assessment of the stability and permanence of the proposed restoration work. Before specifying and carrying out conservation–restoration work, it is critical to understand the building’s structure and materials [39].
In the field of conservation, the selection of mortars and plasters is crucial in relation to the three key variables governing the performance of historic fabrics: porosity, flexibility, and strength. Any variation in these values will have a significant impact on the stability and durability of the structure. Therefore, the composition and qualities of the materials used must be strictly regulated to ensure compatibility with current materials [32].
In future studies, several mortar recipes will be prepared with different types of lime in all its known forms (quicklime, slaked lime, and lime putty), with different binder–aggregate ratios, and with percentages of aggregate replaced by mortar waste obtained from the restoration process. These recipes will be subjected to the same analysis to determine which is the most suitable to be used for the rehabilitation of buildings within archaeological sites.
4. Conclusions
In this paper, the chemical and mineralogical characterization of old mortars used in the building of walls at the archaeological Roman Fortification site (Ovidiu, Romania), located on the coast of Siutghiol Lake, is investigated. The binding material of the original mortars used for rendering and cladding the walls of the archaeological Roman Fortification site (Ovidiu, Romania) was characterized using X-ray diffraction (XRD), energy dispersive X-ray fluorescence (ED-XRF), Scanning Electron Microscopy (SEM-EDX), and differential thermal analysis (TGA-DTA). The results showed that the binding material was moderately hydraulic, calcitic, lime-based mortars mixed with siliceous aggregates. It can be assumed that the mixture morphology and heterogeneity of the investigated mortars could be due to the use of hot lime technology, and the endurance of these materials may be linked to both the chemical properties of the mixture and the microstructure and compatibility features of the system, which result from the combination of raw ingredients and processing technologies. This information could be a useful investigation tool for the development of integrated conservation strategies in future restoration projects, so that ancient architectural heritage is preserved during the restoration process.
Author Contributions
Methodology, M.S.; formal analysis, G.V. and M.S.; investigation, G.V. and I.C.P.; resources, M.S.; writing—original draft preparation, N.C.M.; writing—review and editing, N.C.M., I.C.P. and C.B.; visualization, C.E.M.; supervision, C.E.M. and C.B. All authors have read and agreed to the published version of the manuscript.
Funding
This research received no external funding.
Data Availability Statement
All data derived from this research are presented in the enclosed figures and tables.
Acknowledgments
The contribution of Nicolae-Costin Mociu to this study was supported by the project PROINVENT in the framework of the Human Resources Development Operational Programme 2014–2020, financed from the European Social Fund under the contract number 62487/03.06.2022 POCU 993/6/13/—Cod SMIS: 153299. The authors would also like to thank Constantin Băjenaru, head of the Preventive Archaeology Section of the Museum of National History and Archaeology of Constanța, for allowing us access to the archaeological site and for his support in collecting the mortar samples.
Conflicts of Interest
The authors declare no conflict of interest.
References
- Maljaee, H.; Silva, A.S.; Velosa, A. Characterization of Mortar from Casa Barbot (Portugal), a Case Study from the Beginning of the 20th Century. Buildings 2023, 13, 232. [Google Scholar] [CrossRef]
- Seymour, L.M.; Maragh, J.; Sabatini, P.; Di Tommaso, M.; Weaver, J.C.; Masic, A. Hot Mixing: Mechanistic Insights into the Durability of Ancient Roman Concrete. Sci. Adv. 2023, 9, eadd1602. [Google Scholar] [CrossRef] [PubMed]
- Montesano, G.; Verde, M.; Columbu, S.; Graziano, S.F.; Guerriero, L.; Iadanza, M.L.; Manna, A.; Rispoli, C.; Cappelletti, P. Ancient Roman Mortars from Anfiteatro Flavio (Pozzuoli, Southern Italy): A Mineralogical, Petrographic and Chemical Study. Coatings 2022, 12, 1712. [Google Scholar] [CrossRef]
- Dilaria, S.; Previato, C.; Bonetto, J.; Secco, M.; Zara, A.; De Luca, R.; Miriello, D. Volcanic Pozzolan from the Phlegraean Fields in the Structural Mortars of the Roman Temple of Nora (Sardinia). Heritage 2023, 6, 567–586. [Google Scholar] [CrossRef]
- Furlan, V.; Bissegger, P. Les Mortiers Anciens: Histoire et Essais D’analyse Scientifique; ETH Zürich: Zürich, Switzerland, 1975. [Google Scholar] [CrossRef]
- Malinowski, R. Ancient Mortars and Concretes: Aspects of Their Durability. Hist. Technol. 1982, 7, 89–101. [Google Scholar]
- Alonso-Olazabal, A.; Ortega, L.A.; Zuluaga, M.C.; Ponce-Antón, G.; Jiménez Echevarría, J.; Alonso Fernández, C. Compositional Characterization and Chronology of Roman Mortars from the Archaeological Site of Arroyo De La Dehesa De Velasco (Burgo De Osma- Ciudad De Osma, Soria, Spain). Minerals 2020, 10, 393. [Google Scholar] [CrossRef]
- Hughes, J.J.; Válek, J. Mortars in Historic Buildings: A Review of the Conservation, Technical and Scientific Literature; Literature Review (Historic Scotland. Technical Conservation Research and Education Division); Historic Scotland: Edinburgh, Scotland, 2003; ISBN 978-1-903570-82-1. [Google Scholar]
- Moropoulou, A.; Bakolas, A.; Anagnostopoulou, S. Composite Materials in Ancient Structures. Cem. Concr. Compos. 2005, 27, 295–300. [Google Scholar] [CrossRef]
- Válek, J.; Hughes, J.J.; Groot, C.J.W.P. (Eds.) Historic Mortars: Characterisation, Assessment and Repair; RILEM Bookseries; Springer: Dordrecht, The Netherlands, 2012; Volume 7, ISBN 978-94-007-4634-3. [Google Scholar]
- Rispoli, C.; Esposito, R.; Guerriero, L.; Cappelletti, P. Ancient Roman Mortars from Villa Del Capo Di Sorrento: A Multi-Analytical Approach to Define Microstructural and Compositional Features. Minerals 2021, 11, 469. [Google Scholar] [CrossRef]
- Silva, A.S.; Adriano, P.; Magalhães, A.; Pires, J.; Carvalho, A.; Cruz, A.J.; Mirão, J.; Candeias, A. Characterization of Historical Mortars from Alentejo’s Religious Buildings. Int. J. Archit. Herit. 2010, 4, 138–154. [Google Scholar] [CrossRef]
- Miriello, D.; Barca, D.; Pecci, A.; Luca, R.; Crisci, G.; López Luján, L.; Barba, L. Plasters from Different Buildings of the Sacred Precinct of Tenochtitlan (Mexico City): Characterization And Provenance. Archaeometry 2014, 57, 100–127. [Google Scholar] [CrossRef]
- Moropoulou, A.; Bakolas, A.; Bisbikou, K. Investigation of the Technology of Historic Mortars. J. Cult. Herit. 2000, 1, 45–58. [Google Scholar] [CrossRef]
- Ancient Binding Materiais, Mortars and Concrete Technoiogy: History and Durability Aspects|PDF|Cement|Mortar (Masonry). Available online: https://www.scribd.com/document/387387688/ (accessed on 27 January 2023).
- Tenconi, M.; Karatasios, I.; Bala’awi, F.; Kilikoglou, V. Technological and Microstructural Characterization of Mortars and Plasters from the Roman Site of Qasr Azraq, in Jordan. J. Cult. Herit. 2018, 33, 100. [Google Scholar] [CrossRef]
- Groot, C.; Bartos, J.; Hughes, J. Historic Mortars: Characteristics and Tests—Concluding Summary and State-of-the-Art. In Proceedings of the International RILEM Workshop on Historic Mortars: Characteristics and Tests, Paisley, Scotland, 12–14 May 2000; pp. 443–454. [Google Scholar]
- Pollio, V. The Architecture of Marcus Vitruvius Pollio, in Ten Books; Priestley and Weale: London, UK, 1826. [Google Scholar]
- Pliny. The Natural History of Pliny; Bohn’s Classical Library; Henry G. Bohn: London, UK, 1855. [Google Scholar]
- Groot, C.; Bartos, J.; Hughes, J. International RILEM Workshop on Historic Mortars: Characteristics and Tests Paisley, Scotland (1999); RILEM Proceedings; RILEM Publications S.A.R.L.: Champs-sur-Marne, France, 1999; Volume 12, ISBN 978-2-912143-15-0. [Google Scholar]
- Bucovală, M.; Papuc, G. Cercetările arheologice de la Ovidiu, Jud. Constanţa/Archäologische Forschungen (Munizipium Konstanza). Mater. Cercet. Arheol. 1980, 14, 342–347. [Google Scholar] [CrossRef]
- Bajenaru, C. Observații Recente Cu Privire La Fortificația De Tip Quadriburgium De La Ovidiu = Recent Observations About the Early Byzantine Quadriburgium-Type Fort of Ovidiu. Pontica 2002–2003 2003, 35–36, 293–314. [Google Scholar]
- Bucovală, M.; Papuc, G. Date noi despre fortificaţia de la Ovidiu-Municipiul Constanţa/Nouvelles dates sur la fortification d’Ovidiu, ville de Constanţa. Mater. Cercet. Arheol. 1983, 15, 352–354. [Google Scholar] [CrossRef]
- 448 Pontica 17. MIHAI BUCOVALĂ, GHEORGHE PAPUC—Date Noi Privind Cercetările Arheologice de La Ovidiu (Municipiul Constanța).Pdf. 1984. Available online: https://drive.google.com/file/d/0BwmOVzh5qKnCRVB4c0hYcG5CMEk/view?usp=drive_open&usp=embed_facebook (accessed on 27 January 2023).
- Elsen, J.; Van Balen, K.; Mertens, G. Hydraulicity in Historic Lime Mortars: A Review; RILEM Bookseries; Springer: Dordrecht, The Netherlands, 2012; Volume 7, pp. 125–139. ISBN 978-94-007-4634-3. [Google Scholar]
- Böke, H.; Çizer, Ö.; İpekoğlu, B.; Uğurlu Sağın, E.; Şerifaki, K.; Toprak, G. Characteristics of Lime Produced from Limestone Containing Diatoms. Constr. Build. Mater. 2008, 22, 866–874. [Google Scholar] [CrossRef]
- Sanjurjo-Sánchez, J.; Trindade, M.; Blanco-Rotea, R.; Garcia, R.B.; Mosquera, D.F.; Burbidge, C.; Prudêncio, M.; Dias, M. Chemical and Mineralogical Characterization of Historic Mortars from the Santa Eulalia de Bóveda Temple, NW Spain. J. Archaeol. Sci. 2010, 37, 2346–2351. [Google Scholar] [CrossRef]
- Veiga, M. Air Lime Mortars: What Else Do We Need to Know to Apply Them in Conservation and Rehabilitation Interventions? A Review. Constr. Build. Mater. 2017, 157, 132–140. [Google Scholar] [CrossRef]
- Rodriguez-Navarro, C. Binders in Historical Buildings: Traditional Lime in Conservation. Seminario SEM 2012, 9, 91–112. [Google Scholar]
- Scala, A.; Gabbrielli, F.; Giamello, M.; Mugnaini, S. Archaeometric Analysis of Building Mortars Used in the Historic Centre of Siena (Italy) between the 13th and 16th Centuries. J. Archaeol. Sci. Rep. 2021, 35, 102790. [Google Scholar] [CrossRef]
- Yildizlar, B.; Sayin, B.; Akcay, C. A Case Study on the Restoration of A Historical Masonry Building Based on Field Studies and Laboratory Analyses. Int. J. Archit. Herit. 2020, 14, 1341–1359. [Google Scholar] [CrossRef]
- Van Balen, K.; Papayianni, I.; Van Hees, R.P.J.; Binda, L.; Waldum, A. RILEM TC 167-COM: Characterisation of Old Mortars with Respect to Their Repair Introduction to Requirements for and Functions and Properties of Repair Mortars. Mater. Struct. 2005, 38, 781–785. [Google Scholar] [CrossRef]
- Lamego Guerra, F.; Giordani, C.; Volpatto, L.; Gonçalves, J.P.; de Oliveira, M.M.; Borges Masuero, A.; Dal Molin, D.C.C. Physicochemical Characterization of Historical Coating Mortars—Case Studies in South Brazil. Int. J. Archit. Herit. 2022, 16, 242–260. [Google Scholar] [CrossRef]
- Marrocchino, E.; Telloli, C.; Vaccaro, C. Geochemical and Mineralogical Characterization of Construction Materials from Historical Buildings of Ferrara (Italy). Geosciences 2021, 11, 31. [Google Scholar] [CrossRef]
- Kirilovica, I.; Karpe, M. Chemical and Physical Investigations of Historic Mortars in St. John’s Church (Cesis, Latvia); Vilnius Gediminas Technical University: Vilnius, Lithuania, 2019. [Google Scholar]
- Bakolas, A.; Biscontin, G.; Moropoulou, A.; Zendri, E. Characterization of Structural Byzantine Mortars by Thermogravimetric Analysis. Thermochim. Acta 1998, 321, 151–160. [Google Scholar] [CrossRef]
- Özkaya, Ö.; Böke, H. Properties of Roman Bricks and Mortars Used in Serapis Temple in the City of Pergamon. Mater. Charact. 2009, 60, 995–1000. [Google Scholar] [CrossRef]
- Mociu, N.-C.; Maftei, C.-E.; Stanescu, M.; Popa, C. A Study over Roman Mortar from Ovidiu’s Roman Fortress. In Proceedings of the 14th Fib International PhD Symposium in Civil Engineering, Rome, Italy, 5–7 September 2022; Volume 14, pp. 645–650. [Google Scholar]
- Forsyth, M. Understanding Historic Building Conservation; John Wiley & Sons: Hoboken, NJ, USA, 2007. [Google Scholar]
Disclaimer/Publisher’s Note: The statements, opinions and data contained in all publications are solely those of the individual author(s) and contributor(s) and not of MDPI and/or the editor(s). MDPI and/or the editor(s) disclaim responsibility for any injury to people or property resulting from any ideas, methods, instructions or products referred to in the content. |
© 2023 by the authors. Licensee MDPI, Basel, Switzerland. This article is an open access article distributed under the terms and conditions of the Creative Commons Attribution (CC BY) license (https://creativecommons.org/licenses/by/4.0/).

















