Abstract
Bridges’ expansion joints are prone to damage during operation, and repairing them often requires interruption of traffic, the impact of which can be minimized by using fast-hardening and early-strength expansion joint materials. In this study, a fast-hardening polymer cement composite (PCC) was developed using sulfate aluminate cement and ordinary silicate cement as binding agents and polymer powder as admixture. To improve the crack resistance of the material, several types of fibers were added and the effects of different fiber types and admixtures on the crack resistance of the material were compared using SCB tests. The results showed that the best effect of improving the crack resistance of concrete was achieved with a volume fraction of 0.5% of basalt fibers. Then, a test method for the interfacial shear properties of PCC materials and ordinary concrete was established, and the cohesive force model was selected as the interface simulation parameter for finite element analysis and compared with experimental data to verify its feasibility. Finally, based on the previously obtained PCC material parameters, a solid model of the expansion joint anchorage zone was established to study the mechanical properties of the expansion joint anchorage zone with the application of fast-hardening PCC material. This research provides a new way to develop fast-hardening and early-strength expansion joint materials with high crack resistance.
1. Introduction
Although Chinese highway bridge construction has made great achievements, the damage problem of the expansion joint anchorage zone still becomes a key factor restricting the rapid development of highway bridge infrastructure construction. In the actual operation of the expansion joint, damage occurs due to the external effects of vehicles’ impact, sunlight, rainwater, vehicle impact, etc., resulting in an unsmooth connection between the road surface and the bridge deck, reducing driving comfort, and affecting traffic operations. And, due to the dramatic increase in traffic in recent years, this has accelerated degradation in the performance of bridge expansion joints [1]. The role of expansion joints in the normal and safe operation of bridges cannot be overstated [2]; however, due to the short life of expansion joints, frequent maintenance and repair are required. In addition, bridges are usually located in busy sections of traffic routes, and closing traffic for maintenance can incur huge costs. Therefore, a kind of expansion joint repair material with good crack resistance and impact resistance, simple construction, fast hardening, and early strength is needed.
The composite materials used in the anchorage zone of the expansion joint include polymer cement composite (PCC) and fiber-reinforced concrete [3]. The advantages of organic and inorganic materials are combined, and the mix ratio can be adjusted as needed to obtain a higher-performance anchorage zone. In recent decades, scholars both abroad and domestic have conducted a lot of research on the materials of the anchorage area of expansion joints and made progress in various areas, from improving the use characteristics of materials in the anchorage zone of expansion joints to studying their service life and maintenance costs [4,5], from macroscopic mechanical properties to microstructural changes [6,7,8], and from experimental research (interface compression–shear test [7,8,9,10], mechanical fatigue test [11,12], crack resistance test [6]) to numerical simulation (stress distribution in the anchorage zone, fine simulation of wheel pressure load [5,13,14]). In the study of anchorage zone materials, Li [15] explored the utilization of polypropylene fiber and styrene–butadiene latex in combination with self-compacting concrete for expansion joints, examining their performance. Considering that the functional properties of PCC concrete depend on its microstructure and changes, Ohama [16,17] proposed the B-O-V model [18] and divided the PCC microstructure into four stages [19]. For interface compression–shear performance, Zhang Juan [20] studied the shear fatigue resistance of the bonding layer of the cement concrete bridge deck using a 45° dynamic oblique shear test. Luo Yuming et al. [21] conducted direct shear tests on Z-shaped bonded specimens to study the shear performance of the bonding interface between the reinforced concrete and the old concrete carbonation layer. Finally, in terms of numerical simulation, Li Wei [22] established a finite element model of expansion joints to study the failure mechanism of expansion joints and the stress of anchorage zones of expansion joints.
The above research shows that domestic and foreign scholars have conducted a lot of research on expansion joints in terms of the causes of damage, anchorage zone materials, and stress characteristics. In terms of materials, antifatigue materials polyurethane elastic concrete, epoxy asphalt, and other materials are used in expansion joints, but these materials have the characteristics of chemical instability, ease of change, and high cost. Therefore, there is an urgent need to develop a good-performance and economical restoration material. In contrast, a fast-hardening PCC developed in this paper shows the characteristics of stable high- and low-temperature performance/long service life/short construction time, which meets the current needs. It uses sulfate aluminate cement and ordinary Portland cement as binders. With polymer powder as an admixture, the mix ratio of PCC fast-hardening material is determined by trial mixing. The semicircular bending test (SCB) test is carried out to study the effect of different fiber incorporation on the crack resistance of fast-hardening PCC material. Then, the interface shear performance of the fast-hardening PCC material and ordinary concrete is studied using a compression–shear test. Meanwhile, a finite element model is established to simulate the interface behavior between fast-hardening PCC material and ordinary concrete and compared with actual test results to verify its rationality. Ultimately, the finite element model of the expansion joint zone is established, and the mechanical response of the expansion joint anchorage zone after the application of the PCC is analyzed. Compared with other materials, the superiority of fast-hardening PCC material is verified.
2. Experimental Program
2.1. Materials and Specimen Preparation
Fast-hardening PCC material was used as the matrix material, and the composite cementitious system of sulphate aluminate and Portland cement was adopted. The main components of sulphate aluminate cement (SAC) are composed of CaO (47%), SO3 (12%), SiO2 (9.7%), Al2O3 (23%), MgO (4%), Fe2O3 (2.3%), etc. Ordinary Portland cement adopts Swan cards P.O 42.5 cement, and gypsum was used to further improve the viscosity of mortar. Standard sand was used as the test sand of the material. The gradation of standard sand is shown in Figure 1, and its physical and chemical indexes are shown in Table 1. The gradation and physicochemical indexes of the standard sand were provided by the merchant. Detailed parameters are shown in Figure 1 and Table 1.
Figure 1.
Standard sand gradation diagram.
Table 1.
Physical and chemical indexes of standard sand (%).
Fly ash was used as a mineral admixture. Its microscopic particles are round, and the corresponding ball effect can improve the fluidity of mortar [23,24]. The polymer used dispersible latex powder (5010N, Germany), with a particle size of more than 400 μm. Polyvinyl alcohol was used as a protective colloid, which has significant water absorption and can be used to bond mortar to improve mortar toughness and durability [25]. The powder defoamer (P803) is a mixture of liquid carbon chloride compounds, polyethylene glycol, and non-crystalline silica. The P803 component is shown in Table 2 [26]. The reagent was used to defoam the microbubbles present in this test and improve the self-leveling of the cementitious material.
Table 2.
P803 components.
Polycarboxylate superplasticizer was used as water reducing agent. Retarder was used to control the hydration process of sulphate aluminate cement. Boric acid (H3BO3), with a relative molecular mass of 61.83 and a reagent content higher than 99.5%, was used to retard mortar.
Meanwhile, three kinds of fibers were used in this experiment: basalt fiber BF, polypropylene fiber PP, and polyacrylonitrile fiber PAN. The parameters of each fiber are shown in Table 3. The experimental group was set as follows: for the fiber-free matrix, mortar numbered JT, the mortar with basalt fiber (BF0.5% group), polypropylene fiber (PP0.5% group), and polyacrylonitrile fiber PAN (N0.5% group) was set up with a volume fraction of 0.5%, followed by a volume fraction of 1% BF1%, PP1%, and PAN1% group.
Table 3.
Fiber parameters.
2.2. Design and Preparation of Mix Proportion
After adjustment and trial mixing, an amount of material was used to determine the matrix mix ratio, as shown in Table 4. The setting time of the material was measured as 30 min. According to the above material mix ratio, the following method was used: PO, SAC, pulverized coal, gypsum, standard sand, and fiber were mixed into the barrel, fully stirred for 2 min; water, boric acid, defoaming agent, and water reducing agent were mixed and stirred well to form a mixture. About half of the mixture was poured and stirred for 2 min. The remaining liquid was poured after 1 min and stirred quickly for 1 min. It was finally poured into the mold and shaken for 2 min. After pouring, the specimens and molds were wrapped with a preservative film. The specimens were cured by standard curing, the temperature was 20 ± 3 °C, and the relative humidity was not less than 95%.
Table 4.
Fiber parameters of fast-hardening PCC material dosage (kg/m3).
2.3. Experimental Method
2.3.1. PCC Performance Tests
● Compressive strength test
Compressive strength is an important index to measure the usability of materials, and it is a necessary parameter to determine the design stress and crack control of components in engineering design calculation. In this paper, a set of three 40 mm × 40 mm × 40 mm specimens was used. The loading rate of the universal testing machine was 2.4 kN/s [29], and the specimens were pressed to failure. The average value of the highest compressive strength of each group of specimens was taken, and the error was less than 15%.
● SCB fracture test
A semicircular bend geometry (SCB) test was carried out according to AASHTO specifications. Considering the relevant research of scholars at home and abroad [30,31,32,33,34], the size of the SCB specimen was determined as 100 mm in diameter, 25 mm in thickness, 15 mm in incision depth, and 0.8 times in diameter and selected as the fulcrum spacing of this test. The specific details are shown in Figure 2.
Figure 2.
SCB specimens.
The molding method of the specimen was achieved by mixing the concrete according to the previous determination of the matrix mix ratio, pouring it in a cylindrical mold with a height of 60 mm, a diameter of 100 mm, and an oiled inner wall, molding after 24 h, and placing it into the standard curing room for curing. After seven days of curing, the cylindrical specimens were sliced, and the concrete at the top and bottom was removed. Only the 2 × 25 mm part of the central part was taken; the “round cake” was cut in half, and then 15 mm joints were cut out. The specific specimen-making method is shown in Figure 3.
Figure 3.
SCB specimen fabrication.
The peak load, fracture energy, fracture toughness, and stiffness of mortar with different fibers under different curing times were tested. The test used a UTM-250 dynamic servo-hydraulic material testing machine from Australia IPC Global. The test was loaded at a loading speed of 0.9 mm/min until the load was lower than 0.3 kN or the specimen failed [35].
2.3.2. PCC Interface Performance Test
In the interface compression–shear test of the PCC material, a C50 concrete block with an age of more than 200 days was used, and the size of the concrete block was a cube with a side length of 100 mm. The size and test principle of the specimen is shown in Figure 4. Through the diagonal contact surface of the specimen, the vertical load and the self-weight of the upper half could be decomposed into a tangential component and normal component on the interface so that the compressive shear force was generated on the contact surface and the compressive shear test of the interface was realized. Considering that the old concrete needed to be cut in the actual expansion joint repair process, the old concrete block was cut along the diagonal line with a cutting machine, and the cutting surface was polished to make it a continuous plane. The loading rate is 1 mm/min [35].
Figure 4.
Interface compression shear test.
3. Experimental Results and Analysis
3.1. Effect of Fiber Incorporation on Compressive Strength
3.1.1. Effect of Fiber Content on Compressive Strength
The compressive strength test of each specimen at 3 d, 7 d, and 70 d was carried out. The results are shown in Figure 5. The compressive strength of PAN fiber was slightly higher than that of each specimen at the age of 70 d under the dosage of 0.5%, but when the dosage was increased to 1%, the compressive strength of PAN was significantly lower than that of other specimens. This reason is that too many small PAN fibers hinder the connection of the PCC matrix. From Figure 5b, it can be seen that the highest compressive strength of 70 d was PP1%, which is 53.4 MPa. Both BF1% and PP1% increased the compressive strength of the matrix, while PAN1% significantly reduced the compressive strength of the matrix. In Figure 5a, the fiber has a positive effect on the compressive strength of the material in the case of low content. The influence of fiber content on compressive strength at different ages is the same. The addition of a small amount of PAN fiber improved the flow performance of the material and then improved its strength. However, after the addition amount was increased, the defects in the cementitious material increased due to the low elastic modulus and large fiber section of the PAN fiber, thus reducing the pressure resistance of the material. However, when the age reached 70 days, as the hydration reaction of the matrix ended, the incorporation of PP fiber was positively correlated with the compressive strength.
Figure 5.
Compressive strength at different ages.
3.1.2. Effect of Fiber Type on Compressive Strength
The effects of different fibers on compressive strength at different ages can be seen in Figure 6. For BF fiber, at different ages (3 d, 7 d, 70 d), with the increase in fiber content, the compressive strength of the specimens decreased slightly and then increased (overall increase). For PAN fiber, it increased slightly first and then decreased (overall increase); for PP fiber, at the early stage (3 d, 7 d), the compressive strength of the specimens increased slightly and then decreased with the increase of fiber content, and at the later stage (70 d) continued to increase. Comprehensively comparing the improvement effect of each fiber at each age, the shadow area in Figure 6 was used to quantify the improvement effect of this type of fiber on the compressive strength at this age. At the early age stage (3 d to 7 d), the compressive strength improvement effect of PAN fiber was the largest, almost 1.5 times that of PP fiber, while during the later age stage (7 d to 70 d), the improvement effect of PP fiber was slightly higher than that of the other two fibers. Based on the above analysis, increasing the content of BF fiber has a positive effect on improving the compressive strength, while increasing the content of PAN fiber harms compressive strength improvement. For PP fiber, the increase in compressive strength at an early stage is negative, while the later stage is positive. Therefore, considering the different expectations of compressive strength at different stages, it is necessary to select the appropriate fiber.
Figure 6.
Effect of fiber content on compressive strength at different stages. (S1: the degree of growth of fc for this type of fiber concrete at 3–7 d; S2: the degree of increase in fc for this type of fiber concrete over 7–70 d).
3.2. Fracture Analysis of SCB Test
3.2.1. Failure Mode of SCB Specimen
As shown in Figure 7, the early stage, the JT specimen changes very little. However, when the load–displacement curve reaches its peak, a crack extending from the end of the slit to the contact point of the indenter suddenly appears. The specimen fails after rapid crack propagation, and the section of the specimen is perpendicular to the lower contact surface. For BF specimens, after the load–displacement curve reaches its peak, cracks begin to appear and extend slowly. An obvious fiber connection can be seen on the fracture surface, and there is no obvious broken fiber. Most of the fibers are due to pull-out failure. For PAN specimens, the crack propagation speed is faster than that of BF specimens after the load–displacement curve reaches its peak. Fine fibers can be seen on the fracture surface of PAN specimens, and some fibers still connect two sections. Finally, in the PP specimen, the load–displacement curve is the same as the first two before reaching the peak, but the specimen can still bear a small force when the crack continues to expand. Even if the matrix is almost disconnected, the remaining part of the specimen can still withstand the load, and there is a clear “coupling” effect. The fracture surface of PP shows that some fibers are still connected to two sections, and some fibers are observed to be broken. The addition of fiber can reduce the degree of brittle cracking of the material. Among them, the influence of BF fiber and PAN fiber on the material has certain similarities. After the material is cracked, it is not the same as that of PP fiber. Even if the material has cracked, many fibers are still coupling.

Figure 7.
Failure of SCB specimen.
3.2.2. The Result of SCB Test
The SCB test curve is shown in the following figures. Figure 8 shows that when the specimen begins to bear force, there is a small nonlinear curve segment, which then increases linearly until it reaches the ultimate load. After reaching the ultimate load, almost straight down a small section, the curve is about a negative power function decline, infinitely close to zero. As shown in Figure 8a, in the early stage (8 d), the influence of fiber content and the presence or absence of fiber on the peak load is not obvious. This is because the cement matrix of PCC material has not been completely hydrated in the early stage, and has not been effectively combined with various fibers, which makes the initial cracking stage and peak load between various specimens. There is no significant difference, but in the later stage, BF fiber and PAN fiber have significantly delayed the generation of cracking displacement, while PP fiber is too small, and there is not much difference in delaying cracking from the JT without fiber group. PP fiber mortar does not show the effect of inhibiting crack propagation like BF and PAN in the curve shape. The above reasons are due to its small elastic modulus or failure under the influence of hydration heat. In Figure 8b, the peak load increases with the increase of fiber content, but after the crack is generated, due to the complete reaction of cement, the failure position appears when various fibers are broken or pulled out, so that after the load reaches the limit, the material quickly fails, and the curve falls vertically to zero.
Figure 8.
P-u curve of each specimen age.
3.2.3. Fracture Energy Gf Analysis
Cohesive traction is a force of interaction between molecules in a material. The cohesive force model is shown in Figure 9. The ordinate is the cohesive force Tc and the abscissa is the crack width D of the fracture surface, where Tc is the crack cracking strength, Dc is the corresponding opening displacement, and Df is the cracking width of the maximum fracture surface, that is, the failure cracking width. The area of the envelope under the curve is the fracture energy Gc of the material, the object from the beginning of cracking to complete separation, that is, the energy dissipated by the cracking width D of the fracture surface from 0 to Df, and the total energy dissipated by the material from the complete state to complete separation.
Figure 9.
Cohesion–displacement fracture curve [36].
The calculation of fracture energy is as follows: Fracture energy is the energy required to generate a unit area of fracture. According to RILEM TC 50-FMC, the calculation formula is as follows [35]:
where Gf is the fracture energy (J/m2); Wf is fracture work (J), ; P is load (N); Alig is the ligament area (m2), Alig = (r − a)t, where r is the radius of the specimen (m); a is the incision length (m); t is the sample thickness (m).
As shown in Figure 10a, the fracture energy distribution of various mortars is as follows: The average fracture energy of JT specimens at 8 d is 117.3 J/m2. Except for 0.5% PP fiber, the fracture energy of other fiber specimens is improved to varying degrees. The improvement effect is BF1% specimen >BF0.5% specimen >PAN1% specimen >PAN0.5% specimen >PP1% specimen. The fracture energy of the PP0.5% specimen is slightly decreased by 14% compared with JT, which is due to the poor high-temperature stability of the PP specimen with 0.5% volume content, which fails in the reaction of cement hydration heat, which does not increase the fracture energy of the material but decreases because of the increase in internal defects. The fracture energy of the PP1% specimen is slightly increased compared with JT, indicating that the reason for qualitative change caused by quantitative change is reflected between the volume content and fracture energy of the PP specimen. The fracture energy of PAN0.5% and PAN1% specimens increased compared with JT. The fracture energy of BF0.5% and BF1% specimens increased to nearly 600% compared with JT. The BF fiber in the mortar has a very obvious contribution to the increase in the fracture energy of the mortar compared with the other fibers in the mortar at the same age. Secondly, PAN fiber also has a positive effect on the increase in its fracture energy. However, PP fiber has limited contribution to the increase in fracture energy and may even play a negative role.
Figure 10.
Fracture energy analysis at different stages.
As shown in Figure 10b, the average fracture energy of the JT specimen at 70 d is 126.3 J/m2. The fracture energy of the PP0.5% specimen is higher than that of JT. Because the curing time of the specimen has reached the 70 d, the hydration reaction of cement is basically completed, and the fiber is partially bonded with the hydrogel, but the internal defects are improved to a certain extent but still exist, which makes the fracture energy increase slightly compared with JT, which is not as good as other fiber specimens. At the same time, the fracture energy of the PP1% specimen has no obvious change compared with PP0.5%. The fracture energy of the PAN0.5% specimen is increased compared with JT. The fracture energy of the PAN1% specimen is nearly 0.7 times higher than that of JT. The fracture energy of the BF0.5% specimen is nearly 3.6 times higher than that of JT. The fracture energy of the BF1% specimen is doubled compared to that of BF0.5%. In summary, it can be seen from Figure 10 that BF fiber has a significant effect on the fracture energy of the matrix relative to other fibers. With the increase in PAN fiber content, the fracture energy of the material increased. However, the incorporation of PP fibers did not increase the fracture energy of the material but slightly decreased it.
3.2.4. Fracture Toughness KIC Analysis
Fracture toughness KIC is the fracture factor K value when the load reaches its highest. K is the amount used to describe the stress distribution near the crack tip and is the function value of the external load and the size of the specimen as the dependent variable. Under the condition of a certain specimen size, the K value is positively correlated with external load. KIC is independent of specimen size and is a measure of the ability of the material itself to prevent crack propagation; its calculation equation is as follows [35]:
where is the stress value ; P is the load value (N); r, a, and t refer to Equation (3); YI is the normalized stress intensity factor. For the dimensions of the SCB specimen used in this test method, YI is calculated as follows [35]:
As shown in Figure 11, the fracture toughness of matrix JT at 8 d is about 0.63 MPa·m0.5; the fracture toughness of the PP0.5% specimen is slightly lower than that of JT. The reason is that the high-temperature stability of the PP0.5% specimen is poor, and it fails in the reaction of cement hydration heat, which does not increase the fracture toughness of the material. The fracture toughness of matrix JT at 70 d is between 0.77 MPa·m0.5; the fracture toughness data of each fiber are relatively uniform. When the volume fraction of these fibers is less than 1%, the effect on the fracture toughness of the matrix is limited, and there is no obvious enhancement or weakening. From the perspective of incorporation amount, BF fiber generally contributes a lot to the improvement in fracture toughness at the later stage. This is because the addition of BF fiber reduces the fluidity of the material and slows down the hydration reaction rate, resulting in material fracture. The incorporation of PAN fiber is positively correlated with the early fracture toughness of the material, but more than 1% of the content slightly reduces the fracture toughness of the material. PP fiber is opposite to PAN fiber. More than 1% content can greatly improve the fracture toughness of the material. This shows that when the content of PP fiber is less than 0.5%, the contribution to the introduction of material defects is greater than the contribution to crack resistance. From an age point of view, the fracture toughness of the material increases with time. In general, BF fiber improves the fracture toughness of the material more than other types of fibers, and the higher the content, the more obvious the effect on the later fracture toughness. A small amount of PP fiber (0.5%) slightly reduces the fracture toughness of fast-hardening PCC material, but when the content reaches 1%, the fracture toughness is improved.
Figure 11.
Relationship between fracture toughness and age.
3.2.5. Stiffness S Analysis
Stiffness S is an index for measuring the ability of the material to resist tensile deformation before reaching peak tensile stress. The definition of stiffness is shown in Figure 12, which is the slope of the elastic phase of the P-u curve. To ensure the reliability of the results, the slope of the load from 1/3 PC to 2/3 PC is used as the final value of the stiffness S.
Figure 12.
Stiffness S diagram [35].
As shown in Figure 13a, the average stiffness of the JT matrix of the control group at 8 d is 8.28 kN/mm; the incorporation of 0.5% BF and 0.5% PP fibers increased the stiffness by only 2% and 9%, respectively, while the incorporation of 0.5% PAN fiber greatly increased the stiffness (23%), and the stiffness increase corresponding to 1% PAN fiber content was only 1%. The increase was only 1%, which indicates that 0.5% PAN fiber can also improve the stiffness well in the case of low content, and for BF and PP fibers, only by increasing the content, the stiffness of the specimen was greatly improved (BF fiber: 2% to 21%; PP fiber: 9% to 24%). As shown in Figure 13b, the average stiffness of the JT matrix in the control group at 70 d was 10.54 kN/mm, which was 27% higher than that at 8 d. The addition of 0.5% BF fiber increased the stiffness by 16%, and the improvement effect was obvious. For PAN fiber, the incorporation of 0.5% increased by 7%. When the content reached 1%, the stiffness decreased by 5%. The reason is that with the increase in content, the fibers between the matrix were not completely dispersed, hindering the reaction of the hydrogel and the connection of the aggregate. The above shows that from the perspective of improving the stiffness of the specimen, adding 0.5% PAN fiber at 8 d is better, and adding 0.5% BF fiber at 70 d is the best.
Figure 13.
Stiffness analysis of each period.
In Figure 14, the ability of various fibers to resist tensile deformation from 8 d to 70 d is comprehensively evaluated. The incorporation of fibers generally improves the stiffness of the material. From the quantitative index of area, the improvement effect of BF fiber is roughly two times that of PAN fiber and three times that of PP fiber.
Figure 14.
Relationship between stiffness and age. (S1: the degree of growth of fc for BF fiber concrete at 8–70 d; S2: the degree of increase in fc for PAN fiber concrete over 8–70 d; S3: the degree of increase in fc for PP fiber concrete over 8–70 d).
3.3. Interface Analysis of Compression–Shear Test
Under the action of vehicle load, the concrete in the anchorage zone of the expansion joint is not only subjected to vertical load but also to the horizontal friction between the wheel and the surface. Through the interface compression–shear test of fast-hardening PCC material and ordinary C50 concrete, the shear failure strength of the two was determined, and the finite element simulation parameters of the interface of fast-hardening PCC material were determined, providing a basis for the study of the performance of fast-hardening PCC material in the anchorage zone of the expansion joint. The interface compression–shear test is shown in Figure 15, and the compression–shear test results of fast-hardening PCC material and C50 concrete are shown in Figure 16 and Table 5.
Figure 15.
Interface compression–shear test result.
Figure 16.
Load-displacement curve.
Table 5.
Compression–shear test results.
The test results are relatively stable. According to the calculation, the maximum tangential shear stress between fast-hardening PCC material and ordinary concrete is 5.6 MPa when the ratio of interface normal pressure to tangential shear force is 1:1.
3.4. Finite Element Verification of Fast-Hardening PCC Material Interface Model
3.4.1. Interface Finite Element Model
According to the specification [37], the elastic modulus of C50 concrete was obtained. According to the strength of the fast-hardening PCC material, the suggestion in CEB-FIP (2010) [38], and the previous test results, Poisson’s ratio was estimated at 0.2. The final parameters are summarized in Table 6.
Table 6.
Material parameters of finite element model for the compression–shear test.
The model consists of three parts, and the size of the parts is consistent with the actual situation. In the model, red is the fast-hardening PCC material and green is C50 concrete, both of which adopt a C3D8R solid element. The grey is a discrete rigid element, as shown in Figure 17.
Figure 17.
Compression–shear finite element model.
For the boundary conditions of the model, combined with the actual situation of the test, the bottom of the test piece adopts U2 = UR1 = UR3 = 0 (the positive direction of the Y-axis is the normal line of the bottom), and the top of the test piece adopts the binding contact. A vertical downward forced displacement is applied to the top surface of the rigid body.
3.4.2. Interface Model Parameter Verification
The interaction parameters between the two materials in the finite element model were set according to the determined interface model. The Coulomb friction model, cohesion model, and cohesion–friction hybrid model were established and compared with the test curve. The parameters are summarized in Table 7.
Table 7.
Interface parameters of the compression–shear test model.
The cohesion model was defined using the contact property module. Since the stiffness of C50 concrete was greater than that of the fast-hardening PCC material, when defining the contact pair, the C50 concrete interface was set as the main surface, and the fast-hardening PCC material was defined as the subsurface. For the contact property, the tangential behavior was set to frictionless. The normal behavior was set to hard contact. It was set to viscous behavior, meeting the conditions from the node set to any contact from the node; the traction separation behavior was set to an uncoupled specified stiffness coefficient; the stiffness K was set in all directions, damage expansion, and specified damage stability; parameters such as normal and tangential peak stress, effective relative displacement, and viscosity coefficient were specified.
For the cohesion–friction hybrid model, in addition to the above settings, it was also necessary to set the tangential behavior as a penalty, that is, the friction coefficient. The Coulomb friction model only needed to set the friction coefficient, and the normal behavior was set to hard contact.
Figure 18a shows the comparison between the displacement (downward positive)–load relationship curve in the test and the displacement–reaction force curve of the discrete rigid body in the finite element simulation. Among them, the cohesion model and the cohesion–friction hybrid model are consistent with the trend of the compression–shear test curve, and the cohesion model is more in line with the actual results, but the Coulomb friction model distorts the simulation of the interface compression–shear behavior, as shown in Figure 18b. In summary, compared with other interface simulations, the cohesive zone model is more suitable for simulating the interface behavior between fast-hardening PCC material and ordinary concrete under a compression–shear state.
Figure 18.
Comparison of interface models in this paper.
4. Simulation Analysis of Expansion Joint Model Applying Fast-Hardening PCC Material
4.1. Establishment of the Model
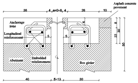
Taking the expansion joint of bridge D80 as a reference (as shown in Figure 19), the anchorage zone’s concrete utilized PCC material parameters, and the relationship between the concrete interfaces was modeled using the cohesive-frictional mixture model. Due to the limited influence of wheel pressure in the transverse and vertical directions of the bridge, a modeling range of 1.5 m in the transverse direction, 0.88 m in the vertical direction, and 1 m in the longitudinal direction was selected.
Figure 19.
Cross-section of expansion joint installation.
In the actual expansion joint area, there are numerous steel bars. However, due to the differences in elastic modulus and strength between the anchorage zone material and the steel, the number and configuration of steel bars have a negligible effect on the stress calculation results in the anchorage zone of the model. Therefore, in this model, only a unit model of embedded steel beams with a diameter of 16 mm is established (as shown in Figure 20). The spacing between the embedded steel bars is 20 cm.
Figure 20.
FEM of expansion joint.
Asphalt concrete is a viscoelastic material. However, in the localized model of the expansion joint, due to the specific loading conditions at the expansion joint, under the action of instantaneous vehicle loads, the mechanical behavior of asphalt concrete exhibits linear elastic material properties. Since asphalt concrete is not the focus of our study, it is modeled as a linear elastic material in the model.
In the diagram, the model represents the longitudinal direction of the bridge as the X-axis and the transverse direction as the Y-axis. The gray area represents the expansion joint steel section, the red part represents the anchorage zone made of fast-hardening PCC material, the green part represents the beam body made of C50 concrete, the beige area represents the asphalt concrete pavement layer, and the blue indicates the embedded steel bars in the expansion joint.
4.1.1. Failure Mode of SCB Specimen
The local static finite element model of the expansion joint in this study utilizes C50 concrete for the main beam. The thickness of the asphalt concrete pavement layer was 8 cm, and its material parameters were set according to Reference [39]. The steel bars and steel sections adopt commonly used Q345 steel, and the contact settings between different materials are described in the following text. The material parameters used in the test and numerical analysis are listed in Table 8, in which the characteristic parameters of the test materials were obtained during the test. The FEM material data are set by reference to the test material data and related Ref. [37].
Table 8.
Material parameters in finite element model of expansion joint.
4.1.2. Boundary Conditions
The boundary conditions of the present expansion joint model were established by referring to the boundary condition settings in the literature for local modeling of expansion joints [39,40,41]. Considering the local dimensions of the model and the actual situation, the following boundary conditions were set:
(1) The expansion joint is located above the bearing, and the depth of the local model is smaller than the cross-sectional height of the bridge. It is generally assumed that the bottom of the model is fully restrained. Therefore, the bottom of this finite element model (negative Z-axis) was set as completely fixed: U1 = U2 = U3 = UR1 = UR2 = UR3 = 0.
(2) Behind the expansion joint (negative X-axis), the cross-section can only undergo translational motion in the plane perpendicular to the longitudinal direction of the bridge. Thus, it was set as a rotationally fixed constraint: U1 = UR1 = UR2 = UR3 = 0.
(3) For the interfaces at both ends of the expansion joint (positive and negative Y-axis), besides translational motion in the plane perpendicular to the transverse direction of the bridge, it can also undergo rotational motion in the transverse direction. Therefore, it was set as U2 = UR1 = UR3 = 0.
The interface parameters between the fast-hardening PCC material and C50, fast-hardening PCC material and asphalt pavement, and C50 and asphalt pavement were referenced from previous data. The interaction between steel bars and concrete was implemented using an embedded region approach. The contact angle between the steel bars and steel sections was set as a bonded connection.
4.1.3. Grid Division
The general element used in the model is the C3D8R element with linear geometric order. To address the varying importance of different components, a nonuniform method of controlling the global size was employed to divide the mesh of each component in the model. The non-anchored portions of the fast-hardening PCC material in the anchorage zone and the embedded steel bars were divided with a global element size of 25 mm. For the anchored portions of the expansion joint steel, asphalt concrete pavement layer, and embedded steel bars, a global element size of 50 mm was used. The distribution of elements is shown in Figure 21.
Figure 21.
Unit division.
4.1.4. Realization of Moving Loads
In this study, the plane load subroutine of Abaqus was used to apply surface load to the model. The wheel pressure was determined based on the specifications outlined in reference regarding vehicle loads, considering two types of load: front axle load and rear axle load [42]. The standard value for the front axle load is 30 kN, with a contact area of 300 mm × 200 mm and a pressure standard value of 0.25 MPa. The standard value for the rear axle load is 140 kN, with a contact area of 600 mm × 200 mm and a pressure standard value of 0.58 MPa. The impact coefficient was conservatively set to 0.45 based on the values provided in Reference [43]. To calculate the braking force of the vehicle, different accelerations of the vehicle and the standard value of the vehicle’s weight were taken into account to calculate the horizontal force exerted by the vehicle on the expansion joint.
In the finite element model of the expansion joint in this study, it is assumed that the vehicle weight load and the horizontal force are evenly distributed to each wheel based on the contact area. The effects of wheel loads on the expansion joint were investigated under five different acceleration conditions: −5, −2, 0, 2, and 5 (unit: m/s2). The rear axle loads under different acceleration levels are presented in Table 9.
Table 9.
Rear axle loads under different horizontal accelerations.
Here, we define D as the distance between the front section of the wheel and the boundary line between the anchored and unanchored areas (Figure 22). The value of D is negative when the wheel does not pass the line and positive after the wheel passes the line.
Figure 22.
Schematic diagram of the D value.
4.2. Finite element Results Analysis
4.2.1. Principal Stress Nephogram
For the results of the vehicle deceleration forward model analysis, the main stress cloud (no steel) is shown in Figure 23, and the red shear head is the vehicle forward direction. It can be seen from the figure that when the wheel load is located at D = −0.1 m, stress concentrations appear at the edge of the model, in the area under the wheel and at the location of the expansion joint; when the wheel load is located at D = 0.5 m, the stress concentrations appear mainly at the location of the expansion joint, and the values are much larger than the former. This phenomenon may be due to the fact that when D = 0.5 m, the wheel acts directly on the location of the expansion joint, resulting in the horizontal load effect and the vertical load effect playing a role in the same position at the same time, so the stress value is relatively large.
Figure 23.
Principal stress nephogram.
4.2.2. Maximum Principal Tensile Stress in the Anchorage Zone
The relationship curve between the maximum principal tensile stress and D in the anchorage zone is shown in Figure 24. When D is −0.6 m, the wheel starts to act on the model, and the anchorage area is subjected to very small forces. When D is −0.15 m, the wheel completely acts on the model, and the force on the anchorage zone can still be ignored. When D is −0.5 m, the wheel begins to affect the anchorage zone and the influence cannot be ignored. Therefore, it can be seen that the dimensional arrangement of the model is reasonable.
Figure 24.
The curve of maximum principal tensile stress in the anchorage zone versus D (σ1max-D).
When the vehicle slows down, the shape of the curve σ1max-D (Figure 25) is roughly the same as that of the vehicle at a uniform speed, and the greater the horizontal force, the farther away it is from the D-axis. However, the relationship curve of acceleration is quite different from that of the vehicle at a uniform speed, and a peak appeared in the first half. This may be due to the difference in the mechanic laws of the interface when the wheel accelerates and decelerates past the boundary line between the anchored and unanchored zones.
Figure 25.
Waterfall diagram of maximum principal tensile stress in the anchorage zone versus D.
When D < 0 and the acceleration is 2 m/s2, the curve σ1max-D fluctuates and rises, which is consistent with the curve σ1max-D trend of the vehicle acceleration of 0. It is speculated that there may be a certain vertical relative displacement on the vertical extension surface of the boundary line between the anchorage zone and the non-anchorage zone, which exceeds the maximum tangential relative displacement. However, when the acceleration is 5 m/s2, the maximum stress value of the anchorage zone produces an upward mutation at the position of D = 0 with a relatively flat curve. When the vehicle is decelerating and the horizontal force of the wheel on the pavement is backward, the curve σ1max-D is more gentle than the former, which may be due to the forward shear deformation in the asphalt concrete and C50. The vertical extension surface of the boundary line between the anchorage zone and the non-anchorage zone is better than the former. When the D value is near 0, the maximum principal tensile stress of the anchorage zone increases abruptly when the vehicle accelerates, while the curve σ1max-D decreases relatively slowly when the vehicle decelerates.
In the section of 0 < D < 1.0, when the vehicle accelerates forward, the curve σ1max-D rises rapidly at 0 < D < 0.05 and reaches a peak at D = 0.05. Then, the curve σ1max-D first flattens and then decreases, taking a pattern of 7. The second obvious peak is reached at D = 0.86, and then almost linearly decreases to the residual maximum principal tensile stress at D = 0.9 when the rear end of the wheel pressure completely passes through the anchorage zone. For the vehicle deceleration, the curve σ1max-D first rises gently, reaches a certain value and then remains unchanged, and then rises to a peak at D = 0.86.
4.2.3. Maximum Principal Compressive Stress in the Anchorage Zone
The relationship between the maximum principal compressive stress and D in the anchorage zone is shown in Figure 26. In general, the relationship curve of vehicle deceleration is similar to that of vehicle uniform speed. The greater the horizontal force, the greater the absolute value of principal compressive stress of the anchorage zone, and the farther the curve σ1max-D is from the D axis.
Figure 26.
The curve of maximum principal compressive stress in the anchorage zone versus D (σ3max-D).
When the D value is near 0, the absolute value of the maximum principal compressive stress in the anchorage zone has a sudden increase. In the vicinity of the peak value of the absolute value, the change is relatively small but not negligible. In the vicinity of the D value of 0.9, when it completely passes through the anchorage zone the rear end of the wheel pressure decreases rapidly to the residual stress.
4.2.4. The Stress Distribution of the Model
From the previous analysis, it can be seen that when the vehicle accelerates through the expansion joint with an acceleration of 5 m/s2, the maximum principal tensile stress above 0.23 MPa and the maximum principal compressive stress above 0.38 MPa remains. Therefore, the fast-hardening PCC material expansion joint model with an acceleration of 5 m/s2 was taken as the research object to study the law of interface force when the vehicle passes through the expansion joint.
From the section of the principal compressive stress nephogram (Figure 27) of the anchorage zone (5 m/s2 acceleration), it can be seen that when D = 0.02 m, the maximum main compressive stress appears at the interface between concrete and asphalt concrete in the anchorage zone at the bottom of the wheel pressure. Meanwhile, because the elastic modulus of asphalt concrete is smaller than the elastic modulus of concrete in the anchorage zone, stress concentration occurs at the junction of the two materials. At D = 0.32 m, the front end of the wheel pressure load exceeds the anchorage zone, and the rear end of the wheel pressure has not yet entered the anchorage zone. The maximum compressive stress position moves down and appears at the junction of the asphalt concrete, anchorage zone material, and beam body. At D = 0.65 m, the rear end of the wheel pressure has entered the anchorage zone 0.05 m, and the maximum principal compressive stress appears near the rear end of the wheel pressure. At D = 0.8 m, the rear end of the wheel pressure has exceeded the boundary line of the anchorage zone and the non-anchorage zone by 0.2 m, but it has not yet gone out of the anchorage zone of the expansion joint, and the maximum principal compressive stress appears near the rear end of the wheel pressure.
Figure 27.
Principal compressive stress nephogram of anchorage zone (a–d).
4.2.5. Fast-Hardening PCC Material Compared with Other Expansion Joint Materials
To study the stress characteristics of fast-hardening PCC material for the expansion joint anchorage zone relative to other materials, different materials were used in the finite element model of the expansion joint, and the characteristics of principal stress at different positions of wheel pressure were compared. Several representative anchorage zone material parameters were selected and input into the model to study the variation characteristics of maximum principal stress. The load of the finite element model does not consider the horizontal force, only the vertical wheel pressure. The parameters of several anchorage zone materials from recent years are shown in Table 10.
Table 10.
Parameters of anchorage zone materials used for reference in recent years.
It can be seen from the curves σmax-D (Figure 28) that the greater the elastic modulus of the anchorage zone material, the greater the stress under the wheel load, and the farther the curve σmax-D is from the D axis. The stress trend of the anchorage zone of fast-hardening PCC material is roughly equivalent to that of elastic polyurethane concrete and resin concrete. When the elastic modulus of the material reaches the level of fiber polymer concrete and C50 concrete, compared with other materials, when the wheel passes through the boundary between the anchorage zone and the non-anchorage zone of the expansion joint, the curve σ1max-D has a sudden second peak.
Figure 28.
Different materials’ curves of maximum principal stress in the anchorage zone versus D (σmax-D).
At D < 0, the wheel has not passed the boundary line, and the wheel pressure load has not been directly loaded into the anchorage zone. The curve σ1max-D fluctuates upward, and the curve σ1max-D produces an upward mutation at the position of D = 0. For the expansion joint anchorage zone of fast-hardening PCC material, resin concrete, and elastic polyurethane concrete, the peak value is not obvious, while for C50 and fiber polymer concrete, the curve σ3max-D is different, the peak value is relatively large, it seems to be enlarged, and the fluctuation of the front is relatively flat. At this stage, the curve σ3max-D also has a certain fluctuation, and the maximum principal compressive stress of the anchorage zone is not much different between different materials.
In general, compared with other materials, when using fast-hardening PCC material as the expansion joint anchorage zone material, the stress value under the action of wheel pressure is at a low level, and it is far less than the compressive strength and crack resistance strength of fast-hardening PCC material after adding fiber.
In the following section, the results and how they can be interpreted from the perspective of previous studies and of the working hypotheses are discussed. The findings and their implications are discussed in the broadest context possible. Future research directions are also highlighted.
5. Conclusions
● By comparing the compressive strength of basalt fiber BF, polyacrylonitrile fiber PAN, and propylene fiber PP at different ages, the fiber reinforcement effect of PCC fast-hardening material was studied. It was found that 1% volume content BF can greatly improve the compressive strength of the material.
● Considering the crack resistance of the material, the effects of different fiber types and content on the crack resistance of the material were compared using the SCB test. The crack of the fiber-free matrix specimen extended rapidly; the crack propagation of specimens mixed with BF or PAN fibers was slow, and the fibers were pulled out or broken.
● Considering the influence of fiber incorporation on the fracture energy Gf, fracture toughness KIC, and stiffness S of fast-hardening PCC materials in the SCB experiment, BF fiber contributes more significantly to the fracture energy Gf, fracture toughness KIC, and stiffness of materials than PAN fiber and PP fiber.
● Through the interface compression–shear test, it was concluded that the maximum compression–shear stress between fast-hardening PCC material and ordinary concrete can reach 5.61 MPa when the ratio of interface normal pressure to shear force is 1:1.
● The finite element model of expansion joint anchorage zone using fast-hardening PCC material was established. The stress characteristics of the expansion joint anchorage zone were explored, and the superior mechanical properties of the fast-hardening PCC material as expansion joint anchorage zone material were verified.
In summary, by determining the mix ratio of PCC material and the compressive strength under different fiber contents, the effect of different fibers on the crack resistance of the material and the interfacial bonding performance between the material and ordinary concrete was studied. It can be seen from the test and numerical analysis results, with a rational mixing ratio and fiber content, that PCC has favorable compressive and anti-cracking properties, and meanwhile, due to the short time of its strength formation, the application of PCC in the repair of bridge expansion joint anchorage areas can improve the service life of the expansion joints; reduce the construction period, so as to reduce the cost of maintenance; and minimize the impact of bridge repair on traffic. In addition, due to the excellent anti-cracking property of PCC material and its strong bonding property with ordinary concrete, PCC can also be applied to structural waterproofing or bridge deck defect repair in the future, which has high practical value and broad application prospects. The focus of future work may be to study the interaction between PCC materials and other materials, such as stretching (interfacial bonding properties between PCC materials and other cementitious materials) or drawing (bonding and anchoring properties between PCC materials and reinforcements). At the same time, it is also important to use more test data to reveal the deeper performance of PCC materials.
Author Contributions
Conceptualization, H.S.; methodology, H.S. and L.L.; software, H.Y. and Y.S.; validation, X.L., L.L. and H.Y.; formal analysis, H.S.; investigation, Y.S.; resources, L.L.; data curation, X.L.; writing—original draft preparation, H.Y.; writing—review and editing, H.S.; visualization, Y.S.; supervision, X.L.; project administration, L.L.; funding acquisition, H.S. All authors have read and agreed to the published version of the manuscript.
Funding
This research is funded by the science and technology project of Department of Transportation of Yunnan Province (Yunnan named Research on the Application Technology of PCC in Disaster Prevention and Mitigation of Highway Bridges, grant number Education Science and Education Pi (2021) No. 91).
Data Availability Statement
Data will be made available on request. The data are not publicly available due to privacy.
Acknowledgments
The authors thank Lei Ma for his excellent completion of the material test and numerical simulation in his graduation thesis, and give detailed data. The authors would also like to thank the members of the HIT 505 office for their unselfish help and helpful advice.
Conflicts of Interest
The authors declare no conflict of interest.
References
- Ungureanu, D.; Ranu, N.; Hoha, D.; Zghibarcea, T.; Huditeanu, I. Accelerated testing of a recycled road structure made with reclaimed asphalt pavement material. Constr. Build. Mater. 2020, 262, 120658. [Google Scholar] [CrossRef]
- Deng, Y.; Ge, S.; Lei, F. Effects of Pounding and Abutment Behavior on Seismic Response of Multi-Span Bridge Considering Abutment-Soil-Foundation-Structure Interactions. Buildings 2023, 13, 260. [Google Scholar] [CrossRef]
- Yahye, M.; Liu, L.; Honglin, W.; Sun, Y.; Sun, H.; Ma, J.; Zhang, L. Experimental research on mechanical properties of Fiber-Reinforced Polyurethane Elastic Concrete (FRPEC). Constr. Build. Mater. 2022, 328, 126929. [Google Scholar]
- Liu, S.; Mo, L.; Wang, K.; Xie, Y.; Woldekidan, M. Preparation, microstructure and rheological properties of asphalt sealants for bridge expansion joints. Constr. Build. Mater. 2016, 105, 1–13. [Google Scholar] [CrossRef]
- Min, Z.; Wang, Q.; Zhang, K.; Shen, L.; Lin, G.; Huang, W. Investigation on the properties of epoxy asphalt mixture containing crumb rubber for bridge expansion joint. Constr. Build. Mater. 2022, 331, 127344. [Google Scholar] [CrossRef]
- Feng, S.; Xiao, H.; Zhang, R.; Yang, C. Bond performance between substrate concrete and repair mortar: Effect of carbon fibre and expansive agent. Constr. Build. Mater. 2020, 250, 118830. [Google Scholar] [CrossRef]
- Zhang, Y.; Zhang, C.; Zhu, Y.; Cao, J.; Shao, X. An experimental study: Various influence factors affecting interfacial shear performance of UHPC-NSC. Constr. Build. Mater. 2020, 236, 117480. [Google Scholar] [CrossRef]
- Guo, J.; Zhou, Z.; Zou, Y.; Zhang, Z.; Jiang, J. Finite Element Analysis of Precast Concrete Deck-Steel Beam-Connection Concrete (PCSC) Connectors Using Ultra-High Performance Concrete (UHPC) for the Composite Beam. Buildings 2022, 12, 1402. [Google Scholar] [CrossRef]
- Zhang, F.; Wang, C.; Zou, X.; Wei, Y.; Chen, D.; Wang, Q.; Wang, L. Prediction of the Shear Resistance of Headed Studs Embedded in Precast Steel–Concrete Structures Based on an Interpretable Machine Learning Method. Buildings 2023, 13, 496. [Google Scholar] [CrossRef]
- El-Khier, M.A.; Morcous, G. Friction and Cohesion Interface Shear Factors of Ultra-High-Performance Concrete (UHPC) Cast on Hardened Conventional Concrete. Buildings 2023, 13, 1253. [Google Scholar] [CrossRef]
- Jiang, T.; Zhang, Y.; Wang, L.; Zhang, L.; Song, G. Monitoring fatigue damage of modular bridge expansion joints using piezoceramic transducers. Sensors 2018, 18, 3973. [Google Scholar] [CrossRef]
- Ma, Y.; Peng, A.; Wang, L.; Zhang, C.; Li, J.; Zhang, J. Fatigue performance of an innovative shallow-buried modular bridge expansion joint. Eng. Struct. 2020, 221, 111107. [Google Scholar] [CrossRef]
- Steenbergen, M.J. Dynamic response of expansion joints to traffic loading. Eng. Struct. 2004, 26, 1677–1690. [Google Scholar] [CrossRef]
- Artmont, F.A.; Roy, S. A model for simulating dynamic vehicular load on modular bridge expansion joint systems. In Proceedings of the 8th World Congress on Joints, Bearings, and Seismic Systems for Concrete Structures, Atlanta, GA, USA, 25–29 September 2016; Transportation Research Board: Washington, DC, USA, 2016. [Google Scholar]
- Li, Y. Research on Preparation and Properties of Fiber Polymer Toughened Self-Compacting Concrete for Bridge Expansion Joints. Master’s Thesis, Chongqing Jiaotong University, Chongqing, China, 2019. (In Chinese). [Google Scholar]
- Ohama, Y.V.C. Principle of latex modification and some typical properties of latex-modified mortars and concretes. ACI Mater. J. 1987, 84, 511–518. [Google Scholar]
- Ohama, Y. Study on properties and mix proportioning of polymer-modified mortars for buildings. Rep. Build. Res. Inst. 1973, 65, 100–104. [Google Scholar]
- Beeldens, A.; Van Gemert, D.; Schorn, H.; Ohama, Y.; Czarnecki, L. From microstructure to macrostructure: An integrated model of structure formation in polymer-modified concrete. Mater. Struct. 2005, 38, 601–607. [Google Scholar] [CrossRef]
- Van Gemert, D.; Beeldens, A. Evolution in modeling microstructure formation in polymer-cement concrete. Restor. Build. Monum. 2013, 19, 97–108. [Google Scholar] [CrossRef]
- Zhang, J. Study on shear fatigue performance of waterproof adhesive layer of cement concrete bridge deck. J. China Foreign Highw. 2012, 254–256. (In Chinese) [Google Scholar]
- Luo, Y.; Zhang, J.; Zhang, X.; Peng, J. Experiment on interfacial shear performance of carbonated concrete reinforced by self-compacting concrete. J. Chang’an Univ. (Soc. Sci. Ed.) 2019, 39, 65–72. (In Chinese) [Google Scholar]
- Li, W.; Yao, L.; Xie, C.; Kong, F.; Lan, Y. The analysis of failure mechanism of the bridge expansion joint under the vehicle load. Shanxi Archit. 2021, 47, 151–153. (In Chinese) [Google Scholar]
- Nadesan, M.S.; Dinakar, P. Structural concrete using sintered flyash lightweight aggregate: A review. Constr. Build. Mater. 2017, 154, 928–944. [Google Scholar] [CrossRef]
- Raghavendra, T.; Udayashankar, B. Engineering properties of controlled low strength materials using flyash and waste gypsum wall boards. Constr. Build. Mater. 2015, 101, 548–557. [Google Scholar] [CrossRef]
- Yang, G.; Dong, Z.; Bi, J.; Zhao, K.; Li, F. Experimental study on the dynamic splitting tensile properties of polyvinyl-alcohol-fiber-reinforced cementitious composites. Constr. Build. Mater. 2023, 383, 131233. [Google Scholar] [CrossRef]
- Li, X.; Li, C.; Liu, Y.; Chen, S.J.; Wang, C.; Sanjayan, J.G.; Duan, W.H. Improvement of mechanical properties by incorporating graphene oxide into cement mortar. Mech. Adv. Mater. Struct. 2018, 25, 1313–1322. [Google Scholar] [CrossRef]
- Guo, X.; Pan, X. Mechanical properties and mechanisms of fiber reinforced fly ash–steel slag based geopolymer mortar. Constr. Build. Mater. 2018, 179, 633–641. [Google Scholar] [CrossRef]
- Wang, L.; He, T.; Zhou, Y.; Tang, S.; Tan, J.; Liu, Z.; Su, J. The influence of fiber type and length on the cracking resistance, durability and pore structure of face slab concrete. Constr. Build. Mater. 2021, 282, 122706. [Google Scholar] [CrossRef]
- JTG3420-2020; Testing Methods of Cement and Concrete for Highway Engineering. Ministry of Transport of the People’s Republic of China: Beijing, China, 2020.
- Fuan, S.; Ke, M.; Kanghe, L.; Kun, L.; Aliha, M. Influence of specimen geometry on mode I fracture toughness of asphalt concrete. Constr. Build. Mater. 2021, 276, 122181. [Google Scholar] [CrossRef]
- Kazemian, F.; Rooholamini, H.; Hassani, A. Mechanical and fracture properties of concrete containing treated and untreated recycled concrete aggregates. Constr. Build. Mater. 2019, 209, 690–700. [Google Scholar] [CrossRef]
- Liu, W.; Yan, K.; Li, J.Q.; Yang, S. Peridynamics-based simulation of semi-circular bending (SCB) testing. Constr. Build. Mater. 2021, 268, 121190. [Google Scholar] [CrossRef]
- Lu, D.X.; Nguyen, N.H.T.; Saleh, M.; Bui, H.H. Experimental and numerical investigations of non-standardised semi-circular bending test for asphalt concrete mixtures. Int. J. Pavement Eng. 2021, 22, 960–972. [Google Scholar] [CrossRef]
- Zhao, G.; Yao, W.; Li, X.; Xu, Y.; Xia, K.; Chen, R. Influence of notch geometry on the rock fracture toughness measurement using the ISRM suggested semi-circular bend (SCB) method. Rock Mech. Rock Eng. 2022, 55, 2239–2253. [Google Scholar] [CrossRef]
- AASHTO TP 105; Standard Method of Test for Determining the Fracture Energy of Asphalt Mixtures Using the Semicircular Bend Geometry (SCB). AASHTO: Washington, DC, USA, 2013.
- Xue, J. Research on Reflective Cracking Propagation Behavior in Asphalt Pavement Based on XFEM. Master’s Thesis, Southeast University, Nanjing, China, 2020. (In Chinese). [Google Scholar]
- GB50010-2010; Code for Design of Concrete Structures. China Architecture & Building Press: Beijing, China, 2015.
- Walraven, J. fib Model Code for Concrete Structures 2010: Mastering challenges and encountering new ones. Struct. Concr. 2013, 14, 3–9. [Google Scholar] [CrossRef]
- Lei, L. Fatigue Performance Analysis of New EMR Concrete Expansion Joint. Master’s Thesis, Chang’an University, Xi’an, China, 2019. (In Chinese). [Google Scholar]
- Liu, T. Theoretical and Experimental Study on Fatigue Performance of Modular Expansion Joints. Master’s Thesis, Huazhong University of Science and Technology, Wuhan, China, 2019. (In Chinese). [Google Scholar]
- Xu, X.D. Bin; Tang, Zhi, Fatigue Life Analysis of GQFGJX Improved Modular Bridge Expansion Device. Technol. Highw. Transp. 2019, 35, 80–87. (In Chinese) [Google Scholar]
- JTGD60-2015; General Specifications for Design of Highway Bridges and Culverts. China Communication Press: Beijing, China, 2015.
- Ja, D. Study on Fatigue Performance of Elastic Polyurethane Concrete Expansion Joint Anchorage Zone. Master’s Thesis, Northeast Forestry University, Harbin, China, 2021. (In Chinese). [Google Scholar]
Disclaimer/Publisher’s Note: The statements, opinions and data contained in all publications are solely those of the individual author(s) and contributor(s) and not of MDPI and/or the editor(s). MDPI and/or the editor(s) disclaim responsibility for any injury to people or property resulting from any ideas, methods, instructions or products referred to in the content. |
© 2023 by the authors. Licensee MDPI, Basel, Switzerland. This article is an open access article distributed under the terms and conditions of the Creative Commons Attribution (CC BY) license (https://creativecommons.org/licenses/by/4.0/).