Next Article in Journal
Vibration Test and Control of Factory a Building under Excitation of Multiple Vibrating Screens
Previous Article in Journal
Identifying and Ranking Landfill Sites for Municipal Solid Waste Management: An Integrated Remote Sensing and GIS Approach
 
 
Font Type:
Arial Georgia Verdana
Font Size:
Aa Aa Aa
Line Spacing:
Column Width:
Background:
Article

Self-Cleaning Cement-Based Building Materials

1
Department of Technology and Organization of Construction Production, Moscow State University of Civil Engineering (MGSU), 26 Yaroslavskoe Shosse, 129337 Moscow, Russia
2
St. Petersburg State University of Architecture and Civil Engineering, 4 Vtoraya Krasnoarmeiskaya Ul., 190005 Saint Petersburg, Russia
3
Department of Building Materials Science, Moscow State University of Civil Engineering (MGSU), 26 Yaroslavskoe Shosse, 129337 Moscow, Russia
*
Author to whom correspondence should be addressed.
Buildings 2022, 12(5), 606; https://doi.org/10.3390/buildings12050606
Submission received: 13 April 2022 / Revised: 28 April 2022 / Accepted: 3 May 2022 / Published: 6 May 2022
(This article belongs to the Section Building Materials, and Repair & Renovation)

Abstract

:
The modern rhythm of human life leads to well-known problems, which are air, water and soil pollution and climate warming. An increase in the power of industries and vehicles leads not only to atmospheric pollution by-products of incomplete fuel combustion but also to various microscopic particles that form aerosols, which carry an obvious danger to human health and also pollute the buildings’ facades. An environmentally friendly building material with a hybrid method “Nano-titania gradient” was developed. This method consists of forming a gradient of n-TiO2 particles concentration in the composite since the physical properties of the composite are always inextricably linked to the geometry. To increase the efficiency of the photocatalytic process, a method of surface sensitization of titanium dioxide with the use of graphene oxide was proposed, which contributed to an increase in the overall photosensitivity. Thus, the decomposition of nitrogen oxide by volume with the modified surface increased by 27% in comparison with the classic titanium dioxide, and the decomposition of volatile organic substances increased by 32%. It was found that for the facade plate made with surface-sensitized TiO2, the process of self-cleaning is completed after 3 h after the irradiation start. The modern rhythm of human life leads to well-known problems, which are air, water and soil pollution and climate warming. Using the theory of percolation, the concentration range of the photocatalyst content was calculated. To facilitate the material, waste cellulose was introduced. To increase the efficiency of the photocatalytic process, a method of surface sensitization of titanium dioxide (SS TiO2) with the use of graphene oxide was proposed. The analysis of the experimental-statistical models of the compressive strength shows that the optimum content of TiO2 was in the range from 0.8 to 1.1%, and cellulose from 0.4 to 0.8%, the optimum content of SS TiO2 was in the range from 0.7 to 1.1%, and cellulose from 0.4 to 0.8%. Analysis of the experimental and statistical model of the bending strength shows that the optimal content of TiO2 and SS TiO2 was in the range of 0.6 to 1.0%, and cellulose from 0.4 to 0.8%. When studying the structure of composites, it was found that titanium dioxide was sorbed on the surface of swollen cellulose fibers and remained there after the process of cement hydration. The effectiveness of the method of surface sensitization of titanium dioxide by combining it with graphene oxide was shown. Thus, the decomposition of nitrogen oxide by volume with the modified surface increased by 27% in comparison with the classic titanium dioxide, and the decomposition of volatile organic substances increased by 32%. It was found that for the facade plate made with surface-sensitized TiO2, the process of self-cleaning was completed after 3 h after the irradiation start.

1. Introduction

The modern global economy is focused mainly on obtaining energy by burning organic fossil fuels, which leads to well-known problems such as atmospheric pollution and climate warming [1]. At the same time, adding the vehicles’ power and increasing the intensity of their operation lead to the pollution of the atmosphere by the products of incomplete fuel combustion and various microscopic particles. These particles might form aerosols, which carry an obvious danger to human health and also pollute buildings’ facades, small architectural objects, vegetation, etc. Regardless, the tightening of environmental requirements for the industrial sector and the emergence of internal combustion engines with a higher environmental class, air pollution by NOx, SOx, CO oxides remains an acute environmental problem. These pollutants inhibit the growth of certain plants and at the same time, cause the formation of photochemical smog in the urban environment, which contributes to significant pollution of the buildings’ facades. In addition, the presence of these pollutants in the air has a detrimental effect on human respiratory function, causing respiratory diseases. Trace volatile compounds emitted by furniture, equipment and inhabitants themselves, along with microbiological contamination, lead to mucous membrane irritation, headaches, nausea and allergic reactions. Moreover, along with mold fungi, these compounds can cause chronic diseases and “sick building” syndrome [1]. It is estimated that metropolitan areas such as New Delhi, Shanghai face serious environmental problems caused by smog [2], which sometimes interferes with normal human activities, the functioning of schools, businesses and transport [3].
All this leads to increased scientific interest in recent years in the issues of environmental safety and sustainable development of urbanized areas. Therefore, the actual direction is to develop, not only environmentally friendly materials and technologies for use in the construction of civil and industrial facilities, but also building materials that reduce the environmental load on urbanized areas [4,5,6]. To solve the problem of atmospheric air pollution, it is possible to use photocatalytic self-cleaning smart building materials that enable reducing the concentration of pollutants in the atmosphere with the simultaneous function of self-cleaning.
The potential photocatalytic degradation scheme of the pollutants during photocatalysis can be reported in the following form, Figure 1. Titanium dioxide in anatase allotropy, being a semiconductor in the nano-dispersed state, is now often used as such a catalyst. During the photoexcitation process, n-TiO2 absorbs a quantum of ultraviolet radiation (sunlight or fluorescent lamps), which leads to excitation of the valence zone electrons (e) and their “jumping” into the conduction zone, forming a hole (h+) [7]. The phenomenon of molecular adsorption and subsequent charge transfer has a strong dependence on the surface properties of the photocatalytic material and can vary for polymorphs and even for the same material due to different orientations [8]. During redox reactions, highly reactive superoxide anion radicals (O2) hydroxyl radicals (OH) are formed in the valence and conduction zones on the n-TiO2 surface that provides the breakdown of organic and inorganic pollutants and microorganisms [9], Figure 1.
The self-cleaning function is generally thought to be due to the fact that n-TiO2 has high amphiphilic (hydrophilic or hydrophobic) characteristics [10], which change the wetting contact angle on the surface of photocatalytic concrete under the action of sunlight ranging from about 80 to 0° and back with a duration of a few days. This ensures first complete coverage of the surface of the smart concrete with water and then the collection of water into droplets, followed by their detachment from the surface. In this way, self-cleaning of the photocatalytic concrete is carried out (Figure 2).
The use of nanoscale additives in cement-based composite materials has the potential to solve other problems, such as low crack resistance and tensile strength, long curing time, high water absorption and low plasticity [11,12]. Nano-dispersed titanium dioxide (n-TiO2) was widely used as a photocatalyst thanks to its availability and the ability to be a photocatalyst not only under the action of solar radiation but also under fluorescent lamps [13]. It is preferable to use it in a polyform of anatase since this form has the greatest photocatalytic activity. However, at the same time, the main challenge of its production is that it is a temperature-unstable form [14].
The effectiveness of the photocatalytic process depends on many factors, which can be divided into external and internal ones [15,16]. Internal factors include the combination of catalyst and cement hydrates, photocatalyst morphology [17], the ratio of cement concrete components (water-binder ratio, coarse aggregate to binder ratio) and curing time [18], phase composition, electronic structure, particle size and degree of n-TiO2 aggregation [19], etc. External factors can be divided into two subgroups: environmental factors such as humidity, temperature, illumination, radiation spectrum, pollutant level, wear level, etc. [20,21,22,23,24], and the contact characteristics of the composite product, such as surface roughness, color, porosity, and microstructure of the substrate, as well as its hydrogen exponent pH [24,25,26,27,28,29].
To increase the efficiency of the photocatalytic process, many researchers [30,31] recommend using the technology of surface application of n-TiO2 particles. However, at the same time, it was found that when applying this placement technology, a photocatalyst has a short period of activity [32], especially if the composite is exposed to abrasion [33]. In another study, when simulating operational exposures through abrasion, it was found that a large value of residual photocatalytic activity was characteristic of composites prepared using a technology where n-TiO2 particle powder was introduced and dispersed in the volume of the cement material [15]. This makes this technology of n-TiO2 insertion more promising for the long-term operation of building products made of such composite materials. However, it is worth noting that higher absolute values of photocatalytic activity were recorded for composites with the surface way of introduction and distribution of n-TiO2 particles.
An important factor is also the carrier (Support Material) of the n-TiO2 particles. It was found that n-TiO2 particles deposited on a concrete carrier exhibit a greater photocatalytic effect over a longer period of time compared to glass and asphalt concrete support materials [34,35]. This indicates a strong influence of the substrate material on the photocatalytic performance and longevity of the composite. There is a study that demonstrates that using a substrate with a harder surface will improve the fixation of n-TiO2 particles [33]. In addition, enhancement of photocatalytic performance can be achieved by increasing the surface area of the support material and catalyst particles [25], as well as by the presence of chemical interaction between them [36,37]. The use of materials providing high porosity of concrete will contribute to more intensive adsorption of NO2 [38,39]. The formation of a basic medium type (pH) on the concrete surface facilitates the oxidation of NO2 to nitrates [40]. This process can be regulated by introducing various additives such as lime, alumina and CaCO3 [28,38].
Summarizing the studied information [1,2,3,4,5,6,7,8,9,10,11,12,13,14,15,16,17,18,19,20,21,22,23,24,25,26,27,28,29,30,31,32,33,34,35,36,37,38,39,40], we can conclude that several methods of introducing titanium dioxide (n-TiO2) into a building material are currently known. The authors of the study propose the following explanation and classification: surface “Nano-titania outside,” internal “Nano-titania inside.” The former is based on the application and distribution of a prepared suspension containing n-TiO2 particles on the surface of the cured composite material. The latter is based on the introduction and dispersion of n-TiO2 powder in the matrix material in the process of composite preparation. It can be carried out directly in a cement batter or at a stage of introduction of aggregates, whereas the spraying of particles n-TiO2 was preliminarily carried out on the surface of aggregates. The advantages of the surface method “Nano-titania inside” can include a higher value of photocatalytic performance, but at the same time, a short duration of operation due to loss of photocatalyst particles. The advantages of the second method can include a longer period, but a lower photocatalytic performance of the building products. Thus, a relevant scientific direction is considered the development of a new way of introducing n-TiO2 particles, devoid of the shortcomings of existing methods and simultaneously retaining their advantages. To solve the problem, the authors propose to develop a hybrid method, “Nano-titania gradient,” which consists of forming a gradient of n-TiO2 particles concentration in the composite since the physical properties of the composite are always inextricably linked to the geometry. A schematic representation of the formation of the concentration gradient of n-TiO2 particles “Nano-titania gradient” in the facade concrete slab is shown in Figure 3. The proposed method will be thoroughly explained in Section 2.
It is also worth mentioning the existing shortcomings in the application of titanium dioxide. The main one was that only the UV part of the spectrum could be used in catalysis, i.e., only 3–4% of the radiation, whereas scattered daylight does not cause a catalytic effect, or the effect is insignificant. In this regard, there was a need to modify titanium dioxide in such a way that the main part of the sunlight spectrum can be used to induce this effect, namely, the visible part of the spectrum from approximately 400 nm to 700 nm. For this purpose, the most promising method, from the point of industrial implementation, was surface sensitization, which would increase the overall photosensitivity and shift the spectral sensitivity zone to the region of visible light [41]. Recently, carbon materials, including fullerene C60 [42], carbon nanotubes [43], and activated carbon [44], were actively studied as titanium dioxide sensitizers. The authors of the study propose to consider graphene oxide as a potentially effective material for surface sensitization. In view of the fact that initially graphene was characterized by a zero forbidden zone and high electron mobility, being the result of delocalized conjugated p-electrons. This will also improve the resulting photocatalytic characteristics [45].
As a practical application of self-cleaning smart concretes, let us consider concrete tile as cladding for the installation of a hinged ventilated facade. Recently, titanium dioxide nanoparticles were used for the production of concrete blocks. This contributes to the relevance of the present study. However, less was reported about the role of this chemical in air purification [46], and there were no results of studies on the self-cleaning of concrete. Consequently, it is necessary to investigate the effect of the “Nano-titania gradient” method of forming photocatalytic concrete prepared using n-TiO2 with surface sensitizing on the composite material properties and on the air purification processes and self-purification processes.
In the practical application of self-cleaning smart concretes, special attention should be paid not only to the technology of production of concrete tiles according to the proposed composition but also to the technology of its device as a facing material for a hinged ventilated facade. If the concrete tile is installed incorrectly in the design position, the function of self-cleaning of concrete may be disrupted. It will ensure the quality and correctness of the device of the work performed by carrying out construction control, which consists of input, operational and acceptance control. The entrance control includes the following control operations: checking the documents of suppliers and marking for compliance with the working documentation; checking the quality of the concrete tile surface, dimensions and shape correctness. The sheets should not have delaminations, splinters, cracks or other defects that violate the integrity of the product. Operational control consists of checking the conformity of fixing concrete tiles to the guides (the number of rigid and movable fasteners); checking the number of kleymers and fastening to their guides with rivets. When installing concrete tiles from smart concrete, it is necessary to carry out timely verification of gaps between the cladding elements and the thickness of the seams; verticality and horizontality of the plane, the presence of ledges between the cladding elements, ensuring the wetting angle; straightness of the seams.

2. Materials and Methods

In order to produce a cement-based smart material, Portland cement CEM 42.5H manufactured by “Eurocement Group” was used as a binder, whereas quartz river sand of the deposits “Vakino2”, Kolomna, Moscow region, was used as a fine aggregate, with bulk density of 1540 kg/m3, true density of 2650 kg/m3, and fineness modulus of 2.43.
Commercially available titanium dioxide in an anatase modification, brand “A 200,” manufactured by Shanghai Yujiang Titanium Chemical Manufacturer Co., Ltd., Shanghai, China, was used as a catalyst. The initial average equivalent diameter of TiO2 particles determined by the laser diffraction on Microtrac S3500 device was 492 nm, with a specific surface area of 3800 m2/kg and bulk density 760 kg/m3. Qualitative and quantitative analyses of the photocatalytic additive were implemented on the X-ray diffractometer ARL X’TRA by ARL company, Switzerland, by means of X-ray powder diffraction method. The results of the analyses are presented in Table 1.
It was found that the photocatalyst contained silicon and aluminum oxides, which were surface coating substances. This enables TiO2 manufacturers to reduce its photoactivity. The oxides of these elements were washed off the surface of titanium dioxide grains during mechanical treatment in aqueous medium. The executed analysis of the results obtained by X-ray diffractometric method of the investigated photocatalyst showed the presence of TiO2 crystals with tetragonal syngony in the form of anatase modification—98.3% and rutile—1.7%.
Surface sensitization of titanium dioxide was carried out by means of graphene oxide produced by LLC “NanoTechCenter”, Tambov, Russia. Graphene oxide was obtained using an original modification of the Hummers–Offeman method. The need to use sodium nitrate was eliminated. In the final product, the impurity of underexposed graphite was removed, which is usually present when producing graphene oxide using the classical Hummers–Offeman method. Graphene oxide is characterized by the data presented in Figure 4 and Figure 5.
The Raman spectroscopy spectrum obtained by Raman spectroscopy corresponds to graphene oxide. The excitation laser wavelength was 532 nm. Microphotographs were obtained by scanning electron microscopy, Figure 5. The main morpho structural characteristics of graphene oxide were studied with their help.
When analyzing the SEM Tescan MIRA3 LMU microscope by Tescam Orsay Holding, Brno, Czech Republic image of graphene oxide (Figure 5), we can conclude that its structure consists of scales of large lateral size, organized in the folds. According to the energy dispersive analysis, the air-dry product had the following elemental composition, taking the sum of C + O + S = 100% exclusive of other elements: carbon—54.6%, oxygen—43.5%; sulfur—1.9%. In the dry form, graphene oxide forms flexible, sufficiently strong films, consisting of tightly packed graphene-oxide layers oriented parallel to the substrate.
Surface sensitization of titanium dioxide included 2 stages: (1) joint grinding of TiO2 and graphene oxide (in dry form) to a finely dispersed state, Figure 6a; (2) subsequent heat treatment of TiO2 with graphene oxide in the presence of oxygen at 190 °C, Figure 6b. This temperature was chosen according to the information from the manufacturer for this product: the decomposition temperature of graphene oxide was over 200 °C. Earlier, in [47] it was found that a higher photoactivity was observed at the content of carbon materials from 0.4 to 0.8% with reference to TiO2. Therefore, the graphene oxide content was chosen as 0.6% with reference to TiO2. In the case of surface sensitization, only the surface layer will contain the graphene oxide particles.
During the thermal treatment, the color changes from white to brown and finally to beige, which indicates the completion of the surface sensitization process, Figure 6c.
A recoverable waste cellulose was used as a pore-forming agent for additional formation of a strong and stable frame for placing and supporting titanium dioxide particles, as well as for more intensive adsorption of harmful emissions. To obtain it, waste paper was used, intended for recycling purposes, Figure 7. The size of the cellulose in the dry residue was studied by means of the Nikon Eclipse MA200 optical microscopy complex by Nikon Group, Melville, NY, USA.
Five different samples of dried recoverable waste paper were studied, the sampling was conducted at 5 different points, whereas at least 5 objects were sized on each micrograph. Thus, more than 130-dimensional points were analyzed, and it was found that the diameter of secondary cellulose fibers ranged from 11 microns to 33 microns, and the length of secondary cellulose fibers ranged from 500 microns to 2000 microns.
An application field of cement-based smart material: facade concrete slabs were used to clad walls of buildings and structures in urban agglomerations. The overall dimensions of the considered facade slabs were: 330 × 270 × 30 mm. For manufacturing, heavy weight fine-grained concrete was used, with a strength class B30 and density of 2.135 kg/m3, water-cement ratio of 0.57, workability grade Zh2. The composition of the heavy weight fine-grained concrete is presented in Table 2.
Obviously, when the photocatalyst was placed volumetrically, the concentration of its particles on the surface could be determined by the formula:
N s = ( 6 ν c V 0 π d c 3 ) 2 / 3 ,
where ν c —the volume fraction of photocatalyst particles; d c —the diameter of photocatalyst particle; V 0 —volume of material. The surface density of the catalyst particles in the layer of thickness dc will be equal:
ρ s = 1 4 36 π d c S 0 3 ,
where S 0 —surface area.
To determine the concentration of photocatalyst particles in advance, the results of percolation theory can be used. According to this theory, the concentration of particles forming an infinite cluster must exceed a certain percolation threshold, which depends on the mesh type. The mentioned approach in solving the materials science problem is of fundamental importance, since the catalyst particles are located in the matrix material that ensures their fixation in the material and, consequently, its prolonged functioning. In general, we can assume that the percolation threshold is equal φ c . Then the volume fraction of photocatalyst particles is equal:
ν c = π 6 ( 4 φ c a p π ( 1 + h d c ) 2 ) 3 / 2 ,
where a p —coefficients factoring in the mesh type; h —the thickness of the layer between photocatalyst particles.
The results of calculating the photocatalyst volume fraction depending on the mesh type are presented in Table 3. The results of calculating the concentration of photocatalyst particles on the surface are presented in Table 4.
Based on the data (Table 3) on the volume fractions of the photocatalyst in the matrix material, let us calculate the concentrations as a percentage of the cement mass, Table 5.
Analysis of the calculation results (Table 5) has shown that the formation of a hexagonal mesh requires a higher content of TiO2 particles; thus, for further studies, the cubic type of mesh was chosen, as the use of concentrations of photocatalyst particles over 2% is not cost-effective.

2.1. Preparation of Concrete Mixture for the Facade Slab

At the first stage, a suspension “dispersed aqueous solution of recoverable waste cellulose—TiO2/SS TiO2” was prepared. TiO2 powder was introduced into the water, then mixing was conducted by the Homogenizer type MPW-324. Due to the porosity of its surface, cellulose would contribute to the deposition of TiO2 particles on the fibers, thus preventing the sedimentation of photocatalyst particles in the suspension. Therefore, in this dispersed system, it will perform the function of a solid carrier (Support Material).
Then, a fine-grained concrete mixture was prepared, whereas the components were taken in the ratio shown in Table 2. First, dry mineral components (sand and cement) were mixed. Then, the resulting dispersed system “dispersed aqueous solution of recoverable waste cellulose—TiO2/SS TiO2” was introduced into the mixing water, with due account of the amount of water contained in the disperse system. Then, recalculation was made. After that, all the components of the fine-grained concrete mixture were combined and mixed until they reached homogeneity. Several concrete mixtures with different ratios of “recoverable waste cellulose—TiO2/SS TiO2” were prepared.
Molding of the facade concrete slab was carried out sequentially in 2 stages: at the first stage, the lower part of the facade slab (2/3 h) with the lowest content of particles n-TiO2/SS TiO2 (volumetric degree of filling ν c = 0.0016, …, 0.0020). Then, after compaction of the lower part, the mold was filled with concrete mixture, the upper part of the slab was molded (1/3 h.) with the highest content of particles n-TiO2/SS TiO2 (volumetric fill level ν c = 0.0053, …, 0.0060)—the second stage. Slabs hardening was carried out under standard hardening conditions: 1 day in the forms at 22 ± 0.5 °C and 90–95% humidity, then 27 days without molds under similar hygrothermal conditions.

2.2. Determining Physical and Mechanical Properties of Concrete Specimens

Determination of strength characteristics: ultimate compressive strength in the dry and water-saturated state for cube specimens and ultimate compressive and tensile strength for prism specimens of square section, was carried out according to the Russian state standard GOST 10180-2012 “Concretes. Methods of strength determination using reference specimens”. The specimens that were employed for compressive and flexural strength tests were the cubes specimens with a dimension of 50 × 50 × 50 mm3 and the prismatic specimens with dimensions of 40 × 40 × 160 mm3, respectively. The cubes were immersed in the water tank at 25 ± 1 °C until the time of testing and withstood for 1 h. It is worth noting that cubes and prisms were de-molded after 24 h curing in the molds, then the specimens were cured in a water tank for 28 days. The results were obtained from the mean of 3 specimens for each test to decrease the possible errors. Density was determined according to the Russian state standard GOST 12730.1-78 “Concrete. Methods of determination of density”. Determination of water absorption was carried out according to the requirements of the Russian state standard GOST 12730.3-78 “Concretes. Method of determination of water absorption”.

2.3. Determination of Structure-Sensitive Characteristics of Concrete Specimens

The morphology of the microstructure of the cement mortar and the recoverable waste cellulose contained in the cement mortar sample were studied at the age of 28 days using a FEI Quanta 250 scanning electron microscope by FEI, USA. Using an X-ray diffractometer ARL X’TRA by ARL company, Switzerland equipped with a scanning electron microscope, a microanalysis of the microstructure elements of the cement mortar and recoverable waste cellulose was studied.

2.4. Determining the Performance Characteristics of Concrete Specimens

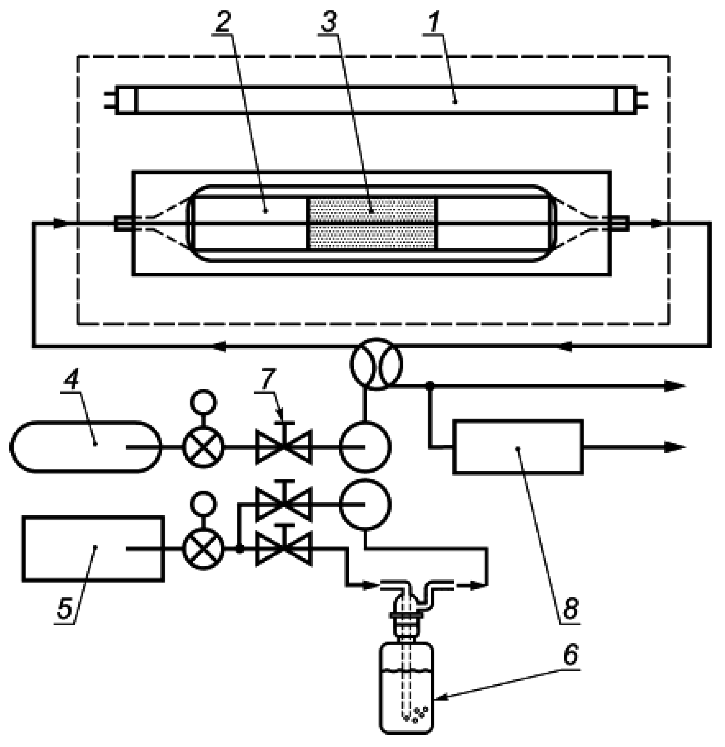
Determining frost resistance, that is, the resistance of concrete specimens to alternate freezing and thawing was conducted according to Russian state standard GOST 10060-2012. The specimens were saturated with water by immersion in water for 1/3 of their height for 24 h, then the water level was raised to 2/3 of the height of the specimens and kept in this state for another 24 h. After that, the specimens were fully plunged into the water for 48 h. The water-saturated specimens were removed and placed in a freezer. The specimens were frozen and thawed for at least 5 h (one cycle). The specimens were held for 15, 25 and 50 cycles. Determining photocatalytic activity in the decomposition (mineralization) reactions of nitrogen oxides and volatile organic compounds (VOC) was carried out according to Russian state standard GOST R 57255-2016. The method was based on the activation of the tested specimen placed in a flow-through photocatalytic reactor by irradiation with ultraviolet light, Figure 8.
When determining the efficiency of photocatalytic concretes in the decomposition (mineralization) reactions of nitrogen oxides, the amount of pollutant adsorbed in “dark” conditions was estimated. Then the amount of pollutant removed in the process of photo exposure and the desorbed amount of pollutant after light treatment was determined. For this purpose, concrete specimens were placed in a photocatalytic reactor and covered with optical glass. Then, a test gas flow was provided through the photocatalytic reactor without photo-irradiation at a rate of (3.00 ± 0.15) L/min. Then, the gas flow was maintained, and the concrete samples were irradiated for 5 h, whereas the changes in the ratio of NO and NO2 nitrogen oxides in the gas mixture were recorded. After that, irradiation was stopped, “zero” calibration gas was switched on at the same flow rate, the volumetric NOx content was recorded for 30 min, then the flow of “zero” calibration gas into the reactor was stopped and the concrete specimens were removed from the test setup. After that, the samples were placed in distilled water for 1 h, then removed followed by measuring the change in water volume and recording any light variations, then the specimens were again placed in water for 1 h. When the time expired, the specimens were removed, and the water volume and nitrate and nitrite content were determined again.
The self-cleaning ability of concrete specimens was evaluated by changing the contact angle of wetting on the surface of photocatalytic concrete when exposed to ultraviolet radiation. The test procedure was carried out according to the Russian state standard GOST R 57255-2016. The study used ultraviolet radiation with a wavelength of less than 400 nm, which manifests itself at low intensity in the urban environment. This range was chosen on the basis of previous studies proving the lack of activity of TiO2 particles outside this range [48,49]. Using drops of distilled water, the initial limited wetting angle was measured at 5 points of each sample before irradiation and the average value was calculated. The measurement of the initial limited wetting angle was performed 3–5 s after applying drops of distilled water to the surface of the photocatalytic concrete samples. After turning on the UV irradiator, changes in the contact angle of wetting over time were measured.

3. Results and Discussion

3.1. Physical and Mechanical Characteristics of Concrete Samples

At the first stage of the study, it was necessary to verify the calculated data on the content of titanium dioxide (Table 5), as well as to optimize the content of recoverable waste cellulose. Therefore, the determination of the optimum content of the amount of titanium dioxide and recoverable waste cellulose fibers was carried out. Optimization was conducted on 100 × 100 × 100 mm cube specimens and 100 × 100 × 400 mm square cross-section prism samples made of fine-grained concrete according to the following quality indicators: the ultimate compressive strength in the dry and water-saturated state for cube specimens and the ultimate compressive and tensile strength for square cross-section prism samples.
The method of mathematical planning of the experiment was used for optimization purposes. To establish the limits of variation of the content TiO2/SS TiO2 additives and recoverable waste cellulose, a two-factor composite rotatable experiment was compiled. The factors chosen were X1—the content of photocatalytic additive relative to the mass of Portland cement; X2—the content of cellulose (in dry matter) relative to the mass of Portland cement. The main levels of factors X1 and X2 were 1.0 and 0.75, and the step of variation was 0.5 and 0.25, respectively. An experiment planning matrix was made in natural values, Table 6.
Based on the obtained results on the physical and mechanical characteristics, a mathematical model and surface response functions for the compressive strength in the dry and water-saturated state for cubic specimens with TiO2 (Figure 9), for cubic specimens with SS TiO2 (Figure 10), and on compression and tension in bending for prisms-samples with TiO2 (Figure 11), for prisms-samples with SS TiO2 (Figure 12) were made. On this basis, the limits of variation of the optimal content of additives “recoverable waste cellulose—TiO2/SS TiO2” in the composition to obtain effective photocatalytic composites were determined.
When the concentration of cellulose fibers increases, the ultimate strength is decreased according to the linear law, which corresponds to the already known data on similar composites [50]. From the analysis of the experimental–statistical model of the ultimate compressive strength (Figure 9 and Figure 10), it can be concluded that the optimum content of TiO2 was in the range from 0.8 to 1.1%, and for cellulose from 0.4 to 0.8%, the optimum content of SS TiO2 was in the range from 0.7 to 1.1%, for cellulose—has not changed. From the analysis of the experimental and statistical model of the ultimate bending strength (Figure 11 and Figure 12), the optimal TiO2 and SS TiO2 content were between 0.6 and 1.0%, and between 0.4 and 0.8% for cellulose.
Titanium dioxide and SS TiO2 of anatase modification have weak reactivity and the composition of the composite lead to an increase in strength in the zone of optimum due to the compaction of the structure and filling of the pores. Changes in the average density and water absorption values indirectly characterize the porosity parameters of the composites obtained, which, in turn, affects the surface area for photocatalytic reactions. Therefore, in order to establish the dependence of porosity on the composition of the obtained composites, the density and water absorption parameters were recorded, Table 7.
When the content of cellulose exceeds 0.8%, it aggregates in the free state, which leads to a drop in density and strength (Figure 9, Figure 10, Figure 11 and Figure 12) of the obtained composites. Swelling cellulose fibers absorb a significant volume of water, thereby increasing the viscosity of the cement mortar. Then, in the process of hardening the binder, water is separated from the swollen cellulose due to diffusion processes and contributes to the formation of concentrated pores in the composite. Titanium dioxide, in its turn, is a water-insoluble component that reduces the water absorption index by filling the capillary pores, which correlates objectively with the data of the mathematical planning of the experiment. As the results showed (Table 7), surface sensitization of TiO2 has no significant effect on the indicators of density and water absorption; the changes were less than 1% and 2–3%, respectively.
Thus, there were verified calculated data on the content of titanium dioxide (Table 5), and the content of recoverable waste cellulose was optimized in the formation of the gradient structure of the facade board. The formation of slab layers will be carried out by taking into account the extremes of the optimal range of titanium dioxide content: the bottom layer of the slab will contain 0.6%, and the top layer, 1% of titanium dioxide/surface-sensitized titanium dioxide. The recoverable waste cellulose content on a dry-matter basis will be 0.75% for the two layers of the gradient board.

3.2. Structure-Sensitive Characteristics of Concrete Specimens

The formation of the cement stone structure, the value of total porosity, as well as capillary-porous structure parameters depend not only on the value of the water-binder ratio and the degree of hydration [51] but also on the type of a microfiller, which is the added cellulose. To study the morphology of the modified cement mortar, the microstructure of the binder at 28 days was studied using a FEI Quanta 250 scanning electron microscope, Figure 13. Since the morphology of the specimens prepared with TiO2 and SS TiO2 did not differ in terms of visible features, thus we will consider the morphology on the example of TiO2.
The microstructure of the cement mortar (Figure 13) is characterized by the presence of developed new formations of calcium hydro silicates in the micropores, which contribute to the density. This is confirmed by the data of energy dispersive elemental analysis of the microstructure, Figure 14.
In this case, while studying all the surface areas, titanium dioxide was present in crystalline form on the chips. However, its presence was significantly inferior to the products of Portland cement hydration. The formation of large crater-like pores on the chipped cement stone was explained by interfibrillar and intercrystalline swelling of cellulose in water, which leads to the formation of a more developed surface of cellulose fibers.
According to the theoretical and experimental data of the authors [52], it was found that cellulose macromolecules have a strong tendency to aggregate into highly ordered structural elements due to their chemical structure, spiral conformation and stereoregularity. The high specific surface area of cellulose fibers is a significant factor in filling capillaries, pores and sorption of molecules from aqueous media that leads to its swelling. The change in the size and shape of cellulose fibers is caused by interfibrillar and intrafibrillar swelling of cellulose and includes three main moments: filling the capillary space between the fibrils with liquid, filling the pores on the surface of the fibers and the interaction of liquid with cellulose macromolecules.
When studying the morphology of recoverable waste cellulose contained in a specimen of cement slurry (Figure 15), the presence of mineral substances formed was discovered during the process of Portland cement hydration.
It is known [53] that calcium hydroxide interacts with the surface layer of cellulose and attaches to the hydroxyl groups of cellulose to form additive or molecular compounds under the following scheme:
RcellOH + Ca(OH)2 → RcellOH·Ca(OH)2
2RcellOH + Ca(OH)2 → (RcellOH)2·Ca(OH)2
Such compounds are formed as a result of interaction in stoichiometric ratios of two components due to intermolecular bonds, in particular hydrogen bonds. Thus, cellulose forms (C6H10O5)2·Ca(OH)2 and (C6H10O5)·Ca(OH)2 with calcium hydroxide. Similar compounds are known for other polyatomic spirits: glycerol, mannitol and simple sugars.
Due to the ability of cellulose fibers to swell in liquids, the surface of cellulose fibrils becomes more accessible to microparticles, which are evenly distributed within the fibers. The implemented microanalysis of components (Figure 16) shows that in addition to the formed calcium hydroxide, titanium dioxide is also present.
Thus, when studying the structure of composites, it was found that the recoverable waste cellulose in the form of dispersed solution was able to provide a stable framework for placing and supporting titanium dioxide particles. Consequently, their more intense adsorption on the surface of swollen cellulose fibers remained thereafter the hydration processes.

3.3. Performance Characteristics of Concrete Specimens

Due to the fact that corrosive factors during operation affect the upper layer of the plate, thus the study of the effect of the content of the system “recoverable waste cellulose—TiO2/SS TiO2” on the resistance of concrete facade plates to alternate freezing—thawing, was exemplified by the compositions number 9 and 9* as opposed to the reference composition “K” (Table 7). The results are shown in Figure 17.
Having analyzed the obtained results of determining the frost resistance of the studied specimen compositions, it was found that both variants of the introduced additives have a significant increase in this parameter. The increase by up to 33% of photocatalytic concrete resistance to repeated cyclic effects of alternating temperatures was explained by the complex influence of cellulose fibers and titanium dioxide. In the freshly prepared concrete mixture, the cellulose fibers were in a water-saturated state, which led to a significant increase in their volume. Subsequently, the hydration of cement caused the migration of water from the fibers with a subsequent decrease in volume. Due to this process, closed air pores (reserve cells) were formed and penetrated by capillaries after hydration. The pores formed in the space around the cellulose fibers were reserve cells, which contained excess water from freezing and help to compensate for the stress on their walls. At the same time, due to the water-solubility of titanium dioxide, there was additional compaction in the capillary pores of the concrete, which prevents the free movement of water and further restrains the saturation of air pores, increasing the frost resistance in the complex.
When studying the photocatalytic activity and self-cleaning ability of the surface, facade plates with a hybrid structure were used (Figure 18). The plates were manufactured according to the optimized ratio of components; thus that the bottom layer of the plate contained 0.6% and the top layer contained 1% titanium dioxide/surface-sensitized titanium dioxide. The recoverable waste cellulose content on a dry matter basis was 0.75% for the two layers of the gradient plate. The results of determining the photocatalytic activity are presented in Table 8.
The analysis of the obtained results (Table 8) shows the effectiveness of the method of surface sensitization of titanium dioxide by means of graphene oxide, significantly increasing the photocatalytic activity. Thus, the decomposition of nitrogen oxide by volume with the modified surface increased by 27% in comparison with the classical titanium dioxide, and the decomposition of volatile organic substances by 32%. The increase in photocatalytic activity was due to the fact that graphene performs the rapid transfer of a photoinduced electron between itself and TiO2, which effectively suppresses the recombination of photogenerated electron-hole pairs in TiO2. In addition, the presence of residual oxygen-containing groups in the reduced graphene oxide leads to additional fixation of TiO2 due to Van der Waals interaction, which suggests an increased prolongation of the increased photocatalytic effect. All of this indicates a high potential for surface-sensitized TiO2 application.
When studying the self-cleaning ability of photocatalytic concrete, the wetting contact angle was determined, and the results are presented in Table 9. The wetting contact angle was measured at five points on each sample of the facade plate by means of distilled water application. The measurement was conducted before irradiation and then at equal time intervals of two hours.
The effectiveness of the self-cleaning ability of photocatalytic concrete was evaluated by the time of reaching the equilibrium wetting contact angle after the start of irradiation. According to the requirements of the Russian state standard GOST R 57255-2016 to photocatalytic concrete in terms of self-cleaning ability, it should last no more than 80 h. After each measurement of the wetting contact angle, the coefficient of variation was calculated, and when the value was less than 10%, the measurements were terminated.
It is assumed that the surface has hydrophilic properties when a wetting contact angle does not exceed 20. During the test (Table 9), it was found that for the façade plate manufactured with the use of surface-sensitized TiO2, the self-cleaning process was completed in 3 h after the start of irradiation, as evidenced by the low value of the wetting contact angle of 16°35′16″ and the coefficient of variation equal to 4%. At the same time, in the sample of façade plate manufacture with TiO2, the coefficient of variation was 5% only after four hours of testing. In this case, the value of the wetting contact angle exceeded 20°.
Thus, in this work, the possibility of applying the method of surface sensitization with graphene oxide to increase the photocatalytic performance and self-cleaning ability was proven. However, the authors will extend this study, which will be aimed at optimizing the content of graphene oxide and conditions of surface sensitization. In further research, the authors plan to substantiate the requirements for the technology of the device of concrete tiles based on the proposed composition in the design position as a facing material of a hinged ventilated facade and propose methods of construction control to ensure the quality and operability of the enclosing element of the building.

4. Conclusions

A classification of titanium dioxide introduction methods is proposed: surface “Nano-titania outside,” internal “Nano-titania inside,” and a new method—hybrid “Nano-titania gradient” is developed.
A method of surface sensitization of titanium dioxide (SS TiO2) was proposed by means of graphene oxide. The method included two stages: (1) joint grinding of TiO2 and graphene oxide (in dry form) to a finely dispersed state; (2) subsequent thermal treatment of TiO2 with graphene oxide in the presence of oxygen at 190 °C.
Using the theory of percolation, the concentration range of the photocatalyst content was calculated. It was shown that the economically optimal mesh type was cubic, whereas the TiO2 content should be in the range from 0.11 to 1.74% of the cement mass. Verification of calculated data on TiO2 content and optimization of recoverable waste cellulose content was carried out according to the strength of fine-grained concrete samples in the dry and water-saturated state, as well as on the tensile strength at bending. The analysis of the experimental-statistical models of the compressive strength shows that the optimum content of TiO2 was in the range from 0.8 to 1.1%, and cellulose from 0.4 to 0.8%, the optimum content of SS TiO2 was in the range from 0.7 to 1.1%, and cellulose from 0.4 to 0.8%. Analysis of the experimental and statistical model of the bending strength shows that the optimal content of TiO2 and SS TiO2 was in the range from 0.6 to 1.0%, and cellulose from 0.4 to 0.8%. Surface sensitization of TiO2 had no significant effect on the indicators of density and water absorption; the changes were less than 1 and 2–3%, respectively.
Formation of the gradient structure of the facade plate was carried out, taking into account the extreme points of the optimal range of titanium dioxide content: the bottom layer of the plate contains 0.6%, and the top layer, 1% of titanium dioxide/surface-sensitized titanium dioxide. Recoverable waste cellulose’s content on a dry matter basis is 0.75% for the two layers of the gradient plate.
When studying the structure of composites, it was found that titanium dioxide was sorbed on the surface of swollen cellulose fibers and remained there after the process of cement hydration. Due to the increase in porosity of the cement stone, the potential useful surface area for photocatalytic reactions increased. Thus, when studying the structure of composites, it was found that the recoverable waste cellulose in the form of the dispersed solution was able to provide a stable framework for placing and supporting titanium dioxide particles.
The increase by up to 33% of photocatalytic concrete resistance to repeated cyclic effects of alternating temperatures was explained by the complex influence of cellulose fibers and titanium dioxide. In the freshly prepared concrete mixture, the cellulose fibers were in a water-saturated state, which led to a significant increase in their volume. Subsequently, the hydration of cement caused the migration of water from the fibers with a subsequent decrease in volume. Due to this process, closed air pores (reserve cells) were formed and penetrated by capillaries after hydration. The pores formed in the space around the cellulose fibers were reserve cells that contained excess water from freezing and helped to compensate for the stress on their walls. At the same time, due to the water-solubility of titanium dioxide, there was additional compaction in the capillary pores of the concrete, which prevented the free movement of water and further restrained the saturation of air pores, increasing the frost resistance in the complex.
The effectiveness of the method of surface sensitization of titanium dioxide by combining it with graphene oxide was first shown for cement-based materials. Thus, the decomposition of nitrogen oxide by volume with the modified surface increased by 27% in comparison with the classic titanium dioxide, and the decomposition of volatile organic substances by 32%. The increase in photocatalytic activity was due to the fact that graphene performs the rapid transfer of a photoinduced electron between itself and TiO2, which effectively suppresses the recombination of photogenerated electron-hole pairs in TiO2. In addition, the presence of residual oxygen-containing groups in the reduced graphene oxide leads to additional fixation of TiO2 due to Van der Waals interaction, which suggests an increased prolongation of the increased photocatalytic effect.
It was found that for the facade plate made with surface-sensitized TiO2, the process of self-cleaning was completed after 3 h after the irradiation start, as evidenced by the low value of the contact wetting angle 16°35′16″ and the variant coefficient equal to 4%. Whereas in the sample of facade board prepared with TiO2, the coefficient of variation was 5% only after four hours of testing. In this case, the value of the contact wetting angle was more than 20°.

Author Contributions

Conceptualization, A.L. and E.K.; methodology, A.L., E.K., D.T. and S.S.; validation, formal analysis, investigation, data curation, T.K., N.S. and S.S.; writing—original draft preparation, S.S.; writing—review and editing, supervision, A.L., E.K. and D.T. All authors have read and agreed to the published version of the manuscript.

Funding

This work was financially supported by the Ministry of Science and Higher Education (grant # 075-15-2021-686). Tests were carried out using research equipment of The Head Regional Shared Research Facilities of the Moscow State University of Civil Engineering.

Institutional Review Board Statement

Not applicable.

Informed Consent Statement

Not applicable.

Data Availability Statement

Data are contained within the article.

Acknowledgments

The authors of the scientific work express special thanks to the Department of Construction Materials Science of the Moscow State University of Civil Engineering that provided the recycled paper.

Conflicts of Interest

The authors declare no conflict of interest.

References

  1. Nguyen, N.H.; Bai, H. Photocatalytic removal of NO and NO2 using titania nanotubes synthesized by hydrothermal method. J. Environ. Sci. 2014, 26, 1180–1187. [Google Scholar] [CrossRef]
  2. Goel, R.; Guttikunda, S.K. Evolution of on-road vehicle exhaust emissions in Delhi. Atmos. Environ. 2015, 105, 78–90. [Google Scholar] [CrossRef]
  3. Fujishima, A.; Rao, T.N.; Tryk, D.A. Titanium dioxide photocatalysis. J. Photochem. Photobiol. C Photochem. Rev. 2000, 1, 1–21. [Google Scholar] [CrossRef]
  4. Kim, Y.K.; Hong, S.J.; Kim, H.B.; Lee, S.W. Evaluation of in-situ NOx removal efficiency of photocatalytic concrete in expressways. KSCE J. Civ. Eng. 2017, 22, 2274–2280. [Google Scholar] [CrossRef]
  5. Xia, H.; Liu, G.; Zhang, R.; Song, L.; Chen, H. The photocatalytic degradation of vehicle exhausts by an Fe/N/Co-TiO2 waterborne coating under visible light. Materials 2019, 12, 3378. [Google Scholar] [CrossRef] [Green Version]
  6. Lok, P.S.; Rahul, K.D.; Dilshad, A.; Inderjeet, T.; Usha, S.; Srinivasrao, N.B. Remediation of noxious pollutants using nano-titania-based photocatalytic construction materials: A review. Environ. Sci. Pollut. Res. 2021, 28, 34087–34107. [Google Scholar]
  7. Mahmood, A.; Shi, G.; Xie, X.; Sun, J. Adsorption mechanism of typical oxygen, sulfur, and chlorine containing VOCs on TiO2 (0 0 1) surface: First principle calculations. Appl. Surf. Sci. 2019, 471, 222–230. [Google Scholar] [CrossRef]
  8. Sidaraviciute, R.; Buivydiene, D.; Krugly, E.; Valatka, E.; Martuzevicius, D. A composite microfibre-supported short-nanofibre photocatalyst for environmental pollutant decomposition. J. Photochem. Photobiol. A Chem. 2019, 368, 7–14. [Google Scholar] [CrossRef]
  9. Benhebal, H.; Chaib, M.; Salmon, T.; Lambert, D.; Crine, M.; Heinrichs, B. Photocatalytic degradation of phenol and benzoic acid using zinc oxide powders prepared by the sol–gel process. Alex. Eng. J. 2013, 52, 517–523. [Google Scholar] [CrossRef] [Green Version]
  10. Humayun, M.; Raziq, F.; Khan, A.; Luo, W. Modification strategies of TiO2 for potential applications in photocatalysis: A critcal review. Green Chem. Lett. Rev. 2018, 11, 86–102. [Google Scholar] [CrossRef] [Green Version]
  11. Salemi, N.; Behfarnia, K. Effect of nano-particles on durability of fiber-reinforced concrete pavement. Constr. Build. Mater. 2013, 48, 934–941. [Google Scholar] [CrossRef]
  12. Biolzi, L.; Di, G.; Labuz, J.F. Mechanical properties of photocatalytic white concrete subjected to high temperatures. Cem. Concr. Compos. 2013, 39, 73–81. [Google Scholar] [CrossRef]
  13. Batzill, M. Fundamental aspects of surface engineering of transition metal oxide photocatalysts. Energy Environ. Sci. 2011, 4, 3275–3286. [Google Scholar] [CrossRef]
  14. Wang, S.; Pan, L.; Song, J.J.; Mi, W.; Zou, J.J.; Wang, L.; Zhang, X. Titanium-defected undoped anatase TiO2 with p-type conductivity, room-temperature ferromagnetism, and remarkable photocatalytic performance. J. Am. Chem. Soc. 2015, 137, 2975–2983. [Google Scholar] [CrossRef] [PubMed]
  15. Si, H.; Zhou, M.; Fang, Y.; He, J.; Yang, L.; Wang, F. Photocatalytic concrete for NOx degradation: Influence factors and durability. Constr. Build. Mater. 2021, 298, 123835. [Google Scholar] [CrossRef]
  16. Hüsken, G.; Hunger, M.; Brouwers, H.J.H. Experimental study of photocatalytic concrete products for air purification. Build. Environ. 2009, 44, 2463–2474. [Google Scholar] [CrossRef]
  17. Chen, J.; Poon, C.S. Photocatalytic activity of titanium dioxide modified concrete materials—Influence of utilizing recycled glass cullets as aggregates. J. Environ. Manag. 2009, 90, 3436–3442. [Google Scholar] [CrossRef]
  18. Xu, Y.; Jin, R.; Hu, L.; Li, B.; Chen, W.; Shen, J.; Wu, P.; Fang, J. Studying the mix design and investigating the photocatalytic performance of pervious concrete containing TiO2-Soaked recycled aggregates. J. Clean. Prod. 2020, 248, 119281. [Google Scholar] [CrossRef]
  19. Friedmann, D.; Mendive, C.; Bahnemann, D. TiO2 for water treatment: Parameters affecting the kinetics and mechanisms of photocatalysis. Appl. Catal. B Environ. 2010, 99, 398–406. [Google Scholar] [CrossRef]
  20. Ballari, M.M.; Brouwers, H.J.H. Full Scale Demonstration of Air-Purifying Pavement. J. Hazard. Mater. 2013, 254–255, 406–414. [Google Scholar] [CrossRef] [Green Version]
  21. Gallus, M.; Akylas, V.; Barmpas, F.; Beeldens, A.; Boonen, E.; Boréave, A.; Cazaunau, M.; Chen, H.; Daële, V.; Doussin, J.F.; et al. Photocatalytic De-Pollution in the Leopold II Tunnel in Brussels: NOx Abatement Results. Build. Environ. 2015, 84, 125–133. [Google Scholar] [CrossRef]
  22. Folli, A.; Bloh, J.Z.; Strøm, M.; Pilegaard Madsen, T.; Henriksen, T.; Macphee, D.E. Efficiency of Solar-Light-Driven TiO2 Photocatalysis at Different Latitudes and Seasons. Where and When Does TiO2 Really Work? J. Phys. Chem. Lett. 2014, 5, 830–832. [Google Scholar] [CrossRef]
  23. De Melo, J.V.S.; Trichês, G.; Gleize, P.J.P.; Villena, J. Development and Evaluation of the Efficiency of Photocatalytic Pavement Blocks in the Laboratory and after One Year in the Field. Constr. Build. Mater. 2012, 37, 310–319. [Google Scholar] [CrossRef]
  24. Savill Russell, H.; Bøge Frederickson, L.; Hertel, O.; Ellermann, T.; Solvang Jensen, S. A Review of Photocatalytic Materials for Urban NOx Remediation. Catalysts 2021, 11, 675. [Google Scholar] [CrossRef]
  25. Kaja, A.M.; Brouwers, H.J.H.; Yu, Q.L. NOx Degradation by Photocatalytic Mortars: The Underlying Role of the CH and C-S-H Carbonation. Cem. Concr. Res. 2019, 125, 105805. [Google Scholar] [CrossRef]
  26. Poon, C.S.; Cheung, E. NO Removal Efficiency of Photocatalytic Paving Blocks Prepared with Recycled Materials. Constr. Build. Mater. 2007, 21, 1746–1753. [Google Scholar] [CrossRef]
  27. Jimenez-Relinque, E.; Rodriguez-Garcia, J.R.; Castillo, A.; Castellote, M. Characteristics and Efficiency of Photocatalytic Cementitious Materials: Type of Binder, Roughness and Microstructure. Cem. Concr. Res. 2015, 71, 124–131. [Google Scholar] [CrossRef]
  28. Pérez-Nicolás, M.; Balbuena, J.; Cruz-Yusta, M.; Sánchez, L.; Navarro-Blasco, I.; Fernández, J.M.; Alvarez, J.I. Photocatalytic NOx Abatement by Calcium Aluminate Cements Modified with TiO2: Improved NO2 Conversion. Cem. Concr. Res. 2015, 70, 67–76. [Google Scholar] [CrossRef] [Green Version]
  29. Gauvin, F.; Caprai, V.; Yu, Q.L.; Brouwers, H.J.H. Effect of the Morphology and Pore Structure of Porous Building Materials on Photocatalytic Oxidation of Air Pollutants. Appl. Catal. B Environ. 2018, 227, 123–131. [Google Scholar] [CrossRef]
  30. Guo, M.Z.; Ling, T.C.; Poon, C.S. Photocatalytic NOx degradation of concrete surface layers intermixed and spray-coated with nano-TiO2: Influence of experimental factors. Cem. Concr. Compos. 2017, 83, 279–289. [Google Scholar] [CrossRef]
  31. Luo, G.; Liu, H.; Li, W.; Lyu, X. Automobile Exhaust Removal Performance of Pervious Concrete with Nano TiO2 under Photocatalysis. Nanomaterials 2020, 10, 2088. [Google Scholar] [CrossRef] [PubMed]
  32. Fan, W.; Chan, K.Y.; Zhang, C.; Zhang, K.; Ning, Z.; Leung, M.K.H. Solar Photocatalytic Asphalt for Removal of Vehicular NOx: A Feasibility Study. Appl. Energy 2018, 225, 535–541. [Google Scholar] [CrossRef]
  33. Ballari, M.M.; Hunger, M.; Hüsken, G.; Brouwers, H.J.H. NOx photocatalytic degradation employing concrete pavement containing titanium dioxide. Appl. Catal. B Environ. 2010, 95, 245–254. [Google Scholar] [CrossRef]
  34. Martinez, T.; Bertron, A.; Ringot, E.; Escadeillas, G. Degradation of NO Using hotocatalytic Coatings Applied to Different Substrates. Build. Environ. 2011, 46, 1808–1816. [Google Scholar] [CrossRef]
  35. Jiménez-Relinque, E.; Hingorani, R.; Rubiano, F.; Grande, M.; Castillo, Á.; Castellote, M. In Situ Evaluation of the NOx Removal Efficiency of Photocatalytic Pavements: Statistical nalysis of the Relevance of Exposure Time and Environmental Variables. Environ. Sci. Pollut. Res. 2019, 26, 36088–36095. [Google Scholar] [CrossRef]
  36. Zhong, L.; Haghighat, F. Photocatalytic Air Cleaners and Materials Technologies—Abilities and Limitations. Build. Environ. 2015, 91, 191–203. [Google Scholar] [CrossRef]
  37. Folli, A.; Pochard, I.; Nonat, A.; Jakobsen, U.H.; Shepherd, A.M.; Macphee, D.E. Engineering Photocatalytic Cements: Understanding TiO2 Surface Chemistry to Control and Modulate Photocatalytic Performances. J. Am. Ceram. Soc. 2010, 93, 3360–3369. [Google Scholar] [CrossRef]
  38. Pérez-Nicolás, M.; Navarro-Blasco, I.; Fernández, J.M.; Alvarez, J.I. Atmospheric NOx Removal: Study of Cement Mortars with Iron- and Vanadium-Doped TiO2 as Visible Light–Sensitive Photocatalysts. Constr. Build. Mater. 2017, 149, 257–271. [Google Scholar] [CrossRef] [Green Version]
  39. Tawari, A.; Einicke, W.D.; Gläser, R. Photocatalytic Oxidation of NO over Composites of Titanium Dioxide and Zeolite ZSM-5. Catalysts 2016, 6, 31. [Google Scholar] [CrossRef]
  40. Papailias, I.; Todorova, N.; Giannakopoulou, T.; Yu, J.; Dimotikali, D.; Trapalis, C. Photocatalytic Activity of Modified GC3N4/TiO2 Nanocomposites for NOx Removal. Catal. Today 2017, 280, 37–44. [Google Scholar] [CrossRef]
  41. Khairy, M.; Zakaria, W. Effect of metal-doping of TiO2 nanoparticles on their photocatalytic activities toward removal of organic dyes. Egypt. J. Chem. 2014, 23, 419. [Google Scholar] [CrossRef] [Green Version]
  42. Panahian, Y.; Arsalani, N.; Nasiri, R. Enhanced Photo and Sono-Photo Degradation of Crystal Violet Dye in Aqueous Solution by 3D Flower like F-TiO2 (B)/Fullerene under Visible Light. J. Photochem. Photobiol. A Chem. 2018, 365, 45. [Google Scholar] [CrossRef]
  43. Liu, J.; Jee, H.; Lim, M.; Hyung Kim, J.; Jun Kwon, S.; Myong Lee, K.; Zal Nezhad, E.; Bae, S. Photocatalytic Performance Evaluation of Titanium Dioxide Nanotube-Reinforced Cement Paste. Materials 2020, 13, 5423. [Google Scholar] [CrossRef] [PubMed]
  44. Chobchun, M.; Jutakridsada, P.; Thiamsinsangwon, P.; Kasemsiri, P.; Kamwilaisak, K.; Chindaprasirt, P. Characterization of TiO2-activated carbon onto adsorption and photocatalytic properties and its application. J. Met. Mater. Miner. 2020, 30, 30–38. [Google Scholar]
  45. Zhang, L.W.; Fu, H.B.; Zhu, Y.F. Efficient TiO2 Photocatalysts from Surface Hybridization of TiO2 Particles with Graphite-like Carbon. Adv. Funct. Mater. 2008, 18, 2180. [Google Scholar] [CrossRef]
  46. Singla, N.; Singla, S.; Thind Singh, P.; Singh, S.; Singh Chohan, J.; Kumar, R.; Sharma, S.; Chattopadhyaya, S.; Prakash Dwivedi, S.; Saxena, A.; et al. Assessing the Applicability of Photocatalytic-Concrete Blocks in Reducing the Concentration of Ambient NO2 of Chandigarh, India, Using Box–Behnken Response Surface Design Technique: A Holistic Sustainable Development Approach. J. Chem. 2021, 2021, 6468749. [Google Scholar] [CrossRef]
  47. Ma, Y.; Wang, X.; Jia, Y.; Chen, X.; Hongxian, H.; Can, L. Titanium dioxide-based nanomaterials for photocatalytic fuel generation. Chem. Rev. 2014, 114, 9987–10043. [Google Scholar] [CrossRef]
  48. Ma, J.; Wu, H.; Liu, Y.; He, H. Photocatalytic Removal of NOx over Visible Light Responsive Oxygen-Deficient TiO2. J. Phys. Chem. C 2014, 118, 7434–7441. [Google Scholar] [CrossRef]
  49. Pérez-Nicolás, M.; Plank, J.; Ruiz-Izuriaga, D.; Navarro-Blasco, I.; Fernández, J.M.; Alvarez, J.I. Photocatalytically active coatings for cement and air lime mortars: Enhancement of the activity by incorporation of superplasticizers. Constr. Build. Mater. 2018, 162, 628–648. [Google Scholar] [CrossRef] [Green Version]
  50. Barbuta, M.; Bucur, R.; Serbanoiua, A.A.; Scutarasua, S.; Burlacua, A. Combined Effect of Fly Ash and Fibers on Properties of Cement Concrete. Procedia Eng. 2017, 181, 280–284. [Google Scholar] [CrossRef]
  51. Gallus, M.; Ciuraru, R.; Mothes, F.; Akylas, V.; Barmpas, F.; Beeldens, A.; Bernard, F.; Boonen, E.; Boréave, A.; Cazaunau, M.; et al. Photocatalytic abatement results from a model street canyon. Environ. Sci. Poll. Res. 2015, 22, 18185–18196. [Google Scholar] [CrossRef] [PubMed]
  52. Autlov, S.A.; Bazarnova, N.G.; Kushnir, E.Y. Microcrystalline cellulose: Structure, properties and the sphere of application (review). Chem. Veg. Raw Mater. 2013, 3, 33–41. [Google Scholar]
  53. Hunger, M.; Hüsken, G.; Brouwers, H.J.H. Photocatalysis applied to concrete products—Part 1: Principles and test procedure. ZKG Int. 2008, 61, 77–85. [Google Scholar]
Figure 1. Potential photocatalytic degradation scheme of the pollutants during photocatalysis.
Figure 1. Potential photocatalytic degradation scheme of the pollutants during photocatalysis.
Buildings 12 00606 g001
Figure 2. Schematic representation of the process of self-cleaning for smart concrete in the conditions of urban agglomeration.
Figure 2. Schematic representation of the process of self-cleaning for smart concrete in the conditions of urban agglomeration.
Buildings 12 00606 g002
Figure 3. Schematic representation of the formation of the concentration gradient of n-TiO2 particles in the n-TiO2 particle composite “Nano-titania gradient”.
Figure 3. Schematic representation of the formation of the concentration gradient of n-TiO2 particles in the n-TiO2 particle composite “Nano-titania gradient”.
Buildings 12 00606 g003
Figure 4. The spectrum of Raman scattering for the studied sample of graphene oxide.
Figure 4. The spectrum of Raman scattering for the studied sample of graphene oxide.
Buildings 12 00606 g004
Figure 5. SEM image of graphene oxide.
Figure 5. SEM image of graphene oxide.
Buildings 12 00606 g005
Figure 6. Appearance of the samples: (a) titanium dioxide; (b) titanium dioxide with graphene oxide after grinding; (c) titanium dioxide with graphene oxide after surface sensitization.
Figure 6. Appearance of the samples: (a) titanium dioxide; (b) titanium dioxide with graphene oxide after grinding; (c) titanium dioxide with graphene oxide after surface sensitization.
Buildings 12 00606 g006
Figure 7. Appearance: (a) recoverable waste paper suspension; (b) dry residue of recoverable waste paper; (c) microstructure of dry residue of recoverable waste paper.
Figure 7. Appearance: (a) recoverable waste paper suspension; (b) dry residue of recoverable waste paper; (c) microstructure of dry residue of recoverable waste paper.
Buildings 12 00606 g007
Figure 8. Schematic representation of the test equipment [GOST R 57255-2016] 1—light source; 2—optical window; 3—test specimen; 4—standard gas; 5—air purification system; 6—humidifier; 7—gas flow controller; 8—analyzer.
Figure 8. Schematic representation of the test equipment [GOST R 57255-2016] 1—light source; 2—optical window; 3—test specimen; 4—standard gas; 5—air purification system; 6—humidifier; 7—gas flow controller; 8—analyzer.
Buildings 12 00606 g008
Figure 9. Graphical interpretation of the obtained results (compositions 1–9): (a) ultimate compressive strength in the dry state of cubic specimens; (b) ultimate compressive strength in the water-saturated state of cubic specimens.
Figure 9. Graphical interpretation of the obtained results (compositions 1–9): (a) ultimate compressive strength in the dry state of cubic specimens; (b) ultimate compressive strength in the water-saturated state of cubic specimens.
Buildings 12 00606 g009
Figure 10. Graphical interpretation of the obtained results (compositions 1*–9*): (a) ultimate compressive strength in the dry state of cubic specimens; (b) ultimate compressive strength in the water-saturated state of cubic specimens.
Figure 10. Graphical interpretation of the obtained results (compositions 1*–9*): (a) ultimate compressive strength in the dry state of cubic specimens; (b) ultimate compressive strength in the water-saturated state of cubic specimens.
Buildings 12 00606 g010
Figure 11. Graphical interpretation of the obtained results (compositions 1–9): (a) ultimate tensile strength at bending of prism specimens; (b) ultimate compressive strength of halves of test-beams.
Figure 11. Graphical interpretation of the obtained results (compositions 1–9): (a) ultimate tensile strength at bending of prism specimens; (b) ultimate compressive strength of halves of test-beams.
Buildings 12 00606 g011
Figure 12. Graphical interpretation of the obtained results (compositions 1*–9*): (a) ultimate tensile strength at bending of prism specimens; (b) ultimate compressive strength of the halves of test-beams.
Figure 12. Graphical interpretation of the obtained results (compositions 1*–9*): (a) ultimate tensile strength at bending of prism specimens; (b) ultimate compressive strength of the halves of test-beams.
Buildings 12 00606 g012
Figure 13. Microphotograph of cement mortar with recoverable waste cellulose and titanium dioxide, composition No9 aged 28 days, with magnification: (a) 400×, (b) 800×; The determination of the energy dispersive elemental analysis was carried out in the area of the red square.
Figure 13. Microphotograph of cement mortar with recoverable waste cellulose and titanium dioxide, composition No9 aged 28 days, with magnification: (a) 400×, (b) 800×; The determination of the energy dispersive elemental analysis was carried out in the area of the red square.
Buildings 12 00606 g013
Figure 14. Elemental analysis of the micro surface of cement mortar with recoverable waste cellulose and titanium dioxide, composition No9 aged 28 days.
Figure 14. Elemental analysis of the micro surface of cement mortar with recoverable waste cellulose and titanium dioxide, composition No9 aged 28 days.
Buildings 12 00606 g014
Figure 15. Microphotograph of cellulose fibers in cement mortar, with magnification: (a) 800×; (b) 3000×; The determination of the energy dispersive elemental analysis was carried out in the area of the red square.
Figure 15. Microphotograph of cellulose fibers in cement mortar, with magnification: (a) 800×; (b) 3000×; The determination of the energy dispersive elemental analysis was carried out in the area of the red square.
Buildings 12 00606 g015
Figure 16. Elemental microanalysis of the surface of cellulose fibers in cement stone.
Figure 16. Elemental microanalysis of the surface of cellulose fibers in cement stone.
Buildings 12 00606 g016
Figure 17. Frost resistance of concrete specimens.
Figure 17. Frost resistance of concrete specimens.
Buildings 12 00606 g017
Figure 18. Appearance of concrete facade plate (a) with TiO2; (b) with surface-sensitized TiO2.
Figure 18. Appearance of concrete facade plate (a) with TiO2; (b) with surface-sensitized TiO2.
Buildings 12 00606 g018
Table 1. Oxide chemical composition of photocatalysts TiO2.
Table 1. Oxide chemical composition of photocatalysts TiO2.
OxideTiO2V2O5SiO2P2O5CaOK2OAl2O3Other
Content, %97.960.560.370.320.180.170.130.31
Table 2. Consumption of concrete mixture components per 1 m3.
Table 2. Consumption of concrete mixture components per 1 m3.
ComponentsContent by Weight, kg
Cement457.5
Water260.0
Sand1418.3
Theoretical density of concrete mix2136 kg/m3
Table 3. Volume fractions of photocatalyst in the matrix material of photocatalytic concrete.
Table 3. Volume fractions of photocatalyst in the matrix material of photocatalytic concrete.
Mesh Type φ c a p Ratio h/dc
0.5123510
Cubic0.5910.100.04260.01260.00530.00160.0003
Hexagonal0.7010.130.05510.01630.00690.00200.0003
Table 4. Concentration of photocatalyst particles on the surface (Ns).
Table 4. Concentration of photocatalyst particles on the surface (Ns).
Mesh TypeRatio h/dc
0.5123510
Cubic3.01 × 10355.35 × 10344.70 × 10338.36 × 10327.34 × 10311.93 × 1030
Hexagonal5.02 × 10358.94 × 10347.85 × 10341.40 × 10321.23 × 10323.23 × 1030
Table 5. Concentration of photocatalyst particles on the surface (Ns).
Table 5. Concentration of photocatalyst particles on the surface (Ns).
Cubic MeshHexagonal Mesh
ν c TiO2, % ν c TiO2, %
0.00030.110.00030.11
0.00160.520.00200.67
0.00531.740.00692.26
0.01264.140.01635.34
Table 6. Matrix of test planning (Where compositions 1*–9* are prepared using SS TiO2).
Table 6. Matrix of test planning (Where compositions 1*–9* are prepared using SS TiO2).
Composition NumberCode MatrixAdditives’ Content, % Relative to the Mass of Portland Cement
X1X2TiO2/SS TiO2Recoverable Waste Cellulose
1/1*−1−10.500.50
2/2*+1−11.500.50
3/3*−1+10.501.00
4/4*+1+11.501.00
5/5*−1.4200.300.75
6/6*+1.4201.710.5
7/7*0−1.421.000.40
8/8*0+1.421.001.10
9/9*001.000.75
Table 7. Composition and properties of composite binders (Where compositions 1*–9* are prepared using SS TiO2).
Table 7. Composition and properties of composite binders (Where compositions 1*–9* are prepared using SS TiO2).
Composition NumberAdditives’ Content, % of the Portland Cement MassOutput Parameters Composition
Number
Output Parameters
TiO2/
SS TiO2
CelluloseDensity,
kg/m3
Water
Absorption by Weight, %
Density,
kg/m3
Water
Absorption by Weight, %
K0020645.3K20645.3
10.50.521294.81*21304.8
21.50.520694.62*20714.5
30.5120574.43*20614.4
41.5120544.74*20574.6
50.30.7520363.05*20393.0
61.70.7520053.26*20073.1
710.420484.87*20504.7
811.120264.68*20294.5
910.7520734.89*20754.8
Table 8. Photocatalytic activity of facade concrete plates with a gradient structure.
Table 8. Photocatalytic activity of facade concrete plates with a gradient structure.
ParameterRussian State Standard GOST R 57255-2016with TiO2with SS TiO2
Decomposition (mineralization) of air pollutants:
-
nitrogen oxide NOx,% by volume, not less
607595
-
volatile organic substances,% by volume, not less
8085112
Table 9. Wetting contact angle in time for the facade concrete plates with a gradient structure.
Table 9. Wetting contact angle in time for the facade concrete plates with a gradient structure.
Intervals between Measurements, Hourswith TiO2Variation
Coefficient, %
with
SS TiO2
Variation Coefficient, %
initiating (3–5 s)35°17′41″37°9′31″
132°6′1″15.027°7′2″12.0
228°26′56″13.019°44′16″10.0
327°37′40″11.016°35′16″4.0
421°37′40″5.0
Publisher’s Note: MDPI stays neutral with regard to jurisdictional claims in published maps and institutional affiliations.

Share and Cite

MDPI and ACS Style

Lapidus, A.; Korolev, E.; Topchiy, D.; Kuzmina, T.; Shekhovtsova, S.; Shestakov, N. Self-Cleaning Cement-Based Building Materials. Buildings 2022, 12, 606. https://doi.org/10.3390/buildings12050606

AMA Style

Lapidus A, Korolev E, Topchiy D, Kuzmina T, Shekhovtsova S, Shestakov N. Self-Cleaning Cement-Based Building Materials. Buildings. 2022; 12(5):606. https://doi.org/10.3390/buildings12050606

Chicago/Turabian Style

Lapidus, Azariy, Evgenii Korolev, Dmitriy Topchiy, Tatyana Kuzmina, Svetlana Shekhovtsova, and Nikolai Shestakov. 2022. "Self-Cleaning Cement-Based Building Materials" Buildings 12, no. 5: 606. https://doi.org/10.3390/buildings12050606

APA Style

Lapidus, A., Korolev, E., Topchiy, D., Kuzmina, T., Shekhovtsova, S., & Shestakov, N. (2022). Self-Cleaning Cement-Based Building Materials. Buildings, 12(5), 606. https://doi.org/10.3390/buildings12050606

Note that from the first issue of 2016, this journal uses article numbers instead of page numbers. See further details here.

Article Metrics

Back to TopTop