Numerical Simulation and Bench Test of Crawler-Type Cotton Time-Delay Hole-Forming Device Based on RecurDyn-EDEM Coupling
Abstract
1. Introduction
2. Crawler-Type Time-Delay Hole-Forming Device and Working Principle
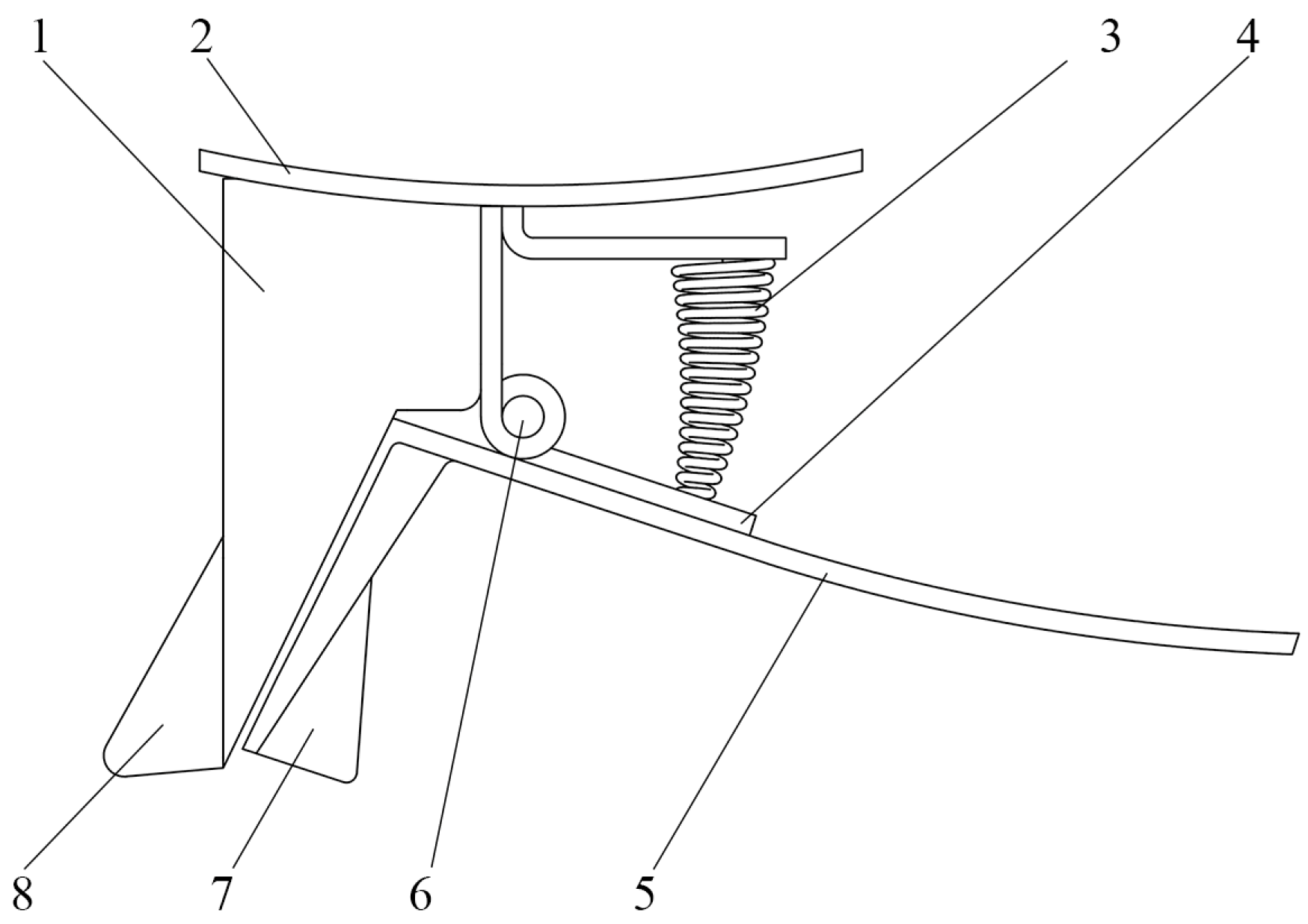
2.1. Device Structure
2.2. Working Principle
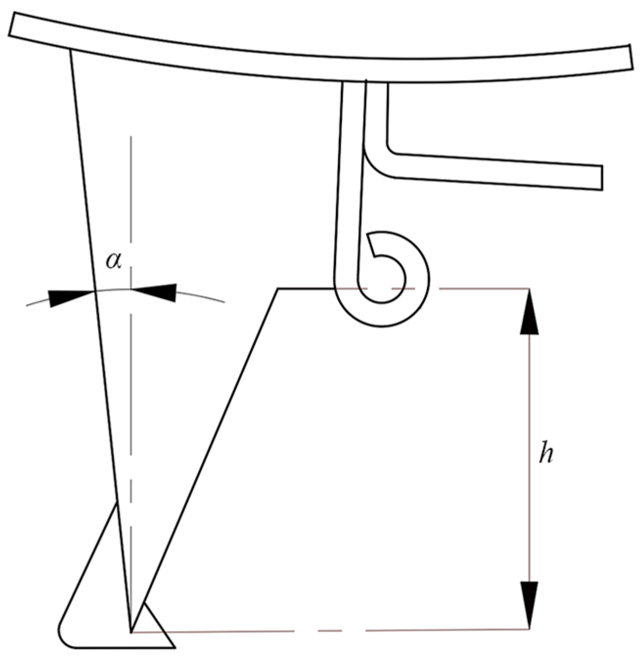
2.3. Structural Design of Critical Component
3. Materials and Methods
3.1. Simulation Model Creation and Parameter Setting
3.2. Bidirectional Coupling MBD and DEM Simulation Test Scheme and Method
3.2.1. Single Factor Simulation Test
3.2.2. Quadratic Regression Orthogonal Rotation Combination Simulation Test Scheme
3.3. Bench Test Conditions and Methods
4. Results and Discussion
4.1. Variance Analysis and Discussion
4.2. Interactive Analysis and Discussion
4.3. Comprehensive Optimal Design
4.4. Comparison with The Results of Soil Bin Bench Test
5. Conclusions
Author Contributions
Funding
Institutional Review Board Statement
Informed Consent Statement
Data Availability Statement
Conflicts of Interest
References
- Wang, Q.; Zhang, E.H.; Li, F.M.; Wang, X.L. Optimum ratio of ridge to furrow for planting potato in micro-water harvesting system in semiarid areas. Trans. Chin. Soc. Agric. Eng. 2005, 21, 38–41. [Google Scholar] [CrossRef]
- Liu, J.G.; Li, Y.B.; Zhang, W.; Sun, Y.Y. The Distributing of the Residue Film and Influce on Cotton Growth under Continuous Cropping in Oasis of Xinjiang. J. Agro-Environ. Sci. 2010, 29, 246–250. [Google Scholar]
- Lou, S.W.; Dong, H.Z.; Tian, X.L.; Tian, L.W. The “Short, Dense and Early” Cultivation of Cotton in Xinjiang: History, Current Situation and Prospect. Sci. Agric. Sin. 2021, 54, 720–732. [Google Scholar]
- Wu, J.S.; Chen, X.G. Present situation, problems and countermeasures of cotton production mechanization development in Xinjiang Production and Construction Corps. Trans. Chin. Soc. Agric. Eng. 2015, 31, 5–10. [Google Scholar] [CrossRef]
- Li, M.M.; Chen, Y.L.; Hu, B.; Chen, X.G.; Li, Y.; Tang, F.; Sun, X.D. Adaptability of Air-suction Melon Precision Metering Mechanism to Different Size Seeds. J. Agric. Mech. Res. 2015, 37, 179–182. [Google Scholar] [CrossRef]
- Tan, X.Z.; Wang, S.G. Structural characteristics and principle analysis of air-suction precision cave planter. Xinjiang Farm Res. Sci. Technol. 2016, 39, 35–38. [Google Scholar]
- Li, M.; Wang, W.B.; Du, S.; Guo, S.L.; Li, J.H. Experiment study on adsorption accuracy of air suction cotton dibbler. J. Chin. Agric. Mech. 2016, 37, 10–13. [Google Scholar] [CrossRef]
- Senthilkumar, T.; Sankaranarayanan, K.; Annamalai, S.J.K. Optimization of functional components of the developed planters for high-density cotton. Ind. J. Agric. Sci. 2020, 90, 2313–2316. [Google Scholar] [CrossRef]
- Bai, S.H.; Yuan, Y.W.; Niu, K.; Shi, Z.L.; Zhou, L.M.; Zhao, B.; Wei, L.G.; Liu, L.J.; Zheng, Y.K.; An, S.; et al. Design and Experiment of a Sowing Quality Monitoring System of Cotton Precision Hill-Drop Planters. Agriculture 2022, 12, 1117. [Google Scholar] [CrossRef]
- Abhyankar, S.P.; Anantachar, M.; Nageshkumar, T. Development of a Power Tiller-Operated Inter-Row Planter for Cowpea in Cotton Strips. Agric. Res. 2023, 12, 308–318. [Google Scholar] [CrossRef]
- Verma, K.; Mohanty, K.S.; Dash, C.R. Optimization of Power Tiller Operated Pneumatic Planter under Laboratory Conditions for Enhancing Cotton Planting Efficiency. J. Exp. Agric. Int. 2024, 46, 526–537. [Google Scholar] [CrossRef]
- Gürkan, I. Design of a precision planter chassis using computer-aided engineering and experimental validation. J. Mech. Eng. Sci. 2023, 237, 5426–5442. [Google Scholar] [CrossRef]
- Way, T.R.; Kornecki, T.S.; Tewolde, H. Planter Closing Wheel Effects on Cotton Emergence in a Conservation Tillage System. Appl. Eng. Agric. 2018, 34, 177–186. [Google Scholar] [CrossRef]
- Richard, L.P. Current Developments in Seeders and Transplanters for Vegetable Crops. HortTechnology 2005, 15, 346–351. [Google Scholar]
- Sonwani, S.; Victor, V.; Naik, R. Development and Performance Evaluation of Garlic Planter. J. Exp. Agric. Int. 2024, 46, 479–485. [Google Scholar] [CrossRef]
- Guiberti, F.T.; Pesarini, M.; Zamchii, R. High-pressure gallium seeder for atomic fluorescence measurements. Appl. Energy Combust. Sci. 2024, 18, 100268. [Google Scholar] [CrossRef]
- Bernabé, J.C.F.; Antonio, C.T.; Costa, D.E.S. Effectiveness of narrow tyne and double-discs openers to overcome shallow compaction and improve soybean yield in long-term no-tillage soil. Soil Tillage Res. 2023, 227, 105622. [Google Scholar] [CrossRef]
- Xiang, W.; Wu, M.L.; Lü, J.N.; Quan, W.; Ma, L.; Liu, J.J. Calibration of simulation physical parameters of clay loam based on soil accumulation test. Trans. Chin. Soc. Agric. Eng. 2019, 35, 116–123. [Google Scholar] [CrossRef]
- Wang, K.Y. Optimization Study of Self-Propelled Sunflower Coated Seeder Cavitator. Master’s Thesis, Inner Mongolia University, Hohhot, China, 2023. [Google Scholar]
- Yuan, X.L. Optimization Design and Experiment of the Suspended Cup Planting Mechanism of Vegetable Transplanter. Master’s Thesis, Southwest University, Chongqing, China, 2023. [Google Scholar]
- Shi, L.R.; Zhao, W.Y.; Sun, W.; Li, R.B.; Xin, B.B.; Dai, F. Development and experiment of electric driving insert hill-drop planter on film for plot corn. Trans. Chin. Soc. Agric. Eng. 2017, 33, 32–38. [Google Scholar] [CrossRef]
- Zhang, X.J.; Chen, Y.; Shi, Z.L.; Jin, W.; Zhang, H.T.; Fu, H.; Wang, D.J. Design and experiment of double-storage turntable cotton vertical disc hole seeding and metering device. Trans. Chin. Soc. Agric. Eng. 2021, 37, 27–36. [Google Scholar] [CrossRef]
- Wang, L.; He, X.W.; Hu, C.; Shi, L.; Wang, X.F.; He, Y.C.; Tang, Z.H. Simulation and Experiment for Seeding Performance of Socket Cotton Dibbler Based on Discrete Element Method. J. Agric. Mech. Res. 2021, 43, 151–156. [Google Scholar] [CrossRef]
- Xu, Z.Y.; Zhou, Y.; Hu, M.J.; Ke, H.B.; Zhang, M.Y.; Lü, W. Seeding simulation test of inside-filling cotton seed-metering device based on EDEM. J. Gansu Agric. Univ. 2020, 55, 175–183. [Google Scholar] [CrossRef]
- Wang, G. Design and Test of Duck Bill Seed-Metering Device for Rice Film Spreading and Hole Sowing Machine. Master’s Thesis, Anhui Agricultural University, Hefei, China, 2023. [Google Scholar]
- Dong, X.Q.; Su, C.; Zheng, H.N.; Han, R.Q.; Li, Y.L.; Wang, L.P.C.; Song, J.N.; Wang, J.C. Analysis of soil disturbance process by vibrating subsoiling based on DEM-MBD coupling algorithm. Trans. Chin. Soc. Agric. Eng. 2022, 38, 34–43. [Google Scholar] [CrossRef]
- Tan, B.F.; Duan, H.B.; Fu, J.; Sun, H.J.; Cai, X.K.; Li, Z.L. Performance simulation of triangle Chain cup-spoon potato seed feeder based on RecurDyn-EDEM coupling. J. Gansu Agric. Univ. 2023, 58, 218–227. [Google Scholar] [CrossRef]
- Wang, S.J.; Yin, Y.; Yu, S.F.; Hou, L. Dynamic analysis on loader coupling based on RecurDyn-EDEM. J. Mach. Des. 2021, 38, 1–6. [Google Scholar] [CrossRef]
- Cai, Y.Q.; Luo, X.; Hu, B.; Mao, Z.B.; Li, J.W.; Guo, M.Y.; Wang, J. Theoretical and experimental analyses of high-speed seed filling in limited gear-shaped side space of cotton precision dibbler. Comput. Electron. Agric. 2022, 200, 107202. [Google Scholar] [CrossRef]
- Shi, Y.Y.; Xin, R.S.; Wang, X.H.; Hu, Z.H.; David, N.; Ding, W.M. Numerical simulation and field tests of minimum-tillage planter with straw smashing and strip laying based on EDEM software. Comput. Electron. Agric. 2019, 166, 105021. [Google Scholar] [CrossRef]
- Yang, W.C.; Pu, W.; Pan, W.J.; Zhang, X.W.; Zhang, L. Design and experiment of soil covering andcompacting device for Panax notoginseng seedling sowing. J. South China Agric. Univ. 2022, 43, 122–132. [Google Scholar] [CrossRef]
- Yan, D.X. Particle Modelling of Soybean Seeds and the Simulation Analysis and Experimental Study of the Seed-Throwing and Pressing. Doctoral Thesis, Jilin University, Changchun, China, 2021. [Google Scholar]
- Liu, R.; LI, Y.J.; Liu, C.X.; Liu, L.J. Design and Experiment of Shovel Type Wide Seedling Belt Oat Seeding Furrow Opener. Trans. Chin. Soc. Agric. Mach. 2021, 52, 89–96. [Google Scholar]
- Xie, S.Y.; Zhang, X.L.; Liu, F.Y.; Liu, J.; Yuan, X.L.; Liu, W.; Wang, P. Kinetic analysis and experiment of seedling taking and throwing device based on mechanical properties of plug seedlings. J. Jilin Univ. (Eng. Tech. Ed.) 2023, 53, 3293–3304. [Google Scholar] [CrossRef]
- JB/T 7732-2023; Seed Sowing Machine for the Mulching Film. Standardization Administration of China: Beijing, China, 2023.
- GB/T 6973-2005; Testing Methods of Single Seed Drills (Precision Drills). Standardization Administration of China: Beijing, China, 2005.




















| Serial Number | Parameter Name | Numerical Value |
|---|---|---|
| 1 | Poisson’s ratio of soil particles | 0.35 |
| 2 | Soil particle density (kg/m3) | 1565 |
| 3 | Soil particle shear modulus (Pa) | 1.09 × 106 |
| 4 | Poisson’s ratio of duck bill (steel) | 0.3 |
| 5 | Duck bill (steel) density (kg/m3) | 7865 |
| 6 | duck bill shear modulus (Pa) | 7.9 × 1010 |
| 7 | Collision recovery coefficient between soil particles and soil particles | 0.36 |
| 8 | Static friction coefficient between soil particles and soil particles | 0.56 |
| 9 | Rolling friction coefficient between soil particles and soil particles | 0.15 |
| 10 | JKR surface energy of soil particles and soil particles | 6.06 |
| 11 | Collision recovery coefficient between soil particles and duck bill | 0.30 |
| 12 | Static friction coefficient between soil particles and duck bill | 0.30 |
| 13 | Rolling friction coefficient between soil particles and duck bill | 3.16 |
| Test Factors | Coded Value | |||
|---|---|---|---|---|
| −1 | 0 | 1 | ||
| A | Fixed the tilt angle of the duck bill (°) | 0 | 5 | 10 |
| B | The depth of the duck bill into the hole (mm) | 35 | 40 | 45 |
| C | The angle of rotation of the moving duck bill (°) | 28 | 32 | 36 |
| Test Number | Factors | Longitudinal Length of Cotton Seed Hole Y1 (mm) | Hole-Forming Depth of Cotton Seed Hole Y2 (mm) | ||
|---|---|---|---|---|---|
| A-Fixed the Tilt Angle of the Duck Bill (°) | B-The Depth of the Duck Bill into the Hole (mm) | C-The Angle of Rotation of the Moving Duck Bill (°) | |||
| 1 | −1 | −1 | 0 | 26.2 | 21.2 |
| 2 | 1 | −1 | 0 | 31.3 | 27.0 |
| 3 | −1 | 1 | 0 | 30.5 | 27.1 |
| 4 | 1 | 1 | 0 | 34.8 | 26.1 |
| 5 | −1 | 0 | −1 | 24.3 | 23.1 |
| 6 | 1 | 0 | −1 | 31.5 | 24.0 |
| 7 | −1 | 0 | 1 | 31.2 | 26.3 |
| 8 | 1 | 0 | 1 | 34.2 | 28.9 |
| 9 | 0 | −1 | −1 | 30.5 | 23.8 |
| 10 | 0 | 1 | −1 | 30.2 | 25.0 |
| 11 | 0 | −1 | 1 | 30.7 | 27.3 |
| 12 | 0 | 1 | 1 | 36.8 | 29.6 |
| 13 | 0 | 0 | 0 | 32.5 | 27.9 |
| 14 | 0 | 0 | 0 | 34.2 | 27.7 |
| 15 | 0 | 0 | 0 | 33.5 | 27.7 |
| 16 | 0 | 0 | 0 | 32.7 | 27.1 |
| 17 | 0 | 0 | 0 | 32.6 | 27.9 |
| Indicator | Source of Variance | Sum of Squares | Freedom | Mean Square | F | p | Significant |
|---|---|---|---|---|---|---|---|
| Y1 | Model | 141.62 | 9 | 15.74 | 29.77 | <0.0001 | ** |
| A | 48.02 | 1 | 48.02 | 90.85 | <0.0001 | ** | |
| B | 23.12 | 1 | 23.12 | 43.74 | 0.0003 | ** | |
| C | 33.62 | 1 | 33.62 | 63.61 | <0.0001 | ** | |
| AB | 0.16 | 1 | 0.16 | 0.3 | 0.5993 | ns | |
| AC | 4.41 | 1 | 4.41 | 8.34 | 0.0234 | * | |
| BC | 10.24 | 1 | 10.24 | 19.37 | 0.0032 | ** | |
| A2 | 18.13 | 1 | 18.13 | 34.3 | 0.0006 | ** | |
| B2 | 0.44 | 1 | 0.44 | 0.84 | 0.3895 | ns | |
| C2 | 2.21 | 1 | 2.21 | 4.19 | 0.08 | ns | |
| Residual | 3.7 | 7 | 0.53 | ||||
| Lack-of-fit | 1.56 | 3 | 0.52 | 0.97 | 0.4887 | ns | |
| Pure Error | 2.14 | 4 | 0.53 | ||||
| Corrected Total | 145.32 | 16 | |||||
| Y2 | Model | 194.15 | 9 | 21.57 | 34.56 | <0.0001 | ** |
| A | 7.22 | 1 | 7.22 | 11.57 | 0.0114 | * | |
| B | 67.86 | 1 | 67.86 | 108.71 | <0.0001 | ** | |
| C | 54.6 | 1 | 54.6 | 87.47 | <0.0001 | ** | |
| AB | 0.12 | 1 | 0.12 | 0.2 | 0.6711 | ns | |
| AC | 13.69 | 1 | 13.69 | 21.93 | 0.0023 | ** | |
| BC | 5.52 | 1 | 5.52 | 8.85 | 0.0207 | * | |
| A2 | 11.19 | 1 | 11.19 | 17.92 | 0.0039 | ** | |
| B2 | 8.91 | 1 | 8.91 | 14.28 | 0.0069 | ** | |
| C2 | 20.47 | 1 | 20.47 | 32.8 | 0.0007 | ** | |
| Residual | 4.37 | 7 | 0.62 | ||||
| Lack-of-fit | 2.16 | 3 | 0.72 | 1.3 | 0.3896 | ns | |
| Pure Error | 2.21 | 4 | 0.55 | ||||
| Corrected Total | 198.52 | 16 |
| Test | Longitudinal Length of Cotton Seed Hole Y1 | Hole-Forming Depth of Cotton Seed Hole Y2 | ||||
|---|---|---|---|---|---|---|
| Simulation Value (mm) | Test Value (mm) | Relative Error (%) | Simulation Value (mm) | Test Value (mm) | Relative Error (%) | |
| 1 | 27.1 | 29.2 | 7.74 | 24.3 | 23.1 | 4.94 |
| 2 | 27.1 | 29.0 | 7.01 | 24.3 | 25.1 | 3.29 |
| 3 | 27.1 | 28.0 | 3.32 | 24.3 | 22.2 | 8.64 |
| 4 | 27.1 | 29.4 | 8.49 | 24.3 | 22.5 | 7.41 |
| 5 | 27.1 | 29.7 | 9.59 | 24.3 | 23.3 | 4.11 |
| Average | 27.1 | 29.1 | 7.23 | 24.3 | 23.2 | 5.68 |
| Standard Deviation | 0 | 2.04 | 2.13 | 0 | 1.46 | 2.02 |
| Test | Duck Bill Opening Time (s) |
|---|---|
| 1 | 0.45 |
| 2 | 0.46 |
| 3 | 0.44 |
| 4 | 0.46 |
| 5 | 0.45 |
| Average | 0.45 |
| Standard Deviation | 0.0077 |
Disclaimer/Publisher’s Note: The statements, opinions and data contained in all publications are solely those of the individual author(s) and contributor(s) and not of MDPI and/or the editor(s). MDPI and/or the editor(s) disclaim responsibility for any injury to people or property resulting from any ideas, methods, instructions or products referred to in the content. |
© 2024 by the authors. Licensee MDPI, Basel, Switzerland. This article is an open access article distributed under the terms and conditions of the Creative Commons Attribution (CC BY) license (https://creativecommons.org/licenses/by/4.0/).
Share and Cite
Pan, F.; Chen, J.; Zhang, H.; Wang, B.; Jiang, X.; Ji, C. Numerical Simulation and Bench Test of Crawler-Type Cotton Time-Delay Hole-Forming Device Based on RecurDyn-EDEM Coupling. Machines 2024, 12, 463. https://doi.org/10.3390/machines12070463
Pan F, Chen J, Zhang H, Wang B, Jiang X, Ji C. Numerical Simulation and Bench Test of Crawler-Type Cotton Time-Delay Hole-Forming Device Based on RecurDyn-EDEM Coupling. Machines. 2024; 12(7):463. https://doi.org/10.3390/machines12070463
Chicago/Turabian StylePan, Feng, Jincheng Chen, Hualin Zhang, Baiwei Wang, Xizhen Jiang, and Chao Ji. 2024. "Numerical Simulation and Bench Test of Crawler-Type Cotton Time-Delay Hole-Forming Device Based on RecurDyn-EDEM Coupling" Machines 12, no. 7: 463. https://doi.org/10.3390/machines12070463
APA StylePan, F., Chen, J., Zhang, H., Wang, B., Jiang, X., & Ji, C. (2024). Numerical Simulation and Bench Test of Crawler-Type Cotton Time-Delay Hole-Forming Device Based on RecurDyn-EDEM Coupling. Machines, 12(7), 463. https://doi.org/10.3390/machines12070463
