Land Subsidence Prediction and Analysis along Typical High-Speed Railways in the Beijing–Tianjin–Hebei Plain Area
Abstract
:1. Introduction
2. Study Area and Data
2.1. Study Area
2.2. Data
3. Methods
3.1. Permanent Scatterers Interferometric Method
- The S1A data of the three frames was merged and then divided into three sub-strips according to different Swath numbers.
 - For the S1A data of each substrip, one image was selected as the reference image and the other images as the secondary images. In this paper, the image from 8 February 2018 was selected as the reference, and the other images were registered to the reference image.
 - We used the amplitude stability coefficient method to choose the PS points with a threshold of 0.75.
 - Phase analysis was carried out on PS points, and the phase information contained in PS points was shown in Formula (1). In this study, SRTM DEM data and precision ephemeris data were used to remove the topographic phase and the flat-earth phase, respectively. First, based on the total deformation phase component obtained by using the nonlinear standard model in the Atmospheric Phase Screen (APS) module of SARPROZ, the atmospheric phase was inverted and removed. Then, the star topology analysis method in the PS point deformation analysis module was used to invert the deformation phase of each PS point, including nonlinear and linear deformation phases.
 - The deformation phase information of PS points was unwrapped, and the temporal deformation information was obtained.
 
3.2. Empirical Mode Decomposition-Gradient Boosting Decision Tree (EMD-GBDT) Model
3.2.1. Empirical Mode Decomposition (EMD) Model
3.2.2. Gradient Boosting Decision Tree (GBDT) Model
- The time series subsidence of sample data was selected as the dataset , represents the monitoring time. Then, we set the proportion of training data and validation data, and the first subsidence data were constructed as the training set ; the remaining subsidence data were constructed as the validation set . is a monitoring time less than .
 - Initializing for the training dataset, , represents the base learner, and is a decision tree; is the loss function, and represents the constant value that minimizes the loss function.
 - For the training dataset, decision trees must be built (). For , the negative gradient descent value of the loss function ( represents matrix transpose) is calculated as the residual approximation of the next step decision tree model to the current decision tree model .
 - By iterating times, the final model is obtained, in which consists of trees.
 - The trained model is used to predict land subsidence.
 
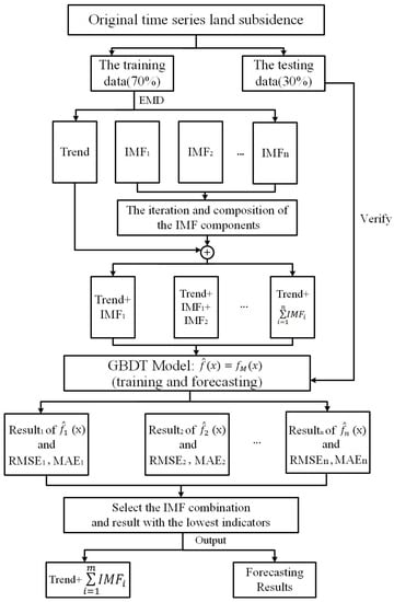
3.2.3. Empirical Mode Decomposition–Gradient Boosting Decision Tree (EMD-GBDT) Model
- We used the EMD method to decompose the time series of land subsidence acquired using the PS-InSAR technique and obtained the IMF components and trend components.
 - The GBDT model was used to forecast subsidence with the IMF components and the trend component. After forecasting each component, we obtained the final forecasting results by reconstructing the forecast results for all components.
 - By comparing the forecasting accuracy of land subsidence with different IMF component numbers, the optimal number of IMF components was selected. Then, the optimal forecasting result was output as the final forecasting result at this point.
 
4. Results
4.1. Subsidence Characteristics along Typical High-Speed Railways in the BTH Plain
4.2. Validation of Time-Series Results
5. Discussion
5.1. Land Subsidence Forecasting along High-Speed Railways Based on the EMD-GBDT Model
5.2. Analysis of Slope Changes along High-Speed Railways
6. Conclusions
- From 2016 to 2020, the land subsidence mainly occurred in the middle BTH Plain, with a north–south zonal distribution. In numerous instances, multiple land subsidence funnels in the BTH Plain were connected into one. The maximum land subsidence rate reached 132 mm/year.
 - The subsidence along the Tianjin–Baoding and Shijiazhuang–Jinan high-speed railways was significant in the BTH region. The Tianjin–Baoding high-speed railway passed through the land subsidence areas of Wuqing, Langfang, and Xiongxian. The maximum subsidence rate along the Tianjin–Baoding high-speed railway reached about 82 mm/year.
 - The EMD-GBDT model can improve the forecasting accuracy of land subsidence to some degree. As of September 2021, the land subsidence has influenced slope changes along the high-speed railways, but it does not exceed the permitted technical standards.
 
Author Contributions
Funding
Data Availability Statement
Acknowledgments
Conflicts of Interest
References
- Gong, H.L.; Li, X.J.; Pan, Y.; Zhu, L.; Zhang, Y.Q.; Chen, M.; Chen, B.B.; Ke, Y.H.; Wang, Y.B.; Gao, M.L.; et al. Groundwater depletion and land subsidence of the Beijing-Tianjin-Hebei area. Bull. Natl. Nat. Sci. Found. China 2017, 1, 72–77. [Google Scholar] [CrossRef]
 - Guo, H.; Zhang, Z.; Cheng, G.; Li, W.; Li, T.; Jiao, J.J. Groundwater-derived land subsidence in the North China Plain. Environ. Earth Sci. 2015, 2, 1415–1427. [Google Scholar] [CrossRef]
 - Zhang, L.; Ge, D.Q.; Guo, X.F.; Wang, Y.; Li, M. Land subsidence in Cangzhou over the last decade based on interferometric time series analysis. Shanghai Land Resour. 2014, 35, 72–75+80. [Google Scholar] [CrossRef]
 - Zhou, Y.; Luo, Y.; Guo, G.X.; Luo, Y.; Lei, K.; Wang, R. A study of the characteristics of land subsidence and the main control factors in the alluvial plain: A case study of Beijing plain. Geol. Bull. China 2016, 35, 2100–2110. [Google Scholar]
 - Zhang, J.J.; Niu, W.M.; Lv, X.W.; Liu, Y.J.; Li, Z.N. Characteristics of land subsidence in an area of long-term groundwater mining in Tianjin. Shanghai Land Resour. 2019, 40, 77–80, 85. [Google Scholar] [CrossRef]
 - Cui, W.J.; Lei, K.C. Some Ideas on Land Subsidence Working from the view of Coordinated Development in Beijing-Tianjin-Hebei Regions. Urban Geogr. 2018, 2, 25–30. [Google Scholar] [CrossRef]
 - Cao, Q.; Chen, B.B.; Gong, H.L.; Zhou, C.F.; Luo, Y.; Gao, M.L.; Wang, X.; Shi, M.; Zhao, X.X.; Zuo, J.J. Monitoring of land subsidence in Beijing-Tianjin-Hebei Urban by combination of SBAS and IPTA. J. Nanjing Univ. Nat. Sci. 2019, 3, 381–391. [Google Scholar] [CrossRef]
 - Gong, H.; Pan, Y.; Zheng, L.; Li, X.; Zhu, L.; Zhang, C.; Huang, Z.; Li, Z.; Wang, H.; Zhou, C. Long-term groundwater storage changes and land subsidence development in the North China Plain (1971–2015). Hydrogeol. J. 2018, 5, 1417–1427. [Google Scholar] [CrossRef]
 - Berardino, P.; Fornaro, G.; Lanari, R.; Sansosti, E. A new algorithm for surface deformation monitoring based on small baseline differential SAR interferograms. IEEE Trans. Geosci. Electron. 2002, 11, 2375–2383. [Google Scholar] [CrossRef]
 - Galloway, D.L.; Hudnut, K.W.; Ingebritsen, S.E.; Phillips, S.P.; Peltzer, G.; Rogez, F.; Rosen, P.A. Detection of aquifer system compaction and land subsidence using interferometric synthetic aperture radar, Antelope Valley, Mojave Desert, California. Water Resour. Res. 1998, 10, 2573–2585. [Google Scholar] [CrossRef]
 - Hooper, A. A multi-temporal InSAR method incorporating both persistent scatterer and small baseline approaches. Geophys. Res. Lett. 2008, 35, 1–5. [Google Scholar] [CrossRef]
 - Gao, M.; Gong, H.; Chen, B.; Zhou, C.; Chen, W.; Liang, Y.; Shi, M.; Si, Y. InSAR time-series investigation of long-term ground displacement at Beijing Capital International Airport. Tectonophysics 2016, 691, 271–281. [Google Scholar] [CrossRef]
 - Ferretti, A.; Prati, C.; Rocca, F. Nonlinear subsidence rate estimation using permanent scatterers in differential SAR interferometry. IEEE Trans. Geosci. Remote Sens. 2000, 5, 2202–2212. [Google Scholar] [CrossRef]
 - Wang, Y.; Bai, Z.; Zhang, Y.; Qin, Y.; Lin, Y.; Li, Y.; Shen, W. Using TerraSAR X-band and Sentinel-1 C-band SAR interferometry for deformation along Beijing-Tianjin Intercity Railway analysis. IEEE J-STARS 2021, 14, 4832–4841. [Google Scholar] [CrossRef]
 - Malik, K.; Kumar, D.; Perissin, D.; Pradhan, B. Estimation of ground subsidence of New Delhi, India using PS-InSAR technique and Multi-sensor Radar data. Adv. Space Res. 2022, 69, 1863–1882. [Google Scholar] [CrossRef]
 - Lu, Z.Z.; Chen, B.B.; Gong, H.L.; Zhou, C.F.; Shi, M.; Cao, J. Evolution Characteristics of Land Subsidence in Beijing Section of Beijing-Tianjin Intercity Railway before and after the South-to-North Water Diversion Project. Geomat. Inf. Sci. Wuhan Univ. 2023, 48, 1–19. [Google Scholar] [CrossRef]
 - Ye, Y.; Yan, C.; Luo, X.; Zhang, R.; Yuan, G. Analysis of ground subsidence along Zhengzhou metro based on time series InSAR. Natl. Remote Sens. Bull. 2022, 26, 1342–1353. [Google Scholar] [CrossRef]
 - Ye, S.J.; Xue, Y.Q.; Zhang, Y.; Li, Q.F.; Wang, H.M. Study on the deformation characteristics of soil layers in regional land subsidence model of Shanghai. Chin. J. Geotech. 2005, 27, 140–147. [Google Scholar] [CrossRef]
 - Luo, Z.J.; Huang, X.R. Three-dimensional full coupling numerical simulation of groundwater exploitation and control of land-subsidence in region. J. Hydrodynam. A 2009, 5, 566–574. [Google Scholar]
 - Zhu, L.; Franceschini, A.; Gong, H.; Ferronato, M.; Dai, Z.; Ke, Y.; Pan, Y.; Li, X.; Wang, R.; Teatini, P. The 3-D Facies and Geomechanical Modeling of Land Subsidence in the Chaobai Plain, Beijing. Water Resour. Res. 2020, 56, e2019WR027026. [Google Scholar] [CrossRef]
 - Tomás, R.; Herrera, G.; Delgado, J.; Lopez-Sanchez, J.; Mallorquí, J.; Mulas, J. A ground subsidence study based on DInSAR data: Calibration of soil parameters and subsidence prediction in Murcia City (Spain). Eng. Geol. 2010, 111, 19–30. [Google Scholar] [CrossRef]
 - Yue, Z.H.; Shen, T.; Mao, X.; Ma, W.J. Study on prediction method of land subsidence based on recurrent neural network. Sci. Surv. Mapp. 2020, 45, 145–152. [Google Scholar] [CrossRef]
 - Edalat, A.; Khodaparast, M.; Rajabi, A.M. Scenarios to control land subsidence using numerical modeling of groundwater exploitation: Aliabad plain (in Iran) as a case study. Environ. Earth Sci. 2020, 21, 1–12. [Google Scholar] [CrossRef]
 - Fan, S.S.; Guo, H.P.; Zhu, J.Y.; Li, W.P. Application of linear regression model for land subsidence prediction in Beijing plain. Chin. J. Geol. Hazard Control 2013, 24, 70–74. [Google Scholar] [CrossRef]
 - Deng, Z.; Ke, Y.H.; Gong, H.L.; Li, X.; Li, Z. Land subsidence prediction in Beijing based on PS-InSAR technique and improved Grey-Markov model. GIsci Remote Sens. 2017, 6, 797–818. [Google Scholar] [CrossRef]
 - Zhao, Z.H.; Hu, X.P.; Sun, H.M.; Zhang, S.X.; Zhang, B. Application of BP Neural Network in Prediction of Ground Settlement in Urban Shield Tunneling. Subgrade Eng. 2020, 4, 170–175. [Google Scholar] [CrossRef]
 - Wang, J.M.; Zhang, J. Deformation Intelligent Prediction Model Based on Gaussian Process Regression and Application. Geomat. Inf. Sci. Wuhan Univ. 2018, 43, 248–254. [Google Scholar] [CrossRef]
 - Arabameri, A.; Saha, S.; Roy, J.; Tiefenbacher, J.P.; Cerda, A.; Biggs, T.; Pradhan, B.; Ngo, P.T.T.; Collins, A.L. A novel ensemble computational intelligence approach for the spatial prediction of land subsidence susceptibility. Sci. Total Environ. 2020, 726, 138595. [Google Scholar] [CrossRef]
 - Guo, H.P.; Li, W.P.; Wang, L.Y.; Chen, Y.; Zang, X.; Wang, Y.; Zhu, J.; Bian, Y. Present situation and research prospects of the land subsidence driven by groundwater levels in the North China Plain. Hydrogeol. Eng. Geol. 2021, 3, 162–171. [Google Scholar] [CrossRef]
 - Wegmüller, U.; Werner, C.; Strozzi, T.; Wiesmann, A. Multi-temporal interferometric point target analysis. In Proceedings of the Analysis of Multi-Temporal Remote Sensing Images-The Second International Workshop, Ispra, Italy, 1 August 2004. [Google Scholar] [CrossRef]
 - Perissin, D.; Wang, Z.Y.; Wang, T. The SARPROZ InSAR tool for urban subsidence/manmade structure stability monitoring in China. In Proceedings of the 34th International Symposium on Remote Sensing of Environment, Sydney, Australia, 10–15 April 2011. [Google Scholar]
 - Huang, N.E.; Zhang, S.; Long, S.R.; Wu, M.C.; Shih, H.H.; Zheng, Q.; Yen, N.C.; Tung, C.C.; Liu, H.H. The empirical mode decomposition and the Hilbert spectrum for nonlinear and non-stationary time series analysis. Proc. R. Soc. Lond. 1998, 454, 903–995. [Google Scholar] [CrossRef]
 - Beckheinrich, J.; Hirrle, A.; Schon, S.; Beyerle, G.; Semmling, M.; Wickert, J. Water level monitoring of the Mekong Delta using GNSS reflectometry technique. In Proceedings of the 2014 IEEE Geoscience and Remote Sensing Symposium, Quebec City, QC, Canada, 13–18 July 2014. [Google Scholar]
 - Rilling, G.; Flandrin, P.; Goncalves, P. On empirical mode decomposition and its algorithms. In Proceedings of the IEEE-EURASIP Workshop on Nonlinear Signal and Image Processing NSIP-03, Grado, Italy, 8–11 June 2003. [Google Scholar]
 - Friedman, J.H. Greedy Function Approximation: A Gradient Boosting Machine. Ann. Stat. 2001, 5, 1189–1232. [Google Scholar] [CrossRef]
 - Wu, W.; Wang, J.; Huang, Y.; Zhao, H.; Wang, X. A novel way to determine transient heat flux based on GBDT machine learning algorithm. Int. J. Heat Mass Transfer. 2021, 179, 121746. [Google Scholar] [CrossRef]
 - Zhang, H.Y.; Wu, W.S.; Wu, H. TOC prediction using a gradient boosting decision tree method: A case study of shale reservoirs in Qinshui Basin. Geoenergy Sci. Eng. 2023, 221, 111271. [Google Scholar] [CrossRef]
 - Zhou, J.; Huang, S.; Tao, M.; Khandelwal, M.; Dai, Y.; Zhao, M. Stability prediction of underground entry-type excavations based on particle swarm optimization and gradient boosting decision tree. Undergr. Space 2023, 9, 234–249. [Google Scholar] [CrossRef]
 - Zhang, X.H.; Ren, X.D.; Wu, F.; Lu, Q. Short-term Prediction of Ionospheric TEC Based on ARIMA Model. J. Geod. Geoinf. Sci. 2019, 2, 9–16. [Google Scholar] [CrossRef]
 - Li, G.H.; Xu, Z.L.; Sun, S.L.; Jing, Z.D. The Influence of Surface Subsidence on Construction of High-speed Railway in North China Plain and Its Countermeasures. J. Railw. 2007, 8, 7–12. [Google Scholar]
 - Xie, H.L.; Xia, Y.B.; Meng, Q.H.; Zhao, C.R.; Ma, Z. Study on land subsidence assessment in evaluation of carrying capacity of geological environment. Geol. Surv. Res. 2019, 2, 104–108. [Google Scholar] [CrossRef]
 








| SAR Sensor | Sentinel-1A (S1A) | 
|---|---|
| Orbit direction | Ascending | 
| Spatial resolution(m) | 5 m × 20 m | 
| Band | C-band | 
| Polarization | VV | 
| Beam Mode | Interferometric Wide swath (IW) | 
| Repeat observation period(day) | 12 | 
| Number of images | 204 | 
| Date range | 14 January 2016–1 September 2020 | 
| Benchmarks Number | PS-InSAR (mm) | Leveling Measurement (mm) | Difference (mm) | 
|---|---|---|---|
| 1 | 2 | 2 | 0 | 
| 2 | 6 | 15 | 9 | 
| 3 | 5 | 9 | 4 | 
| 4 | 26 | 36 | 10 | 
| 5 | 1 | 2 | 1 | 
| 6 | 88 | 89 | 1 | 
| 7 | 79 | 90 | 11 | 
| Model | Parameters | Value | Parameters | Value | 
|---|---|---|---|---|
| EMD-GBDT/GBDT | loss | MSE | max_depth | 2 | 
| learning_Rate | 0.13 | min_samples_split | 6 | |
| n_estimators | 50 | min_samples_leaf | 0.04 | |
| Random Seed | 10 | subsample | 0.85 | 
| Model | EMD-GBDT | GBDT | ARIMA | |||
|---|---|---|---|---|---|---|
| Evaluating indicator | RMSE | MAE | RMSE | MAE | RMSE | MAE | 
| Beijing–Shanghai | 0.47 | 0.29 | 0.49 | 0.30 | 1.16 | 0.90 | 
| Beijing–Tianjin | 0.43 | 0.27 | 0.45 | 0.28 | 0.96 | 0.73 | 
| Beijing–Guangzhou | 0.38 | 0.23 | 0.39 | 0.24 | 0.87 | 0.68 | 
| Tianjin–Baoding | 0.54 | 0.32 | 0.56 | 0.33 | 1.23 | 0.95 | 
| Shijiazhuang–Jinan | 0.56 | 0.38 | 0.59 | 0.4 | 1.43 | 1.15 | 
| Slope Variation Range (‰) | 0–0.02 | 0.02–0.04 | 0.04–0.06 | 0.06–0.08 | 0.08–0.1 | 0.1–0.15 | 
|---|---|---|---|---|---|---|
| Beijing-Shanghai | 83.28 | 13.71 | 2.34 | 0.67 | - | - | 
| Beijing-Guangzhou | 93.65 | 5.82 | 0.53 | - | - | - | 
| Beijing-Tianjin | 93.42 | 5.26 | 0.88 | 0.44 | - | - | 
| Tianjin-Baoding | 60.63 | 19.37 | 9.37 | 2.5 | 5 | 3.13 | 
| Shijiazhuang-Jinan | 69.52 | 23.53 | 5.35 | 1.07 | 0.53 | - | 
Disclaimer/Publisher’s Note: The statements, opinions and data contained in all publications are solely those of the individual author(s) and contributor(s) and not of MDPI and/or the editor(s). MDPI and/or the editor(s) disclaim responsibility for any injury to people or property resulting from any ideas, methods, instructions or products referred to in the content.  | 
© 2023 by the authors. Licensee MDPI, Basel, Switzerland. This article is an open access article distributed under the terms and conditions of the Creative Commons Attribution (CC BY) license (https://creativecommons.org/licenses/by/4.0/).
Share and Cite
Wang, L.; Zhou, C.; Gong, H.; Chen, B.; Xu, X. Land Subsidence Prediction and Analysis along Typical High-Speed Railways in the Beijing–Tianjin–Hebei Plain Area. Remote Sens. 2023, 15, 4606. https://doi.org/10.3390/rs15184606
Wang L, Zhou C, Gong H, Chen B, Xu X. Land Subsidence Prediction and Analysis along Typical High-Speed Railways in the Beijing–Tianjin–Hebei Plain Area. Remote Sensing. 2023; 15(18):4606. https://doi.org/10.3390/rs15184606
Chicago/Turabian StyleWang, Lin, Chaofan Zhou, Huili Gong, Beibei Chen, and Xinyue Xu. 2023. "Land Subsidence Prediction and Analysis along Typical High-Speed Railways in the Beijing–Tianjin–Hebei Plain Area" Remote Sensing 15, no. 18: 4606. https://doi.org/10.3390/rs15184606
APA StyleWang, L., Zhou, C., Gong, H., Chen, B., & Xu, X. (2023). Land Subsidence Prediction and Analysis along Typical High-Speed Railways in the Beijing–Tianjin–Hebei Plain Area. Remote Sensing, 15(18), 4606. https://doi.org/10.3390/rs15184606
        