Accurate Recognition of Building Rooftops and Assessment of Long-Term Carbon Emission Reduction from Rooftop Solar Photovoltaic Systems Fusing GF-2 and Multi-Source Data
Abstract
:1. Introduction
- (1)
- Recognition of building rooftops in complex scenes. In recent years, high-resolution remote sensing images have provided a large variety surface features and rich spatial information for building rooftop recognition [5,6,7]. However, influenced by small targets, multiple sizes, multiple morphologies, and different types of building rooftops, the accuracy of building rooftop recognition is relatively low, with inferior image segmentation [8,9,10,11]. Multi-scale feature information hidden in high-resolution remote sensing images is not fully explored [12,13,14,15,16,17]. How to better extract and fuse multi-level features has become the focus of current research [18,19,20,21];
- (2)
- Estimation of the actual usable area of rooftop solar PV systems, which is affected by multiple factors. First, high-resolution remote sensing images (e.g., GF-2, Sentinel 2, etc.) generally discard building elevation information due to economic and data volume considerations [22]; Second, different PV installations and rooftop types make the classification of rooftops and the estimation of actual usable area a real challenge [23]; Finally, different local subsidy policies can lead to various practical implementations of rooftop solar PV systems. Existing research relies only on empirical parameters with low calculation accuracy [24,25,26,27];
- (3)
- Accurate and long-term assessment of the amount of carbon emission reduction. Single or multiple remote sensing images can only reflect a “snapshot” of PV electricity generation for a short period in a given area. Due to the influence of climate conditions and weather factors, atmospheric condition inversion should be considered in the accurate and long-term assessment of carbon emission reduction due to rooftop solar PV [28,29].
- (1)
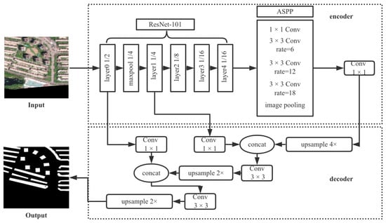
- In order to solve the problem of insufficient extraction and fusion of multi-scale features in building rooftop recognition, this study employed ResNet-101 [30] as the backbone network of DeepLabv3+, to merge multi-scale contextual information of GF-2 images during the upsampling process in the decoding layer;
- (2)
- (3)
- Annual solar radiation for PV electricity generation was modeled via multilayer perceptron (MLP) using regional meteorological data. The long-term carbon emission reduction was then derived under three scenarios: the best, the general, and the worst, considering the transformational relation between the standard coal consumption and CO2 emission factors.
2. Related Works
2.1. Building Rooftop Recognition from Remote Sensing Images
2.2. The Actual Usable Area of Rooftop Solar PV Systems
2.3. Rooftop Solar PV Potential Assessment
3. Methodology
3.1. Building Rooftop Recognition
3.1.1. Encoder
3.1.2. Decoder
3.2. Method for Estimating Usable Area of Rooftop PV
3.2.1. Rooftop Type Classification
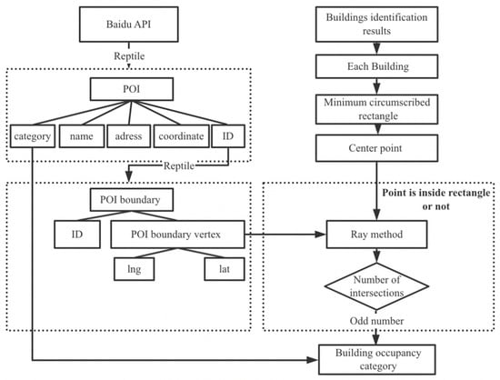
3.2.2. Building Occupancy Classification with POIs
3.2.3. Estimation of Usable Area for Rooftop Solar PV
3.3. Long-Term Carbon Reduction Estimation with Meteorological Data
3.3.1. PV Installation Capacity Estimation
3.3.2. MLP Modeling for Annual Solar Radiation Inversion
3.3.3. CO2 Emission Reduction Estimation
4. Experiments
4.1. Study Area and GF-2 Images
4.2. Building Dataset Construction
4.3. Building Rooftop Identification with improved DeepLabv3+
4.4. Calculation of Usable Area of Rooftop PV
4.4.1. Building Rooftop and Occupancy Classification
4.4.2. Calculations under Different Scenarios of Usable Area of Rooftop Solar PV
4.5. Carbon Reduction of Rooftop Solar PV
4.5.1. Calculation Results of PV Installation Capacity
4.5.2. Solar Radiation Estimation in 2021
4.5.3. Calculation of PV Electricity Generation Capacity and Carbon Emission Reduction
5. Discussion
5.1. The Difference between Existing Works and Our Approach
5.2. Building Rooftop Identification
5.3. Building Rooftops PV Carbon Reduction Estimation
6. Conclusions
Author Contributions
Funding
Conflicts of Interest
References
- Koo, C.; Hong, T.; Lee, M.; Park, H.S. Development of a new energy efficiency rating system for existing residential buildings. Energy Policy 2014, 68, 218–231. [Google Scholar] [CrossRef] [Green Version]
- Lund, H.; Mathiesen, B.V. Energy system analysis of 100% renewable energy systems—The case of Denmark in years 2030 and 2050. Energy 2009, 34, 524–531. [Google Scholar] [CrossRef]
- Bocca, A.; Chiavazzo, E.; Macii, A.; Asinari, P. Solar energy potential assessment: An overview and a fast modeling approach with application to Italy. Renew. Sustain. Energy Rev. 2015, 49, 291–296. [Google Scholar] [CrossRef] [Green Version]
- Planning for Renewable Energy in 13th Five-Year; National Development and Reform Commission: Beijing, China, 2016.
- Zhao, W.; Persello, C.; Stein, A. Building outline delineation: From aerial images to polygons with an improved end-to-end learning framework. ISPRS J. Photogramm. Remote Sens. 2021, 175, 119–131. [Google Scholar] [CrossRef]
- Zhu, Q.; Huang, S.; Hu, H.; Li, H.; Chen, M.; Zhong, R. Depth-enhanced feature pyramid network for occlusion-aware verification of buildings from oblique images. ISPRS J. Photogramm. Remote Sens. 2021, 174, 105–116. [Google Scholar] [CrossRef]
- Wang, M.; Wang, Y.; Li, B.; Cai, Z.; Kang, M. A Population Spatialization Model at the Building Scale Using Random Forest. Remote Sens. 2022, 14, 1811. [Google Scholar] [CrossRef]
- Xu, Y.; Wu, L.; Xie, Z.; Chen, Z. Building extraction in very high resolution remote sensing imagery using deep learning and guided filters. Remote Sens. 2018, 10, 144. [Google Scholar] [CrossRef] [Green Version]
- Schiewe, J. Segmentation of high-resolution remotely sensed data-concepts, applications and problems. Int. Arch. Photogramm. Remote Sens. Spat. Inf. Sci. 2002, 34, 380–385. [Google Scholar]
- Benediktsson, J.A.; Chanussot, J.; Moon, W.M. Very high-resolution remote sensing: Challenges and opportunities. Proc. IEEE 2012, 100, 1907–1910. [Google Scholar] [CrossRef]
- Mahabir, R.; Croitoru, A.; Crooks, A.T.; Agouris, P.; Stefanidis, A. A critical review of high and very high-resolution remote sensing approaches for detecting and mapping slums: Trends, challenges and emerging opportunities. Urban Sci. 2018, 2, 8. [Google Scholar] [CrossRef] [Green Version]
- Long, J.; Shelhamer, E.; Darrell, T. Fully convolutional networks for semantic segmentation. In Proceedings of the IEEE conference on Computer Vision and Pattern Recognition, Boston, MA, USA, 7–12 June 2015; pp. 3431–3440. [Google Scholar]
- Ronneberger, O.; Fischer, P.; Brox, T. U-net: Convolutional networks for biomedical image segmentation. In Proceedings of the International Conference on Medical Image Computing and Computer-Assisted Intervention, Munich, Germany, 5–9 October 2015; Springer: Cham, Switzerland, 2015; pp. 234–241. [Google Scholar]
- Simonyan, K.; Zisserman, A. Very deep convolutional networks for large-scale image recognition. arXiv 2014, arXiv:1409.1556. [Google Scholar]
- Badrinarayanan, V.; Kendall, A.; Cipolla, R. Segnet: A deep convolutional encoder-decoder architecture for image segmentation. IEEE Trans. Pattern Anal. Mach. Intell. 2017, 39, 2481–2495. [Google Scholar] [CrossRef]
- Liu, Y.; Gross, L.; Li, Z.; Li, X.; Fan, X.; Qi, W. Automatic building extraction on high-resolution remote sensing imagery using deep convolutional encoder-decoder with spatial pyramid pooling. IEEE Access 2019, 7, 128774–128786. [Google Scholar] [CrossRef]
- Liu, H.; Luo, J.; Huang, B.; Hu, X.; Sun, Y.; Yang, Y.; Xu, N.; Zhou, N. DE-Net: Deep encoding network for building extraction from high-resolution remote sensing imagery. Remote Sens. 2019, 11, 2380. [Google Scholar] [CrossRef] [Green Version]
- Liu, Y.; Liu, J.; Ning, X.; Li, J. MS-CNN: Multiscale recognition of building rooftops from high spatial resolution remote sensing imagery. Int. J. Remote Sens. 2022, 43, 270–298. [Google Scholar] [CrossRef]
- Zhao, H.; Shi, J.; Qi, X.; Wang, X.; Jia, J. Pyramid scene parsing network. In Proceedings of the IEEE Conference on Computer Vision and Pattern Recognition, Honolulu, HI, USA, 21–26 July 2017; pp. 2881–2890. [Google Scholar]
- Hoffmann, E.J.; Wang, Y.; Werner, M.; Kang, J.; Zhu, X.X. Model fusion for building type classification from aerial and street view images. Remote Sens. 2019, 11, 1259. [Google Scholar] [CrossRef] [Green Version]
- Ding, H.; Jiang, X.; Shuai, B.; Liu, A.Q.; Wang, G. Context contrasted feature and gated multi-scale aggregation for scene segmentation. In Proceedings of the IEEE Conference on Computer Vision and Pattern Recognition, Salt Lake City, UT, USA, 18–23 June 2018; pp. 2393–2402. [Google Scholar]
- Zhong, T.; Zhang, Z.; Chen, M.; Zhang, K.; Zhou, Z.; Zhu, R.; Wang, Y.; Lü, G.; Yan, J. A city-scale estimation of rooftop solar photovoltaic potential based on deep learning. Appl. Energy 2021, 298, 117132. [Google Scholar] [CrossRef]
- Mohajeri, N.; Assouline, D.; Guiboud, B.; Bill, A.; Gudmundsson, A.; Scartezzini, J.L. A city-scale roof shape classification using machine learning for solar energy applications. Renew. Energy 2018, 121, 81–93. [Google Scholar] [CrossRef]
- Vardimon, R. Assessment of the potential for distributed photovoltaic electricity production in Israel. Renew. Energy 2011, 36, 591–594. [Google Scholar] [CrossRef]
- Strzalka, A.; Alam, N.; Duminil, E.; Coors, V.; Eicker, U. Large scale integration of photovoltaics in cities. Appl. Energy 2012, 93, 413–421. [Google Scholar] [CrossRef]
- Nguyen, H.T.; Pearce, J.M.; Harrap, R.; Barber, G. The application of LiDAR to assessment of rooftop solar photovoltaic deployment potential in a municipal district unit. Sensors 2012, 12, 4534–4558. [Google Scholar] [CrossRef] [PubMed]
- Kassner, R.; Koppe, W.; Schüttenberg, T.; Bareth, G. Analysis of the solar potential of roofs by using official lidar data. In Proceedings of the International Society for Photogrammetry, Remote Sensing and Spatial Information Sciences, (ISPRS Congress), Beijing, China, 3–11 July 2008; pp. 399–404. [Google Scholar]
- Ren, J.; Yang, J.; Zhang, Y.; Xiao, X.; Xia, J.C.; Li, X.; Wang, S. Exploring thermal comfort of urban buildings based on local climate zones. J. Clean. Prod. 2022, 340, 130744. [Google Scholar] [CrossRef]
- Zhou, L.; Hu, F.; Wang, B.; Wei, C.; Sun, D.; Wang, S. Relationship between urban landscape structure and land surface temperature: Spatial hierarchy and interaction effects. Sustain. Cities Soc. 2022, 80, 103795. [Google Scholar] [CrossRef]
- He, K.; Zhang, X.; Ren, S.; Sun, J. Deep residual learning for image recognition. In Proceedings of the IEEE Conference on Computer Vision and Pattern Recognition, Las Vegas, NV, USA, 27–30 June 2016; pp. 770–778. [Google Scholar]
- Ballard, D.H. Generalizing the Hough transform to detect arbitrary shapes. Pattern Recognit. 1981, 13, 111–122. [Google Scholar] [CrossRef] [Green Version]
- Canny, J. A computational approach to edge detection. IEEE Trans. Pattern Anal. Mach. Intell. 1986, 6, 679–698. [Google Scholar] [CrossRef]
- Wang, L.; Yan, J.; Mu, L.; Huang, L. Knowledge discovery from remote sensing images: A review. Wiley Interdiscip. Rev. Data Min. Knowl. Discov. 2020, 10, e1371. [Google Scholar] [CrossRef]
- Lin, C.; Nevatia, R. Building detection and description from a single intensity image. Comput. Vis. Image Underst. 1998, 72, 101–121. [Google Scholar] [CrossRef]
- Zhang, J.; Xiao, W.; Zhang, S.; Huang, S. Device-free localization via an extreme learning machine with parameterized geometrical feature extraction. Sensors 2017, 17, 879. [Google Scholar] [CrossRef] [Green Version]
- Katartzis, A.; Sahli, H.; Nyssen, E.; Cornelis, J. Detection of buildings from a single airborne image using a Markov random field model. IGARSS 2001. Scanning the Present and Resolving the Future. In Proceedings of the IEEE 2001 International Geoscience and Remote Sensing Symposium, Sydney, NSW, Australia, 9–13 July 2001; IEEE: New York, NY, USA, 2001; Volume 6, pp. 2832–2834. [Google Scholar]
- Troya-Galvis, A.; Gançarski, P.; Berti-Équille, L. Remote sensing image analysis by aggregation of segmentation-classification collaborative agents. Pattern Recognit. 2018, 73, 259–274. [Google Scholar] [CrossRef]
- Liu, C.; Guo, Z.; Fu, N. Applying a new integrated classification method to monitor shifting mangrove wetlands. In Proceedings of the 2010 International Conference on Multimedia Technology, Ningbo, China, 29–31 October 2010; pp. 1–4. [Google Scholar]
- Blaschke, T.; Hay, G.J.; Kelly, M.; Lang, S.; Hofmann, P.; Addink, E.; Feitosa, R.Q.; Van der Meer, F.; Van der Werff, H.; Van Coillie, F.; et al. Geographic object-based image analysis–towards a new paradigm. ISPRS J. Photogramm. Remote Sens. 2014, 87, 180–191. [Google Scholar] [CrossRef] [Green Version]
- Rawat, W.; Wang, Z. Deep convolutional neural networks for image classification: A comprehensive review. Neural Comput. 2017, 29, 2352–2449. [Google Scholar] [CrossRef] [PubMed]
- Zeiler, M.D.; Fergus, R. Visualizing and understanding convolutional networks. In Proceedings of the European Conference on Computer Vision, Zurich, Switzerland, 6–12 September 2014; Springer: Cham, Switzerland, 2014; pp. 818–833. [Google Scholar]
- Chen, L.C.; Papandreou, G.; Kokkinos, I.; Murphy, K.; Yuille, A.L. Semantic image segmentation with deep convolutional nets and fully connected crfs. arXiv 2014, arXiv:1412.7062. [Google Scholar]
- Liu, P.; Liu, X.; Liu, M.; Shi, Q.; Yang, J.; Xu, X.; Zhang, Y. Building footprint extraction from high-resolution images via spatial residual inception convolutional neural network. Remote Sens. 2019, 11, 830. [Google Scholar] [CrossRef] [Green Version]
- Sherrah, J. Fully convolutional networks for dense semantic labelling of high-resolution aerial imagery. arXiv 2016, arXiv:1606.02585. [Google Scholar]
- Ding, L.; Tang, H.; Liu, Y.; Shi, Y.; Zhu, X.X.; Bruzzone, L. Adversarial shape learning for building extraction in VHR remote sensing images. IEEE Trans. Image Process. 2021, 31, 678–690. [Google Scholar] [CrossRef]
- Shao, Z.; Tang, P.; Wang, Z.; Saleem, N.; Yam, S.; Sommai, C. BRRNet: A fully convolutional neural network for automatic building extraction from high-resolution remote sensing images. Remote Sens. 2020, 12, 1050. [Google Scholar] [CrossRef] [Green Version]
- Ma, J.; Wu, L.; Tang, X.; Liu, F.; Zhang, X.; Jiao, L. Building extraction of aerial images by a global and multi-scale encoder-decoder network. Remote Sens. 2020, 12, 2350. [Google Scholar] [CrossRef]
- Chen, L.C.; Papandreou, G.; Kokkinos, I.; Murphy, K.; Yuille, A.L. Deeplab: Semantic image segmentation with deep convolutional nets, atrous convolution, and fully connected crfs. IEEE Trans. Pattern Anal. Mach. Intell. 2017, 40, 834–848. [Google Scholar] [CrossRef] [Green Version]
- Chen, L.C.; Zhu, Y.; Papandreou, G.; Schroff, F.; Adam, H. Encoder-decoder with atrous separable convolution for semantic image segmentation. In Proceedings of the European Conference on Computer Vision (ECCV), Munich, Germany, 8–14 September 2018; pp. 801–818. [Google Scholar]
- Melius, J.; Margolis, R.; Ong, S. Estimating Rooftop Suitability for PV: A Review of Methods, Patents, and Validation Techniques; NREL: Golden, CO, USA, 2013. [Google Scholar]
- Sun, Y.; Wang, S.; Zhang, X.; Chan, T.O.; Wu, W. Estimating local-scale domestic electricity energy consumption using demographic, nighttime light imagery and Twitter data. Energy 2021, 226, 120351. [Google Scholar] [CrossRef]
- Izquierdo, S.; Rodrigues, M.; Fueyo, N. A method for estimating the geographical distribution of the available roof surface area for large-scale photovoltaic energy-potential evaluations. Sol. Energy 2008, 82, 929–939. [Google Scholar] [CrossRef]
- Szabó, S.; Enyedi, P.; Horváth, M.; Kovács, Z.; Burai, P.; Csoknyai, T.; Szabó, G. Automated registration of potential locations for solar energy production with Light Detection And Ranging (LiDAR) and small format photogrammetry. J. Clean. Prod. 2016, 112, 3820–3829. [Google Scholar] [CrossRef]
- Song, X.; Huang, Y.; Zhao, C.; Liu, Y.; Lu, Y.; Chang, Y.; Yang, J. An approach for estimating solar photovoltaic potential based on rooftop retrieval from remote sensing images. Energies 2018, 11, 3172. [Google Scholar] [CrossRef] [Green Version]
- Li, Z.; Zhang, Z.; Davey, K. Estimating geographical pv potential using lidar data for buildings in downtown san francisco. Trans. GIS 2015, 19, 930–963. [Google Scholar] [CrossRef]
- Snape, J.R. Spatial and temporal characteristics of PV adoption in the UK and their implications for the smart grid. Energies 2016, 9, 210. [Google Scholar] [CrossRef] [Green Version]
- Psomopoulos, C.S.; Ioannidis, G.C.; Kaminaris, S.D.; Mardikis, K.D.; Katsikas, N.G. A comparative evaluation of photovoltaic electricity production assessment software (PVGIS, PVWatts and RETScreen). Environ. Processes 2015, 2, 175–189. [Google Scholar] [CrossRef]
- Sampath, A.; Bijapur, P.; Karanam, A.; Umadevi, V.; Parathodiyil, M. Estimation of rooftop solar energy generation using Satellite Image Segmentation. In Proceedings of the 2019 IEEE 9th International Conference on Advanced Computing (IACC), Tiruchirappalli, India, 13–14 December 2019; pp. 38–44. [Google Scholar]
- Tang, S.; Ding, Y. Dong Mengneng, ye Qiang Potential Analysis of Solar Photovoltaic Power Generation in Chongqing. Chongqing Archit. 2014, 13, 8–11. [Google Scholar]
- Wang, L.Z.; Tan, H.W.; Ji, L.; Wang, D. A method for evaluating photovoltaic potential in China based on GIS platform. IOP Conf. Ser. Earth Environ. Sci. 2017, 93, 012056. [Google Scholar] [CrossRef]
- Siala, K.; Stich, J. Estimation of the PV potential in ASEAN with a high spatial and temporal resolution. Renew. Energy 2016, 88, 445–456. [Google Scholar] [CrossRef]
- Zhao, X.; Huang, G.; Lu, C.; Zhou, X.; Li, Y. Impacts of climate change on photovoltaic energy potential: A case study of China. Appl. Energy 2020, 280, 115888. [Google Scholar] [CrossRef]
- Chen, L.C.; Papandreou, G.; Schroff, F.; Adam, H. Rethinking atrous convolution for semantic image segmentation. arXiv 2017, arXiv:1706.05587. [Google Scholar]
- GB/T 21010-2017; Current Land Use Classification. Standards Press of China: Beijing, China, 2017.
- Baidu Map Open Platform. Available online: https://lbsyun.baidu.com (accessed on 25 March 2022).
- Ministry of Housing and Urban-Rural Development of the People’s Republic of China. Available online: https://www.mohurd.gov.cn/gongkai/fdzdgknr/tzgg/201903/20190315_239764.html (accessed on 17 June 2022).
- Housing and Construction Commission. Available online: https://www.mohurd.gov.cn/ (accessed on 17 June 2022).
- How to Calculate the Power Generation of Photovoltaic Projects. Available online: http://www.pvmen.com/article/4834.html (accessed on 17 June 2022).
- Quick Table of the Best Installation Inclination and Electricity Generation of PV Power Plants in China by Province and City. Available online: https://wenku.baidu.com/view/0916593313a6f524ccbff121dd36a32d7275c776.html (accessed on 25 April 2022).
- China Meterological Administration. Available online: http://www.cma.gov.cn/ (accessed on 17 June 2022).
- China Energy Big Data Report (2021)—Electricity. Available online: https://baijiahao.baidu.com/s?id=1702787204882618585&wfr=spider&for=pc (accessed on 26 April 2022).
- Wang, Z.; Zhu, X. Application of Solar Photovoltaic Power generation technology in green buildings and its energy saving research. Constr. Technol. 2020, 106, 98–102. [Google Scholar] [CrossRef]
- National Meteorological Science Data Center. Available online: http://data.cma.cn/site/article/id/41255.html (accessed on 26 April 2022).
- ArcGIS. Available online: https://www.esri.com/en-us/arcgis/products/arcgis-enterprise/overview (accessed on 26 April 2022).
- Fang, F.; Wu, K.; Zheng, D. Data Set of Typical Urban Building Examples in China; Science Data Bank: Beijing, China, 2021. [Google Scholar] [CrossRef]
- Platt, J. Sequential Minimal Optimization: A Fast Algorithm for Training Support Vector Machines; Microsoft: Washington, DC, USA, 1998. [Google Scholar]
- Hochreiter, S.; Schmidhuber, J. Long short-term memory. Neural Comput. 1997, 9, 1735–1780. [Google Scholar] [CrossRef] [PubMed]
- Joshi, S.; Mittal, S.; Holloway, P.; Shukla, P.R.; Gallachóir, B.Ó.; Glynn, J. High resolution global spatiotemporal assessment of rooftop solar photovoltaics potential for renewable electricity generation. Nat. Commun. 2021, 12, 1–15. [Google Scholar] [CrossRef] [PubMed]
- Huang, T.; Wang, S.; Yang, Q.; Li, J. A GIS-based assessment of large-scale PV potential in China. Energy Procedia 2018, 152, 1079–1084. [Google Scholar] [CrossRef]
- Hou, X.; Wang, B.; Hu, W.; Yin, L.; Wu, H. SolarNet: A deep learning framework to map solar power plants in China from satellite imagery. arXiv 2019, arXiv:1912.03685. [Google Scholar]
- Plakman, V.; Rosier, J.; van Vliet, J. Solar park detection from publicly available satellite imagery. GIScience Remote Sens. 2022, 59, 461–480. [Google Scholar] [CrossRef]
- Fu, K.; Chang, Z.; Zhang, Y.; Xu, G.; Zhang, K.; Sun, X. Rotation-aware and multi-scale convolutional neural network for object detection in remote sensing images. ISPRS J. Photogramm. Remote Sens. 2020, 161, 294–308. [Google Scholar] [CrossRef]
- Deng, Z.; Sun, H.; Zhou, S.; Zhao, J.; Lei, L.; Zou, H. Multi-scale object detection in remote sensing imagery with convolutional neural networks. ISPRS J. Photogramm. Remote Sens. 2018, 145, 3–22. [Google Scholar] [CrossRef]
- National Energy Administration. Available online: http://www.nea.gov.cn/ (accessed on 17 June 2022).














| Region | Subsidy Object | Subsidy |
|---|---|---|
| Beijing | Resident-owned industries | 0.30 RMB/kWh |
| Parks and commercial facilities | 0.30 RMB/kWh | |
| Universities, primary schools and hospitals | 0.40 RMB/kWh | |
| Shanghai | Industries and commerce | 0.25 RMB/kWh |
| Schools | 0.55 RMB/kWh | |
| Individuals and nursing homes | 0.40 RMB/kWh | |
| Yiwu, Zhejiang | Residents | 0.20 RMB/kWh |
| Companies providing space | 0.30 RMB/kWh | |
| Investment companies | 0.10 RMB/kWh | |
| Suzhou, Jiangsu | Parks | 0.10 RMB/kWh |
| Building categories | Public buildings | Education and Training | Higher education institutions, secondary schools, elementary schools, kindergartens, adult education, parent–child education, special education schools, study abroad agencies, research institutions, training institutions, libraries, science and technology centers |
| Medical | General hospitals, specialist hospitals, clinics, pharmacies, medical centers, sanatoriums, emergency centers, and disease control centers | ||
| Transportation Facilities | Airports, train stations, subway stations, coach stations, bus stations | ||
| Government Agencies | Central agencies, governments at all levels, administrative units, public prosecution and law enforcement agencies, foreign-related agencies, party groups, welfare agencies, political education agencies | ||
| Sports and Fitness | Stadiums, extreme sports venues, fitness centers | ||
| Tourist Attractions | Parks, zoos, botanical gardens, amusement parks, museums, aquariums, seaside baths, heritage sites, churches, scenic spots | ||
| Commercial buildings | Food | Chinese restaurants, foreign restaurants, snack and fast-food restaurants, cake and dessert stores, cafes, cafeterias, bars | |
| Hotels | Star hotels, fast hotels, apartment hotels | ||
| Shopping | Shopping centers, department stores, supermarkets, convenience stores, home building materials, home appliances and digital, stores, bazaars | ||
| Company Enterprise | Companies, campuses | ||
| Beauty | Beauty, hairdressing, nail care, body care | ||
| Residential buildings | Real Estate | Office buildings, residential areas, dormitories, neighborhoods, villages |
| Acc (%) | F1-Score (%) | |
|---|---|---|
| improved DeepLabv3+ | 95.56 | 82.55 |
| traditional DeepLabv3+ | 94.51 | 81.61 |
| Rooftop Numbers | Public | Commercial | Residential |
|---|---|---|---|
| Number of terrace rooftops | 868 | 4735 | 5288 |
| Number of pitched rooftops | 125 | 520 | 727 |
| Total | 993 | 5256 | 6017 |
| Usable Area of Rooftop | The Best | The General | The Worst |
|---|---|---|---|
| Usable area of terrace rooftop | 48.67 | 38.19 | 4.02 |
| Usable area of pitched rooftop | 3.64 | 2.78 | 0.28 |
| Total | 52.31 | 40.97 | 4.30 |
| Capacity | The Best | The General | The Worst |
|---|---|---|---|
| Terrace rooftops | 589.20 | 462.33 | 48.67 |
| Pitched rooftops | 53.79 | 41.01 | 4.13 |
| Total | 642.99 | 503.34 | 52.80 |
| Parameter | Hidden_Layer_Sizes | Activation | Solver | Alpha |
|---|---|---|---|---|
| Setting | (20, 10) | relu | lbfgs | 0.0001 |
| Kernel | C | Gama |
|---|---|---|
| rbf | 1.0 | 0.5 |
| Hidden_Size | Activation | Input_Shape |
|---|---|---|
| 50.0 | relu | (2, 1) |
| Models | R2 | RMSE | MAE |
|---|---|---|---|
| MLP | 0.94 | 0.08 | 0.06 |
| SVM | 0.91 | 0.13 | 0.10 |
| LSTM | 0.62 | 1.13 | 0.89 |
| Electricity Generation | The Best | The General | The Worst |
|---|---|---|---|
| Terrace rooftops | 93.57 | 73.42 | 7.72 |
| Pitched rooftops | 8.54 | 6.51 | 0.66 |
| Total | 102.11 | 79.93 | 8.38 |
| Carbon Reduction | The Best | The General | The Worst |
|---|---|---|---|
| PV Carbon Reduction | 770.51 | 603.14 | 63.23 |
Publisher’s Note: MDPI stays neutral with regard to jurisdictional claims in published maps and institutional affiliations. |
© 2022 by the authors. Licensee MDPI, Basel, Switzerland. This article is an open access article distributed under the terms and conditions of the Creative Commons Attribution (CC BY) license (https://creativecommons.org/licenses/by/4.0/).
Share and Cite
Lin, S.; Zhang, C.; Ding, L.; Zhang, J.; Liu, X.; Chen, G.; Wang, S.; Chai, J. Accurate Recognition of Building Rooftops and Assessment of Long-Term Carbon Emission Reduction from Rooftop Solar Photovoltaic Systems Fusing GF-2 and Multi-Source Data. Remote Sens. 2022, 14, 3144. https://doi.org/10.3390/rs14133144
Lin S, Zhang C, Ding L, Zhang J, Liu X, Chen G, Wang S, Chai J. Accurate Recognition of Building Rooftops and Assessment of Long-Term Carbon Emission Reduction from Rooftop Solar Photovoltaic Systems Fusing GF-2 and Multi-Source Data. Remote Sensing. 2022; 14(13):3144. https://doi.org/10.3390/rs14133144
Chicago/Turabian StyleLin, Shaofu, Chang Zhang, Lei Ding, Jing Zhang, Xiliang Liu, Guihong Chen, Shaohua Wang, and Jinchuan Chai. 2022. "Accurate Recognition of Building Rooftops and Assessment of Long-Term Carbon Emission Reduction from Rooftop Solar Photovoltaic Systems Fusing GF-2 and Multi-Source Data" Remote Sensing 14, no. 13: 3144. https://doi.org/10.3390/rs14133144
APA StyleLin, S., Zhang, C., Ding, L., Zhang, J., Liu, X., Chen, G., Wang, S., & Chai, J. (2022). Accurate Recognition of Building Rooftops and Assessment of Long-Term Carbon Emission Reduction from Rooftop Solar Photovoltaic Systems Fusing GF-2 and Multi-Source Data. Remote Sensing, 14(13), 3144. https://doi.org/10.3390/rs14133144

