An Innovative Index for Evaluating Urban Vulnerability on Pandemic Using LambdaMART Algorithm
Abstract
1. Introduction
2. Literature Review
3. Materials and Methods
3.1. Situation of Japan
3.2. Data Source and Software
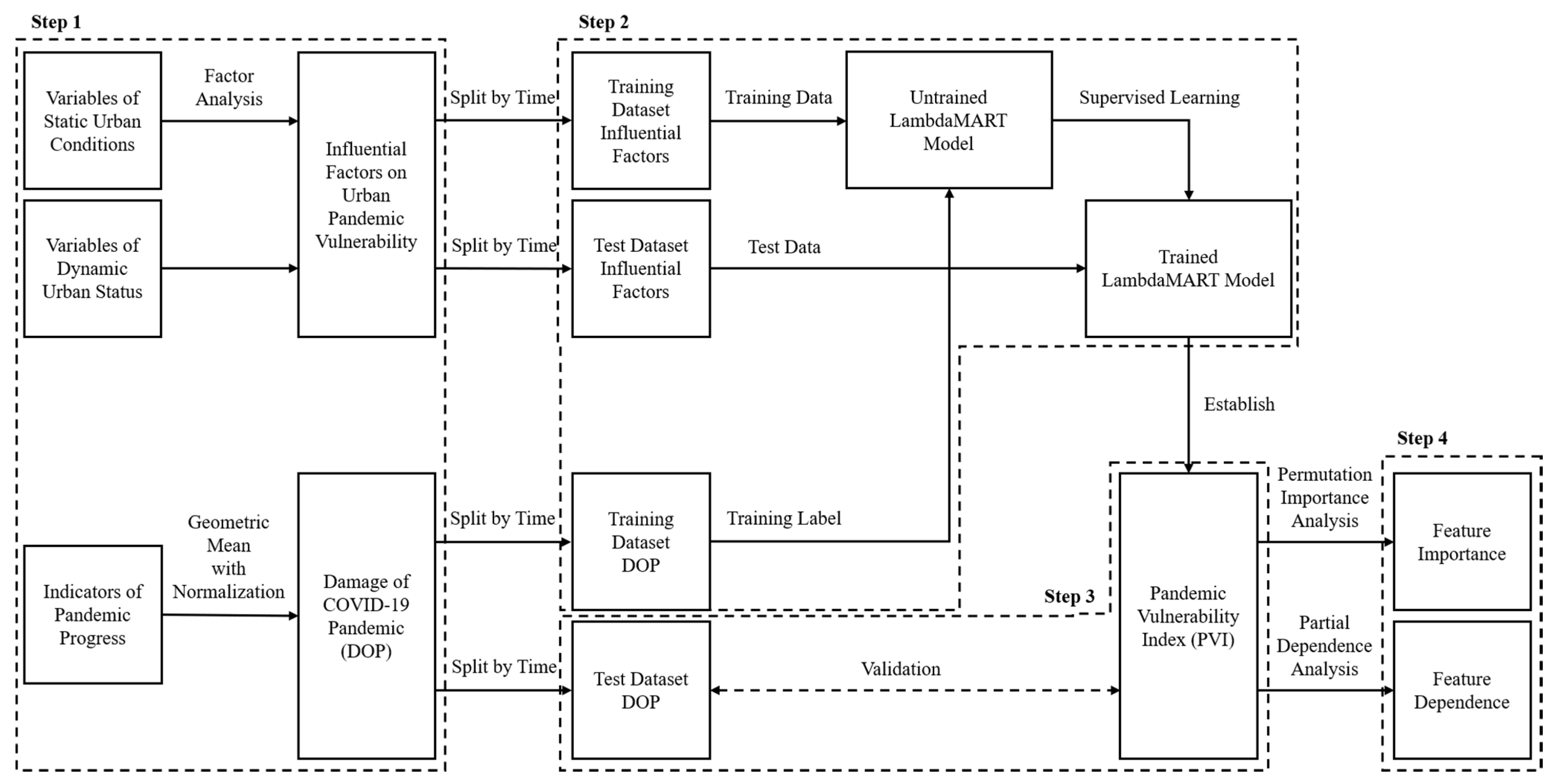
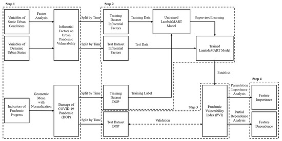
3.3. Pandemic Vulnerability Index
- Extracting influential factors related to urban pandemic vulnerability through Factor Analysis and calculating a Damage of COVID-19 Pandemic (DOP) score for the pandemic;
- Using the urban factors and DOP score as data and labels, respectively, to supervise the training of a LambdaMART model;
- Using the trained LambdaMART model to establish the PVI, and evaluating the PVI’s performance on the validation dataset;
- Analyzing the PVI to reveal critical factors regarding urban pandemic vulnerability.
3.3.1. Influential Variables on Vulnerability
3.3.2. Damage of COVID-19 Pandemic
3.3.3. LambdaMART Model
3.3.4. Training and Validation
4. Results
4.1. Variables Selection
- Demographic Variables. Intuitively, the scale of a city is closely related to the spread of infectious diseases, and overpopulated cities are more vulnerable to a pandemic. Variables such as urban built-up area population density are included.
- Economic Variables. Active economic activity means that more urban resources can be mobilized to counter pandemics, and diseases are more easily spread. Fiscal expenditures closely related to economic activities contribute to improved medical and public facilities.
- Mobility indicators. Population movement between different regions provides conditions for the pandemic, including the inflow and outflow of the population, the proportion of the daytime population, etc.
- Spatial Variables. The spatial structure of different cities is the most important factor that constitutes the difference in urban internal spatial activities. The proportions of various land-use types are included.
- Medical Variables. Medical and health services will also affect the spread of infectious diseases in cities. This includes the number of service facilities, the number of medical practitioners and related financial expenditures, etc.
- Vitality Variables. The number of people active in different urban areas is compared with the baseline value of February 2020, which can help characterize the urban vitality changes that reflect residents’ reactions to the pandemic. Urban functioning areas is classified into six types: retail and recreation, grocery and pharmacy, parks, transit stations, workplaces, and residential areas.
- Policy Variables. Whether a prefecture announces Emergency Status (Japanese: 緊急事態宣言) or takes Key Measures for Spread Prevention (Japanese: まん延防止等重点措置) are used as binary variables to describe the policy reaction. Whether the day is a holiday or weekend is also included.
- Pandemic variables. The six indicators mentioned in Section 3.3.2 are included when calculating the DOP score.
4.2. Factor Analysis
4.3. Model Performance
4.4. Feature Importance and Dependence
5. Conclusions and Discussion
- This research established a Pandemic Vulnerability Index that can indicate relative urban vulnerability and incorporate dynamic factors into indicator construction.
- LambdaMART is efficient in constructing a relative ranking index for urban vulnerability and can predict infection development with high precision. Accurate short-term forecasts help to take advance measures and help with preparation.
- Feature importance and dependence analysis emphasize city-scale and transit station vitality when evaluating urban pandemic vulnerability.
Supplementary Materials
Author Contributions
Funding
Institutional Review Board Statement
Informed Consent Statement
Data Availability Statement
Acknowledgments
Conflicts of Interest
References
- Sharifi, A. The COVID-19 Pandemic: Lessons for Urban Resilience. In COVID-19: Systemic Risk and Resilience; Linkov, I., Keenan, J.M., Trump, B.D., Eds.; Springer International Publishing: Cham, Switzerland, 2021; pp. 285–297. [Google Scholar]
- Romero Lankao, P.; Qin, H. Conceptualizing urban vulnerability to global climate and environmental change. Curr. Opin. Environ. Sustain. 2011, 3, 142–149. [Google Scholar] [CrossRef]
- Mishra, S.V.; Gayen, A.; Haque, S.M. COVID-19 and urban vulnerability in India. Habitat Int. 2020, 103, 102230. [Google Scholar] [CrossRef] [PubMed]
- Enright, T.; Ward, K. Governing urban infrastructures under pandemic conditions: Some thoughts. Urban Geogr. 2021, 42, 1023–1032. [Google Scholar] [CrossRef]
- Rufat, S. Spectroscopy of Urban Vulnerability. Ann. Assoc. Am. Geogr. 2013, 103, 505–525. [Google Scholar] [CrossRef]
- Rasch, R.J. Assessing urban vulnerability to flood hazard in Brazilian municipalities. Environ. Urban. 2015, 28, 145–168. [Google Scholar] [CrossRef]
- Hoekman, L.M.; Smits, M.M.V.; Koolman, X. The Dutch COVID-19 approach: Regional differences in a small country. Health Policy Technol. 2020, 9, 613–622. [Google Scholar] [CrossRef]
- Azzolina, D.; Lorenzoni, G.; Silvestri, L.; Prosepe, I.; Berchialla, P.; Gregori, D. Regional Differences in Mortality Rates During the COVID-19 Epidemic in Italy. Disaster Med. Public Health Prep. 2020, 1–7. [Google Scholar] [CrossRef]
- UN Habitat. COVID-19 Response Report; UN Habitat: Nairobi, Kenya, 2020. [Google Scholar]
- Salas, J.; Yepes, V. Urban vulnerability assessment: Advances from the strategic planning outlook. J. Clean. Prod. 2018, 179, 544–558. [Google Scholar] [CrossRef]
- Rigillo, M.; Cervelli, E. Mapping Urban Vulnerability: The Case Study of Gran Santo Domingo, Dominican Republic. Adv. Eng. Forum 2014, 11, 142–148. [Google Scholar] [CrossRef]
- Prieto, J.; Malagón, R.; Gomez, J.; León, E. Urban Vulnerability Assessment for Pandemic Surveillance—The COVID-19 Case in Bogotá, Colombia. Sustainability 2021, 13, 3402. [Google Scholar] [CrossRef]
- Shi, C.; Liao, L.; Li, H.; Su, Z. Which urban communities are susceptible to COVID-19? An empirical study through the lens of community resilience. BMC Public Health 2022, 22, 70. [Google Scholar] [CrossRef] [PubMed]
- Sharifi, A.; Khavarian-Garmsir, A.R. The COVID-19 pandemic: Impacts on cities and major lessons for urban planning, design, and management. Sci. Total Environ. 2020, 749, 142391. [Google Scholar] [CrossRef] [PubMed]
- Sharma, A.; Borah, S.B. COVID-19 and Domestic Violence: An Indirect Path to Social and Economic Crisis. J. Fam. Violence 2020. [Google Scholar] [CrossRef] [PubMed]
- Jardim, B.; Castro Neto, M.d.; Alpalhão, N.; Calçada, P. The daily urban dynamic indicator: Gauging the urban dynamic in Porto during the COVID-19 pandemic. Sustain. Cities Soc. 2022, 79, 103714. [Google Scholar] [CrossRef]
- TV-Asahi. The Number of Newly Infected People Exceeds 4500 Nationwide, Which Is the Highest in Tokyo and 5 Other Prefectures. 2021.01.01. 2021. Available online: https://news.tv-asahi.co.jp/news_society/articles/000202838.html (accessed on 22 March 2022).
- Okinawa Times. Okinawa Infection “the Most Experienced in Japan in the Past” The Maximum Number of Recuperators Was 2208. 2021.05.28. 2021. Available online: https://www.okinawatimes.co.jp/articles/-/760946 (accessed on 22 March 2022).
- Zawbaa, H.M.; El-Gendy, A.; Saeed, H.; Osama, H.; Ali, A.M.A.; Gomaa, D.; Abdelrahman, M.; Harb, H.S.; Madney, Y.M.; Abdelrahim, M.E.A. A study of the possible factors affecting COVID-19 spread, severity and mortality and the effect of social distancing on these factors: Machine learning forecasting model. Int. J. Clin. Pract. 2021, 75, e14116. [Google Scholar] [CrossRef]
- Pan, Y.; Zhang, L.; Yan, Z.; Lwin, M.O.; Skibniewski, M.J. Discovering optimal strategies for mitigating COVID-19 spread using machine learning: Experience from Asia. Sustain. Cities Soc. 2021, 75, 103254. [Google Scholar] [CrossRef]
- Ministry of Land Infrastructure Transport and Tourism. National Land Numerical Information. Available online: https://nlftp.mlit.go.jp/ksj/ (accessed on 7 March 2022).
- Ministry of Health Labour and Welfare. COVID-19 Trends & Current Situation. Available online: https://www.mhlw.go.jp/stf/covid-19/kokunainohasseijoukyou_00006.html (accessed on 7 March 2022).
- Ministry of Health Labour and Welfare. Indicators to Assess the Level of Community Transmission. Available online: https://covid19.mhlw.go.jp/extensions/public/en/index2.html (accessed on 7 March 2022).
- Google. Community Mobility Reports. Available online: https://www.google.com/covid19/mobility/ (accessed on 7 March 2022).
- ESRI. Coronavirus Support Site. Available online: https://coronavirus-esrijapan-ej.hub.arcgis.com/ (accessed on 7 March 2022).
- Takano, T.; Nakamura, K. An analysis of health levels and various indicators of urban environments for Healthy Cities projects. J Epidemiol. Community Health 2001, 55, 263–270. [Google Scholar] [CrossRef]
- Ison, E. The introduction of health impact assessment in the WHO European Healthy Cities Network. Health Promot. Int. 2009, 24, i64–i71. [Google Scholar] [CrossRef][Green Version]
- Webster, P.; Sanderson, D. Healthy Cities indicators—A suitable instrument to measure health? J. Urban Health 2013, 90, 52–61. [Google Scholar] [CrossRef]
- Pineo, H.; Glonti, K.; Rutter, H.; Zimmermann, N.; Wilkinson, P.; Davies, M. Urban Health Indicator Tools of the Physical Environment: A Systematic Review. J. Urban Health 2018, 95, 613–646. [Google Scholar] [CrossRef]
- Hu, M.; Roberts, J.D.; Azevedo, G.P.; Milner, D. The role of built and social environmental factors in Covid-19 transmission: A look at America’s capital city. Sustain. Cities Soc. 2021, 65, 102580. [Google Scholar] [CrossRef]
- Harman, H.H. Modern Factor Analysis; University of Chicago Press: Chicago, IL, USA, 1976. [Google Scholar]
- Greco, S.; Ishizaka, A.; Tasiou, M.; Torrisi, G. On the Methodological Framework of Composite Indices: A Review of the Issues of Weighting, Aggregation, and Robustness. Soc. Indic. Res. 2018, 141, 61–94. [Google Scholar] [CrossRef]
- Boettke, P.; Powell, B. The political economy of the COVID-19 pandemic. South. Econ. J. 2021, 87, 1090–1106. [Google Scholar] [CrossRef] [PubMed]
- Rothenberg, R.; Weaver, S.R.; Dai, D.; Stauber, C.; Prasad, A.; Kano, M. A flexible urban health index for small area disparities. J. Urban Health 2014, 91, 823–835. [Google Scholar] [CrossRef]
- Burges, C.J. From ranknet to lambdarank to lambdamart: An overview. Learning 2010, 11, 81. [Google Scholar]
- Prasad, A.M.; Iverson, L.R.; Liaw, A. Newer classification and regression tree techniques: Bagging and random forests for ecological prediction. Ecosystems 2006, 9, 181–199. [Google Scholar] [CrossRef]
- Lauer, S.A.; Grantz, K.H.; Bi, Q.; Jones, F.K.; Zheng, Q.; Meredith, H.R.; Azman, A.S.; Reich, N.G.; Lessler, J. The Incubation Period of Coronavirus Disease 2019 (COVID-19) From Publicly Reported Confirmed Cases: Estimation and Application. Ann. Intern. Med. 2020, 172, 577–582. [Google Scholar] [CrossRef]
- Corner, S. Choosing the right type of rotation in PCA and EFA. JALT Test. Eval. SIG Newsl. 2009, 13, 20–25. [Google Scholar]
- Devaraj, J.; Madurai Elavarasan, R.; Pugazhendhi, R.; Shafiullah, G.M.; Ganesan, S.; Jeysree, A.K.; Khan, I.A.; Hossain, E. Forecasting of COVID-19 cases using deep learning models: Is it reliable and practically significant? Results Phys. 2021, 21, 103817. [Google Scholar] [CrossRef]
- Breiman, L. Random Forests. Mach. Learn. 2001, 45, 5–32. [Google Scholar] [CrossRef]
- Salas, J.; Yepes, V. VisualUVAM: A Decision Support System Addressing the Curse of Dimensionality for the Multi-Scale Assessment of Urban Vulnerability in Spain. Sustainability 2019, 11, 2191. [Google Scholar] [CrossRef]










| Type | Indicator | Unit |
|---|---|---|
| Medical care provision | Secured bed usage rate | % |
| Number of recuperates | Per 100,000 people | |
| Positive rate in PCR test | Per 100,000 people | |
| Monitoring system | Number of new infection cases | % |
| Infection status | Number of new infection cases; week-on-week ratio | - |
| Unknown infection route rate | % |
| Factor | Describe | Name |
|---|---|---|
| 0 | Positive load on the number of households and population density | City Size |
| 1 | Positive load on the number of medical facilities and medical staff | Medical Facilities |
| 2 | Positive load of the proportion of the adolescent population Negative load of death | Age Structure |
| 3 | Positive load of the complete unemployment rate Negative load of employment rate | Unemployment |
| 4 | Positive load of the number of cultural facilities such as museums | Cultural Facilities |
| 5 | Negative load of sunshine time, Positive load of annual precipitation | Precipitation |
| 6 | Negative load of population exodus Positive load of industrial land ration | Industry |
| 7 | Negative load of population ratio in densely populated areas | Decentralization |
| 8 | Negative load of the commercial land ratio | Commerce |
| Hyperparameters | Value |
|---|---|
| Boosting type | GBDT |
| Number of leaves | 15 |
| Learning rate | 0.05 |
| N estimators | 100 |
| Subsample | 0.8 |
Publisher’s Note: MDPI stays neutral with regard to jurisdictional claims in published maps and institutional affiliations. |
© 2022 by the authors. Licensee MDPI, Basel, Switzerland. This article is an open access article distributed under the terms and conditions of the Creative Commons Attribution (CC BY) license (https://creativecommons.org/licenses/by/4.0/).
Share and Cite
Lin, Y.; Shen, Z. An Innovative Index for Evaluating Urban Vulnerability on Pandemic Using LambdaMART Algorithm. Sustainability 2022, 14, 5053. https://doi.org/10.3390/su14095053
Lin Y, Shen Z. An Innovative Index for Evaluating Urban Vulnerability on Pandemic Using LambdaMART Algorithm. Sustainability. 2022; 14(9):5053. https://doi.org/10.3390/su14095053
Chicago/Turabian StyleLin, Yuming, and Zhenjiang Shen. 2022. "An Innovative Index for Evaluating Urban Vulnerability on Pandemic Using LambdaMART Algorithm" Sustainability 14, no. 9: 5053. https://doi.org/10.3390/su14095053
APA StyleLin, Y., & Shen, Z. (2022). An Innovative Index for Evaluating Urban Vulnerability on Pandemic Using LambdaMART Algorithm. Sustainability, 14(9), 5053. https://doi.org/10.3390/su14095053

