Next Article in Journal
Review on Development and Research of Underwater Capacitive Power Transfer
Next Article in Special Issue
Cleaning Schedule Optimization of Heat Exchangers with Fouling on Tube and Shell Sides: A Metaheuristic Approach
Previous Article in Journal
Asymmetric Hairpin Winding Design for Losses Reduction with Thermal Analysis for an Electric Vehicle Case Study
Previous Article in Special Issue
Assessment of Tube–Fin Contact Materials in Heat Exchangers: Guidelines for Simulation and Experiments
 
 
Font Type:
Arial Georgia Verdana
Font Size:
Aa Aa Aa
Line Spacing:
Column Width:
Background:
Article

Effects of Structure Parameters of Gravity-Type Heat Pipe on Heat Transfer Characteristics for Waste Heat Recovery from Mine Return Air

1
School of Mechanical and Electrical Engineering, China University of Mining and Technology Beijing, Beijing 100083, China
2
Beijing Zhongkuang Celebrate Energy Saving Technology Co., Ltd., Beijing 100085, China
*
Author to whom correspondence should be addressed.
Energies 2024, 17(24), 6495; https://doi.org/10.3390/en17246495
Submission received: 11 November 2024 / Revised: 19 December 2024 / Accepted: 21 December 2024 / Published: 23 December 2024
(This article belongs to the Special Issue Heat Transfer in Heat Exchangers)

Abstract

In the condition of waste heat recovery from mine return air with a temperature of 20~30 °C and velocity about 4 to 8 m/s, the structure of gravity-type heat pipe with fin increases the heat exchange areas and meanwhile increases the resistance of air flow, which consumes a large amount of main fan power driven by a motor. Furthermore, the resistance of air flow increases greatly with the velocity of the air flow. In this paper, the gravity-type heat pipe with elliptical smooth surface is studied to decrease the resistance and loss of energy of the air flow. In order to obtain the influence of ellipticity on heat transfer efficiency and energy loss under the condition of a certain heat transfer area of the heat pipe, the heat transfer efficiency of a single pipe and a pipe bundle with different ellipticities is studied by using numerical simulation based on the equal section perimeter. The results show that the reasonable change of ellipticity can increase specific enthalpy and decrease entropy production. When the pipe is single, the ellipticity is 0.56 and the specific enthalpy is the largest, increasing by 12.08%. The ellipticity of the pipe bundle is 0.61, and the specific enthalpy is the largest, increasing by 19.28%. The entropy production slightly increased by 10.4%. Moreover, the empirical formula of single pipe heat transfer with an error less than 5% and the empirical formula of pipe bundle heat transfer with an error less than 2.2% are obtained. The empirical formula of pipe bundle heat transfer at different temperatures is modified, and the error is less than 5%, which provides the fundamental data for deep research, development, and engineering design of gravity-type heat pipe heat energy exchange system of underground return airflow in coal mines.

1. Introduction

The heat transfer technology of gravity-type heat pipe belongs to the category of unpowered heat transfer, with low operating costs, minimal maintenance, and strong heat transfer performance. When gravity-type heat pipe is used for waste heat recovery from mine return air, it shows great advantages of green environmental protection, safety, and reliability. Mine ventilation is the only way to keep the underground air fresh, discharge harmful gas in time, and provide a guarantee for the normal work of people and equipment. In the past, a coal-fired boiler was used to heat the fresh air before entering the mine of a cold area in winter, so as to prevent the production from being affected by freezing due to a too low temperature. At the same time, a large fan was used at the mine outlet to suck the return air containing geothermal energy from the underground working face and roadway. The underground mining depth of a coal mine is hundreds of meters, and the underground temperature is as high as 20 to 30 °C. When the return air reaches the ground, the temperature is still more than 20 degrees, which contains a lot of heat energy. It is very challenging research to use a heat pipe exchanger to extract heat energy from mine return air and use this part of heat energy to preheat fresh air directly, instead of a traditional coal-fired boiler to heat fresh air, so as to reduce coal-fired air pollution. Many scholars conducted systematic and in-depth research through parameter analysis, optimization, and experimental methods to enhance the heat transfer capacity of the gravity heat pipe [1,2,3,4,5,6,7,8,9,10,11]. Some scholars used FLUENT software to simulate heat transfer systems with heat pipes under air flow conditions [12,13], in which they focused on analyzing the heat transfer capacity of the heat pipe heat exchanger under different flow fields. Our research team has carried out a lot of research [14,15] in the early stage, established the heat exchange model of mine return air and the heat tube, performed experimental verification in a lab, and then, completed practical testing of four typical application cases of gravity heat pipes in mine return air waste heat recovery.
The existing research work and achievements in improving the heat transfer performance of heat pipes are, on the one hand, research on the intrinsic characteristics of heat pipes, and on the other hand, research on the geometric parameters of heat pipes. Compared with changing the intrinsic characteristics of a heat pipe exchanger, it has higher flexibility and universality for changing the geometric parameters of heat pipes. However, most of the existing research focuses on the change of fin shape and pipe bundle arrangement, including square, circular, triangular, and spiral fins [16,17,18,19,20,21,22,23,24,25]. The arrangement of in-line and staggered pipe bundles is also discussed according to different research criteria, such as equidistant and equal porosity [26,27]. However, there are few research studies on the change of the cross-section shape of heat pipes.
J. V. Simo Tala et al. [28] studied the effects of three shapes of uniform cross-section pipes (from circular to elliptical) on the thermal hydraulic characteristics and entropy yield of the air side. The results show that the thermal hydraulic performance is improved by 80%, and thermal irreversibility and viscous irreversibility are reduced by 15% and 50%, respectively. Horvat et al. [29] made a numerical comparison of heat transfer conditions of staggered circular, elliptical, and wing pipes. The ratio of pipe spacing to pipe diameter changed from 1.125 to 2. The results show that the resistance coefficient and Stanton number of elliptical pipes and wing pipes are lower than those of circular pipes. Tao et al. [30] carried out a three-dimensional numerical study on the laminar heat transfer and fluid flow characteristics of elliptical and circular pipe corrugated fin heat exchangers using a body-fitted coordinate system. The arrangement of the circular pipe with the same short axis and the elliptic pipe (ellipticity is 0.6) is compared. The results show that the maximum relative heat transfer gain of the elliptical pipe can reach 30%. Matos et al. [31] numerically studied the forced convection heat transfer in staggered circular and elliptical pipes at Reynolds numbers of 300–800. They found that the overall performance of the oval arrangement was better than that of the circular arrangement. Rocha et al. [32] established theoretical models for one row and two rows of pipe and plate fin heat exchangers to study the fin efficiency of circular and elliptical pipes (ellipticity is 0.5 and 0.65). The results show that the heat transfer efficiency of elliptical pipe fin is 18% higher than that of circular pipe fin. Li et al. [33] used the finite volume method to numerically calculate the resistance and convective heat transfer coefficient along the outer surface of a cylinder, an elliptic cylinder, and a lens cylinder with constant short axis length and long to short axis ratio of 0.3, 0.5, and 0.8, respectively, when the cross flow Reynolds number is 500–10,000. The results show that the resistance of an elliptical cylinder and an lens cylinder are similar and smaller than that of a lens cylinder.
It can be seen that the geometric parameters of heat pipe section have great influence on heat transfer, resistance, and pressure. Under certain reasonable conditions, the heat transfer efficiency can be increased, and the flow resistance [28,32] can be reduced. If the ellipticity of the cross-section of the heat pipe is reasonably changed to make the shape of the heat pipe tend to streamline, the flow resistance of the fluid can be reduced, and the energy loss degree can be reduced, which has a beneficial impact on the heat exchange efficiency of the heat exchanger.
However, most of the research on the elliptical pipe shape is carried out by single or a few scholars. The research objects are small and medium-sized pipe heat exchangers, and the size and external conditions are very different from the mine return air heat exchanger, and most of the changes are based on the constant cross-sectional area or short axis length [29,32]. According to the basic theory of heat transfer, the heat transfer efficiency is related to the heat transfer area and the geometric characteristic length of the fluid passing through the heat pipe. In the heat pipe heat exchanger, because the medium used in the heat pipe has better heat transfer efficiency than the medium in the ordinary heat exchanger, the change of the heat exchange area has a greater impact on the heat transfer efficiency of the heat pipe than the ordinary pipe. If the ellipticity is changed when the cross-section area is fixed, the heat transfer area and geometric characteristic length will change, and the analysis results under a single variable cannot be obtained. Moreover, the reduction of ellipticity will increase the heat exchange area. From the engineering point of view, not only is the processing difficulty increased, but also the required pipe materials are increased. Therefore, this paper considers changing the ellipticity when the cross-section of the heat pipe is equal to the circumference, so that the influence of ellipticity on the heat transfer efficiency and energy loss can be obtained under the condition that the heat exchange area of the heat pipe is fixed.
In recent years, some research on the application of waste energy has been done. Jouhara et al. designed a heat pipe heat exchanger (HPHE) for recovering waste heat from the thermal processing of liquid aluminum and developed a theoretical modeling tool to predict the thermal performance of the HPHE. The experimental results showed a deviation range of ±20%, providing guidance for the design of heat pipe heat exchangers in the aluminum industry [33]. To reduce the heat loss caused by high-temperature exhaust emissions from internal combustion engines and improve the utilization of exhaust heat, Guo et al. developed constant curvature heat exchangers with baffles and variable curvature heat exchangers. Using computational fluid dynamics (CFD) software, numerical simulations were conducted to study the relationship between the heat exchange intensity and flow resistance of the working fluid and to optimize the heat exchanger design. The results show that the PEC evaluation index of the heat exchanger is optimal when the spiral diameter of the heat exchange tube is 120 mm. Additionally, as the tube diameter and pitch increase, the overall performance of the heat exchanger decreases [34]. Shah Faisal et al. proposed a process for producing methanol using the waste heat from the flue gases emitted by natural gas power plants. The novel method is implemented through computer-aided simulation using the Aspen HYSYS software. Parametric study results demonstrate that reducing the gas turbine pressure and increasing the working fluid temperature in the evaporator of the absorption chiller cycle lead to improved exergy efficiency. The study mainly focused on the overall system performance, but it did not include a detailed analysis of the internal flow field of the flue gas heat exchanger [35]. Haseeb Tariq et al. developed an improved counterflow heat exchanger for recovering waste heat from engine exhaust gases and conducted computational fluid dynamics (CFD) simulations by using ANSYS Fluent with k-omega turbulence model for exhaust flow. The results showed that adding fins increased the effectiveness by approximately 22% compared to the model without fins; adding 0.1% graphene oxide nanoparticles improved the effectiveness by up to 7%; and reducing the heat fluid velocity from 6 m/s to 2 m/s enhanced the effectiveness by about 33.3%, while also lowering the outlet temperature by 100 K. The study mainly focused on the thermal utilization of high-temperature flue gases and did not address heat recovery during the condensation phase change [36]. Zhang et al. developed a CFD physical model for the finned-tube heat exchanger and studied the effects of fluid velocity, temperature, and the thermal conductivity of the phase change material in the finned-tube heat exchanger under different operating and design conditions on heat transfer performance. Experimental data were obtained to determine the temperature distribution, heat transfer rate, and phase change time of the heat exchanger [37].
In terms of the research on the calculation of ellipticity based on equal perimeter, Ibrahim and Gomaa [38] conducted experimental and numerical studies on turbulent flow in five groups of elliptic pipe heat exchanger pipes with equal circumference and different ellipticity. Through CFD numerical simulation, the empirical formula of Nusselt number Nu and friction coefficient is predicted, and the maximum deviation is 10% and 12%, respectively.
According to the analysis of literature, there is little research on the heat transfer efficiency of elliptical pipe heat exchanger with equal cross-section circumference. The empirical formulas for heat transfer of elliptical pipes are based on experiment or theory, while the empirical formulas based on numerical simulation method have large errors. Therefore, this paper takes the large diameter heat exchanger used in mine return air as the background and studies the heat transfer efficiency of an oval single pipe and elliptical pipe bundle heat exchanger by using the CFD numerical simulation method. According to the first principle and the second principle of thermodynamics, the influence of this improvement on the performance of heat exchanger is quantitatively analyzed by using two local criteria, respectively, and the empirical formula of Nusselt number Nu with a small error is obtained by fitting.

2. System Description

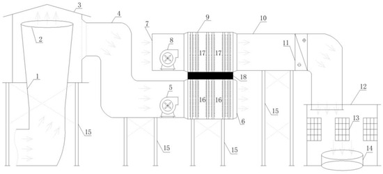
One of the engineering applications of our team is shown in Figure 1, which is located north of China in winter. The technical flowchart of the utilization of return air and waste heat in the mine is shown in Figure 2. The return air with a temperature of 20~30 °C from the underground mine is induced by fan 5 to the inlet of diffusion in tower 1, enters the lower part of heat pipe exchanger 6, heats the vaporization end of the heat pipe, and then outflows to the outside of system. On the other hand, the outside fresh cold air with a temperature of −10~0 °C is inhaled by fan 8 to enter the upper part of the heat pipe exchanger 6, absorbs the heat energy of the heat pipe in which the condensation takes place, and then enters the inlet air of mine 14 through the induced draft duct of fresh air 11.
However, in the condition of waste heat recovery from the mine return air with a temperature of 20~30 °C and velocity about 4 to 10 m/s, the structure of the gravity-type heat pipe with fin increases the heat exchange areas and meanwhile increases the resistance of air flow, which consumes a large amount of the main fan power driven by the motor. Furthermore, the resistance of the air flow increases greatly with the velocity of the air flow. Because it is necessary to make the heat transfer to achieve high efficiency and reduce the resistance of the heat pipe device to return air and the power consumption of the mine return air fan, it is of great significance to study the geometric structure and spacing parameters of the heat pipe.
In this paper, gravity-type heat pipe with elliptical smooth surface is used to study the effects of the structural parameters of heat pipe on heat transfer characteristics to decrease the resistance and loss of energy of air flow.

3. Theoretical Equations of the Heat Exchange of Heat Pipe

According to the heat transfer rate equation of convection heat transfer
Φ = h s   A   Δ t
where Φ represents the heat flow rate [J⋅s−1], hs represents the surface heat transfer coefficient [W⋅m−2⋅K−1], A represents the surface contact area of air with the heat pipe [mm2], and Dt represents the temperature difference of the heat transfer [K].
In the process of convective heat transfer, the heat transfer is mainly related to the surface heat transfer coefficient and the surface contact area of the object. In the heat pipe heat exchanger, when the pipe length is fixed, the surface contact area is closely related to the circumference of the heat pipe section.
The elliptical heat pipe is shown in Figure 3. Owing to the gravity-type heat pipe used in the return air of the mine, the absorption and release of thermal energy in the air depends on the contact surface area of the heat pipe with the air flow in the moment. The key point of this paper is how to absorb and release the largest amount of heat energy in a given surface area of a round or elliptical heat pipe and to reduce the resistance of consumption air flow. This is of great significance in engineering applications to reduce the volume of the elliptical heat pipe in which a round pipe is pressed and formed with molds.
At present, the common calculation is based on the same area as the round pipe, but in this case, the reduction of ellipticity not only reduces the resistance of fluid passing through but also lengthens the perimeter of the cross section compared with the round pipe, so the heat exchange area increases and the heat exchange efficiency will be improved. However, if the same circumference of the pipe is used as the reference, the heat transfer area does not change. The influence of ellipticity on heat transfer can be obtained. Therefore, the following calculations are based on an equal perimeter.
According to the established model, the problem to be solved can be regarded as an incompressible, constant physical property and three-dimensional problem without an internal heat source. The differential equations governing flow and heat transfer are expressed in terms of mass conservation, momentum conservation, and energy conservation.
Mass conservation equation:
u x + v y + w z = 0
Momentum conservation equation:
ρ u u x + v u y + w u z = F x + μ 2 u x 2 + 2 u y 2 + 2 u z 2 p x
ρ u v x + v v y + w v z = F y + μ 2 v x 2 + 2 v y 2 + 2 v z 2 p y
ρ u w x + v w y + w w z = F z + μ 2 w x 2 + 2 w y 2 + 2 w z 2 p z
Energy conservation equation:
u t x + v t y + w t z = λ ρ c p 2 t x 2 + 2 t y 2 + 2 t z 2
where u, v, and w are velocity components [m⋅s−1], x and y are Cartesian coordinates [m], ρ is mass density [kg⋅m−3], p is pressure [Pa], μ is dynamic viscosity [kg⋅s⋅m−2], cp is specific heat capacity at constant pressure [J⋅kg−1⋅K−1], τ is time [s], t is temperature [K], λ is thermal conductivity [W⋅m−1⋅K−1]; x, y, and z are Cartesian coordinates [m], and Fx, Fy, and Fz are the components of the volume force in the x, y, and z directions.
The finite element method is used to analyze the micro-element body. According to the first law of thermodynamics
Φ = U τ + ( q m ) o u t h + 1 2 v 2 + g z o u t ( q m ) i n h + 1 2 v 2 + g z i n + W n e t
where Φ is the heat flow rate introduced from the outside through the interface [J⋅s−1], qm is the mass flow rate [kg⋅s−1], h is the specific enthalpy of the fluid [J⋅kg−1], U is the thermodynamic energy of the micro-element [J], g is acceleration of gravity [m⋅s−2], and Wnet is the net work done by the fluid [W].
Considering that the change of potential energy and kinetic energy can be neglected when the fluid flows through the micro-element, the fluid does not do work.
Φ = U τ + ( q m ) o u t h o u t ( q m ) i n h i n
Because the length is almost two orders of magnitude larger than the diameter of the heat pipe, for the two-dimensional problem, the heat in dτ time is Φ dτ.
Φ d τ = λ 2 t x 2 + 2 t y 2 d x d y d τ
In dτ time, the temperature of the fluid in the micro-element changes t τ d τ . Because the fluid is incompressible, the increment of its thermodynamic energy is ΔU.
Δ U = ρ c p d x d y t τ d τ
Therefore, in the x direction, the enthalpy of entering the micro-element from the cross section at dτ is Hx.
H x = ρ c p u t d y d τ
In the same dτ, the enthalpy of the micro-elements from the cross section at x + dx is Hx+dx.
H x + d x = ρ c p u + u x d x t + t x d x d y d τ
where H is enthalpy [J]. By subtracting the two formulas, we can get the net heat carried out by the fluid in the x direction in time dτ, and Hx+dxHx after omitting the higher order infinitesimal.
H x + d x H x = ρ c p u t x + t u x d x d y d τ
The corresponding expressions in the y direction are the same:
H y + dy H y = ρ c p v t y + t v y d x d y d τ
Thus, the specific enthalpy in unit time is obtained as follows:
Δ H = ρ c p u t x + v t y d x d y
According to the second law of thermodynamics, the heat transfer process in heat and mass exchange equipment must be an irreversible process; that is, the entropy increases in the process, due to the temperature difference between the cold and hot fluids and the pressure loss of fluid flow.
According to the second law of thermodynamics, the entropy equation is established as follows:
s 1 δ m ˙ 1 s 2 δ m ˙ 2 + δ S f + δ S g = d S e v
where m is mass [kg], s is the unit entropy production rate [J⋅kg−1⋅K−1], δSf is the entropy flow caused by heat exchange, δSg is the entropy production caused by irreversible process, and dSev is the entropy change of the system.
The method proposed in reference [27] is used for the local entropy generation rate, and the constitutive relation of the entropy generation rate is related to the local gradient of the motion field and the thermal field. Since entropy is a state function, its generation in the heat exchanger is caused by the phenomenon of thermal irreversibility and viscous irreversibility in the whole heat exchange process. Therefore, the total entropy production rate is actually divided into a heat term and a viscosity term. The local entropy yield can be written as follows:
s t o t = s t h e r + s v i s
s t h e r = λ T 2 T x i 2 + λ t u r b T 2 T x i 2
s v i s = μ T 2 u x i 2 + 1 δ i j 2 u x i + u x j 2 + ρ C k ω T
where T is temperature [K], λturb is turbulent thermal conductivity [W⋅m−1⋅K−1], and stot is the total entropy production rate [J⋅kg−1⋅K−1]. sther is the thermal entropy production rate [J⋅kg−1⋅K−1], and svis is the viscous entropy production rate [J⋅kg−1⋅K−1]. k is the turbulent kinetic energy, ω is axial vorticity [s−1], and C is the constant of the turbulence model.
The total entropy production rate is the sum of the thermal entropy production rate and the viscous entropy production rate. The thermal entropy production rate is directly proportional to the square of the temperature change rate and inversely proportional to the square of temperature, due to the limited temperature variation range of heat exchange, which causes a small change in the entropy production rate. However, the viscous entropy production rate is inversely proportional to the temperature, and the viscous entropy production increases with the increase of turbulent kinetic energy, axial vorticity, and constant of the turbulence model, which is related to the fluid vortex generated by the heat pipe structure.
The flow resistance of heat pipe structures in the process of heat transfer increases causes the increase in entropy production, in which the larger the fluid vortex, the greater the resistance. The increase in entropy production indicates a decrease in the heat transfer efficiency of the system and a decrease in thermal energy utilization efficiency. Specific enthalpy represents the energy per unit mass of a substance used for calculating energy changes during fluid flow processes. In the heating zone of the heat pipe, the increase of specific enthalpy indicates the higher utilization rate of return air heat energy and the higher the heat exchange efficiency, in which the more heat is absorbed by the heated new cold air and the higher the temperature rise. In this paper, the effects of heat transfer efficiency of elliptical heat pipes with different parameters are investigated by studying the changes in specific enthalpy caused by variations in heat pipe parameters.
Studying the structure of heat pipes is crucial for entropy production. In practical engineering, the optimum structure parameters of heat pipe could be obtained to make the minimum entropy production and the best heat transfer performance.
In order to calculate the specific enthalpy and local entropy yield of flow field heat transfer, the above equations are written in CFX program solver by using user file function.

4. Numerical Model of the Heat Exchange of Heat Pipe

4.1. Geometric Model

The model used is a staggered heat exchanger model. In order to save CPU time, symmetry and periodicity are used to model part of the fluid domain in the heat exchanger. The computational region consists of three regions, i.e., the upstream fluid region for considering the leading-edge effect, the central fluid region where the fluid flows through the pipe wall, and the downstream fluid region for stable flow. The numerical instability caused by any possible backflow into the calculation region can be avoided by reasonably setting the downflow fluid region. The influence of geometric parameters of the heat pipe section on heat transfer efficiency and entropy generation was studied by changing the shape of the circular pipe to the elliptical pipe and taking equal circumference as the limited condition. The modeling area and main dimension parameters are shown in Figure 4.
According to the definition of ellipse circumference and ellipticity, the length of major and minor axis of ellipse is deduced as follows:
L = 2 π b + 4 ( a b )
e = b a
a = π r π e 2 e + 2
where a is the horizontal ellipse axis [mm], b is the vertical ellipse axis [mm], L is the perimeter [mm], e is ellipticity, and r is the radius of a circle with the same circumference as the ellipse [mm].
In order to predict the effect of ellipticity on heat transfer efficiency by the response surface method, parametric modeling is adopted. In the process of establishing the model, the above parameters are set according to the formula.
The response surface method is used to ensure that the polynomial function can converge to the failure probability of the implicit limit state function by reasonably selecting test points and iterative strategies. The continuous prediction model can be obtained by using the response surface method instead of single experimental point analysis. When the real limit state function is nonlinear, the linear response surface has high approximation accuracy. Here, ellipticity e, horizontal space l, and inlet velocity v are taken as independent variables of state functions.

4.2. Boundary Condition and Mesh Dividing Method

The numerical simulation software is ANSYS CFX R19.0, the radiation heat transfer is ignored, the fluid medium is air, the three-dimensional incompressible turbulence model is adopted, and the convection term is discretized by the second-order upwind scheme. Because the domain of the heat pipe exchanger is about 29,000 mm × 2500 mm × 2000 mm, one part of the center region is taken as a computational domain as shown in Figure 5 in which the top and bottom of the model are symmetrical consistently in the z direction and the front and back of the model exhibit periodic repetition in the y direction.
In order to deal with nearly a hundred calculation examples, the constant boundary conditions were set according to the engineering application project. The air inlet is the velocity inlet, and the temperature is constant at 10 °C; the outlet is the pressure outlet, and the outlet relative pressure is set as 0 Pa according to the condition of uniform atmospheric pressure; the wall of the heat exchange pipe is set as a constant wall temperature condition, TW = 30 °C; the periodic boundary conditions are set at the top and bottom of the numerical model of the pipe bundle in the y direction, and the symmetrical boundary conditions are set at the front and back in the z direction.
As shown in Figure 6, meshing is done by using an independent partitioning algorithm with tetrahedral mesh to partition the mesh. The grid edge length was set at 1 mm and grid smoothness was set at medium, which are suitable for flow field analysis. The number of grids was 78,116, and the number of nodes was 19,508.

4.3. Calculations

In the calculations and analysis, the k-ω SST model uses the k-ω formula in the near wall area and uses the k-ε formula in areas far from the wall. This paper used k-ω SST in the global model and k-ε in the partial model, and the computational efficiency and accuracy were suitable for nearly a hundred calculation examples.
Based on the practical experiment parameters and data, the models of the round heat pipe with diameter 25 mm were built and calculated by using a Dual CPU workstation with 256 G RAM. The calculation models were meshed with different grids. The verified results showed that the error of the model with a mesh size of 1 mm was 1% less than that of the model with a mesh size of 0.5 mm, in which the grid number exceeded an order of magnitude. Therefore, all the models of the elliptical heat pipe with a mesh size of 1 mm used in this paper were calculated accurately by microcomputers, and one operation was done efficiently within half an hour.

5. Simulation and Analysis

5.1. Analysis of the Single Pipe Case

According to the basic theory of heat transfer, the heat transfer efficiency is related to the heat transfer area and the geometric characteristic length of the fluid passing through the heat pipe. When the circumference is equal, the ellipticity is changed; that is, the characteristic length is changed when the heat exchange area of the heat pipe is fixed. The single heat pipe case was simulated, in which the outer diameter of the equal circumference pipe is 25 mm, the air inlet velocity range is 4–8 m/ s, and the ellipticity value range is 0.3–1. The calculation results showed the distributions of temperature and velocity streamline in the exchange region as in Figure 7 and Figure 8. In Figure 8a, the velocity streamline of the round pipe shows more severe eddy current or vortex than that of the elliptical pipe. The influence of ellipticity on heat transfer efficiency and the variation of the Nusselt number, enthalpy, and entropy production of the heat exchanger is obtained, as shown in Figure 9, Figure 10, and Figure 11 respectively.
It can be seen from Figure 12, Figure 13 and Figure 14 that the higher the ellipticity and inlet velocity, the greater the Nusselt number Nu and the better the heat transfer efficiency. Both entropy production and specific enthalpy increase first and then decrease with ellipticity, but the change range of entropy production is very small, especially when the velocity is higher, and the influence of ellipticity on entropy production is smaller. To sum up, for a single pipe, the change of equal circumference ellipticity has little effect on the increase of Nusselt number Nu and the decrease of entropy production. But the specific enthalpy can be increased by reasonably setting ellipticity, that is, the heat absorbed by the fluid. When the ellipticity is 0.56 and the inlet velocity is 4 m/s, the specific enthalpy is the largest. Compared with the pipe heat exchanger under the same condition, the specific enthalpy increases by 12.08%.
Firstly, the empirical formula of heat transfer is fitted according to the results of numerical simulation, which takes the independent variables used in numerical simulation as parameters as follows:
N u = ( 5 . 12 × 10 3 e 2 + 1.04 × 10 2 e 4.53 × 10 5 ) v i n 0.97 ρ d μ
where Nu is the Nusselt number, d is the diameter of the pipe [mm], and vin is the input velocity [m/s]
Secondly, according to the format of Nusselt number correlation commonly used in heat transfer, the formula is fitted with the Reynolds number and Prandtl number as parameters as follows:
N u = ( 4.355 × 10 4 e + 5.609 × 10 3 ) Re 1.002 Pr 0.33
where Pr is the Prandtl number, and Re is the Reynolds number.
According to the different inlet velocity of 4 m/s, 5 m/s, and 6 m/s, three groups of data were selected. According to the different ellipticity of each group of data, the simulation results of 8 points were compared with the fitting results of the formula. The error of Equation (23) is within 2.5%, and the errors of Equation (24) are within 5%. The point with the largest error is the inlet velocity of 5 m/s when the ellipticity is 0.3, and the error is 4.43%.
When the ellipticity is 1, i.e., a round pipe, the numerical simulation results are compared with the commonly used empirical formula of fluid crossing a single pipe and the above empirical formula, as shown in Table 1. There are some deviations between the calculation results of common formulas and the simulation values and fitting results: the deviation is within 8%, which belongs to the allowable range, so the rationality of the model and fitting formula can be verified.
The frequently used Nu empirical formula in Table 1 is from Ref. [39]:
N u = C   Re n Pr 0.33
Since the Reynolds number range of numerical simulation is 4000–40,000, C is 0.193, and n is 0.618.

5.2. Pipe Bundle

The flow process of fluid in the heat exchanger is a process of crossing the pipe bundle. There is a great difference between crossing a pipe bundle and crossing a single pipe, because within the bundle, each adjacent pipe interacts. When the fluid flows around a certain row of pipes, the contraction of the flow channel is formed between the two adjacent pipes, which changes the pressure gradient and changes the velocity distribution on the pipe surface and the vortex characteristics in the wake region. The streamline of the flow around the pipe bundle depends on the arrangement and geometric parameters of the pipe bundle. In general, the arrangement of pipe bundles can be divided into two types: in-line and in-line arrangement. The characteristic dimensions of pipe bundles are the relative horizontal distance and the longitudinal relative distance between the center lines of two adjacent pipes.
In the pipe bundle case simulated as shown in Figure 13 and Figure 14, the long axis of the six elliptical pipes is placed horizontally in the fluid direction, and the arrangement is in the form of staggered arrangement. The outer diameter of the equal circumference pipe is 25 mm, the longitudinal spacing of the pipe is 40 mm, and the air inlet velocity is 5 m/s. Because the adjustment of lateral spacing will affect the setting of periodic boundary conditions, and the minimum transverse spacing allowed by different ellipticity is different, the transverse spacing is changed to twice the difference between the pipe spacing and the minor axis length. The value range of this difference l is 6–10 mm, and the value range of ellipticity is 0.3–1. In Figure 14a, the velocity streamline of the round pipe bundle shows more a severe eddy current or vortex than that of the elliptical pipe bundle.
It can be seen from Figure 15, Figure 16, Figure 17 and Figure 18 that ellipticity is positively correlated with the Nusselt number Nu, while transverse spacing is negatively correlated with the Nusselt number Nu. The specific enthalpy and entropy production increase first and then decrease with the change of ellipticity, and the smaller the transverse distance, the larger the value.
It can be seen that for the pipe bundle, the change of equal circumference ellipticity can not improve the heat transfer efficiency but can greatly reduce the energy loss. This is because the decrease of ellipticity makes the shape of the heat pipe tend to streamline, so as to reduce the vortex effect or avoid the formation of vortex, greatly reduce the flow resistance, and then reduce the degree of energy loss. And in practical application, the arrangement of elliptical pipe bundle promotes the turbulent mixing and prolongs the flow path through the pipe array. Therefore, similar to the single pipe, the ellipticity has a beneficial effect on the heat transfer in the working process, making the specific enthalpy reach the peak when the ellipticity reaches about 0.61. When the ellipticity is 0.3 and the transverse difference is 9.26 mm, the entropy generation is the minimum. Compared with the circular pipe heat exchanger under the same condition, the entropy generation decreases by 25.21%. When the ellipticity is 0.61 and the transverse difference is 6 mm, the specific enthalpy reaches the maximum and the energy of the fluid increases by 4.33 × 105 J/kg. Compared with the pipe heat exchanger under the same conditions, the specific enthalpy is increased by 19.28%, the entropy production is slightly increased by 10.4%, and the energy obtained by the fluid is increased by 19.28%.
This is due to a distinctly low flow rate area in the leeward area of the heat pipe, which hardly flows with other fluids, resulting in a “dead zone”, the existence of which reduces the efficiency of heat exchange. Changing the ellipticity under the circumference of the heat pipe section makes the heat exchange area of the heat pipe constant. Among them, the elliptical pipe with small ellipticity has a short windward radius and a small “dead zone”, so that the fluid outside the pipe flows around separately, heat exchange is more sufficient, and heat exchange efficiency is higher. Therefore, since the specific enthalpy is also related to the time taken for the fluid to flow through the heat pipe, if the time taken for the fluid to flow through the heat pipe is constant, a smaller elliptical heat pipe will get a larger specific enthalpy value. However, for fluids with the same inlet speed, the time required to pass through a heat pipe with smaller ellipticity must be shorter, because the decrease of ellipticity makes the shape of the heat pipe streamlined and greatly reduces the flow resistance, thus shortening the time for heat exchange. Therefore, when the ellipticity is small or large, the specific enthalpy value is low; when the ellipticity is between 0.5 and 0.6, the heat exchange efficiency and the time for heat exchange are reasonable, and there is the maximum specific enthalpy.
The results show that in order to obtain better overall performance, an appropriate arrangement of elliptical pipes is needed, so an evaluation standard is needed to measure the heat transfer performance. Therefore, according to the numerical simulation results, the empirical formula of heat transfer is fitted. According to the format of Nusselt number correlation commonly used in heat transfer, the Reynolds number and Prandtl number are used as parameters for fitting as follows:
N u = ( 0.0139 e 1.155 + 0.1546 ) d l 1 0.35 d l 2 0.35 Re 0.6 Pr f 0.36 Pr f Pr w 0.25
where l1 is longitudinal spacing [mm], l2 is horizontal spacing [mm], and Prf, Prw are the fluid Prandtl number and wall Prandtl number.
According to the set boundary conditions, Prf = 0.705 and Prw= 0.701 can be found in this case.
Here, Pr f 0.36 Pr f Pr w 0.25 can be simplified as a constant, so Equation (26) can be simplified as Equation (27).
N u = 0.883 ( 0.0139 e 1.155 + 0.1546 ) d l 1 0.35 d l 2 0.35 Re 0.6
According to the different transverse differences of 6 mm, 8 mm, and 10 mm, three groups of data were selected. According to the different ellipticity of each group of data, the simulation results of 8 points were compared with the formula fitting results. The error is within 2.2%, as shown in Figure 19.

5.3. Verification Results of the Empirical Formula Under Different Temperature Conditions

The above numerical simulation results are carried out when the inlet temperature is 10 °C and the wall temperature is 30 °C. Therefore, in order to verify the universality of the above empirical formula under different temperature conditions, the wind temperature and wall temperature are changed to obtain the following results.
The range of wind temperature is −15–0 °C, and the range of wall temperature is 15–25 °C. The other conditions are consistent with the previous experiment.
Figure 20, Figure 21 and Figure 22 are numerical simulations with ellipticity equal to 1. It can be seen from the figure that Nu decreases with the increase of wind temperature and wall temperature, specific enthalpy and entropy production both decrease with the increase of wind temperature and increase with the increase of wall temperature, and they all change linearly. This is because the higher the air temperature will be, the heat transfer will be worse, but from the perspective of wall temperature, the higher the wall temperature is, the greater the temperature difference with the constant air temperature will be, so the higher the wall temperature is, the higher the specific enthalpy and entropy production will be.
It can be seen from Figure 23 and Figure 24 that the variation trend of Nu with ellipticity is constant with the change of wall temperature and wind temperature. The influence of wind temperature on Nu is larger than that of wall temperature, and the influence of wall temperature on Nu is very small.
According to Equation (27), the Nu curves of different wind temperatures are fitted.
N u = 0.883 ( 0.0139 e 1.006 + 0.1634 ) d l 1 0.35 d l 2 0.35 Re 0.6   ( 15 T in 12.5 ) 0.883 ( 0.0139 e 1.056 + 0.1629 ) d l 1 0.35 d l 2 0.35 Re 0.6   ( 12 . 5 T in 7.5 ) 0.883 ( 0.0139 e 1.036 + 0.1617 ) d l 1 0.35 d l 2 0.35 Re 0.6   ( 7.5 T in 2.5 ) 0.883 ( 0.0139 e 1.012 + 0.1604 ) d l 1 0.35 d l 2 0.35 Re 0.6   ( 2.5 T in 0 )
From the simulation results of 5 different ellipticities, 12 points were selected for a total of 60 points. Compared with the fitting results of Equation (28), the errors were within 5%. It can be concluded that under different wind temperature conditions, because the overall trend of the curve is constant, only the coefficients related to ellipticity need to be adjusted, and the fitting formula with smaller error can be obtained.

6. Conclusions

Based on the system of waste heat recovery from mine return air, the structure parameters of gravity-type heat pipe with elliptical smooth surface are investigated to decrease the resistance and loss of energy of air flow, in which the heat transfer characteristics of the single pipe with equal circumference elliptical pipe and the pipe bundle are studied by CFX numerical simulation method. According to the first principle and the second principle of thermodynamics, two local criteria are used to quantitatively analyze the effect of this improvement on the performance of the heat exchanger. The following conclusions are obtained:
(1)
In the case of a single heat pipe, the change of equal circumference ellipticity has no beneficial effect on improving heat transfer efficiency and reducing entropy generation. But it can increase the specific enthalpy, that is, the heat absorbed by the fluid. When the ellipticity is 0.56 and the inlet velocity is 4 m/s, the specific enthalpy is the largest. Compared with the pipe heat exchanger under the same conditions, the specific enthalpy increases by 12.08%. The empirical formula of heat transfer for a single pipe of equal circumference elliptic pipe is obtained by fitting. The error of Equation (22) is within 2.5%, and the errors of Equation (23) are within 5%.
(2)
In the case of the heat pipe bundle, the change of equal girth ellipticity can greatly reduce the energy loss and increase the heat transfer in the working process. The specific enthalpy reaches the peak when the ellipticity reaches about 0.61. When the ellipticity is 0.3 and the transverse difference is 9.26 mm, the entropy generation is the minimum. Compared with the circular pipe heat exchanger under the same condition, the entropy generation decreases by 25.21%. When the ellipticity is 0.61 and the transverse difference is 6 mm, the specific enthalpy reaches the maximum and the energy of the fluid increases. Compared with the pipe heat exchanger under the same conditions, the specific enthalpy is increased by 19.28%, the entropy production is slightly increased by 10.4%, and the energy obtained by the fluid is increased by 19.28%. The empirical formula of heat transfer of the equal circumference elliptic pipe bundle is obtained by fitting. The error is within 2.2%.
(3)
In the case of different wind temperatures, because the overall trend of the curve is constant, only the coefficients related to ellipticity need to be adjusted, and the fitting formula with smaller error can be obtained. When the wind temperature range is −15~0 °C and the wall temperature range is 15~25 °C, the Equation (25) is obtained, and the error is within 5%.

Author Contributions

Conceptualization, Y.Z. and Z.D.; data curation, Y.Z. and Z.L.; formal analysis, Y.Z. and Z.L.; funding acquisition, Z.D.; investigation, X.Z. and Y.Z.; methodology, Y.Z. and Z.D.; projection administration, Z.D.; resources, Z.D.; software, Z.L.; supervision, Z.D.; validation, Y.Z. and X.Z.; visualization, Y.Z.; writing—original draft, Y.Z., Z.L., and Z.D.; writing—review and editing, Y.Z., Z.L. and Z.D. All authors have read and agreed to the published version of the manuscript.

Funding

This research and the APC were supported by the Foundation of Central Universities of Education Department of China (Grant No. 2021YQJD31).

Data Availability Statement

Data are contained within the article.

Acknowledgments

We appreciate that Beijing Zhongkuang Celebrate Energy-Saving Technology Co., Ltd. provided the site and the devices for the experiment during our research. Authors would like to acknowledge and express their thanks for the support.

Conflicts of Interest

Xu Zhao is from Zhongkuang Celebrate Energy Saving Technology Co., Ltd. The other authors declare no conflict of interest.

References

  1. Tian, E.; He, Y.L.; Tao, W.Q. Research on a new type waste heat recovery gravity heat pipe exchanger. Appl. Energy 2017, 188, 586–594. [Google Scholar] [CrossRef]
  2. Zhang, L.Y.; Liu, Y.Y.; Guo, X.; Meng, X.Z.; Jin, L.W.; Zhang, Q.L.; Hu, W.J. Experimental investigation and economic analysis of gravity heat pipe exchanger applied in communication base station. Appl. Energy 2017, 194, 499–507. [Google Scholar] [CrossRef]
  3. Lv, X.Y.; Li, Y.N.; Bao, L.L. Research on application of recovering low temperature residual heat from mine air based on heat pipe heat transfer technology. Coal Technol. 2019, 38, 117–120. [Google Scholar]
  4. Xin, S.; Zhang, Z.P. Research on separate-type heat pipe recovery technology of mine return air waste heat. Min. Res. Dev. 2020, 40, 160–164. [Google Scholar]
  5. Kalantari, H.; Amiri, L.; Ghoreishi-Madiseh, S.A. Analysis of the performance of direct contact heat exchange systems for application in mine waste heat recovery. Int. J. Energy Res. 2022, 46, 290–307. [Google Scholar] [CrossRef]
  6. Huang, W.; Chen, J.; Cen, J.; Cao, W.; Li, Z.; Li, F.; Jiang, F. Heat extraction from hot dry rock by super-long gravity heat pipe: Effect of key parameters. Energy 2022, 248, 123527. [Google Scholar] [CrossRef]
  7. Wang, K.H.; Zhao, D.X.; Luo, J.H.; Liu, H. Design and application of heat pipe self-balanced ventilation thermal energy system. Min. Saf. Environ. Prot. 2021, 48, 92–96. [Google Scholar]
  8. Lu, Y.Z.; Bao, L.L.; Zhao, X.; Luo, J.H.; Wang, J.G. Heat transfer of mine heat pipe heat exchanger in dehumidifying conditions. Coal Eng. 2022, 54, 165–170. [Google Scholar]
  9. Yan, K.; Li, N.; Wu, Y.; Xie, R. Analysis of condensation flow pattern and heat transfer of a cryogenic loop heat pipe with different heating powers. J. Therm. Sci. Eng. Appl. 2022, 14, 054501. [Google Scholar] [CrossRef]
  10. Dobson, R.T. Theoretical and experimental modelling of an open oscillatory heat pipe including gravity. Int. J. Therm. Sci. 2004, 43, 113–119. [Google Scholar] [CrossRef]
  11. Hu, W.L.; Ma, A.J.; Guan, Y.; Cui, Z.J.; Zhang, Y.B.; Wang, J. Experimental study of the air side performance of fin-and-tube heat exchanger with different fin material in dehumidifying conditions. Energies 2021, 14, 7030. [Google Scholar] [CrossRef]
  12. Adrian, Ł.; Szufa, S.; Piersa, P.; Mikołajczyk, F. Numerical Model of Heat Pipes as an Optimization Method of Heat Exchangers. Energies 2021, 14, 7647. [Google Scholar] [CrossRef]
  13. Du, J.; Wu, X.; Li, R.; Cheng, R. Numerical simulation and optimization of mid-temperature heat pipe exchanger. Fluid Dyn. Mater. Process. 2019, 15, 77–87. [Google Scholar] [CrossRef]
  14. Zhai, Y.; Zhao, X.; Dong, Z. Research on Performance Optimization of Gravity Heat Pipe for Mine Return Air. Energies 2022, 15, 8449. [Google Scholar] [CrossRef]
  15. Zhai, Y.; Zhao, X.; Xue, G.; Dong, Z. Study on Heat Transfer Performance and Parameter Improvement of Gravity-Assisted Heat Pipe Heat Transfer Unit for Waste Heat Recovery from Mine Return Air. Energies 2023, 16, 6148. [Google Scholar] [CrossRef]
  16. Bacellar, D.; Aute, V.; Huang, Z.; Radermacher, R. Airside friction and heat transfer characteristics for staggered tube bundle in crossflow configuration with diameters from 0.5 mm to 2.0 mm. Int. J. Heat Mass Transf. 2016, 98, 448–454. [Google Scholar] [CrossRef]
  17. Ambreen, T.; Saleem, A.; Park, C.W. Pin-fin shape-dependent heat transfer and fluid flow characteristics of water- and nanofluid-cooled micropin-fin heat sinks: Square, circular and triangular fin cross-sections. Appl. Therm. Eng. 2019, 158, 113781. [Google Scholar] [CrossRef]
  18. Sun, L.; Zhang, C.L. Evaluation of elliptical finned-tube heat exchanger performance using CFD and response surface methodology. Int. J. Therm. Sci. 2014, 75, 45–53. [Google Scholar] [CrossRef]
  19. Zhang, C.; Fan, Y.; Yu, M.; Zhang, X.; Zhao, Y. Performance evaluation and analysis of a vertical heat pipe latent thermal energy storage system with fins-copper foam combination. Appl. Therm. Eng. 2019, 165, 114541. [Google Scholar] [CrossRef]
  20. Kosar, A.; Peles, Y. Micro scale pin fin heat sinks—Parametric performance evaluation study. IEEE Trans. Compon. Packag. Technol. 2007, 30, 855–865. [Google Scholar] [CrossRef]
  21. Ambreen, T.; Kim, M.H. Effects of variable particle sizes on hydrothermal characteristics of nanofluids in a microchannel. Int. J. Heat Mass Transf. 2017, 120, 490–498. [Google Scholar] [CrossRef]
  22. John, T.J.; Mathew, B.; Hegab, H. Parametric study on the combined thermal and hydraulic performance of single phase micro pin-fin heat sinks part I: Square and circle geometries. Int. J. Therm. Sci. 2010, 49, 2177–2190. [Google Scholar] [CrossRef]
  23. Yang, D.; Jin, Z.; Wang, Y.; Ding, G.; Wang, G. Heat removal capacity of laminar coolant flow in a micro channel heat sink with different pin fins. Int. J. Heat Mass Transf. 2017, 113, 366–372. [Google Scholar] [CrossRef]
  24. Yan, W.M.; Sheen, P.J. Heat transfer and friction characteristics of fin-and-tube heat exchangers. Int. J. Heat Mass Transf. 2000, 43, 1651–1659. [Google Scholar] [CrossRef]
  25. Chiu, H.C.; Hsieh, R.H.; Wang, K.; Jang, J.H.; Yu, C.R. The heat transfer characteristics of liquid cooling heat sink with micro pin fins. Int. Commun. Heat Mass Transf. 2017, 86, 174–180. [Google Scholar] [CrossRef]
  26. Fan, Y.; Bao, Y.; Ling, C.; Chu, Y.; Tan, X.; Yang, S. Experimental study on the thermal management performance of air cooling for high energy density cylindrical lithium-ion batteries. Appl. Therm. Eng. 2019, 155, 96–109. [Google Scholar] [CrossRef]
  27. Tala, J.V.S. Tube pattern effect on thermal hydraulic characteristics in a two-rows finned-tube heat exchanger. Int. J. Therm. Sci. 2012, 60, 225–235. [Google Scholar] [CrossRef]
  28. Horvat, A.; Leskovar, M.; Mavko, B. Comparison of heat transfer conditions in tube bundle cross-flow for different tube shapes. Int. J. Heat Mass Transf. 2006, 49, 1027–1038. [Google Scholar] [CrossRef]
  29. Tao, Y.B.; He, Y.L.; Wu, Z.G.; Tao, W.Q. Three-dimensional numerical study and field synergy principle analysis of wavy fin heat exchangers with elliptic tubes. Int. J. Heat Fluid Flow 2007, 28, 1531–1544. [Google Scholar] [CrossRef]
  30. Matos, R.S.; Vargas, J.V.C.; Laursen, T.A.; Saboya, F.E.M. Optimization study and heat transfer comparison of staggered circular and elliptic tubes in forced convection. Int. J. Heat Mass Transf. 2001, 44, 3953–3961. [Google Scholar] [CrossRef]
  31. LRocha, A.O.; Saboya, F.E.M.; Vargas, J.V.C. A comparative study of elliptical and circular sections in one- and two-row tubes and plate fin heat exchangers. Int. J. Heat Fluid Flow 1997, 18, 247–252. [Google Scholar]
  32. Li, Z.; Davidson, J.H.; Mantell, S.C. Numerical simulation of flow field and heat transfer of streamlined cylinders in crossflow. J. Heat Transf. 2006, 128, 564–570. [Google Scholar] [CrossRef]
  33. Jouhara, H.; Nieto, N.; Egilegor, B.; Zuazua, J.; González, E.; Yebra, I.; Igesias, A.; Delpech, B.; Almahmoud, S.; Brough, D.; et al. Waste heat recovery solution based on a heat pipe heat exchanger for the aluminium die casting industry. Energy 2023, 266, 126459. [Google Scholar] [CrossRef]
  34. Guo, P.; Cheng, W.; Chong, P.L.; Xia, B.; Yang, A.; Zeng, X. Computational Fluid Dynamics Study on Exhaust Heat Recovery of Various Spiral Tube Heat Exchangers. J. Therm. Sci. Eng. Appl. 2023, 15, 041004. [Google Scholar] [CrossRef]
  35. Faisal, S.; Abbas, A.; Eladeb, A.; Agrawal, M.K.; Muhammad, T.; Ayadi, M.; Ghachem, K.; Kolsi, L.; Wang, M.; Mustafa, A. Innovative modification process of a natural gas power plant using self-sufficient waste heat recovery and flue gas utilization for a CCHP-methanol generation application: A comprehensive multi-variable feasibility study. Process Saf. Environ. Prot. 2024, 183, 801–820. [Google Scholar] [CrossRef]
  36. Tariq, H.; Sajjad, R.; Khan, M.Z.U.; Ghachem, K.; Naqvi, A.A.; Khan, S.U.; Kolsi, L. Effective waste heat recovery from engine exhaust using fin prolonged heat exchanger with graphene oxide nanoparticles. J. Indian Chem. Soc. 2023, 100, 100911. [Google Scholar] [CrossRef]
  37. Zhang, X.Y.; Ge, Y.T.; Lang, P.Y. Experimental investigation and CFD modelling analysis of finned-tube PCM heat exchanger for space heating. Appl. Therm. Eng. 2024, 244, 122731. [Google Scholar] [CrossRef]
  38. Ibrahim, T.A.; Gomaa, A. Thermal performance criteria of elliptic tube bundle in crossflow. Int. J. Therm. Sci. 2009, 48, 2148–2158. [Google Scholar] [CrossRef]
  39. Cengel, Y.A. Heat Transfer, A practical Approach; WCB McGraw-Hill: Boston, MA, USA, 1998; 228p. [Google Scholar]
Figure 1. Engineering application of gravity heat pipe heat exchange project in a mine.
Figure 1. Engineering application of gravity heat pipe heat exchange project in a mine.
Energies 17 06495 g001
Figure 2. The technical flowchart of utilization of return air and waste heat in mine. 1. Diffusion tower; 2. inlet of return air; 3. cover; 4. induced draft duct of return air; 5. fan of return air; 6. outlet of heat pipe device; 7. inlet of outside fresh air; 8. inlet fan of outside fresh air; 9. heat pipe device; 10. induced draft duct of fresh air; 11. aided heater; 12. input air chamber; 13. fence net; 14. inlet air of mine; 15. supports; 16. evaporation part of heat pipe; 17. condensation part of heat pipe; 18. adiabatic partition.
Figure 2. The technical flowchart of utilization of return air and waste heat in mine. 1. Diffusion tower; 2. inlet of return air; 3. cover; 4. induced draft duct of return air; 5. fan of return air; 6. outlet of heat pipe device; 7. inlet of outside fresh air; 8. inlet fan of outside fresh air; 9. heat pipe device; 10. induced draft duct of fresh air; 11. aided heater; 12. input air chamber; 13. fence net; 14. inlet air of mine; 15. supports; 16. evaporation part of heat pipe; 17. condensation part of heat pipe; 18. adiabatic partition.
Energies 17 06495 g002
Figure 3. Coordinate of elliptical heat pipe.
Figure 3. Coordinate of elliptical heat pipe.
Energies 17 06495 g003
Figure 4. Modeling area and main dimension parameters.
Figure 4. Modeling area and main dimension parameters.
Energies 17 06495 g004
Figure 5. Boundary conditions.
Figure 5. Boundary conditions.
Energies 17 06495 g005
Figure 6. Grid generation.
Figure 6. Grid generation.
Energies 17 06495 g006
Figure 7. Temperature distribution of single pipe model. (a). Round single pipe model. (b). Elliptical single pipe model.
Figure 7. Temperature distribution of single pipe model. (a). Round single pipe model. (b). Elliptical single pipe model.
Energies 17 06495 g007
Figure 8. Velocity streamline of single pipe model. (a). Round single pipe model. (b). Elliptical single pipe model.
Figure 8. Velocity streamline of single pipe model. (a). Round single pipe model. (b). Elliptical single pipe model.
Energies 17 06495 g008
Figure 9. The change of Nusselt number with ellipticity at different inlet velocities.
Figure 9. The change of Nusselt number with ellipticity at different inlet velocities.
Energies 17 06495 g009
Figure 10. Change of specific enthalpy with ellipticity at different inlet velocities.
Figure 10. Change of specific enthalpy with ellipticity at different inlet velocities.
Energies 17 06495 g010
Figure 11. Variation of entropy production with ellipticity at different inlet velocities.
Figure 11. Variation of entropy production with ellipticity at different inlet velocities.
Energies 17 06495 g011
Figure 12. Comparison of simulation and fitting values of Nusselt number with ellipticity.
Figure 12. Comparison of simulation and fitting values of Nusselt number with ellipticity.
Energies 17 06495 g012
Figure 13. Temperature distribution of pipe bundle model. (a). Round pipe bundle model. (b). Elliptical pipe bundle model.
Figure 13. Temperature distribution of pipe bundle model. (a). Round pipe bundle model. (b). Elliptical pipe bundle model.
Energies 17 06495 g013
Figure 14. Velocity streamline diagram of pipe bundle model. (a). Round pipe bundle model. (b). Elliptical pipe bundle model.
Figure 14. Velocity streamline diagram of pipe bundle model. (a). Round pipe bundle model. (b). Elliptical pipe bundle model.
Energies 17 06495 g014
Figure 15. The change of Nusselt number with ellipticity under different transverse differences.
Figure 15. The change of Nusselt number with ellipticity under different transverse differences.
Energies 17 06495 g015
Figure 16. The change of enthalpy with ellipticity under different transverse differences.
Figure 16. The change of enthalpy with ellipticity under different transverse differences.
Energies 17 06495 g016
Figure 17. The change of entropy production with ellipticity under different transverse differences.
Figure 17. The change of entropy production with ellipticity under different transverse differences.
Energies 17 06495 g017
Figure 18. Energy variation with ellipticity under different transverse differences.
Figure 18. Energy variation with ellipticity under different transverse differences.
Energies 17 06495 g018
Figure 19. Comparison of simulation and fitting values of Nusselt number with ellipticity and transverse differences.
Figure 19. Comparison of simulation and fitting values of Nusselt number with ellipticity and transverse differences.
Energies 17 06495 g019
Figure 20. Variation trend of Nusselt number with inlet air temperature under different wall temperatures.
Figure 20. Variation trend of Nusselt number with inlet air temperature under different wall temperatures.
Energies 17 06495 g020
Figure 21. Variation trend of specific enthalpy with inlet air temperature at different wall temperatures.
Figure 21. Variation trend of specific enthalpy with inlet air temperature at different wall temperatures.
Energies 17 06495 g021
Figure 22. Variation trend of entropy generation with inlet air temperature under different wall temperatures.
Figure 22. Variation trend of entropy generation with inlet air temperature under different wall temperatures.
Energies 17 06495 g022
Figure 23. Variation trend of Nusselt number with ellipticity under different inlet air temperatures.
Figure 23. Variation trend of Nusselt number with ellipticity under different inlet air temperatures.
Energies 17 06495 g023
Figure 24. Variation trend of Nusselt number with ellipticity under different wall temperatures.
Figure 24. Variation trend of Nusselt number with ellipticity under different wall temperatures.
Energies 17 06495 g024
Table 1. Comparison of Nusselt number Nu simulation value, fitting value, and common formula of fluid crossing a circular pipe.
Table 1. Comparison of Nusselt number Nu simulation value, fitting value, and common formula of fluid crossing a circular pipe.
ReSimulation NuFitted NuFrequently-Used Nu
6567.636.0835.9939.27
8209.843.9945.0145.07
9852.252.4554.0450.45
Disclaimer/Publisher’s Note: The statements, opinions and data contained in all publications are solely those of the individual author(s) and contributor(s) and not of MDPI and/or the editor(s). MDPI and/or the editor(s) disclaim responsibility for any injury to people or property resulting from any ideas, methods, instructions or products referred to in the content.

Share and Cite

MDPI and ACS Style

Zhai, Y.; Ling, Z.; Zhao, X.; Dong, Z. Effects of Structure Parameters of Gravity-Type Heat Pipe on Heat Transfer Characteristics for Waste Heat Recovery from Mine Return Air. Energies 2024, 17, 6495. https://doi.org/10.3390/en17246495

AMA Style

Zhai Y, Ling Z, Zhao X, Dong Z. Effects of Structure Parameters of Gravity-Type Heat Pipe on Heat Transfer Characteristics for Waste Heat Recovery from Mine Return Air. Energies. 2024; 17(24):6495. https://doi.org/10.3390/en17246495

Chicago/Turabian Style

Zhai, Yu, Zhikun Ling, Xu Zhao, and Zhifeng Dong. 2024. "Effects of Structure Parameters of Gravity-Type Heat Pipe on Heat Transfer Characteristics for Waste Heat Recovery from Mine Return Air" Energies 17, no. 24: 6495. https://doi.org/10.3390/en17246495

APA Style

Zhai, Y., Ling, Z., Zhao, X., & Dong, Z. (2024). Effects of Structure Parameters of Gravity-Type Heat Pipe on Heat Transfer Characteristics for Waste Heat Recovery from Mine Return Air. Energies, 17(24), 6495. https://doi.org/10.3390/en17246495

Note that from the first issue of 2016, this journal uses article numbers instead of page numbers. See further details here.

Article Metrics

Back to TopTop