Breakdown Characteristics of Schottky Barrier Diodes Used as Bypass Diodes in Photovoltaic Modules under Lightning Surges
Abstract
:1. Introduction
2. Experimental Methods
3. Experimental Results
3.1. Indirect Lightning Surge Reverse Stress Test for Bypass Diode (BPD)
3.2. Indirect Lightning Surge Forward Surge Test for Bypass Diodes (BPDs)
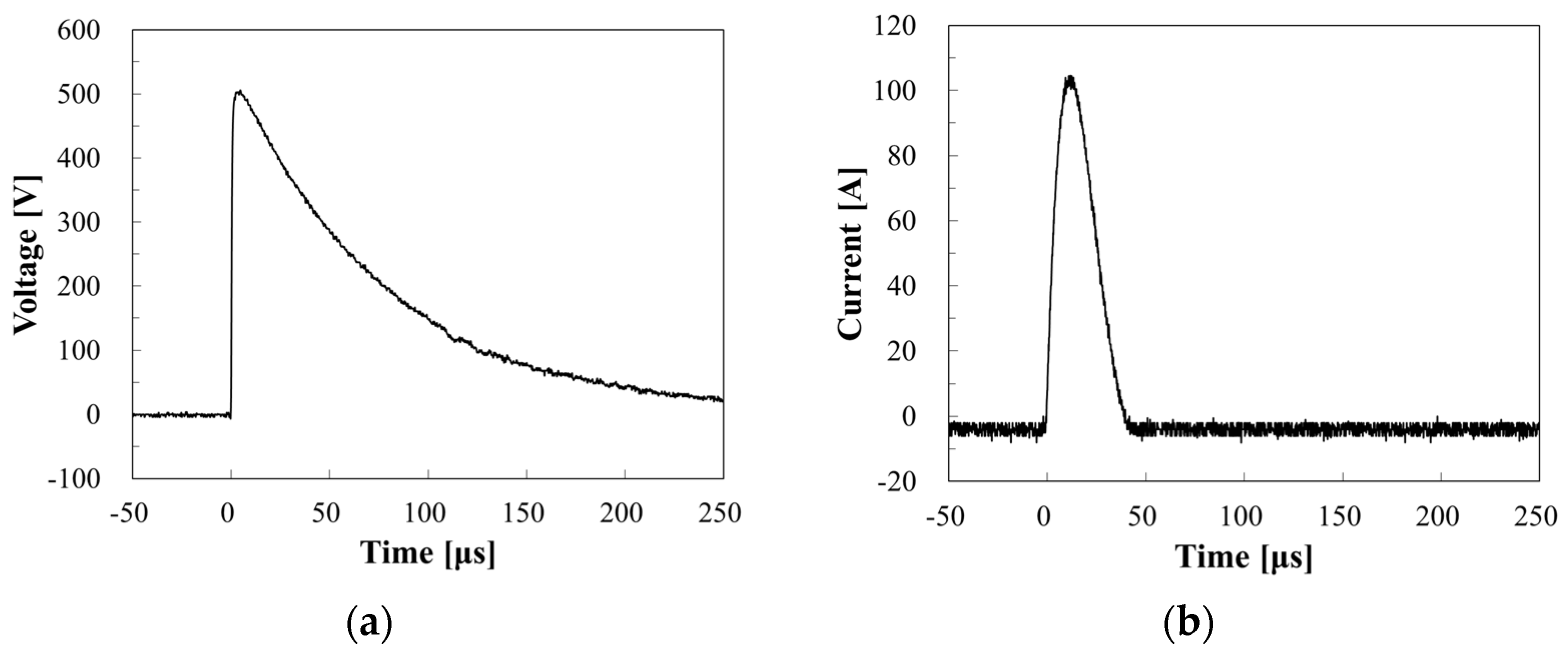
3.3. Schottky Barrier Diode (SBD) Applied Voltage and Current Waveforms in Indirect lightning Surge Tests
4. Discussion
5. Conclusions
- (1)
- The Schottky barrier diodes that failed due to the indirect lightning surge short-circuited in both the indirect lightning surge forward and reverse stress tests. In addition, the failure resistance of the Schottky barrier diodes decreased when the electric charge of the indirect lightning surge increased.
- (2)
- The bypass diodes that failed during indirect lightning surges with relatively low electric charge were likely to fail at resistance values of approximately 10−1 Ω to 10 Ω and were at a high risk of heat generation and burnout.
- (3)
- The Schottky barrier diodes failing with indirect lightning surge forward stress were observed to fail across a wider range of indirect lightning surge electric charges compared with those failing with reverse stress. The failure resistance values reaching those at high risk of heat generation were from 10−1 Ω to 10 Ω.
- (4)
- For the failed Schottky barrier diodes, we confirmed the melting and loss of the Schottky barrier contact comprising the solder material and metal within an element with a semiconductor, owing to the heat generated by the indirect lightning surge current. Consequently, the melted Schottky barrier junction region in a failed Schottky barrier diode was in a low-resistance-value short-circuit condition. However, in the sound region, the diode exhibited residual electrical characteristics.
Author Contributions
Funding
Data Availability Statement
Acknowledgments
Conflicts of Interest
References
- Takeya, K. Photovoltaic System Case Study Guide; Lightning Protection and Design Method; Design Technology Series; Kagakujyoho shuppan Co., Ltd.: Tsukuba, Japan, 2015; pp. 94–99. [Google Scholar]
- Koentges, M.; Kurtz, S.; Packard, C.; Jahn, U.; Berger, K.A.; Kato, K.; Friesen, T.; Liu, H.; Van Iseghem, M. Review of Failures of Photovoltaic Modules; Photovoltaic Power Systems Program; Report IEA-PVPS T13-01; IEA: Paris, France, 2014. [Google Scholar]
- Jiao, T.; Chen, W.; Li, Z.; Diao, Z.; Dang, X.; Chen, P.; Dong, X.; Zhang, Y.; Zhang, B. Fabrication of Ga2O3 Schottky Barrier Diode and Heterojunction Diode by MOCVD. Materials 2022, 15, 8280. [Google Scholar] [CrossRef]
- Haeberlin, H. Interference Voltages induced by Magnetic Fields of Simulated Lihgtning Currents in Photovoltaic Modules and Arrays. In Proceedings of the 17th EU-PVSEC, Munich, Germany, 22–26 October 2001; pp. 2343–2346. [Google Scholar]
- Haeberlin, H. Damages at Bypass Diodes by Induced Voltages and Currents in PV Modules Caused by Nearby Lightning Currents. In Proceedings of the 22nd EU-PVSEC, Milano, Italy, 3–7 September 2007. [Google Scholar]
- Haeberlin, H.; Kaempfer, M. Measurement of Damages at Bypass Diodes by Inuced Voltages and Currents in PV Modules Caused by Nearby Lightning Currents with Standard Waveform. In Proceedings of the 23rd EU-PVSEC, Valencia, Spain, 1–5 September 2008. [Google Scholar]
- Xiao, C.; Hacke, P.; Johnston, S.; Sulas-Kern, D.B.; Jiang, C.S.; Al-Jassim, M. Failure analysis of field-failed bypass diodes. Prog. Photovolt. 2020, 28, 909–918. [Google Scholar] [CrossRef]
- Lee, C.G.; Shin, W.G.; Lim, J.R.; Kang, G.H.; Ju, Y.C.; Hwang, H.M.; Chang, H.S.; Ko, S.W. Analysis of electrical and thermal characteristics of PV array under mismatching conditions caused by partial shading and short circuit failure of bypass diodes. Energy 2021, 218, 119480. [Google Scholar] [CrossRef]
- Hamada, T.; Azuma, T.; Nanno, I.; Ishikura, N.; Fujii, M.; Oke, S. Impact of Bypass Diode Fault Resistance Values on Burnout in Bypass Diode Failures in Simulated Photovoltaic Modules with Various Output Parameters. Energies 2023, 16, 5879. [Google Scholar] [CrossRef]
- Ishikura, N.; Okamoto, T.; Nanno, I.; Hamada, T.; Oke, S.; Fujii, M. Simulation Analysis of Really Occurred Accident Caused by Short Circuit Failure of Blocking Diode and Bypass Circuit in the Photovoltaics System. In Proceedings of the International Conference on Renewable Energy Research and Applications (ICRERA2018), Paris, France, 14–17 October 2018. [Google Scholar]
- JEC-0202:1994; Impulse Voltage and Current Tests in General. Japanese Industrial Standards Committee: Tokyo, Japan, 1994.
- Nakamoto, K. Large Current Impulse Test for the Metal Flame of a Photovoltaic Solar Module. J. Inst. Electr. Install. Eng. Jpn. 2020, 40, 10–11. (In Japanese) [Google Scholar]
- IEC 61000-4-5:2014; Electromagnetic Compatibility (EMC)—Part 4–5: Testing and Measurement Techniques—Surge Immunity Test. Japanese Industrial Standards Committee: Tokyo, Japan, 2011.











Disclaimer/Publisher’s Note: The statements, opinions and data contained in all publications are solely those of the individual author(s) and contributor(s) and not of MDPI and/or the editor(s). MDPI and/or the editor(s) disclaim responsibility for any injury to people or property resulting from any ideas, methods, instructions or products referred to in the content. |
© 2023 by the authors. Licensee MDPI, Basel, Switzerland. This article is an open access article distributed under the terms and conditions of the Creative Commons Attribution (CC BY) license (https://creativecommons.org/licenses/by/4.0/).
Share and Cite
Hamada, T.; Nanno, I.; Ishikura, N.; Fujii, M.; Oke, S. Breakdown Characteristics of Schottky Barrier Diodes Used as Bypass Diodes in Photovoltaic Modules under Lightning Surges. Energies 2023, 16, 7792. https://doi.org/10.3390/en16237792
Hamada T, Nanno I, Ishikura N, Fujii M, Oke S. Breakdown Characteristics of Schottky Barrier Diodes Used as Bypass Diodes in Photovoltaic Modules under Lightning Surges. Energies. 2023; 16(23):7792. https://doi.org/10.3390/en16237792
Chicago/Turabian StyleHamada, Toshiyuki, Ikuo Nanno, Norio Ishikura, Masayuki Fujii, and Shinichiro Oke. 2023. "Breakdown Characteristics of Schottky Barrier Diodes Used as Bypass Diodes in Photovoltaic Modules under Lightning Surges" Energies 16, no. 23: 7792. https://doi.org/10.3390/en16237792
APA StyleHamada, T., Nanno, I., Ishikura, N., Fujii, M., & Oke, S. (2023). Breakdown Characteristics of Schottky Barrier Diodes Used as Bypass Diodes in Photovoltaic Modules under Lightning Surges. Energies, 16(23), 7792. https://doi.org/10.3390/en16237792
