Sign in to use this feature.

Years

Between: -

Subjects

remove_circle_outline
remove_circle_outline
remove_circle_outline
remove_circle_outline
remove_circle_outline
remove_circle_outline
remove_circle_outline
remove_circle_outline
remove_circle_outline

Journals

Article Types

Countries / Regions

remove_circle_outline
remove_circle_outline
remove_circle_outline
remove_circle_outline

Search Results (259)

Search Parameters:
Keywords = flame spraying

Order results
Result details
Results per page
Select all
Export citation of selected articles as:
94 pages, 14084 KB  
Review
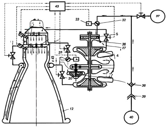
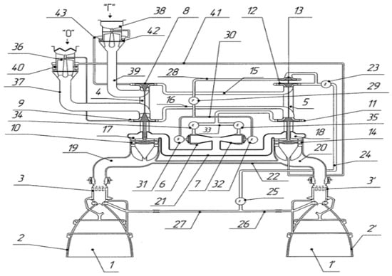
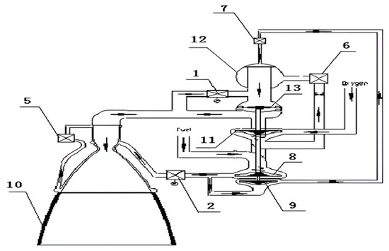
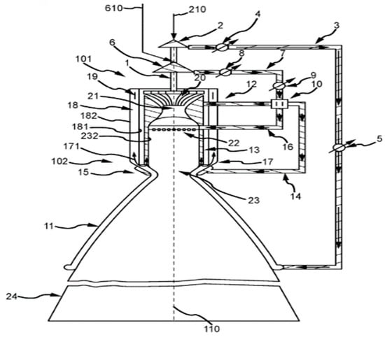
Review of Liquid Rocket Engine Injector Design and Technology
by Zhengda Li, Lionel Ganippa and Thanos Megaritis
Aerospace 2026, 13(4), 344; https://doi.org/10.3390/aerospace13040344 - 7 Apr 2026
Abstract
The engine system requirements for different engine cycles significantly influence the design of the mixing head. A literature review of fuel-injection technology for hydrogen and methane is presented. The literature review aimed to answer proposed questions specific to the liquid rocket engine fuel [...] Read more.
The engine system requirements for different engine cycles significantly influence the design of the mixing head. A literature review of fuel-injection technology for hydrogen and methane is presented. The literature review aimed to answer proposed questions specific to the liquid rocket engine fuel injector design. The current review methodology accounts for the engine system effect. Thus, a comprehensive literature review of the working principles of startup-staged-combustion-cycle engines based on original patents is provided. At the end of the review, the research gaps and suggestions for further work are summarised. At high mass flow rate and injection pressure in the supercritical regime (>50 MPa), experience is limited to the staged-combustion cycle developed in Russia and the US. It is necessary to consider a fluid-dynamic heat transfer coupling study for the multi-injection element design in the supercritical state. Cryogenic spray atomisation experiments need to be designed with research significance in mind. It is still needed to study how the similarity of the spray flow field to the combustion performance affects a liquid rocket engine problem. Moreover, scaling stoichiometric mixing theory needs to be expanded to different injector types, such as tricoaxial and pintle injectors, to validate the correlation between the non-reactive mixing length and flame length. Full article
Show Figures

Figure 1

24 pages, 12119 KB  
Article
Effect of HVOF Spraying Parameters on the Spraying Process and Particle Behavior of Amorphous Alloy Coatings
by Jianxing Yu, Zewei Dong, Yang Yu and Ruilong Gao
Coatings 2026, 16(2), 246; https://doi.org/10.3390/coatings16020246 - 14 Feb 2026
Viewed by 466
Abstract
High-velocity oxygen fuel (HVOF) spraying technology has been widely used to protect and repair the surface of mechanical parts and extend their service life. Spraying Fe-based amorphous alloy coatings can improve the corrosion resistance and fatigue resistance of the substrate. It is crucial [...] Read more.
High-velocity oxygen fuel (HVOF) spraying technology has been widely used to protect and repair the surface of mechanical parts and extend their service life. Spraying Fe-based amorphous alloy coatings can improve the corrosion resistance and fatigue resistance of the substrate. It is crucial to quantitatively elucidate the influence of process parameters on spraying behavior to achieve high-quality coatings. This study utilized a computational fluid-dynamics model to analyze the flight trajectories of flames and particles during HVOF spraying. Additionally, how parameters such as the O/F ratio, parallel barrel length, Laval nozzle diameter, and nitrogen flow rate affect flame and particle behavior was examined. These parameters were found to significantly impact the overall spraying process. As a result, the optimum structure and properties are obtained. In this study, the spray gun parameters were investigated to provide better guidance for the process and improve the quality and efficiency of the coating system. Full article
Show Figures

Graphical abstract

18 pages, 10310 KB  
Article
Study on the Corrosion Behavior and Mechanism of Supersonic Flame Sprayed C276 Coating in Simulated Seawater Environment
by Long Yan, Ping Liang, Zengyao Chen, Hongchi Ma, Zhong Li, Cuiwei Du and Zhiyong Liu
Metals 2026, 16(2), 172; https://doi.org/10.3390/met16020172 - 1 Feb 2026
Viewed by 335
Abstract
In this study, a Hastelloy C276 coating was fabricated on the surface of Q345B steel using high-velocity oxy-fuel (HVOF) spraying technology, and the corrosion behavior and mechanism of the coating in a simulated seawater environment were investigated through electrochemical measurements and immersion tests. [...] Read more.
In this study, a Hastelloy C276 coating was fabricated on the surface of Q345B steel using high-velocity oxy-fuel (HVOF) spraying technology, and the corrosion behavior and mechanism of the coating in a simulated seawater environment were investigated through electrochemical measurements and immersion tests. Studies have shown that C276 coatings fabricated using HVOF technology exhibit dense microstructures and high microhardness. The corrosion rate of the coating initially increased and then decreased with prolonged immersion time, reaching a maximum at 720 h, followed by a reduction to 0.259 mm/year at 1440 h. Corrosion morphology analysis indicated that the decreased corrosion resistance of the C276 coating was primarily due to pitting initiation and propagation at the pores of the coating. With increasing immersion time, the corrosion products accumulated at the surface defects of the C276 coating, forming a dense covering layer that effectively hindered corrosion. Full article
Show Figures

Figure 1

26 pages, 40179 KB  
Article
Electron Beam Remelting for Enhancing Thermally Sprayed Coatings: A Case Study on Self-Fluxing NiCrBSi Powders with Tungsten Carbide
by Piotr Śliwiński, Mateusz Kopyściański, Andrzej N. Wieczorek, Paweł Pogorzelski, Wojciech Szymański and Krzysztof Szymański
Coatings 2026, 16(2), 175; https://doi.org/10.3390/coatings16020175 - 30 Jan 2026
Viewed by 518
Abstract
Thermally sprayed, self-fluxing NiCrBSi-based coatings, subsequently flame-remelted, exhibit notable abrasion and corrosion resistance. While flame remelting facilitates the formation of a homogeneous, pore-free microstructure and promotes adhesion to the substrate, it suffers from low processing efficiency and introduces considerable thermal loads into the [...] Read more.
Thermally sprayed, self-fluxing NiCrBSi-based coatings, subsequently flame-remelted, exhibit notable abrasion and corrosion resistance. While flame remelting facilitates the formation of a homogeneous, pore-free microstructure and promotes adhesion to the substrate, it suffers from low processing efficiency and introduces considerable thermal loads into the material. In contrast, electron beam remelting (EBR) offers enhanced efficiency, reduced heat input, and the potential to achieve metallurgical bonding with the substrate. This study investigates the influence of EBR parameters on the microstructure, hardness, and elemental distribution of NiCrBSi-based coatings. Four powder compositions—with and without tungsten or tungsten carbide (WC) additives—were deposited via thermal spraying and subjected to EBR. The resulting coatings were analyzed using light and scanning electron microscopy (SEM), energy-dispersive X-ray spectroscopy (EDS), and Vickers microhardness testing. The optimized EBR process yielded dense, crack- and pore-free coatings with uniform elemental distribution and effective metallurgical bonding. Maximum matrix hardness values up to 881 HV0.1 were achieved, confirming the efficacy of EBR in enhancing the structural and mechanical integrity of thermally sprayed NiCrBSi coatings. It was also found that the addition of different reinforcement phases to the NiCrBSi matrix can significantly affect the overall microstructure and properties of the matrix itself. Full article
(This article belongs to the Special Issue Advanced Coatings for Alloy Protection and Performance Enhancement)
Show Figures

Figure 1

23 pages, 3025 KB  
Article
Multimetallic Nano-Oxides as Co-Catalysts of an Fe Molecular Catalyst for Enhanced H2 Production from HCOOH: Thermodynamic and Nanostructural Insights
by Christos Dimitriou, Konstantina Gravvani, Anastasios Asvestas, Dimitrios F. Anagnostopoulos, Maria Louloudi and Yiannis Deligiannakis
Catalysts 2026, 16(1), 44; https://doi.org/10.3390/catal16010044 - 1 Jan 2026
Viewed by 726
Abstract
Renewable H2 production emerges as a forward-looking technology towards green energy transition. Herein, we present a study on novel multimetallic nano-oxides used as co-catalysts for H2 production via HCOOH dehydrogenation (FADH) by an FeII(Polyphosphine) molecular catalyst, under near-ambient P, [...] Read more.
Renewable H2 production emerges as a forward-looking technology towards green energy transition. Herein, we present a study on novel multimetallic nano-oxides used as co-catalysts for H2 production via HCOOH dehydrogenation (FADH) by an FeII(Polyphosphine) molecular catalyst, under near-ambient P, T conditions. The co-catalyst nano-oxides consist of multimetallic {LaSrCrFeO} and {LaSrCrFeVO} perovskites, produced by flame spray pyrolysis (FSP) technology. Kinetic catalytic H2 evolution data show that both {LaSrCrFeO} and {LaSrCrFeVO} significantly boost H2 via co-catalytic action. Arrhenius analysis reveals that they decrease the rate-limiting activation energy, Ea. Specifically, Ea = 77.4 kJ mol−1 of {Fe2+/PP3} catalyst is decreased to Ea = 67.8 kJ mol−1 in {LaSrCrFeO + Fe2+/PP3} and Ea = 56.2 kJ mol−1 in {LaSrCrFeVO + Fe2+/PP3} catalyst. These significant thermodynamic effects are not observed when the simple parental oxides are used. The present findings are discussed in the context of a boosting role {LaSrCrFeO} and {LaSrCrFeVO} to the key catalytic intermediates of the FeII(Polyphosphine) catalyst. Technology-wise, this work exemplifies a novel strategy for the industrial production of co-catalysts using FSP technology within the in-situ H2 production landscape. Full article
Show Figures

Graphical abstract

25 pages, 19297 KB  
Article
Microstructure of Cobalt Alloy Coating Manufactured by LVOF Process: Spray Distance and Stoichiometric Gase Ratio Effect
by Fernando Juárez-López, Rubén Cuamatzi-Meléndez, Melquisedec Vicente-Mendoza and Ángel de Jesús Morales-Ramírez
Coatings 2026, 16(1), 34; https://doi.org/10.3390/coatings16010034 - 29 Dec 2025
Viewed by 388
Abstract
This work presents a microstructural characterization methodology for Diamalloy 3001 metallic powders sprayed onto Inconel 718 substrates by flame combustion. Hence, two flame stoichiometric (acetylene/oxygen) rates and specified thermal spray distances were performed in order to study their effects on the developed microstructure [...] Read more.
This work presents a microstructural characterization methodology for Diamalloy 3001 metallic powders sprayed onto Inconel 718 substrates by flame combustion. Hence, two flame stoichiometric (acetylene/oxygen) rates and specified thermal spray distances were performed in order to study their effects on the developed microstructure of the sprayed coatings. The morphology and chemical composition of the developed coatings were evaluated with microscopy, and a comparison of microstructural quality was performed. The findings indicated that spray distance affected coating quality, which is composed of morphology-type lamellar with elongated features, while gravel-like morphologies related to semi-solid powder particles were observed. Moreover, X-ray diffraction analyses established that chemical content of phases rich in oxides increased proportionally with spray distance. Vickers hardness measures and three-point bending tests were correlated with the microstructure and spray distance. These characteristics show that cobalt-based coatings could be proposed for commercial applications requiring high mechanical resistance. Full article
Show Figures

Figure 1

31 pages, 11501 KB  
Article
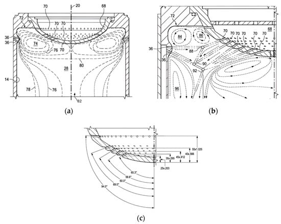
Effect of Injector Recess Depth on Flame Structure of Single Injector in Air Heater
by Ke Wang, Chibing Shen and Bo Fan
Aerospace 2026, 13(1), 21; https://doi.org/10.3390/aerospace13010021 - 25 Dec 2025
Viewed by 414
Abstract
To investigate the influence of injector recess depth on the combustion characteristics of air heaters, high-speed shadowgraph imaging technology combined with numerical simulation was employed. Targeting a tripropellant coaxial direct-flow single injector, three test cases with recess depths of 0 mm, 5 mm, [...] Read more.
To investigate the influence of injector recess depth on the combustion characteristics of air heaters, high-speed shadowgraph imaging technology combined with numerical simulation was employed. Targeting a tripropellant coaxial direct-flow single injector, three test cases with recess depths of 0 mm, 5 mm, and 10 mm were designed to systematically study the ignition process, flame propagation characteristics, quasi-steady combustion, and flow field evolution mechanisms. Experimental results indicate that the recessed structure can expand the liquid mist distribution range before ignition: the dimensionless spray width ratios of the 5 mm and 10 mm recess cases are increased by 57.5% and 64.9% respectively compared to the non-recessed case, with an obvious “saturation effect” observed. Injectors with recess exhibit the characteristic of “jet head priority ignition”, which shortens the ignition time and improves ignition efficiency. The 5 mm shallow recess case achieves the optimal combustion stability with the smallest chamber pressure fluctuation (±0.1 MPa). Although the 10 mm deep recess enhances near-field mixing and combustion intensity, it tends to induce flame oscillation and combustion instability. Simulation results verify the experimental observations: the recess depth regulates droplet atomization, component mixing, and combustion heat release processes by altering the recirculation zone range, velocity gradient, and gas–liquid momentum exchange efficiency. This research provides experimental and theoretical support for the structural optimization of injectors in combustion-type air heaters. Full article
(This article belongs to the Section Aeronautics)
Show Figures

Figure 1

22 pages, 28424 KB  
Article
Effect of Water Ring Flow Rate Ratio on Preparation of Yttrium Oxide Coatings by Suspension Plasma Spray
by Aolong Deng, Fuhu Liu, Peng Zhao, Hailong Zhu and Chuanwen Geng
Coatings 2025, 15(11), 1304; https://doi.org/10.3390/coatings15111304 - 7 Nov 2025
Viewed by 652
Abstract
Yttrium oxide (Y2O3) is a crucial protective material for the inner walls of semiconductor etching chambers. This study employed Suspension Plasma Spray (SPS) technology to deposit Y2O3 coatings on AISI 304 stainless steel substrates. A water [...] Read more.
Yttrium oxide (Y2O3) is a crucial protective material for the inner walls of semiconductor etching chambers. This study employed Suspension Plasma Spray (SPS) technology to deposit Y2O3 coatings on AISI 304 stainless steel substrates. A water ring guide cover, which injects deionized water toward the center of the plasma flame at the torch outlet, was installed. The critical parameter ratio between the water ring flow rate and the suspension feed rate was investigated, with a specific focus on its influence on the coating’s microstructure and mechanical properties. The findings reveal that this parameter exhibits a significant positive correlation with porosity, with the coefficient of determination R2 for their linear fit reaching 0.91236. When the water ring flow rate ratio was reduced to 79.66%, the porosity decreased to 0.946%, while the primary composition of the coating remained unchanged. Bond strength tests demonstrated that the adhesion strength of the coating exhibits an upward trend with increasing proportion of water ring flow. The adhesion strength reached its maximum value of 27.02 MPa when the water ring flow rate proportion was increased to 85.45%. Roughness exhibits a non-monotonic variation trend within the ratio range, attaining its optimal minimum value at the lower end of the ratio, indicating complex interrelationships among process characteristics. This work concludes that a low water ring flow rate ratio is essential for fabricating dense, well-adhered, and smooth Y2O3 coatings via SPS, providing a critical guideline for process optimization for applications such as semiconductor protection. Full article
(This article belongs to the Section High-Energy Beam Surface Engineering and Coatings)
Show Figures

Figure 1

12 pages, 2647 KB  
Communication
Research on Fireproof and Anti-Corrosion Integrated Coatings for Modular Integrated Buildings
by Song Liu, Jun Guan, Zhiheng Ma, Qi Sun, Kai Li and Zhiyong Wang
Coatings 2025, 15(11), 1253; https://doi.org/10.3390/coatings15111253 - 29 Oct 2025
Viewed by 946
Abstract
With the development of prefabricated buildings, the challenge of integrating fireproofing and anti-corrosion in steel structures has become increasingly prominent. Based on epoxy resin, we developed a multifunctional coating with high-flame retardant efficiency and corrosion resistance, which can be employed in the key [...] Read more.
With the development of prefabricated buildings, the challenge of integrating fireproofing and anti-corrosion in steel structures has become increasingly prominent. Based on epoxy resin, we developed a multifunctional coating with high-flame retardant efficiency and corrosion resistance, which can be employed in the key parts of modular integrated construction (MiC), thereby enhancing the safety of the prefabricated buildings. Experimental data showed that the fire resistance limitation reached 124 min, the salt spray resistance 2540 h, and the adhesion grade 1. The limiting oxygen index (LOI) of the cured coating was 45%, corresponding to the V-0 classification in the vertical burning test from Underwriters Laboratories Inc. (Northbrook, IL, USA) (UL 94). Compared with the latest studies, the integrated formulation exhibits simultaneous gains in fire and corrosion protection, offering a promising single-layer solution for MiC. Full article
(This article belongs to the Section Corrosion, Wear and Erosion)
Show Figures

Figure 1

24 pages, 3162 KB  
Review
Advances in Flame-Retardant Coatings for Rigid Polyurethane Foams: A Critical Review
by Qinhe Guo, Jiong Chen, Lulu Xu, Min Chen, Yan Zhang, Yi Xiao, Yao Yuan, Kate Nguyen and Wei Wang
Fire 2025, 8(11), 419; https://doi.org/10.3390/fire8110419 - 28 Oct 2025
Cited by 2 | Viewed by 2934
Abstract
Rigid polyurethane foams (RPUFs) are essential polymeric materials, prized for their low density, high mechanical strength, and superior thermal insulation, making them indispensable in construction, refrigeration, and transportation. Despite these advantages, their highly porous, carbon-rich structure renders them intrinsically flammable, promoting rapid flame [...] Read more.
Rigid polyurethane foams (RPUFs) are essential polymeric materials, prized for their low density, high mechanical strength, and superior thermal insulation, making them indispensable in construction, refrigeration, and transportation. Despite these advantages, their highly porous, carbon-rich structure renders them intrinsically flammable, promoting rapid flame spread, intense heat release, and the generation of toxic smoke. Traditional strategies to reduce flammability have primarily focused on incorporating additive or reactive flame retardants into the foam matrix, which can effectively suppress combustion but often compromise mechanical integrity, suffer from migration or compatibility issues, and involve complex synthesis routes. Despite recent progress, the long-term stability, scalability, and durability of surface flame-retardant coatings for RPUFs remain underexplored, limiting their practical application in industrial environments. Recent advances have emphasized the development of surface-engineered flame-retardant coatings, including intumescent systems, inorganic–organic hybrids, bio-inspired materials, and nanostructured composites. These coatings form protective interfaces that inhibit ignition, restrict heat and mass transfer, promote char formation, and suppress smoke without altering the intrinsic properties of RPUFs. Emerging deposition methods, such as layer-by-layer assembly, spray coating, ultraviolet (UV) curing, and brush application, enable precise control over thickness, uniformity, and adhesion, enhancing durability and multifunctionality. Integrating bio-based and hybrid approaches further offers environmentally friendly and sustainable solutions. Collectively, these developments demonstrate the potential of surface-engineered coatings to achieve high-efficiency flame retardancy while preserving thermal and mechanical performance, providing a pathway for safe, multifunctional, and industrially viable RPUFs. Full article
(This article belongs to the Special Issue Smart Firefighting Technologies and Advanced Materials)
Show Figures

Figure 1

12 pages, 5297 KB  
Article
In Situ Hydrogel Growth on Flame-Sprayed Hydroxyapatite (HA)/TiO2-Coated Stainless Steel via TiO2-Photoinitiated Polymerization
by Komsanti Chokethawai, Nattawit Yutimit, Burin Boonsri, Parkpoom Jarupoom, Ketmanee Muangchan, Sahadsawat Tonkaew, Pongpen Kaewdee, Sujitra Tandorn and Chamnan Randorn
Gels 2025, 11(10), 837; https://doi.org/10.3390/gels11100837 - 18 Oct 2025
Cited by 2 | Viewed by 680
Abstract
Hydroxyapatite (HA) coatings improve implant bioactivity but suffer from brittleness and limited functionality. Here, we report a hybrid coating strategy combining flame-sprayed HA/TiO2 with in situ hydrogel growth. TiO2 incorporated into the HA matrix acted as a photocatalytic initiator for acrylamide [...] Read more.
Hydroxyapatite (HA) coatings improve implant bioactivity but suffer from brittleness and limited functionality. Here, we report a hybrid coating strategy combining flame-sprayed HA/TiO2 with in situ hydrogel growth. TiO2 incorporated into the HA matrix acted as a photocatalytic initiator for acrylamide polymerization under UV. Unlike conventional hydrogel coatings that require added photoinitiators or separate surface modification steps, TiO2 incorporated into the HA layer serves as a built-in photocatalytic initiator, enabling direct polymerization of acrylamide monomers on the sprayed surface. The resulting HA/TiO2–hydrogel coatings exhibited a continuous hydrogel layer with intimate contact to the ceramic surface, as evidenced by SEM cross-sections and elemental mapping. The HA/TiO2 1% coating produced a continuous coverage in close contact with the surface, while excessive TiO2(5%) led to uncontrolled hydrogel growth and partial coating failure. SEM cross-sections revealed a dense, well-adhered coating with homogeneously distributed Ca, P, O, and finely dispersed Ti. Upon immersion in simulated body fluid (SBF), submicron globular deposits progressively developed on the coating surface. EDS showed an increase in Ca/P ratio from ~1.66 (as-sprayed) to ~1.92 (14 days). These findings highlight a straightforward approach for combining flame-sprayed ceramics with photocatalytic hydrogel growth, providing a practical route toward multifunctional implant surface modification. Full article
(This article belongs to the Special Issue Hydrogels for Bone Regeneration (2nd Edition))
Show Figures

Graphical abstract

20 pages, 14004 KB  
Article
Study of the Tribological Properties of Self-Fluxing Nickel-Based Coatings Obtained by Gas-Flame Spraying
by Dastan Buitkenov, Nurmakhanbet Raisov, Temirlan Alimbekuly and Balym Alibekova
Crystals 2025, 15(10), 862; https://doi.org/10.3390/cryst15100862 - 30 Sep 2025
Viewed by 634
Abstract
Self-fluxing Ni-based coatings (NiCrFeBSiC) were deposited through gas-flame spraying and evaluated in three conditions: as-sprayed, flame-remelted, and furnace-heat-treated (1025 °C/5 min). Phase analysis (XRD) revealed FeNi3 together with strengthening carbides/borides (e.g., Cr7C3, Fe23(C,B)6); post-treatments [...] Read more.
Self-fluxing Ni-based coatings (NiCrFeBSiC) were deposited through gas-flame spraying and evaluated in three conditions: as-sprayed, flame-remelted, and furnace-heat-treated (1025 °C/5 min). Phase analysis (XRD) revealed FeNi3 together with strengthening carbides/borides (e.g., Cr7C3, Fe23(C,B)6); post-treatments increased lattice order. Cross-sectional image analysis showed progressive densification (thickness ~805 → 625 → 597 µm) and a drop in porosity from 7.866% to 3.024% to 1.767%. Surface roughness decreased from Ra = 31.860 to 14.915 to 13.388 µm. Near-surface microhardness rose from 528.7 ± 2.3 to 771.6 ± 4.6 to 922.4 ± 5.7 HV, while adhesion strength (ASTM C633) improved from 18 to 27 to 34 MPa. Wettability followed the densification trend, with the contact angle increasing from 53.152° to 79.875° to 89.603°. Under dry ball-on-disk sliding against 100Cr6, the friction coefficient decreased and stabilized (0.648 ± 0.070 → 0.173 ± 0.050 → 0.138 ± 0.003), and the counterbody wear-scar area shrank by ~95.6% (0.889 → 0.479 → 0.0395 mm2). Wear-track morphology evolved from abrasive micro-cutting (as-sprayed) to reduced ploughing (flame-remelted) and a polishing-like regime with a thin tribo-film (furnace). Potentiodynamic tests indicated the lowest corrosion rate after furnace treatment (CR ≈ 0.005678 mm·year−1). Overall, furnace heat treatment provided the best structure–property balance (lowest porosity and Ra, highest HV and adhesion, lowest and most stable μ, and superior corrosion resistance) and is recommended to extend the service life of NiCrFeBSiC coatings under dry sliding. Full article
(This article belongs to the Section Inorganic Crystalline Materials)
Show Figures

Figure 1

21 pages, 2989 KB  
Article
Numerical Investigation of Hydrogen Substitution Ratio Effects on Spray Characteristics, Combustion Behavior, and Emissions in a Dual-Fuel Compression Ignition Engine
by Takwa Hamdi, Fathi Hamdi, Samuel Molima, Victor M. Domínguez, José Rodríguez-Fernández, Juan José Hernández and Mouldi Chrigui
Machines 2025, 13(10), 880; https://doi.org/10.3390/machines13100880 - 23 Sep 2025
Viewed by 1356
Abstract
Hydrogen is a promising alternative fuel for internal combustion engines due to its high specific energy, fast flame speed, and carbon-free combustion. In dual-fuel operation, it offers a practical route to reducing greenhouse gas emissions while remaining compatible with existing engine hardware. This [...] Read more.
Hydrogen is a promising alternative fuel for internal combustion engines due to its high specific energy, fast flame speed, and carbon-free combustion. In dual-fuel operation, it offers a practical route to reducing greenhouse gas emissions while remaining compatible with existing engine hardware. This work evaluates how the hydrogen energy substitution ratio (HSR = 50, 70, and 90%) influences spray dynamics, combustion characteristics, and emissions in a heavy-duty compression ignition engine. Simulations are validated against experiments and use a URANS RNG k–ε framework with a hybrid combustion model: the Eddy Dissipation Concept (EDC) coupled with detailed kinetics (111 species, 768 reactions) for auto-ignition and diffusion burning of diesel, and a G-equation for propagation of a hydrogen-rich premixed flame. The results reveal clear spray–combustion linkages. At HSR 50, the higher Weber number induces stronger breakup, yielding a smaller Sauter mean diameter and higher number-averaged droplet velocity; at HSR 90, the spray is more stable and less atomized, with larger droplets and a shorter vapor penetration length. Increasing the HSR reduces unburned hydrocarbons (UHCs) by more than 50% from HSR 50 to HSR 90 while modestly altering combustion phasing (a later CA50 and a shorter burn duration due to faster hydrogen flame propagation). The validated model provides a practical tool for optimizing dual-fuel settings and HSR–EGR–SOI trade-offs to balance efficiency and emissions. Full article
(This article belongs to the Section Electromechanical Energy Conversion Systems)
Show Figures

Figure 1

15 pages, 4002 KB  
Article
Fire Extinction Analysis and OH-PLIF Visualization of the Methane–Air Premixed Laminar Flame Interacting with the Downward Water Mist
by Yangpeng Liu, Yufei Zhou, Yingxia Zhong, Chuanyu Pan, Guochun Li and Zepeng Wu
Fire 2025, 8(10), 375; https://doi.org/10.3390/fire8100375 - 23 Sep 2025
Viewed by 994
Abstract
In this study, a McKenna burner made for calibration is used to generate the laminar flame with the equivalence ratio of 0.78~2.0. The effect of the downward water mist spray on the extinction of the methane–air premixed laminar flame is investigated using hydroxide [...] Read more.
In this study, a McKenna burner made for calibration is used to generate the laminar flame with the equivalence ratio of 0.78~2.0. The effect of the downward water mist spray on the extinction of the methane–air premixed laminar flame is investigated using hydroxide planar laser-induced fluorescence (OH-PLIF). The variation of the water flow rate for flame extinction is analyzed by the hydroxyl radical concentration distribution and the effective water mist flow rate. The required water flow rate for flame extinction is higher in the cases of rich fuel mixtures. The maximum critical extinguishing water flow rate for the methane–air premixed laminar flame is about 9.55 L/min under the conditions of water mist spray with a 45° solid cone spray angle and a 24 μm droplet size. Furthermore, the evolution of OH-PLIF flame behavior revealed that the stability of the hydroxyl radical concentration at the base of the flame mainly contributed to the flame extinction. This study provides a theoretical reference for the critical extinguishing conditions of water mist in the application of an active fire suppression system. Full article
Show Figures

Figure 1

16 pages, 2250 KB  
Article
Comparative Study of ZnO and ZnO-Ag Particle Synthesis via Flame and Spray Pyrolysis for the Degradation of Methylene Blue
by Kusdianto, Nurdiana Ratna Puri, Adhi Setiawan, Sugeng Winardi, Widiyastuti, Suci Madhania, Mohammad Irwan Fatkhur Rozy and Manabu Shimada
Molecules 2025, 30(16), 3364; https://doi.org/10.3390/molecules30163364 - 13 Aug 2025
Cited by 1 | Viewed by 1295
Abstract
The treatment of organic waste from dyes or other industry processes is a crucial issue that requires urgent attention. Photocatalysis is a promising method for tackling this problem, with ZnO being a commonly used photocatalyst material. This study compared the degrading efficiency of [...] Read more.
The treatment of organic waste from dyes or other industry processes is a crucial issue that requires urgent attention. Photocatalysis is a promising method for tackling this problem, with ZnO being a commonly used photocatalyst material. This study compared the degrading efficiency of ZnO particles and ZnO-Ag composites by utilizing flame and spray pyrolysis techniques. Under UV light, methylene blue (MB) was used as a model organic waste. The generated particles were characterized using Brunauer–Emmett–Teller (BET) surface area, scanning electron microscopy (SEM), X-Ray diffraction (XRD), and a UV-Vis spectrometer. The findings showed that the ZnO and ZnO-Ag obtained using both methods exhibited hexagonal Wurtzite crystal structures, and there was no significant difference in the crystal sizes produced. SEM analysis indicated that the morphology of the resulting particles differed significantly, with flame-synthesized particles being remarkably smaller in size (one-thirtieth the size following spray synthesis) and having smoother surfaces. Furthermore, the addition of Ag particles to ZnO enhanced the MB degradation efficiency by two to three times, achieving a maximum of 64% at 75 min. The BET analysis showed that the surface area of ZnO doped with Ag was larger compared to that of pristine ZnO. On the other hand, the ZnO-Ag particles produced via spray pyrolysis exhibited a total pore volume (determined through nitrogen adsorption–desorption analysis) three times larger than that of the particles produced via the flame method. The particles produced via spray pyrolysis also had better MB degradation performance compared to those synthesized using flame pyrolysis. Full article
(This article belongs to the Special Issue Photochemistry in Asia)
Show Figures

Graphical abstract

Back to TopTop