Sign in to use this feature.

Years

Between: -

Subjects

remove_circle_outline
remove_circle_outline
remove_circle_outline
remove_circle_outline
remove_circle_outline
remove_circle_outline
remove_circle_outline
remove_circle_outline
remove_circle_outline

Journals

Article Types

Countries / Regions

Search Results (41)

Search Parameters:
Keywords = combined ejector

Order results
Result details
Results per page
Select all
Export citation of selected articles as:
14 pages, 4701 KB  
Article
A Uniformity Coefficient-Based Method for Improving the Wear Resistance of Mold Ejector Pin Guide Holes via Oblique Laser Shock Peening
by Enfu Liu, Yueying Ye, Yudie Zhang, Shixu Mu, Zhilong Xu, Wenjun Jiang and Yin Li
Materials 2026, 19(2), 332; https://doi.org/10.3390/ma19020332 - 14 Jan 2026
Viewed by 208
Abstract
To address the severe wear of the hole wall and orifice in ejector pin guide holes of injection molds caused by frequent hole-shaft sliding, this study proposes a composite strengthening method that combines nitriding with oblique laser shock peening (N-OLSP). The strengthening uniformity [...] Read more.
To address the severe wear of the hole wall and orifice in ejector pin guide holes of injection molds caused by frequent hole-shaft sliding, this study proposes a composite strengthening method that combines nitriding with oblique laser shock peening (N-OLSP). The strengthening uniformity in both circumferential and axial directions was evaluated by defining a laser shock peening uniformity coefficient (k). By strictly controlling the uniformity coefficient ratio of two adjacent spots to be no less than 0.98, the optimal step angles for circumferential and axial directions were determined. Comparative experiments were conducted on three types of samples: Untreated, Nitrided, and N-OLSP treated. The results demonstrate that N-OLSP significantly enhances both surface hardness and residual compressive stress of the guide hole, and the degree of improvement increases with a higher value of k. Among the tested samples, N-OLSP exhibited the best wear resistance at the orifice, reducing the wear rate to 0.60 μm/h. Compared with the untreated and nitrided samples, the wear rate reduction achieved by N-OLSP was 66.85% and 16.67%, respectively. Full article
(This article belongs to the Section Metals and Alloys)
Show Figures

Figure 1

50 pages, 1835 KB  
Review
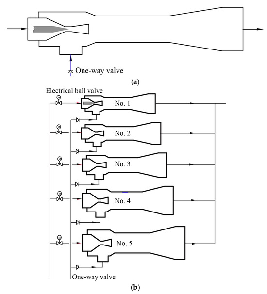
Overview of the Energy Conservation and Sustainable Transformation of Aerospace Systems with Advanced Ejector Technology
by Yiqiao Li, Hao Huang, Siyuan Liu, Caijing Ge, Jing Huang, Shengqiang Shen, Yali Guo and Yong Yang
Energies 2026, 19(1), 221; https://doi.org/10.3390/en19010221 - 31 Dec 2025
Viewed by 249
Abstract
As an energy-saving fluid machinery component, the ejector holds significant potential for promoting energy conservation and sustainable transformation in aerospace. This review synthesizes recent progress, identifies persistent challenges, and outlines future directions for ejector technology in this field, addressing a gap in existing [...] Read more.
As an energy-saving fluid machinery component, the ejector holds significant potential for promoting energy conservation and sustainable transformation in aerospace. This review synthesizes recent progress, identifies persistent challenges, and outlines future directions for ejector technology in this field, addressing a gap in existing reviews. (1) In aero-engine systems, performance faces constraints from high-speed compression effects and flow losses. These systems require optimized design across a wide range of speeds. A mixed configuration incorporating a blade mixer achieved a 5~7% thrust increase under static conditions. (2) In high-altitude test facilities, transient start-up and flow instability under off-design conditions demand more precise models and control strategies. An alternative solution using a second throat exhaust diffuser reduced the start-up time by 50~70%. (3) In rocket-based combined cycle engines, development is limited by thermal choking, mode transition, and combustion-flow coupling issues. Optimization of the rocket layout and geometric throat increased the bypass ratio in ejector mode by 35% and improved the specific impulse by 12.5%. Future efforts should focus on constructing multi-physics coupling numerical simulation models for ejectors, analyzing unsteady flow behavior and thermal effects within ejectors, and developing performance optimization strategies based on intelligent control. These approaches are expected to enhance the engineering applicability and system efficiency of ejector technology in the aerospace field, which is increasingly focused on energy conservation and sustainable transformation. Full article
Show Figures

Figure 1

40 pages, 5505 KB  
Article
Thermo-Economic Assessment of the Organic Rankine Cycle Combined with an Ejector Cooling Cycle Driven by Low-Grade Waste Heat
by Wichean Singmai, Pichet Janpla, Kittiwoot Sutthivirode, Tongchana Thongtip and Natthawut Ruangtrakoon
Energies 2025, 18(24), 6408; https://doi.org/10.3390/en18246408 - 8 Dec 2025
Viewed by 371
Abstract
This paper proposes an energy, exergy, economic, and exergoeconomic (4E) analysis of an Organic Rankine Cycle (ORC) enhanced by an ejector refrigeration system. The two systems are combined via an intercooler, where the unwanted heat is transferred to the ejector cooling loop. The [...] Read more.
This paper proposes an energy, exergy, economic, and exergoeconomic (4E) analysis of an Organic Rankine Cycle (ORC) enhanced by an ejector refrigeration system. The two systems are combined via an intercooler, where the unwanted heat is transferred to the ejector cooling loop. The major objective is to reduce the discharge pressure of the expander so that higher power is achieved. However, the combined system requires more equipment and energy input, and, hence, 4E analysis is an efficient tool for assessing the feasibility of it in practical use based on a comprehensive analysis. This study aims to provide a systematic 4E-based evaluation of an ORC integrated with an ejector cooling cycle under realistic tropical conditions. The innovation of this work lies in combining unified thermodynamic, economic, and exergoeconomic assessments to quantify both performance enhancement and cost interactions attributable to condenser-side cooling. The findings offer significant insights into the dominant thermal–economic trade-offs, identify key cost drivers within the ORC + ECC configuration, and highlight operating conditions that maximize the power output and minimize the electricity generation cost. These results contribute practical guidelines for improving the feasibility and deployment of ORC–ejector systems for low-grade heat recovery applications. A theoretical model is formulated to examine both energy and exergy performance indicators together with key economic metrics. Parametric investigations are conducted to investigate the effects of the intercooler temperature (16–22 °C) and generator temperature (70–85 °C) on overall system performance. It is found that the integration of an ejector cooling cycle (ORC + ECC) can significantly enhance the thermo-economic potential of waste heat power generation systems compared to a standard ORC, from both exergoeconomic and LCOE perspectives. The exergoeconomic analysis identified that, while the expander dominates the cost of the standard ORC, the condenser and cooling tower become critical components of the ORC + ECC due to their high exergy-destruction costs. At the system level, the LCOE results confirm that the ORC + ECC can achieve 37–38% lower electricity generation costs compared to the standard ORC. Full article
(This article belongs to the Section A: Sustainable Energy)
Show Figures

Figure 1

17 pages, 1291 KB  
Article
Performance and Economic Analysis of a High-Efficiency Wide-Working Load Distillation System with Combined Ejector
by Bingxu Chen, Hongjie Chen, Zhizhou Xu, Wenfeng Liang, Haishen Huang and Lin Xia
Processes 2025, 13(12), 3783; https://doi.org/10.3390/pr13123783 - 23 Nov 2025
Viewed by 371
Abstract
A distillation system with an ejector for secondary steam utilization can effectively improve energy efficiency. However, the poor performance of the ejector under varying operating conditions makes it difficult for the distillation system to adapt to wide-range operational requirements. To address this challenge, [...] Read more.
A distillation system with an ejector for secondary steam utilization can effectively improve energy efficiency. However, the poor performance of the ejector under varying operating conditions makes it difficult for the distillation system to adapt to wide-range operational requirements. To address this challenge, a distillation system using a combined ejector with staged and continuous adjustment is proposed, and its performance and economic feasibility under wide load conditions is analyzed. The results show that when a combined ejector is used—composed of four fixed-structure ejectors with capacities of 6.25%, 12.5%, 25%, and 50%, along with a nozzle needle-adjustable ejector with a capacity range of 0–6.25%—the distillation system can combine the advantages of both staged and continuous adjustment. This system can utilize secondary steam across a load range of 2.53–100%, whereas a distillation system with a single continuously adjustable ejector can only utilize secondary steam within a load range of 40.5–100%. As the load varies from 0 to 100%, the proposed system achieves an average entrainment ratio of 0.525, with an efficiency not less than 50% of the design value over 95.23% of the range. In contrast, the conventional single continuously adjustable ejector has an average entrainment ratio of 0.177, and the distillation system efficiency remains above 50% of the design value for only 25.32% of the range. In a solar-assisted distillation system, the combined ejector improves the coefficient of performance (COP) by over 30%, with a payback period of less than one year. The findings highlight the system’s superior adaptability, efficiency, and economic viability for applications with unstable energy supply. Full article
Show Figures

Figure 1

22 pages, 12940 KB  
Article
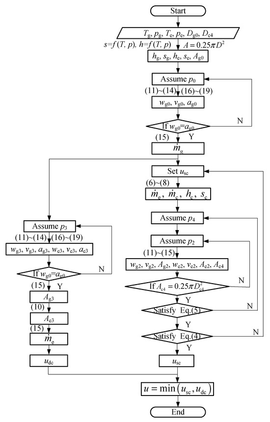
Research on Quasi-One-Dimensional Ejector Model
by Jinfan Chen, Kaifeng He, Jianqiang Zhang and Guoliang Wang
Aerospace 2025, 12(10), 882; https://doi.org/10.3390/aerospace12100882 - 29 Sep 2025
Viewed by 535
Abstract
A new quasi-one-dimensional ejector model for the prediction of ejector performance is carried out, which is based on the theory of ideal gas expansion and free layer development. The model is proposed for calculation of the variable area bypass injector (VABI) and ejector [...] Read more.
A new quasi-one-dimensional ejector model for the prediction of ejector performance is carried out, which is based on the theory of ideal gas expansion and free layer development. The model is proposed for calculation of the variable area bypass injector (VABI) and ejector nozzle in the variable cycle engine (VCE), both at the design point and off-design point. The internal structure of ejector nozzle is determined based on an analysis of the flow field of the 2D ejector nozzle Computational Fluid Dynamics (CFD) result. The flow during the expansion section is divided into three parts: primary flow, secondary flow, and mixed layer flow. Combined with the growth rate of mixing layer thickness, the calculation methods of ejector nozzle exit parameters under critical working conditions and blocking working conditions are given, and the calculated results demonstrate a strong consistency with CFD results, maintaining relative errors below 3%. This method is used to evaluate the ejector nozzle capacity quickly in the overall design stage, which provides theoretical support for the design of the main bypass system of a variable cycle engine. Full article
(This article belongs to the Special Issue High Speed Aircraft and Engine Design)
Show Figures

Figure 1

17 pages, 3652 KB  
Article
Impact of Calefaction and AdBlue Atomization by Magneto-Strictive and Piezoelectric Phenomena on NOx in SCR Systems for Diesel Engines
by Ioan Mihai, Claudiu Marian Picus and Cornel Suciu
Appl. Sci. 2025, 15(17), 9648; https://doi.org/10.3390/app15179648 - 2 Sep 2025
Viewed by 887
Abstract
In recent decades, pollutant emissions from the combustion of fossil fuels have become increasingly serious for the environment. The present paper reports experimental results for research carried out under laboratory conditions for a Selective Catalytic Reduction (SCR) system, implemented in different configurations on [...] Read more.
In recent decades, pollutant emissions from the combustion of fossil fuels have become increasingly serious for the environment. The present paper reports experimental results for research carried out under laboratory conditions for a Selective Catalytic Reduction (SCR) system, implemented in different configurations on an ISUZU 4JB1 diesel engine. The obtained results allow for a comparative analysis of NOx formation as a function of diesel engine load (χ = 25–100%), at 1350, 2100, 2850, and 3600 rpm, with the engine operating under either cold (T < 343 K) or warm (T > 343 K) regimes. A preheating system for AdBlue droplets, in the form of a metal honeycomb that uses electromagnetic induction and incorporates a high-frequency generator, was introduced in the flow path of the combustion gases and tested to compare the experimental results. This system enabled temperatures of up to 643 K. A magneto-strictive system was also introduced in the SCR structure to atomize the AdBlue droplets to a minimum diameter of 3.5 μm. Using this principle, combined with preheating, the effect of calefaction was compared with the classical case of the internal heating of the SCR catalyst. For experimental purposes, piezoelectric cells dedicated to the transformation of the AdBlue solution into micro- or nano-droplets, which were entrained into the SCR by an ejector, were also used. Experimental results are presented in graphical form and reveal that the use of preheating, heating, or piezoelectric cells leads to improved NOx conversion. The tested solutions showed reductions in NOx emissions of up to eight times depending on the diesel engine load, demonstrating their strong impact on NOx reduction. Full article
Show Figures

Figure 1

22 pages, 2131 KB  
Review
Research Progress on CO2 Transcritical Cycle Technology for Building Heating and Cooling Applications
by Weixiu Shi, Haiyu Chang, Junwei Zhou, Bai Mu, Shuang Quan and Lisheng Pan
Buildings 2025, 15(16), 2952; https://doi.org/10.3390/buildings15162952 - 20 Aug 2025
Cited by 2 | Viewed by 2999
Abstract
This review focuses on the advancements of CO2 transcritical cycle technology in building indoor environmental regulation, particularly in combined heating and cooling applications. The paper highlights the energy efficiency and environmental benefits of CO2 as a natural refrigerant, which has zero [...] Read more.
This review focuses on the advancements of CO2 transcritical cycle technology in building indoor environmental regulation, particularly in combined heating and cooling applications. The paper highlights the energy efficiency and environmental benefits of CO2 as a natural refrigerant, which has zero ozone depletion potential (ODP) and very low global warming potential (GWP). It provides a comprehensive overview of recent optimization strategies, including distributed compression, the integration of ejectors and expanders, and the design improvements of key components such as gas coolers, compressors, and throttling valves. Through optimization strategies such as dual-system cycles, this technology can achieve a COP improvement of 15.3–46.96% in heating scenarios; meanwhile, with the help of distributed compression technology, its cooling capacity can be enhanced by up to 26.5%. The review also examines various operating conditions such as discharge pressure and subcooling, which significantly affect system performance. The paper concludes by identifying the current challenges in the application of CO2 systems, such as high initial costs and system stability under extreme conditions, and suggests future research directions to overcome these limitations and improve the practical application of CO2 transcritical cycles in the building industry. Overall, it is concluded that the development of expander-compressors holds great potential for achieving better performance and represents a promising direction for future advancements in this field. Full article
(This article belongs to the Special Issue Development of Indoor Environment Comfort)
Show Figures

Figure 1

24 pages, 7102 KB  
Article
Comparing a New Passive Lining Method for Jet Noise Reduction Using 3M™ Nextel™ Ceramic Fabrics Against Ejector Nozzles
by Alina Bogoi, Grigore Cican, Laurențiu Cristea, Daniel-Eugeniu Crunțeanu, Constantin Levențiu and Andrei-George Totu
Technologies 2025, 13(7), 295; https://doi.org/10.3390/technologies13070295 - 9 Jul 2025
Viewed by 1410
Abstract
This study investigates the complementary noise control capabilities of two passive jet noise mitigation strategies: a traditional ejector nozzle and a novel application of 3M™ Nextel™ 312 ceramic fabric as a thermal–acoustic liner on the central cone of a micro turbojet nozzle. Three [...] Read more.
This study investigates the complementary noise control capabilities of two passive jet noise mitigation strategies: a traditional ejector nozzle and a novel application of 3M™ Nextel™ 312 ceramic fabric as a thermal–acoustic liner on the central cone of a micro turbojet nozzle. Three nozzle configurations, baseline, ejector, and Nextel-treated, were evaluated under realistic operating conditions using traditional and advanced acoustic diagnostics applied to data from a five-microphone circular array. The results show that while the ejector provides superior directional suppression and low-frequency redistribution, making it ideal for far-field noise control, it maintains high total energy levels and requires structural modifications. In contrast, the Nextel lining achieves comparable reductions in overall noise, especially in high-frequency ranges, while minimizing structural impact and promoting spatial energy dissipation. Analyses in both the time-frequency and spatial–spectral domains demonstrate that the Nextel configuration not only lowers acoustic energy but also disrupts coherent noise patterns, making it particularly effective for near-field protection in compact propulsion systems. A POD analysis further shows that NEXTEL more evenly distributes energy across mid-order modes, indicating its role in smoothing spatial variations and dampening localized acoustic concentrations. According to these results, ceramic fabric linings offer a lightweight, cost-effective solution for reducing the high noise levels typically associated with drones and UAVs powered by small turbojets. When combined with ejectors, they could enhance acoustic suppression in compact propulsion systems where space and weight are critical. Full article
(This article belongs to the Special Issue Aviation Science and Technology Applications)
Show Figures

Figure 1

31 pages, 17047 KB  
Article
Performance Analysis of Solar-Integrated Vapour Compression Air Conditioning System for Multi-Story Residential Buildings in Hot Climates: Energy, Exergy, Economic, and Environmental Insights
by Hussein A. Al Khiro and Rabah Boukhanouf
Energies 2025, 18(11), 2781; https://doi.org/10.3390/en18112781 - 27 May 2025
Cited by 1 | Viewed by 888
Abstract
Decarbonisation in hot climates demands innovative cooling solutions that minimise environmental impact through renewable energy integration and advanced system optimisation. This study investigates the energetic and economic feasibility of a thermo-mechanical vapour compression (TMVC) cooling system that integrates a conventional vapour compression cycle [...] Read more.
Decarbonisation in hot climates demands innovative cooling solutions that minimise environmental impact through renewable energy integration and advanced system optimisation. This study investigates the energetic and economic feasibility of a thermo-mechanical vapour compression (TMVC) cooling system that integrates a conventional vapour compression cycle with an ejector and a thermally driven second-stage compressor powered by solar-heated water from evacuated flat-plate collectors. The system is designed to reduce mechanical compressor work and enhance cooling performance in hot climates. A comprehensive 4E (energy, exergy, economic, and environmental) analysis is conducted for a multi-story residential building in Baghdad, Iraq, with a total floor area of approximately 8000 m2 and a peak cooling demand of 521.75 kW. Numerical simulations were conducted to evaluate various configurations of solar collector areas, thermal storage tank volumes, and collector mass flow rate, aiming to identify the most energy-efficient combinations. These optimal configurations were then assessed from economic and environmental perspectives. Among them, the system featuring a 600 m2 collector area and a 34 m3 storage tank was selected as the optimal case based on its superior electricity savings and energy performance. Specifically, this configuration achieved a 28.28% improvement in the coefficient of performance, a 22.05% reduction in energy consumption, and an average of 15.3 h of daily solar-assisted operation compared to a baseline vapour compression system. These findings highlight the potential of the TMVC system to significantly reduce energy usage and environmental impact, thereby supporting the deployment of sustainable cooling technologies in hot climate regions. Full article
Show Figures

Figure 1

24 pages, 4239 KB  
Article
Thermodynamic and Exergetic Evaluation of a Newly Designed CSP Driven Cooling-Desalination Cogeneration System
by Hassan F. Elattar, Abdul Khaliq, Bassam S. Aljohani, Abdullah M. A. Alsharif and Hassanein A. Refaey
Processes 2025, 13(5), 1589; https://doi.org/10.3390/pr13051589 - 20 May 2025
Cited by 1 | Viewed by 1017
Abstract
This investigation attempts to develop a tower solar collector-based system designed for the cogeneration of cooling and desalination. The traditional organic Rankine cycle (ORC) integrated with the ejector refrigeration cycle generates limited power and cooling at a single temperature. Acknowledging their [...] Read more.
This investigation attempts to develop a tower solar collector-based system designed for the cogeneration of cooling and desalination. The traditional organic Rankine cycle (ORC) integrated with the ejector refrigeration cycle generates limited power and cooling at a single temperature. Acknowledging their limitations, our present study uses an organic flash cycle (OFC) supported by solar heat combined with the two-phase ejector cycle and the reverse osmosis (RO) desalination unit. Since the OFC turbine is fed with two extra streams of fluid, therefore, it provides greater power to run the compressor of the ejector and pumps of the RO unit, resulting in the production of cooling at two different temperatures (refrigeration and air conditioning) and a higher mass flow rate of fresh water. A mathematical model is employed to assess the impact of coil curvature ratio, Rib height, and direct normal irradiation (DNI) on the temperature of the collector’s oil outlet. ANSYS-FLUENT conducts numerical simulations through computational fluid dynamics (CFD) analysis. The results indicate an ultimate increase in oil outlet temperature of 45% as the DNI increased from 450 to 1000 W/m2 at a curvature ratio of 0.095 when employing the 1st Rib. Further, a steady-state energy and exergy analysis is conducted to evaluate the performance of the proposed cogeneration, with different design parameters like DNI, coil curvature ratio, rib height, and OFC turbine inlet pressure. The energetic and exergetic efficiencies of the cogeneration system at DNI of 800 W/m2 are obtained as 16.67% and 6.08%, respectively. Exergetic assessment of the overall system shows that 29.57% is the exergy produced as cooling exergy, and the exergy accompanied by freshwater, 68.13%, is the exergy destroyed, and 2.3% is the exergy loss. The solar collector exhibits the maximum exergy destruction, followed by the ejector and RO pumps. Integrating multiple technologies into a system with solar input enhances efficiency, energy sustainability, and environmental benefits. Full article
(This article belongs to the Section Chemical Processes and Systems)
Show Figures

Figure 1

38 pages, 4777 KB  
Article
Utility of Certain AI Models in Climate-Induced Disasters
by Ritusnata Mishra, Sanjeev Kumar, Himangshu Sarkar and Chandra Shekhar Prasad Ojha
World 2024, 5(4), 865-900; https://doi.org/10.3390/world5040045 - 8 Oct 2024
Cited by 2 | Viewed by 1759
Abstract
To address the current challenge of climate change at the local and global levels, this article discusses a few important water resources engineering topics, such as estimating the energy dissipation of flowing waters over hilly areas through the provision of regulated stepped channels, [...] Read more.
To address the current challenge of climate change at the local and global levels, this article discusses a few important water resources engineering topics, such as estimating the energy dissipation of flowing waters over hilly areas through the provision of regulated stepped channels, predicting the removal of silt deposition in the irrigation canal, and predicting groundwater level. Artificial intelligence (AI) in water resource engineering is now one of the most active study topics. As a result, multiple AI tools such as Random Forest (RF), Random Tree (RT), M5P (M5 model trees), M5Rules, Feed-Forward Neural Networks (FFNNs), Gradient Boosting Machine (GBM), Adaptive Boosting (AdaBoost), and Support Vector Machines kernel-based model (SVM-Pearson VII Universal Kernel, Radial Basis Function) are tested in the present study using various combinations of datasets. However, in various circumstances, including predicting energy dissipation of stepped channels and silt deposition in rivers, AI techniques outperformed the traditional approach in the literature. Out of all the models, the GBM model performed better than other AI tools in both the field of energy dissipation of stepped channels with a coefficient of determination (R2) of 0.998, root mean square error (RMSE) of 0.00182, and mean absolute error (MAE) of 0.0016 and sediment trapping efficiency of vortex tube ejector with an R2 of 0.997, RMSE of 0.769, and MAE of 0.531 during testing. On the other hand, the AI technique could not adequately understand the diversity in groundwater level datasets using field data from various stations. According to the current study, the AI tool works well in some fields of water resource engineering, but it has difficulty in other domains in capturing the diversity of datasets. Full article
Show Figures

Figure 1

26 pages, 5563 KB  
Article
Solar-Powered Combined Cooling, Heating, and Power Energy System with Phase-Change Material and Water Electrolysis: Thermo-Economic Assessment and Optimization
by Koorosh Aieneh, Sadegh Mehranfar, Mohammad Yazdi Sotoude, Shayan Sadeghi and Amin Mahmoudzadeh Andwari
Energies 2024, 17(13), 3309; https://doi.org/10.3390/en17133309 - 5 Jul 2024
Cited by 7 | Viewed by 2647
Abstract
A solar-powered combined cooling, heating, and power (CCHP) plant integrated with a water electrolysis unit is investigated in terms of energy, exergy, and exergo-economic (3E) assessments. A comprehensive parametric study and optimization is conducted following the thermodynamic and exergo-economic assessment of the proposed [...] Read more.
A solar-powered combined cooling, heating, and power (CCHP) plant integrated with a water electrolysis unit is investigated in terms of energy, exergy, and exergo-economic (3E) assessments. A comprehensive parametric study and optimization is conducted following the thermodynamic and exergo-economic assessment of the proposed system to evaluate the key performance parameters of the system for efficiency and economic factors. This system employs a heliostat field and a receiver tower by taking advantage of thermal energy from the sun and produces a continuous energy supply with an integrated phase-change material (PCM) tank to store the heat. In addition, a supercritical CO2 Rankine cycle (RC), an ejector refrigeration cooling (ERC) system, and a PEM water electrolyzer are coupled to produce cooling, heating, power, and hydrogen. Thermodynamic analysis indicates that the system exergy efficiency and energy efficiency are improved to 33.50% and 40.61%, respectively, while the total cost rate is 2875.74 USD/h and the total product cost per exergy unit is 25.65 USD/GJ. Additionally, the system produces a net generated power, heating load, and cooling load of 11.70, 13.92, and 2.60 MW, respectively, and a hydrogen production rate of 12.95 g/s. A two-objective optimization approach utilizing a non-dominated sorting genetic algorithm (NSGA) was performed, demonstrating that the system’s ideal design point offers a cost rate of 1263.35 USD/h and an exergetic efficiency of 34.17%. Full article
(This article belongs to the Special Issue Advances in Waste Heat Recovery and Integrated Energy Systems)
Show Figures

Figure 1

14 pages, 4014 KB  
Article
Development and Process Integration of an Alternative Demoulding System for High-Pressure Die Casting Using a Contoured Vacuum Mask
by Alexander Haban, Andreas Schilling, Martin Fehlbier, Toni Karalus and Stefanie Felicia Kracun
Metals 2024, 14(6), 691; https://doi.org/10.3390/met14060691 - 11 Jun 2024
Cited by 1 | Viewed by 1981
Abstract
This study presents the development and process integration of an alternative demoulding system for high-pressure die casting. The system is aimed at the removal of large structural castings, which are becoming increasingly popular in the industry under the terms mega- and gigacasting. The [...] Read more.
This study presents the development and process integration of an alternative demoulding system for high-pressure die casting. The system is aimed at the removal of large structural castings, which are becoming increasingly popular in the industry under the terms mega- and gigacasting. The development differs from conventional systems in the fact that it completely avoids ejectors and realises the demoulding via the principle of vacuum suction cups. Preliminary tests were carried out in which various established materials for vacuum cups were initially identified and the suitability of the selected cup concept was investigated by varying influencing variables from the high-pressure die casting. These tests showed that a suction pad material combination of an elastomer with a thermal barrier and an aramid felt on the surface provides the best results under the given process boundary conditions. Based on this, a multi-segmented vacuum mask with contour adaptation to the casting to be removed was developed. This vacuum mask is used to build up the holding force between the casting and the removal device. The necessary removal force is applied via pneumatic cylinders. The functional capability of the concept and the system integration was verified by experiments on a real die-casting mould for test specimens. The shrinkage and demoulding process can be successfully modelled in the simulation and the real measured demoulding force is only approx. 15% higher than in the simulation. During demoulding in the high-pressure die-casting process, vacuums of up to 88.7% were achieved at temperatures up to 395 °C. Full article
Show Figures

Figure 1

14 pages, 3960 KB  
Article
Experimental Investigation into the Performance of PEMFCs with Three Different Hydrogen Recirculation Schemes
by Kejing Li, Chen Wang, Jingjing Li, Lei Wang, Zongji Li and Chuanlong Zhang
Inventions 2024, 9(2), 33; https://doi.org/10.3390/inventions9020033 - 13 Mar 2024
Cited by 5 | Viewed by 3580
Abstract
Hydrogen recirculation systems (HRSs) are vital components of proton exchange membrane fuel cells (PEMFCs), and it is necessary to investigate different HRS schemes to meet the needs of high-power PEMFCs. PEMFCs are developing in the direction of low cost, high power, wide working [...] Read more.
Hydrogen recirculation systems (HRSs) are vital components of proton exchange membrane fuel cells (PEMFCs), and it is necessary to investigate different HRS schemes to meet the needs of high-power PEMFCs. PEMFCs are developing in the direction of low cost, high power, wide working conditions, low noise, compact structure, etc. Currently, it is difficult for hydrogen recirculation pumps (HRPs) to meet the flow requirements of high-power PEMFCs. HRPs inevitably have high parasitic energy consumption, loud noise output, high cost, easy leakage, and high failure rates. Therefore, it is necessary to study different HRS schemes to develop a better solution for high-power PEMFCs. In this study, the functional prototype of a piping and instrumentation diagram (P&ID) based on three HRSs of HRPs was designed, and a functional prototype was built. Working according to the analysis and comparison of PEMFC performance test data, we find that the net power trend of PEMFC systems using three different HRS technology schemes is consistent. The ejector scheme and the combination scheme do not reduce the performance of PEMFCs and have advantages in different power ranges, such as 24 A, 48 A, and other small current points. The PEFMC system net power order is as follows: ejector scheme > HRP scheme > combination scheme. At about 120 A, the net power outputs of the three HRS schemes in the PEMFC system coincide. From around 180 A onwards, the PEMFC system power of the combined HRS scheme gradually dominates. At 320 A, the PEFMC system net power order is as follows: combined HRS scheme > HRP scheme > ejector scheme. Full article
Show Figures

Figure 1

21 pages, 8746 KB  
Article
An Ejector and Flashbox-Integrated Approach to Flue Gas Waste Heat Recovery: A Novel Systematic Study
by Runchen Wang, Xiaonan Du, Yuetao Shi, Yuhao Wang and Fengzhong Sun
Energies 2023, 16(22), 7607; https://doi.org/10.3390/en16227607 - 16 Nov 2023
Cited by 1 | Viewed by 1561
Abstract
In this study, a comprehensive examination was conducted to explore the technology involved in the recovery of waste heat from flue gas emitted by a 1000 MW unit. Traditional methods are constrained in their ability to harness waste heat from flue gas solely [...] Read more.
In this study, a comprehensive examination was conducted to explore the technology involved in the recovery of waste heat from flue gas emitted by a 1000 MW unit. Traditional methods are constrained in their ability to harness waste heat from flue gas solely for the purpose of generating medium-temperature water. The system being examined not only recovers waste heat but also utilizes it to generate steam, thereby greatly improving resource efficiency. The process entails utilizing the flue gas to heat water to a certain temperature, followed by subjecting it to flash evaporation. This process leads to the generation of low-pressure waste heat steam. Within the steam ejector, the waste heat steam combines with high-pressure motive steam extracted from the source, resulting in the formation of medium-pressure steam. Within the steam ejector, the waste heat steam blends with high-pressure motive steam drawn from the source, forming medium-pressure steam that eventually feeds into the A8 steam extraction pipe (low-pressure turbine pumping pipe). The present study examines the fluctuation patterns in motive steam flow, suction coefficient, waste heat steam volume, and outlet temperature of the flue water heat exchanger when different motive steam sources are used. Additionally, the research calculates the reduction in CO2 emissions, the coal consumption for power supply, and the cost savings in fuel for the retrofitted system. The findings indicate that maximizing energy utilization can be achieved by operating the retrofitted unit at the lowest feasible waste heat steam pressure. The implementation of the new system has resulted in a substantial decrease in coal consumption for power supply. When employing main steam as the extraction steam source, the consumption of coal for power generation decreases in proportion to the decrease in waste heat steam pressure while maintaining a constant unit load. When the waste heat steam pressure reaches 0.0312 MPa, the recorded coal consumption for power generation varies between 289.43 g/kWh at 100% turbine heat acceptance (THA) and 326.94 g/kWh at 30%THA. When comparing this performance with the initial thermal power plant (TPP) unit, it demonstrates reductions of 2.26 g/kWh and 1.52 g/kWh, respectively. After implementing modifications to this 1000 MW unit, it is projected that the annual CO2 emissions can be effectively reduced by 6333.97 tons, resulting in significant cost savings of approximately USD 0.23 million in fuel expenses. This system exhibits considerable potential in terms of emission reduction and provides valuable insights for thermal power plants aiming to decrease unit energy consumption. Full article
(This article belongs to the Topic Waste-to-Energy)
Show Figures

Figure 1

Back to TopTop