Sign in to use this feature.

Years

Between: -

Subjects

remove_circle_outline
remove_circle_outline
remove_circle_outline
remove_circle_outline
remove_circle_outline
remove_circle_outline
remove_circle_outline
remove_circle_outline
remove_circle_outline

Journals

Article Types

Countries / Regions

Search Results (31)

Search Parameters:
Keywords = chestnut timber

Order results
Result details
Results per page
Select all
Export citation of selected articles as:
11 pages, 1474 KB  
Article
Influence of Forest Structural Complexity and Management Intensity on Woodpecker Communities in Mediterranean Chestnut (Castanea sativa) Forests
by Alexandra Demertzi, Christina Gerontidou, Nikolaos Gogolos and Anastasios Bounas
Ecologies 2025, 6(2), 37; https://doi.org/10.3390/ecologies6020037 - 14 May 2025
Viewed by 1610
Abstract
Mediterranean chestnut forests represent ecologically and economically important systems that support biodiversity while providing timber, non-timber forest products, and cultural services. However, traditional management practices are undergoing substantial shifts, with potential implications for forest structure and biodiversity. This study investigates how variation in [...] Read more.
Mediterranean chestnut forests represent ecologically and economically important systems that support biodiversity while providing timber, non-timber forest products, and cultural services. However, traditional management practices are undergoing substantial shifts, with potential implications for forest structure and biodiversity. This study investigates how variation in forest structure and management intensity influences woodpecker communities in chestnut-dominated forests on Mount Paiko, northern Greece. Standardized surveys were conducted at 26 sites stratified by management intensity, and structural forest characteristics such as tree diameter, basal area, and deadwood volume were quantified. Species richness, abundance, and habitat use (feeding and nesting signs) were assessed in relation to these variables. Seven woodpecker species were detected, with distinct differences in species composition across management types. Feeding activity was positively associated with mean tree diameter, while basal area showed a significant negative correlation with woodpecker diversity. Canonical correspondence analysis revealed species-specific preferences along structural gradients, highlighting the association of the Black and Lesser Spotted woodpeckers with larger-diameter trees and deadwood-rich stands. Our results underscore the role of structural heterogeneity in supporting diverse woodpecker assemblages and highlight the need to integrate biodiversity conservation into chestnut forest management, particularly through selective retention of large trees and deadwood elements. Full article
Show Figures

Figure 1

13 pages, 1083 KB  
Article
A Reliable Molecular Diagnostic Tool for CA90 (Castanea sativa × Castanea crenata) Hybrid Identification Through SSR
by Toufiq Soale Yussif, Nadine Evora da Cruz, Valentim Coelho, Eugénia Gouveia and Altino Branco Choupina
Agronomy 2025, 15(3), 543; https://doi.org/10.3390/agronomy15030543 - 23 Feb 2025
Viewed by 1440
Abstract
Chestnut trees are an essential source of both food and timber. However, the severe threats from invasive pests and diseases compromise their existence and productivity. In Europe, chestnut hybridization programs have been initiated to produce resilient rootstocks in response to ink disease. However, [...] Read more.
Chestnut trees are an essential source of both food and timber. However, the severe threats from invasive pests and diseases compromise their existence and productivity. In Europe, chestnut hybridization programs have been initiated to produce resilient rootstocks in response to ink disease. However, the gap in the identification of these hybrid plants is typically based on field observations and morphological features and remains a challenge. Our study presents a marker set for distinguishing between chestnut hybrid CA90 (Castanea sativa × Castanea crenata), a hybrid with demonstrated resistance to Phytophthora cinnamomi, and other varieties using microsatellite (SSR) markers and bioinformatics tools. We used 35 chestnut samples, including three CA90 controls, hybrids sampled within Portugal, with an aim to define the profiles of the chestnut hybrids and varieties in this study based on band patterns and SSR motifs. We selected and modified nine distinct SSR primers with null allelic features from 43 already developed simple sequence repeat (SSR) markers. PCR amplification and agarose gel electrophoresis were used to amplify and visualize the DNA bands. To confirm genetic variations, 27 amplified bands were sequenced by Sanger sequencing. This analysis identified 31 SSRs across 22 SSR-containing sequences, with trinucleotide (67.74%) repeats being the most common, followed by repeats of dinucleotide (22.58%), mononucleotide (6.45%), and hexanucleotide (3.23%). A total of 18 alleles were observed for the nine loci. The alleles ranged from one to three per locus for the 35 samples. The novel locus CP4 could only be found in CA90 hybrids. This tool can aid in identifying and selecting disease-resistant hybrids, thereby contributing to chestnut production and management strategies. Full article
(This article belongs to the Section Crop Breeding and Genetics)
Show Figures

Figure 1

12 pages, 2462 KB  
Article
Early Thinning: A Promising Tool to Prevent Fistulina hepatica Heart Rot in Castanea sativa Coppice Stands
by Andreu Meijer, Emigdio Jordán Muñoz-Adalia and Carlos Colinas
Forests 2024, 15(9), 1639; https://doi.org/10.3390/f15091639 - 17 Sep 2024
Cited by 2 | Viewed by 1332
Abstract
Castanea sativa is a high-value tree species whose stands have faced significant threats over the past century. The occurrence of one such threat, Chestnut Red Stain—a heartwood discoloration caused by the fungus Fistulina hepatica—has recently increased. This disease devalues the timber by [...] Read more.
Castanea sativa is a high-value tree species whose stands have faced significant threats over the past century. The occurrence of one such threat, Chestnut Red Stain—a heartwood discoloration caused by the fungus Fistulina hepatica—has recently increased. This disease devalues the timber by up to 70% due to the rejection of stained wood by the industry. This study aimed to evaluate the effects of three management strategies on the occurrence of F. hepatica in chestnut coppice stands. Additionally, the co-occurrence of F. hepatica and Cryphonectria parasitica, both highly prevalent in the study area, was assessed. In 2013, three different silvicultural treatments were applied to five plots. Seven years later, the stand characteristics were measured, and the incidence of F. hepatica was evaluated using molecular tools. Data modeling revealed that the quadratic mean diameter before the interventions was related to the incidence of F. hepatica. Our results suggest that the thinning at earlier stand stages may be more critical than the type or intensity of the thinning in reducing the incidence of the fungus in the mid-term. This finding provides forest managers with new guidance to improve silvicultural treatments and prevent F. hepatica damage. Full article
(This article belongs to the Section Forest Health)
Show Figures

Figure 1

14 pages, 2986 KB  
Article
Optimization of Starch–Tannin Adhesives for Solid Wood Gluing
by Annalisa Magnabosco, Illya Kulyk, Maurizio Avancini, Primož Šket, Jonas Eckardt, Emanuele Cesprini, Francesco Marinello and Gianluca Tondi
Polymers 2024, 16(12), 1694; https://doi.org/10.3390/polym16121694 - 14 Jun 2024
Cited by 1 | Viewed by 2636
Abstract
Bio-based solutions for solid timber gluing have always been a very sensitive topic in wood technology. In this work, we optimize the gluing conditions of a starch–tannin formulation, which allows high performance in dry conditions and resistance to water dipping for 3 h, [...] Read more.
Bio-based solutions for solid timber gluing have always been a very sensitive topic in wood technology. In this work, we optimize the gluing conditions of a starch–tannin formulation, which allows high performance in dry conditions and resistance to water dipping for 3 h, allowing for the D2 classification to be reached according to EN 204. It was observed that the starch–tannin formulations enhanced their performance by increasing the heating temperature, achieving satisfactory results at 140 °C for 13 min. The proportion of polyphenols in the mixture enhances the water resistance but is only tolerated until 20–30%. In particular, the addition of 10% tannin–hexamine enhances the water-resistant properties of starch for both quebracho and chestnut extract. The application of the jet of cold atmospheric plasma allows for good results with more viscous formulations, increasing their penetration in wood. Solid-state 13C-NMR analysis was also performed, and the spectroscopic information suggests establishing a coordination complex between starch and tannin. Full article
(This article belongs to the Section Biobased and Biodegradable Polymers)
Show Figures

Figure 1

17 pages, 3204 KB  
Article
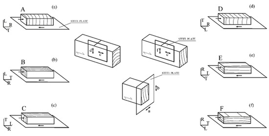
Frictional Behavior of Chestnut (Castanea sativa Mill.) Sawn Timber for Carpentry and Mechanical Joints in Service Class 2
by José Ramón Villar-García, Manuel Moya Ignacio, Pablo Vidal-López and Desirée Rodríguez-Robles
Sustainability 2024, 16(10), 3886; https://doi.org/10.3390/su16103886 - 7 May 2024
Cited by 1 | Viewed by 1596
Abstract
Wood is poised to become a material of choice for future construction. When appropriately managed, it is a renewable material with unique mechanical properties. Thus, there has been a growing demand for hardwoods, including Castanea sativa Mill., the focal point of this investigation, [...] Read more.
Wood is poised to become a material of choice for future construction. When appropriately managed, it is a renewable material with unique mechanical properties. Thus, there has been a growing demand for hardwoods, including Castanea sativa Mill., the focal point of this investigation, for structural applications. Albeit in a limited capacity, Eurocode 5-2 offers friction coefficients for softwoods, but it falls short for hardwoods. These coefficients play a critical role in numerical simulations involving friction, enabling the optimization of joints and, by extension, the overall structural integrity. Test samples were evaluated at 15% and 18% moisture content (Service Class 2) for various orientations of timber-to-timber and timber-to-steel friction. The results provide an experimental database for numerical simulations and highlight the influence of moisture on the stick–slip phenomenon, which was absent for the timber-to-timber tests, as well as on the rising friction values. At 18%, the static and kinetic coefficients were 0.70 and 0.48 for timber-to-timber and 0.5 and 0.50 for timber-to-steel. The increase was around 50% for timber-to-timber friction and over 170% for timber-to-steel pairs. Moreover, the findings proved a relationship between both coefficients and the validity of the linear estimation approach within the 12–18% moisture commonly applied to softwoods. Full article
Show Figures

Figure 1

15 pages, 2634 KB  
Article
Forecasting of Airborne Conidia Quantities and Potential Insect Associations of Cryphonectria parasitica, the Causal Agent of Chestnut Blight, in England
by Pedro Romon-Ochoa, Pankajini Samal, Tom Pace, Tim Newman, Mark Oram, Nicholas Baxter, John A. S. Manning, Mick Biddle, Kerry Barnard, Daegan Inward, Paul Taylor, Steven Hendry, Ana Pérez-Sierra and Lisa Ward
J. Fungi 2024, 10(3), 181; https://doi.org/10.3390/jof10030181 - 28 Feb 2024
Viewed by 2738
Abstract
Sweet chestnut, an Asiatic tree introduced in many parts of Europe including the United Kingdom, is planted for nut production, timber, and amenity. Its major threat is the disease called blight, caused by the fungus Cryphonectria parasitica, which infects through wounds by [...] Read more.
Sweet chestnut, an Asiatic tree introduced in many parts of Europe including the United Kingdom, is planted for nut production, timber, and amenity. Its major threat is the disease called blight, caused by the fungus Cryphonectria parasitica, which infects through wounds by airborne spores. Field trapping using sticky rods rotating traps was performed in an infected area in Devon (between May 2021 and April 2023). An improved dual hydrolysis Taqman probes real-time PCR was used. The number of spores was calculated by comparing the cycle threshold to the Ct of standards with known amounts of conidia or known target fragment copies cloned into a plasmid. Weekly spore counts were in the range of around 60 to approximately 8.5 × 103, with fluctuations of peaks (mainly in late summer–autumn 2021) and troughs. The effects of weather parameters were modelled, finding correlations between spore numbers and temperature, humidity, dewpoint, rainfall, wind speed, and wind duration. Additionally, an insect trapping was performed to confirm the presence/absence and quantity of C. parasitica conidia potentially phoretic on some insects by using the same molecular approach. None of the ten collected insect species harboured spores of this fungus. Full article
(This article belongs to the Special Issue Fungal Pathogens and Host Plants)
Show Figures

Figure 1

17 pages, 4554 KB  
Article
Production of Chestnut Coppice Biomass in a Framework of Low Mechanization and High Expectations to Combat Climate Change and Other Social Expectations
by Francesco Carbone, Luigi Portoghesi, Manuela Romagnoli, Francesco Barbarese and Teresa Grassi
Forests 2024, 15(3), 412; https://doi.org/10.3390/f15030412 - 21 Feb 2024
Viewed by 1685
Abstract
Climate change has become one of the most critical problems facing modern society. Sustainable forest management can be an important solution to counter the increasing concentration of carbon dioxide in the atmosphere. In particular, management of the chestnut forest could prove to be [...] Read more.
Climate change has become one of the most critical problems facing modern society. Sustainable forest management can be an important solution to counter the increasing concentration of carbon dioxide in the atmosphere. In particular, management of the chestnut forest could prove to be an effective strategy to absorb carbon dioxide as this species is characterized by sustained growth, so it has a high capacity to store carbon, and through the use of wood products, it is possible to sequester it for a considerable period. Chestnut (Castanea sativa Mill.) forests cover an area of about 800,000 ha in Italy, most of which is managed as coppice. It plays a central role in the Latium Region where its productive function is very important, as it provides timber of excellent quality. The purpose of this paper is to verify whether the current management of chestnut is efficient, as well as whether retractable wood products can contribute to the fight against climate change. The chestnut coppice located in the municipality of Tolfa (Lazio region, Italy) produces timber for 352 m3/ha and stores about 390,000 kg of CO2. Wood residues and losses during woodworking, together with emissions for the use of machineries, generate emissions of 368,000 kg of CO2. The chestnut semi-finished products, with long-term use prospects, retain a net volume of 22,000 kg of CO2. Although this is good for combating climate change, the amount of CO2 stored is very low, less than 6% of the CO2 stored by functional unit. Chestnut wood has a high versatility of use, so it could replace several products generated by fossil raw materials. Moreover, the implementation of precision forestry, the adoption of forest management more oriented to favor larger plants, the development of local economies and the reduction in the carbon footprint of the wood supply chain through the use of sustainable technologies would increase the capacity for climate change mitigation and increase the added value of its products. Full article
(This article belongs to the Special Issue Research Advances in Management and Design of Forest Operations)
Show Figures

Figure 1

12 pages, 2772 KB  
Article
Timber Structures of Florence Cathedral: Wood Species Identification, Technological Implications and Their Forest Origin
by Nicola Macchioni, Marco Degl’Innocenti, Francesca Mannucci, Ilaria Stefani, Simona Lazzeri and Samuele Caciagli
Forests 2023, 14(9), 1733; https://doi.org/10.3390/f14091733 - 27 Aug 2023
Cited by 6 | Viewed by 3287
Abstract
The Cathedral of Florence is one of the largest churches in the world and is known for one of the most famous domes ever, which characterizes the skyline of the city. The dimensions of the building mean that the dimensions of the roof [...] Read more.
The Cathedral of Florence is one of the largest churches in the world and is known for one of the most famous domes ever, which characterizes the skyline of the city. The dimensions of the building mean that the dimensions of the roof are equally large and so are the wooden structures that support it. The roof of the cathedral is organized on two levels: the roof of the large central nave and, at a lower level, those of the two lateral naves. The purpose of this paper is the identification of the wood species of which the structures are made. The sampling method of the 408 samples that have been identified is then described, the methods followed to reach a reliable identification and finally the results. The timbers most represented among the structural elements are those of silver fir, chestnut and elm. Other timbers are then found in the other components less directly linked to the main structural parts that make up the trusses. The paper then discusses the technological implications on the use of those woods within the wooden covering structures of the cathedral and the main sources of timber that the builders had available, in particular the Casentino forests that the Municipality of Florence had donated to the structure that managed the construction of the cathedral (Opera di Santa Maria del Fiore—OPA). OPA still exists today and is responsible for the maintenance of the cathedral and other annexed buildings. Full article
(This article belongs to the Special Issue Wood as Cultural Heritage Material)
Show Figures

Figure 1

12 pages, 2569 KB  
Article
Density Estimation by Drilling Resistance Technique to Determine the Dynamic Modulus of Elasticity of Wooden Members in Historic Structures
by Michele Brunetti, Giovanni Aminti, Margherita Vicario and Michela Nocetti
Forests 2023, 14(6), 1107; https://doi.org/10.3390/f14061107 - 26 May 2023
Cited by 19 | Viewed by 2746
Abstract
(1) The assessment of the mechanical properties of old timber is essential for the proper maintenance of wooden structures. (2) Among the non-destructive properties, the dynamic modulus of elasticity is one of the best predictors of the mechanical characteristics of the members, but [...] Read more.
(1) The assessment of the mechanical properties of old timber is essential for the proper maintenance of wooden structures. (2) Among the non-destructive properties, the dynamic modulus of elasticity is one of the best predictors of the mechanical characteristics of the members, but it requires the determination of wood density to be determined. (3) Thus, wood density was estimated by drilling resistance measurements, developing species-specific prediction equations for silver fir, chestnut and poplar. (4) The estimated density was combined with the stress wave velocity propagating longitudinally through the wooden piece, and the dynamic modulus of elasticity was calculated. (5) Medium-high coefficient determinations (R2 from 0.79 to 0.94) were found for density estimation, and medium coefficient determinations (R2 from 0.53 to 0.60) were found for the estimation of the static modulus of elasticity using the dynamic modulus. Full article
(This article belongs to the Special Issue Wood as Cultural Heritage Material)
Show Figures

Figure 1

19 pages, 2404 KB  
Article
Net-Carbon Dioxide Surplus as an Environmental Indicator for Supporting Timber Markets: A Case Study in Italy
by Francesco Carbone, Piermaria Corona, Majid Hussain and Francesco Barbarese
Forests 2023, 14(2), 419; https://doi.org/10.3390/f14020419 - 17 Feb 2023
Cited by 3 | Viewed by 2710
Abstract
Using the Life Cycle Assessment (LCA) approach, environmental benefits in terms of CO2 stored in chestnut wood in Italy have been calculated. Using one of the methodologies proposed under the LCA umbrella, a physical and formal balance sheet of CO2 has [...] Read more.
Using the Life Cycle Assessment (LCA) approach, environmental benefits in terms of CO2 stored in chestnut wood in Italy have been calculated. Using one of the methodologies proposed under the LCA umbrella, a physical and formal balance sheet of CO2 has been built. Chestnut forests (Castanea sativa Mill.) are one of the most critical forest types in Europe. They cover an area of 800,000 hectares in Italy, most of which are managed as coppices. Chestnut wood’s high-quality physical-chemical and mechanical characteristics and medium-long durability explains its widespread uses. In this case study a section of a public forest in Central Italy (Lazio Region) has been considered. In the section, during the rotation, two types of intervention were carried out: thinning at 19 years of age, and final cutting at the age of 32. A production of 416 and 93 m3ha−1 for final cutting and thinning, respectively, was recorded. The global amount of 507 m3 is the functional unit, which has stored 547,875 kgCO2. The combination of forest management and sawmill processing produces semi-finished chestnut timber products for 125 m3, which have a physical storage of 135,210 kgCO2. Using the formal balance sheet of CO2, total emissions from processing were recorded for a total of 27,766 kgCO2. At the exit of sawmill, products stored 107,444 kgCO2, which is the amount of Net-Carbon Dioxide Surplus (Net-CDS). Transportation from sawmill to market reduces the sequestered CO2 by 0.77 kgCO2/km. The Net-CDS represents a competitive advantage in the timber market. If tree species have the same physical, chemical, mechanical and price parameters, the timber consumer would prefer to buy wood with the highest Net-CDS. Full article
(This article belongs to the Special Issue Sustainable Utilization and Life Cycle Analysis of Forest Products)
Show Figures

Figure 1

17 pages, 2439 KB  
Article
Prescribed Fire Causes Wounding and Minor Tree Quality Degradation in Oak Forests
by Mike R. Saunders, David P. Mann, Shannon Stanis, Jan K. Wiedenbeck, Daniel C. Dey and Thomas M. Schuler
Forests 2023, 14(2), 227; https://doi.org/10.3390/f14020227 - 25 Jan 2023
Cited by 2 | Viewed by 2901
Abstract
Despite the adaptation of many oak (Quercus) species to repeated surface fire, many public land managers in eastern North America resist using prescribed fire as a regeneration tool because of fire’s perceived negative impacts on timber values through the wounding of [...] Read more.
Despite the adaptation of many oak (Quercus) species to repeated surface fire, many public land managers in eastern North America resist using prescribed fire as a regeneration tool because of fire’s perceived negative impacts on timber values through the wounding of overstory trees. We retrospectively quantified fire-associated wounds in 139 oak-dominated stands across four national forests, each with a history of zero to six prescribed fires within the last 30 years. For trees > 25.4 cm dbh (n = 8093), fire-associated wounds within the first 3.67 m of height were categorized by type, measured for defect size and graded both accounting for and then ignoring the fire-associated wounds. Most fire-associated wounds (n = 3403) were catfaces (32.5%), seams (30.5%) or bark slough (30.1%), although catfaces had 2.1–6.4 times the average volume loss of any other wound type (9.90 ± 0.72 bd ft). Among the 2160 wounded trees sampled, 741 had multiple (≥2) wounds. Although 29.1% of all trees had at least one wound associated with prescribed fire, only 7.0% of those trees exhibited a reduction in tree grade. The likelihood of wounding was greater in stands receiving more prescribed burns, but unaffected by tree diameter for either thin- or thick-barked species. Considering both the likelihoods of wounding and grade reduction, white oak (Q. alba), chestnut oak (Q. montana), hickory (Carya sp.), shortleaf pine (Pinus echinata) and yellow-poplar (Liriodendron tulipifera) trees were more resistant to prescribed fire damage than other species. While our findings cannot be related directly to individual fire parameters, such as fireline intensity or fire duration, these results do provide estimates of the cumulative effects of multiple management-based prescribed fires that can be incorporated into fire effects models. Full article
(This article belongs to the Special Issue Fire Effects on Fuel and Vegetation: Linking Process to Pattern)
Show Figures

Figure 1

14 pages, 17678 KB  
Article
Relationship between Leaf Scorch Occurrence and Nutrient Elements and Their Effects on Fruit Qualities in Chinese Chestnut Orchards
by Rongrong Chen, Jingle Zhu, Jiabing Zhao, Xinru Shi, Wenshi Shi, Yue Zhao, Jiawei Yan, Lu Pei, Yunxia Jia, Yanyan Wu, Haitao Liu, Zeping Jiang, Changming Ma and Shengqing Shi
Forests 2023, 14(1), 71; https://doi.org/10.3390/f14010071 - 30 Dec 2022
Cited by 1 | Viewed by 3320
Abstract
Chinese chestnut (Castanea mollissima) is a multipurpose tree providing nuts and timbers, which holds an important position in the mountainous villages in China. However, leaf scorch disease is becoming more and more serious in the chestnut orchards of Yanshan Mountain areas, [...] Read more.
Chinese chestnut (Castanea mollissima) is a multipurpose tree providing nuts and timbers, which holds an important position in the mountainous villages in China. However, leaf scorch disease is becoming more and more serious in the chestnut orchards of Yanshan Mountain areas, but the cause of occurrence is still unclear. In this study, the nutrient elements were analyzed from the leaves, roots, and surrounding soils of roots as well as the nut qualities in the healthy and scorched trees from two adjacent chestnut orchards. The results showed that the elements of nitrogen (N), iron (Fe), boron (B), and zinc (Zn) in leaves significantly increased in the scorched trees as well as N and B in roots, and potassium (K), and available potassium (AP) in soils, but leaf magnesium (Mg), root manganese (Mn), and soil Mg, copper (Cu), Fe, and B significantly decreased. Correlation analysis demonstrated that B, Zn, Mg, and Fe had a greater influence on the status of leaf health, and soil AK, K, Fe, B, and Cu had an impact on leaf B concentration. In addition, the occurrence of leaf scorch affected the nut sizes, contents of total soluble proteins and ascorbic acid as well as the catalase activity in the nuts. These results indicated that the disruption of soil-element balance may be one of the main causes resulting in the occurrence of leaf scorch, which would provide a theoretical basis and practical guidance for the prevention of chestnut leaf scorch disease. Full article
(This article belongs to the Special Issue Chemical Ecology in Forests)
Show Figures

Figure 1

21 pages, 984 KB  
Review
From Chestnut Tree (Castanea sativa) to Flour and Foods: A Systematic Review of the Main Criticalities and Control Strategies towards the Relaunch of Chestnut Production Chain
by Chiara Aglietti, Alessio Cappelli and Annalisa Andreani
Sustainability 2022, 14(19), 12181; https://doi.org/10.3390/su141912181 - 26 Sep 2022
Cited by 15 | Viewed by 5479
Abstract
Castanea sativa plays a key role in different production chains (timber, flour, honey, and tannins). Moreover, considering the great importance of chestnuts and chestnut flour for the food industry and for the subsistence of piedmont communities, a relaunch of this production chain is [...] Read more.
Castanea sativa plays a key role in different production chains (timber, flour, honey, and tannins). Moreover, considering the great importance of chestnuts and chestnut flour for the food industry and for the subsistence of piedmont communities, a relaunch of this production chain is definitely essential, thus motivating this review. The first aim of this literature overview is to summarize current knowledge regarding the main criticalities in chestnut tree cultivation, chestnut processing, and in chestnut flour production. The second aim is to suggest specific improvement strategies to contrast the main pests and diseases affecting chestnut trees, improve chestnut processing and flour production, and, finally, valorize all by-products generated by this production chain. With respect to chestnut trees, it is essential to develop specific integrated strategies based on early detection and management to contrast known and emerging issues. With regard to chestnut drying and flour production, particular attention needs to be paid to molds and mycotoxins which definitely represent the main criticalities. In addition, further investigations are needed to improve the dying process in both traditional and modern dry kilns, and to develop innovative drying processes. Finally, to face the monumental challenge of environmental sustainability, the valorization of the whole chestnut by-products is crucial. This review clearly highlighted that the recovery of polyphenols from chestnut by-products is the most interesting, sustainable, and profitable strategy. However, the fungal fermentation or the incorporation of little amounts of these by-products into foods seems a very interesting alternative. Full article
(This article belongs to the Special Issue New Food Waste Horizons)
Show Figures

Figure 1

17 pages, 5810 KB  
Article
Friction Coefficients of Chestnut (Castanea sativa Mill.) Sawn Timber for Numerical Simulation of Timber Joints
by José Ramón Villar-García, Pablo Vidal-López, Desirée Rodríguez-Robles and Manuel Moya Ignacio
Forests 2022, 13(7), 1078; https://doi.org/10.3390/f13071078 - 9 Jul 2022
Cited by 4 | Viewed by 4287
Abstract
This study focuses on the friction characteristics of chestnut sawn timber (Castanea sativa Mill.) of Spanish origin. The values of both the static and dynamic friction coefficients were determined, as this knowledge is of interest for the numerical simulation of the stress [...] Read more.
This study focuses on the friction characteristics of chestnut sawn timber (Castanea sativa Mill.) of Spanish origin. The values of both the static and dynamic friction coefficients were determined, as this knowledge is of interest for the numerical simulation of the stress transmission in joints of timber structures. Therefore, two sets of tests were carried out combining different orthotropic orientations. Firstly, timber-to-timber tests were assessed to obtain the coefficients applicable to carpentry joints; secondly, timber-to-steel friction was also evaluated to determine the coefficients needed for mechanical joints with metal plates and dowels. The results presented a conventional behavior of friction, i.e., a maximum static value before sliding and a subsequent decrease. For timber-to-timber tests, global mean values of μs = 0.47 and μk = 0.36 were found, and the results were slightly higher than those obtained between pieces with the same orthotropic orientation and sliding direction. Regarding timber-to-steel tests, the resulting friction coefficients, as well as the difference existing between the static and dynamic values were lower (μs = 0.19 and μk = 0.17) compared to the timber-to-timber sets. The use of these results in numerical studies would allow for closer simulations in which chestnut wood is involved in friction. In addition, the values provided herein could be included as new data in standards that already consider other wood species. Full article
(This article belongs to the Section Wood Science and Forest Products)
Show Figures

Figure 1

11 pages, 1712 KB  
Article
First Report on Genome Editing via Ribonucleoprotein (RNP) in Castanea sativa Mill.
by Vera Pavese, Andrea Moglia, Silvia Abbà, Anna Maria Milani, Daniela Torello Marinoni, Elena Corredoira, Maria Teresa Martínez and Roberto Botta
Int. J. Mol. Sci. 2022, 23(10), 5762; https://doi.org/10.3390/ijms23105762 - 20 May 2022
Cited by 27 | Viewed by 5649
Abstract
Castanea sativa is an important tree nut species worldwide, highly appreciated for its multifunctional role, in particular for timber and nut production. Nowadays, new strategies are needed to achieve plant resilience to diseases, climate change, higher yields, and nutritional quality. Among the new [...] Read more.
Castanea sativa is an important tree nut species worldwide, highly appreciated for its multifunctional role, in particular for timber and nut production. Nowadays, new strategies are needed to achieve plant resilience to diseases, climate change, higher yields, and nutritional quality. Among the new plant breeding techniques (NPBTs), the CRISPR/Cas9 system represents a powerful tool to improve plant breeding in a short time and inexpensive way. In addition, the CRISPR/Cas9 construct can be delivered into the cells in the form of ribonucleoproteins (RNPs), avoiding the integration of exogenous DNA (GMO-free) through protoplast technology that represents an interesting material for gene editing thanks to the highly permeable membrane to DNA. In the present study, we developed the first protoplast isolation protocol starting from European chestnut somatic embryos. The enzyme solution optimized for cell wall digestion contained 1% cellulase Onozuka R-10 and 0.5% macerozyme R-10. After incubation for 4 h at 25 °C in dark conditions, a yield of 4,500,000 protoplasts/mL was obtained (91% viable). The transfection capacity was evaluated using the GFP marker gene, and the percentage of transfected protoplasts was 51%, 72 h after the transfection event. The direct delivery of the purified RNP was then performed targeting the phytoene desaturase gene. Results revealed the expected target modification by the CRISPR/Cas9 RNP and the efficient protoplast editing. Full article
Show Figures

Figure 1

Back to TopTop