A Computational Study of the Influence of Drag Models and Heat Transfer Correlations on the Simulations of Reactive Polydisperse Flows in Bubbling Fluidized Beds
Abstract
:1. Introduction
2. Mathematical Modeling
2.1. Governing Equations
2.2. Interface Transport Coefficients Correlations
- Syamlal–O’Brien: It is based on the terminal velocity of a fluidized bed. It was derived for a single spherical particle, and modified for inclusion in Euler–Euler models for granular flows. The gas–solid drag coefficient is given bywhere is the mean diameter of the particles of the solid phase m. and urm are, respectively, the drag coefficient of one particle and the terminal velocity, which are evaluated asRem is the Reynolds number. The coefficients a and b are given, respectively, as
- Gidaspow: It is a combination of the Ergun equation (εg ≥ 0.8)—obtained for a dense fixed bed and based in the pressure drop in the bed—and Wen-Yu equation (εg < 0.8)—which was developed for a fluidized bed at minimum fluidization condition [28]. In this model, the gas–solid drag coefficient is then given bywhere the drag coefficient of one particle, CD, is written as
- BVK: It was developed by Beetstra et al. [39] from Lattice–Boltzmann simulations for polydisperse flows. The gas–solid drag coefficient in this model is given asThe heat transfer between gas and solid phases, Wgm, is expressed byThe term represents the heat transfer coefficient between phases, and is given by the following formula:where kg is the gas phase thermal conductivity. To obtain the Nusselt number of the heat transfer between phases, three different correlations were studied: Gunn [31], Ranz–Marshall [32], and Li–Mason [33].
- Gunn: It includes the effect of the gas volumetric fraction in its equations. According to Di Natale et al. [40], the Gunn model is a robust expression, and allows for an accurate evaluation of the gas–solid heat transfer coefficient. In the Gunn model, the Nusselt number is computed as
- Li–Mason: It includes the void fraction, and assumes three different expressions for the Nusselt number in terms of the Reynolds number. Its mathematical expressions are given asFor all equations above, the Reynolds and Prandtl numbers are given, respectively, by
3. Studied Cases
3.1. Case 1: Non-Reactive Bidisperse Bubbling Fluidized Bed
| Case 1 | Case 2 | Case 3 | |
|---|---|---|---|
| Flow | Non-reactive (bidisperse) | Reactive (wood gasification) | Reactive (sugarcane bagasse pyrolysis) |
| ) | Fedors–Landel correlation | 0.35 | 0.42 |
| Shear stress model | → Schaeffer model → Agrawal model | ||
| Granular energy | Algebraic equation, Equation (7) | ||
| Fml | Syamlal Model [46] | ||
| Fgm | Syamlal–O’Brien, Gidaspow, and BVK | ||
| Wgm | -- | Gunn, Ranz–Marshall, and Li–Mason | |
| km | -- | Constant and equal to the particle of mth phase | |
| kg | -- | Bird equation | Non-condensable gas: 2.577 × 10−2 W/m K Tar: 5.63 × 10−2 W/m K |
| μg | 1.83 × 10−5 Pa·s | Sutherland equation | 3 × 10−5 Pa s |
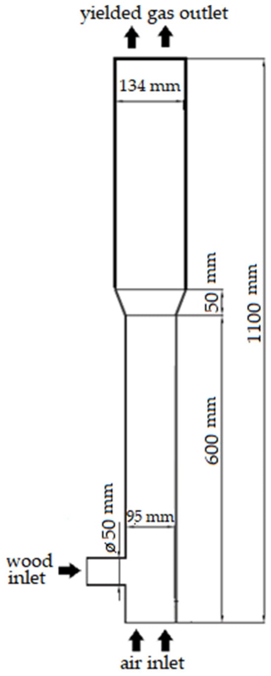
3.2. Case 2: Biomass Gasification in a Bubbling Fluidized Bed
3.3. Case 3: Biomass Pyrolysis in a Bubbling Fluidized Bed
4. Results and Discussion
4.1. Case 1
4.2. Case 2
4.3. Case 3
5. Conclusions
Author Contributions
Funding
Data Availability Statement
Acknowledgments
Conflicts of Interest
Appendix A. Modeling of Chemical Reactions for Gasification

| Reaction Rate | Pre-Exponential Factor [s−1] | Activation Energy [kJ/mol] |
|---|---|---|
| 1.43 × 104 | 88.6 | |
| 7.43 × 105 | 106.5 | |
| 4.13 × 106 | 112.7 | |
| 2.3 × 104 | 80.0 |
| Chemical Reactions | Reaction Rate |
|---|---|
| Homogeneous Reactions | |
| CO + H2O ↔ H2 + CO2 | |
| CH4 + H2O → CO + 3H2 | |
| CO + 0.5O2 → CO2 | |
| H2 + 0.5O2 → H2O | |
| CH4 + 2O2 → 2H2O + CO2 | |
| Heterogeneous Reactions | |
| C + 0.5O2 → CO | |
| C + CO2 → 2CO | |
| C + H2O → CO + H2 | |
| C + 2H2 → CH4 | |
Appendix B. Modeling of Chemical Reactions for Pyrolysis

| Reação | Aj [s−1] | Ea [J/mol] | |
|---|---|---|---|
| kf,C1 | 8.0 × 1013 | 192.5 × 103 | 1.0 |
| kf,C2 | 8.0 × 107 | 125.5 × 103 | 1.0 |
| kf,C3 | 1.0 × 109 | 133.9 × 103 | 1.0 |
| kf,C4 | 4.0 × T | 41.8 × 103 | 1.0 |
| kf,H1 | 1.0 × 1010 | 129.7 × 103 | 1.0 |
| kf,H2 | 3.0 × T | 46.0 × 103 | 1.0 |
| kf,H3 | 3.0 × 109 | 113.0 × 103 | 1.0 |
| kf,H4 | 1.0 × 1010 | 138.1 × 103 | 1.0 |
| kf,L1 | 4.0 × 1015 | 202.9 × 103 | 1.0 |
| kf,L2 | 2.0 × 1013 | 156.9 × 103 | 1.0 |
| kf,L3 | 1.0 × 109 | 106.7 × 103 | 1.0 |
| kf,L4 | 5.0 × 106 | 131.8 × 103 | 1.0 |
| kf,L5 | 3.0 × 108 | 125.5 × 103 | 1.0 |
| kf,L6 | 8.0 × T | 50.2 ×103 | 1.0 |
| kf,L7 | 1.2 × 109 | 125.5 × 103 | 1.0 |
| kf,pir2 | 4.28 × 106 | 108.0 × 103 | 1.0 |
References
- Ahmed, I.I.; Gupta, A.K. Sugarcane Bagasse Gasification: Global Reaction Mechanism of Syngas Evolution. Appl. Energy 2012, 91, 75–81. [Google Scholar] [CrossRef]
- Basu, P. Biomass Gasification and Pyrolysis: Practical Design and Theory; Elsevier: Amsterdam, The Netherlands, 2010; ISBN 978-0-12-374988-8. [Google Scholar]
- Bain, R.L.; Broer, K. Gasification. In Thermochemical Processing of Biomass; Brown, R.C., Ed.; John Wiley & Sons Inc.: Chichester, UK, 2011; pp. 47–77. [Google Scholar]
- Di Blasi, C. Modeling Chemical and Physical Processes of Wood and Biomass Pyrolysis. Prog. Energy Combust. Sci. 2008, 34, 47–90. [Google Scholar] [CrossRef]
- Xiong, Q.; Kong, S.-C. Modeling Effects of Interphase Transport Coefficients on Biomass Pyrolysis in Fluidized Beds. Powder Technol. 2014, 262, 96–105. [Google Scholar] [CrossRef]
- Brandão, F.L.; Verissimo, G.L.; Leite, M.A.H.; Leiroz, A.J.K.; Cruz, M.E. Computational Study of Sugarcane Bagasse Pyrolysis Modeling in a Bubbling Fluidized Bed Reactor. Energy Fuels 2018, 32, 1711–1723. [Google Scholar] [CrossRef]
- Verissimo, G.L.; Leiroz, A.J.K.; Cruz, M.E. Influence of the Pyrolysis and Heterogeneous Char Reactions Modeling in the Simulation of Sugarcane Bagasse Gasification in a Bubbling Fluidized Bed Reactor. Fuel 2020, 281, 118750. [Google Scholar] [CrossRef]
- Hooshdaran, B.; Haghshenasfard, M.; Hosseini, S.H.; Esfahany, M.N.; Lopez, G.; Olazar, M. CFD Modeling and Experimental Validation of Biomass Fast Pyrolysis in a Conical Spouted Bed Reactor. J. Anal. Appl. Pyrolysis 2021, 154, 105011. [Google Scholar] [CrossRef]
- Wu, H.; Yang, C.; Zhang, Z.; Zhang, Q. Simulation of Two-Phase Flow and Syngas Generation in Biomass Gasifier Based on Two-Fluid Model. Energies 2022, 15, 4800. [Google Scholar] [CrossRef]
- Manu, J.; Madav, V. Numerical Modeling of Rice Husk Gasification in Fluidized Bed Gasifier for Sustainable Biofuel Production. Case Stud. Therm. Eng. 2022, 39, 102429. [Google Scholar] [CrossRef]
- Huang, S.Y.; Chen, C.Y.; Hsu, W.Y.; Huang, A.N.; Kuo, H.P. Simulation of Biomass Pyrolysis in a Fluidized Bed Reactor: Independent Sand, Biomass and Char Granular Phases. Biomass Bioenergy 2023, 173, 106796. [Google Scholar] [CrossRef]
- Hameed, S.; Sharma, A.; Pareek, V. A Distributed Activation Energy Model for Cellulose Pyrolysis in a Fluidized Bed Reactor. Chem. Eng. Res. Des. 2023, 191, 414–425. [Google Scholar] [CrossRef]
- Xue, Q.; Fox, R.O. Computational Modeling of Biomass Thermochemical Conversion in Fluidized Beds: Particle Density Variation and Size Distribution. Ind. Eng. Chem. Res. 2015, 54, 4084–4094. [Google Scholar] [CrossRef]
- Gerber, S.; Oevermann, M. A Two Dimensional Euler-Lagrangian Model of Wood Gasification in a Charcoal Bed—Particle Histories. Powder Technol. 2018, 324, 5–15. [Google Scholar] [CrossRef]
- Attanayake, D.D.; Sewerin, F.; Kulkarni, S.; Dernbecher, A.; Dieguez-Alonso, A.; Van Wachem, B. Review of Modelling of Pyrolysis Processes with CFD-DEM. Flow Turbul. Combust. 2023, 111, 355–408. [Google Scholar] [CrossRef]
- Yang, M.; Zhang, J.; Zhong, S.; Li, T.; Løvås, T.; Fatehi, H.; Bai, X.-S. CFD Modeling of Biomass Combustion and Gasification in Fluidized Bed Reactors Using a Distribution Kernel Method. Combust. Flame 2022, 236, 111744. [Google Scholar] [CrossRef]
- Lao, Z.; Shao, Y.; Gao, X. Multiscale CFD Modeling of High-Temperature Biomass Pyrolysis with an Intraparticle Particle Model and Detailed Pyrolysis Kinetics. Ind. Eng. Chem. Res. 2022, 61, 16843–16856. [Google Scholar] [CrossRef]
- Kong, D.; Luo, K.; Wang, S.; Yu, J.; Fan, J. Particle Behaviours of Biomass Gasification in a Bubbling Fluidized Bed. Chem. Eng. J. 2022, 428, 131847. [Google Scholar] [CrossRef]
- Alobaid, F.; Almohammed, N.; Massoudi Farid, M.; May, J.; Rößger, P.; Richter, A.; Epple, B. Progress in CFD Simulations of Fluidized Beds for Chemical and Energy Process Engineering. Prog. Energy Combust. Sci. 2022, 91, 100930. [Google Scholar] [CrossRef]
- Lungu, M.; Zhou, Y.; Wang, J.; Yang, Y. A CFD Study of a Bi-Disperse Gas–Solid Fluidized Bed: Effect of the EMMS Sub Grid Drag Correction. Powder Technol. 2015, 280, 154–172. [Google Scholar] [CrossRef]
- Varghese, M.M.; Vakamalla, T.R.; Mantravadi, B.; Mangadoddy, N. Effect of Drag Models on the Numerical Simulations of Bubbling and Turbulent Fluidized Beds. Chem. Eng. Technol. 2021, 44, 865–874. [Google Scholar] [CrossRef]
- Du, S.; Liu, L. A Bubble Structure Dependent Drag Model for CFD Simulation of Bi-disperse Gas-solid Flow in Bubbling Fluidizations. Can. J. Chem. Eng. 2021, 99, 2771–2788. [Google Scholar] [CrossRef]
- Jia, J.; Li, H.; Zou, Z.; Liu, W.; Zhu, Q. Simulation of Binary Particle Segregation for Bubbling Fluidized Beds Using Polydispersed Structure-based Drag Model Extended from a Monodispersed Model. Can. J. Chem. Eng. 2021, 99, 1447–1460. [Google Scholar] [CrossRef]
- Zhong, H.; Xu, F.; Zhang, J.; Zhu, Y.; Liang, S.; Niu, B.; Zhang, X. Variation of Geldart Classification in MFM Simulation of Biomass Fast Pyrolysis Considering the Decrease of Particle Density and Diameter. Renew. Energy 2019, 135, 208–217. [Google Scholar] [CrossRef]
- Zhou, Q.; Wang, J. CFD Study of Mixing and Segregation in CFB Risers: Extension of EMMS Drag Model to Binary Gas–Solid Flow. Chem. Eng. Sci. 2015, 122, 637–651. [Google Scholar] [CrossRef]
- Shah, M.T.; Utikar, R.P.; Pareek, V.K.; Tade, M.O.; Evans, G.M. Effect of Closure Models on Eulerian–Eulerian Gas–Solid Flow Predictions in Riser. Powder Technol. 2015, 269, 247–258. [Google Scholar] [CrossRef]
- Syamlal, M.; Pannala, S. Multiphase Continuum Formulation for Gas-Solids Reacting Flows. In Computational Gas-Solid Flows and Reacting Systems: Theory, Methods and Practice; Pannala, S., Syamlal, M., O’Brien, T.J., Eds.; Engineering Science Reference: Hershey, PA, USA, 2011; pp. 1–65. [Google Scholar]
- Gidaspow, D. Multiphase Flow and Fluidization: Continuum and Kinetic Theory Descriptions; Academic Press: San Diego, CA, USA, 1994. [Google Scholar]
- Gerber, S.; Behrendt, F.; Oevermann, M. An Eulerian Modeling Approach of Wood Gasification in a Bubbling Fluidized Bed Reactor Using Char as Bed Material. Fuel 2010, 89, 2903–2917. [Google Scholar] [CrossRef]
- Verissimo, G.L.; Cruz, M.E.; Leiroz, A.J.K. Derivation of Entropy and Exergy Transport Equations, and Application to Second Law Analysis of Sugarcane Bagasse Gasification in Bubbling Fluidized Beds. J. Energy Resour. Technol. 2020, 142, 062102. [Google Scholar] [CrossRef]
- Gunn, D.J. Transfer of Heat or Mass to Particles in Fixed and Fluidised Beds. Int. J. Heat Mass Transf. 1978, 21, 467–476. [Google Scholar] [CrossRef]
- Ranz, W.E.; Marshall, W.R. Evaporation from Drops. Chem. Eng. Prog. 1952, 48, 141–146. [Google Scholar]
- Li, J.; Mason, D.J. A Computational Investigation of Transient Heat Transfer in Pneumatic Transport of Granular Particles. Powder Technol. 2000, 112, 273–282. [Google Scholar] [CrossRef]
- Jalalifar, S.; Abbassi, R.; Garaniya, V.; Hawboldt, K.; Ghiji, M. Parametric Analysis of Pyrolysis Process on the Product Yields in a Bubbling Fluidized Bed Reactor. Fuel 2018, 234, 616–625. [Google Scholar] [CrossRef]
- Xiong, Q.; Aramideh, S.; Kong, S.-C. Modeling Effects of Operating Conditions on Biomass Fast Pyrolysis in Bubbling Fluidized Bed Reactors. Energy Fuels 2013, 27, 5948–5956. [Google Scholar] [CrossRef]
- Mellin, P.; Kantarelis, E.; Yang, W. Computational Fluid Dynamics Modeling of Biomass Fast Pyrolysis in a Fluidized Bed Reactor, Using a Comprehensive Chemistry Scheme. Fuel 2014, 117, 704–715. [Google Scholar] [CrossRef]
- Verissimo, G.L. Simulação Computacional e Análise Exergética da Gaseifiação de Bagaço de Cana-de-Açúcar em Leitos Fluidizados Borbulhantes. Ph.D. Thesis, COPPE/Universidade Federal do Rio de Janeiro (UFRJ), Rio de Janeiro, RJ, Brasil, 2018. [Google Scholar]
- Benyahia, S.; Syamlal, M.; O’Brien, T.J. Evaluation of Boundary Conditions Used to Model Dilute, Turbulent Gas/Solids Flows in a Pipe. Powder Technol. 2005, 156, 62–72. [Google Scholar] [CrossRef]
- Beetstra, R.; van der Hoef, M.A.; Kuipers, J.A.M. Numerical Study of Segregation Using a New Drag Force Correlation for Polydisperse Systems Derived from Lattice-Boltzmann Simulations. Chem. Eng. Sci. 2007, 62, 246–255. [Google Scholar] [CrossRef]
- Di Natale, F.; Nigro, R.; Scala, F. Heat and Mass Transfer in Fluidized Bed Combustion and Gasification Systems. In Fluidized Bed Technologies for Near-Zero Emission Combustion and Gasification; Scala, F., Ed.; Elsevier: Amsterdam, The Netherlands, 2013; pp. 177–253. ISBN 978-0-85709-541-1. [Google Scholar]
- Kunni, D.; Levenspiel, O. Fluidization Engineering, 2nd ed.; Butterworth-Heinemann: Boston, MA, USA, 1991; ISBN 978-0-08-050664-7. [Google Scholar]
- Syamlal, M.; Musser, J.; Dietiker, J.F. Two-Fluid Model in MFIX. In Multiphase Flow Handbook; Michaelides, E.E., Crowe, C.T., Schwarzkopf, J.D., Eds.; Mechanical and Aerospace Engineering; Taylor & Francis, CRC Press: Boca Raton, FL, USA, 2015; pp. 242–274. [Google Scholar]
- Syamlal, M. MFIX Documentation Numerical Technique; Office of Fossil Energy, Morgantown Energy Technology Center, U.S. Department of Energy: Morgantown, WV, USA, 1998.
- Gaskell, P.H.; Lau, A.K.C. Curvature-Compensated Convective Transport: SMART, a New Boundedness-Preserving Transport Algorithm. Int. J. Numer. Methods Fluids 1988, 8, 617–641. [Google Scholar] [CrossRef]
- Zhong, H.; Gao, J.; Xu, C.; Lan, X. CFD Modeling the Hydrodynamics of Binary Particle Mixtures in Bubbling Fluidized Beds: Effect of Wall Boundary Condition. Powder Technol. 2012, 230, 232–240. [Google Scholar] [CrossRef]
- Syamlal, M. The Particle-Particle Drag Term in a Multiparticle Model of Fluidization; U.S. Department of Energy, Office of Fossil Energy, Morgantown Energy Technology Center: Morgantown, WV, USA, 1987.
- Hugo, T.J. Pyrolysis of Sugarcane Bagasse. Master’s Thesis, Stellenbosch University, Stellenbosch, South Africa, 2010. [Google Scholar]
- Ranzi, E.; Cuoci, A.; Faravelli, T.; Frassoldati, A.; Migliavacca, G.; Pierucci, S.; Sommariva, S. Chemical Kinetics of Biomass Pyrolysis. Energy Fuels 2008, 22, 4292–4300. [Google Scholar] [CrossRef]
- Brandão, F.L. Estudo Computacional da Pirólise de Bagaço de Cana-de-Açúcar e Madeira em Reator de Leito Fluidizado. Master’s Thesis, COPPE/Universidade Federal do Rio de Janeiro (UFRJ), Rio de Janeiro, RJ, Brazil, 2015. [Google Scholar]
- Xiong, Q.; Kong, S.-C.; Passalacqua, A. Development of a Generalized Numerical Framework for Simulating Biomass Fast Pyrolysis in Fluidized-Bed Reactors. Chem. Eng. Sci. 2013, 99, 305–313. [Google Scholar] [CrossRef]



















| ρk [kg/m3] | dpm [mm] | umf [cm/s] | μg [Pa·s] | emm | Φ | Cf | ||
|---|---|---|---|---|---|---|---|---|
| Glass | 2476 | 0.116 | 1.80 | ---- | 0.564 | 0.99 | 55° | 0.1 |
| Polystyrene | 1064 | 0.275 | 4.00 | ---- | 0.574 | 0.99 | 55° | 0.1 |
| Gas | 1.0 | ---- | ---- | 1.83 × 10−5 | ---- | ---- | ---- | ---- |
| Pg | ug | um | ||||
|---|---|---|---|---|---|---|
| Initial Conditions | Bed | 1 atm | 5 cm/s | 0 cm/s | 0.41 | 0.295 |
| Freeboard | 1 atm | 7 cm/s | 0 cm/s | 1 | 0 | |
| Boundary Conditions | Gas inlet | 1 atm | 3.84 cm/s | 0 cm/s | 1 | 0 |
| Wall | 1 atm | No slip | No slip | 1 | 0 |
| Wood Inlet | Air Inlet | Walls | |||
|---|---|---|---|---|---|
| uwood | 0.035 cm/s | uair | 25 cm/s | Tbed | 970 K |
| Twood | 423.15 K | Tair | 670 K | Tfreeb | 570 K |
| uH2O | 8.406 cm/s | Pg | 1 atm | ug | No slip |
| TH2O | 423.15 K | um | No slip | ||
| YH2O | 1 | ||||
| Pg | 1 atm | ||||
| Initial Conditions for Case 2 | |||||
|---|---|---|---|---|---|
| Tg | 1020 K | Tchar1 | 1020 K | Tchar2 | 1020 K |
| Pg | 1 atm | uchar1 | 0.0 cm/s | Vchar2 | 0.0 cm/s |
| Vg | 0.0 cm/s | εchar1 | 0.325 | εchar2 | 0.325 |
| YN2 | 1 | εwood | 0.0 | ||
| εg | 0.35 | hbed | 35 cm | ||
| ρk [kg/m3] | dpm [mm] | cp [J/kg K] | k [W/m K] | μ [Pa·s] | emm | Φ | Cf | |
|---|---|---|---|---|---|---|---|---|
| Wood | 585 | 4.0 | 2380 | 0.158 | See Table 1 | 0.8 | 30° | 0.1 |
| Char 1 | 450 | 2.0 | 1600 | 0.107 | See Table 1 | 0.8 | 30° | 0.1 |
| Char 2 | 450 | 1.0 | 1600 | 0.107 | See Table 1 | 0.8 | 30° | 0.1 |
| Gas | Ideal gas | ---- | Ideal gas mixture with NASA polynomial | Bird equation | Sutherland equation | ---- | ---- | ---- |
| Boundary Conditions for Case 3 | ||||||||
|---|---|---|---|---|---|---|---|---|
| Sugarcane Bagasse Inlet | Nitrogen Inlet | Walls | ||||||
| biomass | 0.0568 g/s | uN2 | 37.19 cm/s | Twalls | 779 K | |||
| Tbiomass | 323 K | TN2 | 773 K | ug | No slip | |||
| N2 | 0.0265 cm/s | Pg | 1 atm | um | No slip | |||
| TN2 | 773 K | |||||||
| YN2 | 1 | |||||||
| Pg | 1 atm | |||||||
| Initial Conditions for Case 3 | ||||||||
| Bed | Freeboard | |||||||
| Gas | Sugarcane Bagasse | Sand | Char | Gas | Sugarcane Bagasse | Sand | Char | |
| εm | 0.4119 | 0.0001 | 0.58 | 0 | 0.999 | 0.001 | 0 | 0 |
| |um| [cm/s] | 0 | 0 | 0 | 0 | 0 | 0 | 0 | 0 |
| Tm [K] | 773 K | 773 K | ||||||
| YN2 | 1 | 1 | ||||||
| ρk [kg/m3] | dpm [mm] | cp [J/kg K] | k [W/m K] | μ [Pa·s] | emm | Φ | Cf | ||
|---|---|---|---|---|---|---|---|---|---|
| Sugarcane bagasse | 200 | 2.0 | 1760 | 0.1 | See Table 1 | 0.97 | 55° | 0.1 | |
| Char | 200 | 0.012 | 1100 | 0.1 | See Table 1 | 0.97 | 55° | 0.1 | |
| Sand | 2650 | 0.5 | 800 | 0.27 | See Table 1 | 0.97 | 55° | 0.1 | |
| Gas | Ideal gas | ---- | Ideal gas mixture with NASA polynomial | NCG | 2.577 × 10−2 | 3 × 10−5 | ---- | ---- | ---- |
| Tar | 5.63 × 10−2 | ||||||||
| Minimum Value | Maximum Value | Mean Value | |
|---|---|---|---|
| XCO [%] | 13.0 | 21.0 | 17.0 |
| XCO2 [%] | 13.0 | 17.0 | 15.0 |
| XH2 [%] | 7.0 | 11.0 | 9.0 |
| XCH4 [%] | 2.0 | 6.0 | 4.0 |
| XN2 [%] | 48.0 | 52.0 | 50.0 |
| Tout [°C] | 759.0 | 921.0 | 840.0 |
| Correlation | XN2 [%] | XH2 [%] | XCO [%] | XCH4 [%] | XH2O [%] | XCO2 [%] | RMS [%] a | Tout [K] | DifR [%] b |
|---|---|---|---|---|---|---|---|---|---|
| Gidaspow | 50.4 | 9.2 | 17.9 | 3.0 | 3.8 | 13.5 | 0.9 | 906.4 | 7.9 |
| Syamlal–O’Brien | 49.2 | 10.0 | 21.5 | 2.8 | 2.6 | 11.6 | 2.6 | 871.7 | 3.8 |
| BVK | 50.9 | 9.1 | 17.2 | 2.9 | 3.8 | 13.9 | 0.8 | 887.5 | 5.7 |
| Correlation | XN2 [%] | XH2 [%] | XCO [%] | XCH4 [%] | XH2O [%] | XCO2 [%] | RMS [%] a | Tout [K] | DifR [%] b |
|---|---|---|---|---|---|---|---|---|---|
| Gunn | 50.4 | 9.2 | 17.9 | 3.0 | 3.8 | 13.5 | 0.9 | 906.4 | 7.9 |
| Ranz–Marshall | 51.0 | 9.4 | 16.9 | 2.8 | 3.5 | 14.1 | 0.8 | 854.0 | 1.7 |
| Li–Mason | 50.7 | 9.1 | 16.6 | 3.0 | 4.1 | 14.2 | 0.7 | 901.6 | 7.3 |
| YNCG [%] | Ytar [%] | Ychar [%] | ||
|---|---|---|---|---|
| Experimental [47] | 21.00–29.00 | 62.00–68.00 | 8.00–10.00 | |
| Gidaspow | Gunn | 27.36 | 63.86 | 8.78 |
| Ranz–Marshall | 27.48 | 63.86 | 8.66 | |
| Li–Mason | 27.09 | 64.07 | 8.85 | |
| Syamlal–O’Brien | Gunn | 26.51 | 64.75 | 8.74 |
| Ranz–Marshall | 26.19 | 64.91 | 8.89 | |
| Li–Mason | 26.16 | 64.79 | 9.05 | |
| BVK | Gunn | 28.72 | 62.66 | 8.62 |
| Ranz–Marshall | 26.82 | 64.27 | 8.91 | |
| Li–Mason | 27.32 | 63.85 | 8.83 | |
| C [%] | H [%] | O [%] | ||
|---|---|---|---|---|
| Experimental [47] | 43.29–47.29 | 6.30–6.50 | 46.31–50.31 | |
| Gidaspow | Gunn | 47.38 | 6.90 | 45.73 |
| Ranz–Marshall | 47.33 | 6.90 | 45.77 | |
| Li–Mason | 47.33 | 6.92 | 45.75 | |
| Syamlal–O’Brien | Gunn | 47.26 | 6.90 | 45.84 |
| Ranz–Marshall | 47.21 | 6.93 | 45.86 | |
| Li–Mason | 47.15 | 6.94 | 45.91 | |
| BVK | Gunn | 47.37 | 6.90 | 45.77 |
| Ranz–Marshall | 47.42 | 6.90 | 45.63 | |
| Li–Mason | 47.48 | 6.92 | 45.78 | |
Disclaimer/Publisher’s Note: The statements, opinions and data contained in all publications are solely those of the individual author(s) and contributor(s) and not of MDPI and/or the editor(s). MDPI and/or the editor(s) disclaim responsibility for any injury to people or property resulting from any ideas, methods, instructions or products referred to in the content. |
© 2023 by the authors. Licensee MDPI, Basel, Switzerland. This article is an open access article distributed under the terms and conditions of the Creative Commons Attribution (CC BY) license (https://creativecommons.org/licenses/by/4.0/).
Share and Cite
Cruz, M.E.; Verissimo, G.L.; Brandão, F.L.; Leiroz, A.J.K. A Computational Study of the Influence of Drag Models and Heat Transfer Correlations on the Simulations of Reactive Polydisperse Flows in Bubbling Fluidized Beds. Fluids 2023, 8, 290. https://doi.org/10.3390/fluids8110290
Cruz ME, Verissimo GL, Brandão FL, Leiroz AJK. A Computational Study of the Influence of Drag Models and Heat Transfer Correlations on the Simulations of Reactive Polydisperse Flows in Bubbling Fluidized Beds. Fluids. 2023; 8(11):290. https://doi.org/10.3390/fluids8110290
Chicago/Turabian StyleCruz, Manuel Ernani, Gabriel Lisbôa Verissimo, Filipe Leite Brandão, and Albino José Kalab Leiroz. 2023. "A Computational Study of the Influence of Drag Models and Heat Transfer Correlations on the Simulations of Reactive Polydisperse Flows in Bubbling Fluidized Beds" Fluids 8, no. 11: 290. https://doi.org/10.3390/fluids8110290
APA StyleCruz, M. E., Verissimo, G. L., Brandão, F. L., & Leiroz, A. J. K. (2023). A Computational Study of the Influence of Drag Models and Heat Transfer Correlations on the Simulations of Reactive Polydisperse Flows in Bubbling Fluidized Beds. Fluids, 8(11), 290. https://doi.org/10.3390/fluids8110290

